Architecture
PermaplanT is an app to help plan, develop and document permaculture gardens either by oneself or in groups. To do so, the garden is represented by a map. Layer by layer, supplied by the app, the user feeds the map with relevant environmental information. From the internal database of over 10.000 plants the users design the planting as they wish. The app informs about known relations between the plants and about environmental restrictions. Visual indications help users to make decisions. The date or time frame can be chosen in a timeline. Nextcloud is used to connect users, groups and gardens.
The most important chapters to read are:
- Goals and Use Cases (Chapter)
- Constraints
- Context
- Solution Strategy
- Building Block View
- Runtime View
- Deployment
- Crosscutting Concepts Guidelines (Chapter)
- Architectural Decisions (Chapter
- Quality
- Risks and technical debt
- Glossary
These markdown files document the architecture of PermaplanT according to arc42.
Goals
The overall goals of the app are to enable planning:
- vital growth of delicious and beautiful crops, while
- providing a diverse and functioning ecosystem, and
- creating nature living spaces (Naturlebensräume) for both animals & humans.
Non-functional Goals
- aesthetic UI that is fun to use
- low memory consumption and good performance
- privacy: data should remain within Verein
Main Features
- easy way to add/move/remove and delete many areas, groups or individual elements, e.g. plantings
- visual indications for environmental, temporal and spatial relations while planting
- users have any number of maps
- maps have any number of layers (see section below)
- undo/redo for all changes in the map
- copy&paste of selection across maps
- efficient zooming and panning
- internationalization: English, German
- Nextcloud integrations for files etc.
- privacy: no tracking, analytics, external JavaScript, fonts, etc.
partly working (not a 1.0 goal, but nice to have):
- Nextcloud integration for chat
- users work on the same map together (collaborating)
- inventory for seeds and plantings
Layers
In all layers --- except for base --- past, current or future entities might be intermixed. While editing any layer other layers are (transparently) displayed or hidden.
- Base (import photo or site plan as base image, define borders, scale, orientation)
- Landscape1 (height&sketch of permanent structures like walls, ponds, constructions, beds)
- Shade (more/less sun exposure vs. shade)
- Infrastructure1 (outlets, wifi spots, taps, water storage tanks, irrigation systems, ...)
- Hydrology (surface water runoff, natural reservoirs, gullies, rills, ...)
- Soil texture
- Plants (individual and areas of plantings)
- Drawing1 (for anything else, including text labels)
1 Additional layers can be created or removed as wanted
Use Cases
For more details about each requirement, continue reading Use Cases (Chapter).
Out of Scope for 1.0
- polyculture support
- some layers have alternatives
- some layers are used offline
- copy&paste of succeeding crops and between users (inventory, Nextcloud)
- automatic suggestions
- what is seasonal
- increasing diversity
- further Nextcloud integrations
- social network features (e.g. notification that someone entered your garden)
No special support for following layers (but can be done via additional layers):
- Terrain
- Trees (taxa, stem position&height&sketch&type of forest, trees, hedge, bushes etc.)
- Wind (more or less windy places, wind orientation)
- Paths (ways, fences, stepping stones)
- pH Values of topsoil, subsoil
- Habitats (taxa, areas for (wild)life, nesting aids, heaps of stones or leaves, perches)
- Zones (of different visitation frequency)
- Warnings1
- Photos (sharing of photo with GPS coordinates and a Nextcloud chats per photo)
- Fertilization
- Watering
- Todos (creates Deck cards in Nextcloud)
Constraints
- Guidelines must be either followed or a rationale for breaking the guideline must be given in a comment nearby.
UI
- UI should be hard to use wrong.
- User experience should only be disturbed when necessary.
- UI must be consistent:
- Colors
- Use toolbars
- Reuse components (in storybook)
- Keybindings
- personified error messages
- etc.
Rationale: to support main goal
Data Consistency
- Users always see the latest data.
- The data from the backend is the single source of truth. I.e., in conflicting scenarios always the backend takes preference.
- In offline scenarios the frontend gets read-only.
Rationale: we prefer collaboration over offline use.
Backend
- We use REST with JSON
- API calls should be for interactive use and as such terminate within parts of a second, five seconds maximum, see Graceful Shutdown for more information.
Cookies and Local Store
Should be used as little as possible
- Cookies should be only used for login-related information:
- auth: AUTH_SESSION
- keycloak: KEYCLOAK_IDENTITY
- nextcloud: nc_token/nc_username
- Session Store should be also only used for login-related information:
- authority
- client_id
- oidc.user:https://auth.perma.health/realms/Perma:Perma-* (Prod, ...)
- backend_version (to be able to detect old versions of backend)
- Local Store should be only used for user-changes that should be remembered:
- darkMode
- i18nextLng
- viewing state
Graceful Shutdown
Actix by default handles shutdowns (see here for reference).
As soon as the signal SIGTERM is issued to the backend no new connections will be accepted.
- Still running connection will be finished or terminated after 5sec.
- API requests should ideally take no longer than a few seconds, with a 5-second limit for logging and optimization purposes.
- Implementing this limit improves convenience for both developers (termination of endless loops) and continuous integration (faster restart on hanging API calls), with minimal complexity in the code.
Context & Scope
Context
Users see PermaplanT as mere tool to replace books and their notes. PermplanT envisions designing maps:
- collaboratively
- for agricultural purposes
- enabling fully documenting all plants:
- for garden tours
- for tracking harvesting
- reminding about what you don't see:
- watering
- fertilization
- with mulching
- but no dig
Currently Out of Scope
Later features that are out of scope for first version:
- weather data (automatically add rain to watering layer, warnings on frost etc.)
- hints&tips about pest control, fertilizer, care, etc.
- automatic shadow and moisture calculation
- 3D modes (forest garden), contour lines etc.
- time-lapse of historic garden development, simulate growth
- positions and distances relate to the real world, for example, you can use GPS coordinates
- GIS import/export
Input Parameters
Environment
- soil texture (German: orientiert an Bodenschwereklasse nach ÖNORM L 1050 auf Basis des österreichischen Texturdreiecks bzw. Bodenartendiagramms (ÖNORM L 1061) (Klassen))
- shades
- moisture, surface water, i.e., wet/dry places (German: Oberflächenwasser)
Currently Out of Scope
- fixed distances to plants/trees (German: Abstände zu Bäumen/Sträuchern) for triangulation and pollinator distances
- hardiness zones
- root depth layer (restrictions)
- warm water availability (cucumbers)
- techniques for watering, e.g. without watering the leaves (tomatoes)
- sloping positions
- pH base value for topsoil from 0-14
(German: Bodenreaktion, e.g. Kohl basisch, ph3 Heidelbeeren), dynamic value using one decimal digit after the comma:
- 1 very acid (pH 5.0 and below)
- 2 acid (pH 5.1 - 6.5)
- 3 neutral (pH 6.6 - 7.3)
- 4 alkaline (pH 7.4 - 7.8)
- 5 very alkaline (pH 7.9 and above)
- pH base value for subsoil from 0-14
- yield grade (German: Ages Gehaltsklasse (Nährstoffversorgung und Humusgehalt) ÖNORM L 1210, determined from NPK, eigentlich für Intensivkultur, Stark/Schwachzehrer)
from:
- A sehr niedrig
- B niedrig
- C ausreichend
- D hoch
- E sehr hoch
- (Temperatursumme/Jahresmitteltemperatur) first version: use data from Ostösterreich
- (Vegetationsperiode) first version: use data from Ostösterreich
- (sun background: Sonnentage, Sonnenscheindauer h, from data.gv.at first version: use data from Ostösterreich
- (soil depth, BM: Bodenmächtigkeit: Mächtigkeit des durchwurzelbaren Mineralbodens (cm))
first version: assume "sehr tiefgründig"
> 100cm - (SkelG: Skelettgehalt: Anteil der Korngrößenfraktion > 2 mm (Grobanteil) am Mineralboden (%))
first version we assume geringer Grobanteil
<= 10% - Available water capacity
- Field capacity
- Permanent wilting point
- (Gesamtniederschlag - Verdunstung) first version: use data from Ostösterreich
- wind
- habitats
- events: e.g. elements in the garden get added/removed accurate to the day
Other Input
- Drawings to see paths, buildings etc. relevant for human activities
Currently Out of Scope
- mulching (Mulchen) (can be done in additional layers)
- permaculture zones, see glossary
- soil amendments
- influences of street (German: Einflüsse durch Straßennähe, wie Salz und Staub)
- automatic overshadowing (German: Baumkronenüberschattung)
Output Parameters
- which seeds are needed (seedling plants excluded)
- coordinates of plants to plant
- warnings (violation of natural constraints etc.)
Out of Scope
- weather alerts
Solution Strategy
PermaplanT has a frontend/backend architecture:
- the frontend is structured according its features
- the backend has a 3-layer architecture with a database, providing an API for the frontend
Type Safety
We use specific types (prefer enum over int over string etc.) and share types whenever possible:
- Diesel is used to share types between the database and backend code. We use type-safe queries, whenever easily possible, otherwise raw queries.
- typeshare is used to share types between Rust and Typescript, for any communication between frontend and backend.
Validation
The goal is that the database should never contain inconsistent or invalid data. Validation must comply with the following rules:
- The frontend should validate data as early as possible, using React Hook Form Validation together with Zod.
- The backend needs to validate all data for obvious reasons. Most of it happens in the automated validation while extracting via serde.
- The database again should validate all data and its constraints as last resort.
- All constraints that go beyond the simple types should be explicitly validated by the database, backend as well as the frontend. This is because some constraints could be bypassed by just validating in the frontend. We sometimes directly run SQL queries and the database has the best capabilities to check constraints, so no checks should be missing there, too.
Optional data
Backend
- For optional data
Optionshould be used. - For optional properties in structs
Optionshould be used. Such properties should not be included in serialized struct if they have valueNone. Optionshould also be used for read-only values.
These values, however, should be guaranteed to never beNone.
Frontend
- Optional data can be typed as
nullorundefined. - Optional properties (
?) should be used for properties of typeOptionin DTOs. - Frontend should be prepared to receive both
nullandundefinedin DTOs.
Therefore explicit checks for only one ofnullorundefinedshould not be used to check if the data is present or absent.
Instead, checks for both values should be used. - Frontend should treat
nullandundefinedin forms validations in the same way.
State
- Both the frontend and the database contain the latest and complete state.
- The backend is state-less, all state is in the database or in the auth token.
- The frontends map editor has structured state per layer.
See also frontend state management for which libraries are being used.
API
The API is implemented by the backend. The backend is stateless (except of the database) and agnostic to language. The backend serves no other purpose as being used by the frontend, so:
- it can be tailored to the needs of the frontend
- the frontend ideally only needs to do a single API call to get what it needs
Concurrent Use
The user wants to see changes that other users are making on the map, therefore the data needs to be kept in sync. The data is kept in sync between the client and the server through API calls with axios and server-sent events (SSE). This means the backend is always up to date with the users actions and users can see what others are doing.
- Data must be sent immediately and asynchronously to the backend after any user action (via API).
- Calculations in the backend can always assume that database is up-to-date.
- There is no conflict handling in the frontend.
- If a user loses the connection, the frontend must go into a read-only state.
- We use UUIDv7 to identify frontend-created database entries, like elements on the map.
Reliable Computation
We want all frontends and backends always come to the same conclusions in any computations. To achieve that, we limit ourselves to simple decimal calculations, as needed with fixed-point arithmetic with base 10. Floats or float calculations are prohibited throughout the stack.
Actions
Actions are minimal, encapsulated state changes from elements on the layer of a map. Such actions are used to:
- describe user actions in the frontend (undo/redo, see later)
- describe transport of 1. to the backend (via PATCH API calls)
- describe transport of 1. back to other frontends (via SSE)
UI
The UI always indicates when the user is about to make an action. E.g. for fast inserting of many elements, including groups of previously copied elements, the UI goes in an action mode. The mouse cursor indicates and the status panel describes what is about to be inserted. Then the user can insert as often as wanted by single mouse clicks or taps on touch screens.
SSE
For SSE, browsers first request an event-source via the endpoint /api/updates/maps. Then the backend sends all updates of a map to all users connected to the maps. To do so, all API calls in the backend must notify the broadcaster. This includes all changes of elements but also changes to layers, map metadata, chat etc. Any polling should be avoided.
The broadcaster lives in AppDataInner, which is available in request handler via dependency injection in the request context. So every controller related to map endpoints must must use AppDataInner. At the end of every request handler, you need to have a statement like:
app_data.broadcaster.broadcast(map_id, action)
Note that login data is implemented differently.
Access Control
- API requests fail with 404 with lacking permissions
- Frontend implements the same access control control logic and avoids that any API requests that would fail are issued, e.g. by disabling the buttons
- Changes in permissions are communicated via SSE (TODO: out-of-scope 1.0)
Undo & Redo
Every action should be undoable at client side. Undo/redo is client-specific so a user can only undo their own changes. The undo/redo functionality is implemented by means of an inverse (opposite) action. For this to work the actions have to exactly encompass the state they are mutating.
For example, a movement action should only have the new coordinates and the identifier for the entity it moves, as well as an identifier for the action itself (using UUIDs), as payload.
type MovementAction {
type: 'MOVEMENT_ACTION';
payload: {
id: string;
actionId: string;
x: number;
y: number;
};
}
- The same actions are also used for communication to the backend.
- Undo/redo gets lost if other users concurrently move or edit elements. For inspiration you can read more at this liveblocks.io blog post.
Performance
- per user action only a minimal number of API calls should be used (ideally one)
- relations are only calculated to plants within the bounding box of the map
PostGIS
Coordinates of all elements are stored via PostGIS types to have uniform access and to allow retrieving elements of segments of the map.
Low Memory Consumption
As the planning tools are also used for longer sessions, e.g. a whole working day, it is essential to keep the memory usage at acceptable levels:
- state is strongly structured for performance reasons, every layer writes in its own parts
- we only use essential layers at startup, see lazy loading
- we do offloading of layers that are not used for some time, see offloading
To keep the backend with low memory consumption we try to avoid duplicating data from the database to memory other than when sending it to the client.
Layers
Layers are kept independent, they have their own:
- state hierarchy
- API calls to the backend
I.e. each layer is responsible to handle:
- the time functionality (which elements are loaded and which are shown)
- add, edit, move, remove and delete functionality
- offload data
The implementation, however, should be shared.
Offline Changes
(TODO: out-of-scope 1.0)
The user should also be able to access some features of the application while being offline and later synchronize her changes to the server. If a user requests to work offline, the layers will be locked for that user in the backend. While the lock is active, other users see these layers read-only.
Upon coming back online the changes made are synchronized and the lock is released.
Identity and Access Management
Only the landing page can be seen without registration. We use Keycloak for Identity and Access Management with 3 roles:
- default-roles-permaplant (only public maps can be visited)
- member (can do everything with own maps, protected maps or where they are collaborators)
- admin (possibility to change data from other users, as needed for onboarding or offboarding)
Privacy
In general all data must stay within the organisation (Verein). Members see other members' data only if they allowed it. Data which makes a person identifiable should be in Keycloak. The only exceptions are:
- bank account and billing address, which gets completely removed from the server (for security reasons)
- public maps are visible to non-members but most meta-data won't be shown and the location gets obfuscated
Coordinate System
The backend uses the same coordinate system as the frontend.
(0,0) is in the center of the map.
The x-value increases when going to the right and the y-value increases when going down.
The scale is set to be in cm, so increasing x by 1 would mean going to the right by 1cm.
The granularity of the heatmap is set to 10cm via the constant GRANULARITY in the backend.
This means that the heatmap is generated by dividing the maps geometry into 10x10cm squares for each of which a score is computed.
Building Block View
Backend Structure
config/: Contains the servers configuration.controller/: Contains all endpoints of the application.db/: Contains utility functions for the database.model/: Contains the data PermaplanT is acting upon and their implementation.service/: Contains business logic and maps between entities and DTOs.test/: Contains integration tests.
graph LR;
config -->|Configures routes<br>Uses endpoints for OpenAPI doc| controller
config -->|Uses DTOs for OpenAPI doc| model
controller -->|Calls functions| service
controller -->|Uses DTOs| model
controller -->|Uses data pool| db
db -->|Uses `Page` struct| model
model -->|Uses helper functions| db
service -->|Calls database| model
service -->|Uses DTOs and Entities| db
Controller
The controller layer contains all endpoints of the application.
The actual routes are defined here while the controller layer only contains the actual implementation of the endpoints.
When an endpoint gets called Actix clones an internally stored pool of connections to the database and passes it to the endpoint to be used.
We then 'forward' the pool to the service layer where a connection is retrieved from the pool.
The persistence layer then uses that connection to make calls to the database.
The endpoints are automatically documented using utoipa which can generate OpenAPI documentation from code.
Service
The service layer is responsible for handling our business logic as well as mapping entities and DTOs.
Model
The model/ folder contains the data PermaplanT is acting upon.
Entities are shared with the database using the ORM diesel.
DTOs are shared with the frontend using typeshare.
The files entity.rs and dto.rs contain the actual structs.
That way you have a quick overview of what the data looks like without having to navigate multiple files.
The actual implementation of the structs is in separate files to reduce the line length of the files.
Frontend Structure
__mocks__/: Contains mocked modules for tests.assets/: Contains small asset files like SVGs.components/: Contains components that are shared across features.config/: Contains initialization code for the environment and libraries.features/: Contains the distinct features of the application.generated/: Contains generated code.docs/: Automatically generated documentation.api_types/: The types generated via typeshare from the backend API.
hooks/: Contains hooks that are shared across features.routes/: Contains the routes of the application.styles/: Contains the global and other style sheets, e.g. to customize a component from a third party library likereact-leaflet.utils/: Contains additional utility functions, that are shared across features or components and are not hooks.
flowchart LR
routes --> |Renders route features| features
features -->|Uses types for API calls| generated/api_types
features -->|Uses shared components| components
features -->|Calls functions| config
features -->|Uses hooks| hooks
features -->|Calls functions| utils
features -->|Uses asset files| assets
features -->|Uses some miscellaneous styles| styles
features ---->|Uses another feature's public API| i
subgraph f[example feature]
direction TB
i[index]
e[fa:fa-folder example feature structure] --> |Components scoped to a specific feature| c[components]
e -->|API request declarations and API hooks related to a specific feature| a[API]
e -->|Route components for a specific feature's pages| r[routes]
e -->|State stores for a specific feature| s[stores]
end
__mocks__ is not used during runtime
__mocks__
This folder has a special name to be recognized by our test runner vitest. More details on how mocking with vitest works can be found in the documentation.
assets
This folder should contain only small asset files like SVGs, so that our bundle size stays small. Larger files should be hosted on Nextcloud.
generated/api_types
This folder contains API types that are generated by typeshare.
They can be regenerated by running the command npm run generate-api-types.
components
All components that reside inside here need to be documented in storybook.
The minimum requirements for documentation are:
- If the component can be in different states (e.g. a visual variant, or an open/closed state), each state should be described by a story.
- Every property that can be passed to the component needs to be documented.
features
Most of the application's code lives here.
Every folder created here represents a given feature and contains its domain specific code.
For example, if a feature interacts with the backend via network requests, it would have a sub module api that encapsulates this.
Features are allowed to import another feature's public API which is exported from its index.ts file.
Features are also allowed to import all other previously mentioned modules if needed.
Each feature can have its own separate store to manage its state. This allows for modular and independent state management across different features.
Folder Structure for each Feature
api/: Contains API calls to the backendcomponents/: Contains components that are related to the feature.hooks/: Contains hooks that are related to the feature.routes/: Contains the routes of the feature.utils/: Contains additional utility functions, that are related to the feature.store/: Contains stores that manage state of the feature.
The map_planning feature
Store
The MapStore is related to the map planning feature and contains all layer-related state and logic. The main map store is composed of two sub-stores:
TrackedMapStore: stores the state of the map that is tracked by the history. This state is used to undo/redo actions.UntrackedMapStore: stores the state of the map that is not tracked by the history (e.g., the selected layer and the layer opacities).
Components like the timeline or the transformer use separate independent stores. This separation allows the components or sub-features to manage its specific state that is not directly related to the map or layer management.
Additional Structure
layers/: Contains components and utilities that are related to layers. Each layer type has its own folder.
Subfeature Structure
If there are subfeatures such as a timeline or transformer component, corresponding subfolders named after the subfeature are created within directories like store or components to encapsulate their specific implementations.
Layer states
For each layer there is a TrackedLayerState and an UntrackedLayerState.
If the layer introduces new properties the new types (e.g. TrackedPlantLayerState and UntrackedPlantLayerState) should be extended from these.
The same applies for the corresponding ObjectState types.
- add new types
/**
* The state of an image object.
*/
export type ImageObjectState = ObjectState & {
imageUri: string;
};
/**
* The state of a map's photo layer.
*/
export type TrackedPhotoLayerState = {
index: LayerName;
/**
* The state of the objects on the layer.
*/
objects: ImageObjectState[];
};
- modify layer type
/**
* The state of the layers of the map.
*/
export type TrackedLayers = {
[key in Exclude<LayerName, "Photo">]: TrackedLayerState;
} & {
Photo: TrackedPhotoLayerState;
};
the above construct may eventually be refactored into the below as more specific types get added to the layer state.
export type TrackedLayers = {
Base: TrackedBaseLayerState;
} & {
Plant: TrackedPlantLayerState;
} & {
Photo: TrackedPhotoLayerState;
} & {
...
}
Runtime View
Plantings
sequenceDiagram
actor User
User->>+Frontend: search for plant
Frontend->>+Backend: search
Backend->>-Frontend: list of plants
User->>Frontend: selects plant
Frontend->>+Backend: placements
Backend->>-Frontend: list plant_ID of relations
Backend->>+Frontend: heatmap
User->>Frontend: place plant
Frontend->>Backend: place plant
- search via GET on /api/plants
- placements via GET on /api/maps/{map_id}/layers/plants/placements
- place plant via POST on /api/maps/{map_id}/layers/plants/plantings (plant_ID, pos, date)
Season
Example of a typical sequence in one season:
sequenceDiagram
actor User
User->>+App: input of available seeds
User->>App: import base map
User->>App: planning of landscape
User->>App: planning of plants
App->>-User: list of needed seeds
World->>User: get missing seeds
User->>World: raise plantings indoor (vorziehen)
User->>App: set plantings as raised
World->>User: plants ready, weather ok
loop
App->>User: plan what should be planted
User->>World: plant
activate World
User->>+App: adjust to what was actually planned
end
World->>User: harvest and remove plants
deactivate World
User->>App: set plants as harvested or removed
World->>User: seeds for next year
Deployment
C4Context
Person(person, "Non-Member", "Not yet one of PermaplanT's members.")
Person(member, "Member", "Any of PermaplanT's members.")
Boundary(browser, "Browser") {
System(Frontend, "Frontend", "Allows to design permaculture maps.")
}
Boundary(server, "Server") {
System(Backend, "Backend", "Implements PermaplanT's specific functionality.")
System(Keycloak, "Keycloak", "Handles auth for Frontend, Backend and Nextcloud")
System(Nextcloud, "Nextcloud", "Stores all files and allows collaboration.")
SystemDb(Database, "Database", "PostgreSQL with PostGIS extensions.")
System_Ext(Email, "Email", "The email system.")
}
BiRel(person, Frontend, "Sees landing page and public maps")
BiRel(member, Frontend, "Uses with full functionality")
BiRel(Frontend, Nextcloud, "Nextcloud REST API", "HTTPS")
BiRel(Frontend, Backend, "PermaplanT REST API", "HTTPS")
BiRel(Frontend, Keycloak, "Tokens", "HTTPS")
Rel(Nextcloud, Email, "")
Rel(Keycloak, Email, "")
BiRel(Database, Backend, "SQL")
UpdateElementStyle(person, $fontColor="black", $bgColor="grey", $borderColor="red")
UpdateRelStyle(person, Frontend, $offsetX="0", $offsetY="-60")
UpdateRelStyle(member, Frontend, $textColor="b", $lineColor="blue", $offsetX="50", $offsetY="-20")
UpdateRelStyle(Frontend, Backend, $textColor="blue", $lineColor="blue")
UpdateRelStyle(Frontend, Keycloak, $textColor="blue", $lineColor="blue", $offsetX="-10")
UpdateRelStyle(Frontend, Nextcloud, $textColor="blue", $lineColor="blue", $offsetX="-50")
UpdateLayoutConfig($c4ShapeInRow="4", $c4BoundaryInRow="1")
Crosscutting Concepts
We handle crosscutting concepts in the Chapter Guidelines.
A few concepts we don't need/avoid/keep very simple are listed here:
- validation: was already described in solution
- persistency: only via database, the backend has no other state
- transaction: only for inserting plants but not needed in the backend
Architecture Decisions
We handle architecture decisions in its own Chapter Decisions.
Quality
operable
- Database is consistent and correct.
- Migrations correctly migrate from previous version to the current one, without losing data etc.
(only within the
devbranch migrations can be modified or squashed). - Frontend+backend are (re)-deployed together, so there cannot be version mismatches.
- Only a minimal set of configuration options and everything is configurable only via
.env. - Everything builds and runs on Linux and the CI.
usability
- Compliance with UI style-guide.
- Design and implement components responsively as described by general-responsiveness-guide and component-responsiveness-guide
- Design and implement features to be easily accessible.
- Alternative ways to access a feature may be provided wherever possible and helpful.
- Easily understandable acceptance test cases.
- Usability tests with own case studies and gardeners.
- (Future) Usable despite color blindness.
- (Future) Usable with tablet gloves.
Usability Scenarios
- New users are introduced to all features (guided tour, documentation, tutorials, ...) or can intuitively understand them.
- Existing users are introduced to new features (guided tour, documentation, tutorials, ...) or can intuitively understand them.
- After opening a page, scrolling is only possible vertically or hoizontally.
- After opening a page, all information is visible or becomes visible when using the scrollbar.
- After opening a page, all interactions are possible or become possible when using the scrollbar.
- After opening a page, all interactions have a clearly understandable effect, are intentional and consistent.
- After opening a page, a user interaction does not lead to an unexpected result.
- After opening a page, a user does not interact with a feature unintentionally.
- After opening a page, a user does not fail to interact with a feature unintentionally.
- After opening a page, a user does not interact with an unintended feature.
- After opening a page, a user interacts with a feature multiple times with the same result each time.
- After opening a page, at least 75% of it displays the main content.
- After opening a page, a user interaction does not unexpectedly reduce the display size of the main content.
- After opening a page, a user interaction does not unexpectedly overlay the main content.
- When working with a mobile device, accessing a feature requires at most an additional click compared to working on a personal computer.
efficient
- At least 3000 users should be able to use the backend simultaneously.
- Application should stay usable with 10.000 elements.
- Startup time of backend should be less than one second.
- Near instant search results.
- Good carbon emission efficiency.
secure
- Avoid common vulnerabilities
- Use reliable software for security concerns
- Everything encrypted (https)
- Only encrypted or local storage
- Only authenticated users can access non-public data
flexible
One of our least important goals. Users or programmers do not need simple ways to extend PermaplanT or to change features. The only quality requirement we have are:
- All features should be available regardless of input device and screen size.
- Features limited to a specific input device like keybindings may be unavailable otherwise.
- localized to German and English
Backend Tests
Tests are split into unit and integration tests (see here for reference).
Integration tests can be found here.
Unit tests can be found in the modules they are supposed to test.
Code documentation
The code documentation of the backend can be built using cargo doc --open.
You can find a more detailed explanation of which modules do what there.
API documentation
The API documentation can be viewed by running the backend with cargo run and then navigating to http://localhost:8080/doc/api/swagger/ui/.
It is automatically built using utoipa.
Frontend Code Documentation
The code in the frontend is documented by two different mechanisms. On the one hand components are documented via storybook, on the other hand the public API of a feature, shared hook or utility, etc. should be documented by doc comments. We use TypeDoc to extract the documentation from code comments. More details about supported tags and syntax can be found in the TypeDoc documentation.
The code documentation of the frontend can be generated via the command npm run doc.
Under the hood, this command executes TypeDoc that generates .mdx files to be viewed in storybook.
Afterwards it can be opened in storybook via the command npm run storybook.
More details about documentation can be found in the contribution docs
Risks and Technical Debt
Implementation Risks
- implementation cannot be understood by future programmers
Mitigation: inline comments, assertions, documentation and test cases - misunderstandings about biology or plant relationships
Mitigation: have experts like Pavlo included in our team.
Domain Risks
- table design (SQL) not suitable for our domain
Mitigation: create ER diagram, documentation about hierarchy
Technical Risks
- hardware risks
Mitigation: Having a second server.
Business Risks
- unclear communication what PermaplanT is about
Mitigation: Do releases and advertise them, landing page. - too small group of users
Mitigation: it can be used at least for ourselves and by friends
Legal Risks
- copyright on plant data
Mitigation: asked for permissions
Glossary
Basics
- PermaplanT: The planning app implemented in this repository.
- map: The main planning utility for PermaplanT, which contains elements in several layers.
- nature living spaces (Naturlebensräume): The physical place which is represented by the map. This can be a green space, garden, balcony, or similar.
- map owner: The creator of the map and usually the owner of the nature living space.
- collaborator: People working together with map owner to plan the nature living space.
- current clock time: The time when you look at your clock.
- planning time: The time used within the map editor, to be selected with the timeline.
- current planning time: The time which is currently selected in the timeline, which is one specific date of the planning time.
- elements: Belong to a certain layer in a map. They have attributes.
- deletion/creation vs. removal/adding of elements:
- deletion/creation (German: löschen/erzeugen):
(refers to actual time)
The element never existed.
Such elements actually get deleted from the database and can only be restored within the session using undo.
I.e. there might be columns named
created_atorremoved_at, but there usually is not adeleted_atcolumn (with exception of maps which do not immediately get deleted). Note: there is also a deletion of optional attributes, which means that the attribute is empty again. - removal/adding (German: entfernen/hinzufügen): (refers to planning time) Removal of elements assume that the element actually was on the map (physically) during some time (between adding and removing). The database must keep removed elements, they never can be deleted. Plantings get added at the current planning time and might be automatically removed one or two years later.
- deletion/creation (German: löschen/erzeugen):
(refers to actual time)
The element never existed.
Such elements actually get deleted from the database and can only be restored within the session using undo.
I.e. there might be columns named
- event: (refers to planning time) A day relevant to a user, which occurs on a map, e.g. when elements in the map get e.g. added/removed (accuracy: one day) or when a user declares a map ready for review etc.
Management
- Iteration = 1-week development period starting Mondays
- Milestone = expected release date
- Epic = group of related issues toward a major feature
- Iteration Reflection (or simply Reflection) = A brief process improvement discussion. Focuses on what went well, what challenges were faced, and what can be done differently in the next iteration. This is distinct from Retrospective.
- Retrospective = A comprehensive team-wide process review as defined in Scrum methodology, typically held after releases with the entire team. More formal and broader in scope than Iteration Reflection.
Biology
- taxonomy: A scientific classification of plants into a hierarchy. The hierarchy we use is described here. As first introduction read:
- rank:
Rank is a level within taxonomy.
Plants within one taxonomic rank share traits with each other.
The levels relevant for PermaplanT are from highest to lowest:
- Family
- Genus
- Species
- Variety
- Cultivar
- below: We say a plant or rank B is below another rank A if it is at least one rank lower than A.
- belong: We say a plant B is belongs to rank A if it is exactly rank A (and not below).
- concrete plant: Is in an actually existing species, variety and cultivar.
- abstract plant: Representants of ranks, which are not actually existing plants.
- family: A taxonomic rank that consists of multiple genera.
- genus: A taxonomic rank which is part of a family. Consists of multiple species.
- species (German: Art): A taxonomic rank which is part of a genus. Can have multiple varieties or cultivars.
- variety (German: Varietät): Has the main characteristics of its species but differs in heritable characteristics. Can have multiple cultivars.
- cultivar (abbreviated from cultivated variety, German: Sorte): Has the main characteristics of its species or variety but differs in minor heritable characteristics. These characteristics were cultivated on purpose.
- hybrid: Hybrids are otherwise not relevant for PermaplanT's functionality.
- attributes of plants (traits in scientific literature): A characteristic of a variety, species, genus, subfamily or family. E.g. height, spread, color, etc. Attributes can be defined on different levels of the hierarchy. E.g. a variety can have a different height than the species it belongs to. Some attributes are optional, e.g. height.
- polyculture (aka companion planting, German: Mischkultur): Mutually beneficial way of growing plants together.
- Relation:
- Spatial: Plants are in a non-neutral relation if they either positively (companion) or negatively (antagonist) influence each other's health and growth.
- Temporal: Plants are in a non-neutral relation if crop rotation is positive or negative on the later plant's health and growth.
- companion (to plant according polyculture): Plants that should be planted together.
- antagonist (to plant according polyculture): Plants that should be avoided next to each other.
- ambivalent relation (German: ambivalent): The plantings are both companions and antagonists to each other.
- plant database (German: Pflanzen-Datenbank): PermaplanT's large collection of plant entries with comprehensive data, indexed with a unique name.
- inventory (German: Inventar): A personal collection of plants, e.g., seeds. Every entry of the inventory links to a plant in the plant database. Furthermore, they have an additional name and are more precisely describing a plant than the plant database could do. Only in the inventory you can have plants which are not in the plant database, e.g., of special, new or unknown varieties.
- seedproof (German: Samenfest): From the seeds of a fruit you get again similar fruits.
- hybrid: Hybrids are not seedproof. They have an x in their name.
- raising (German: Anzucht, vorziehen)
- (German: Vorkulturen)
- (German: Sortenrein, ohne/wenig Vermischung anderer Sorten, wenig/keine Fremdbestäubung)
- zone (in permaculture, German: Permakultur Zonen):
Is an area which has the same frequency of human visitors.
The areas are numbered from:
- 00: (represented numerically as -1)
- 0: physical body of permaculturist
- 1: extremely frequently visited
- 2: frequently visited
- 3: less frequently visited
- 4: rarely visited
- 5: usually not visited
- 6: never visited/protection zone
- plantings (German "Pflanzung" or also "Pflanzen" depending on context): Plants that are already positioned on the map.
- same (plants, seeds or plantings): Plants are the same if they have the same unique name. Seeds are the same if the plant and the additional name are the same. Plantings are the same if the plant and seed are same.
- plant replacement: Duplicate plants with only slightly differing unique names can be merged by deleting one plant and replacing its usages with the other.
- row: A row is a series of the same plantings.
- area of plantings: Are several rows next to each other, which have a specific distance to each other (row spacing).
Plantings Attributes
- spread (German: Breite): Typical size of plants or plantings and recommended distance value between plants. Is used as default value for size_x and size_y when plantings or area of plantings are created.
- height: The height of plants or plantings.
- spacing (Pflanzabstand)
- row spacing (Reihenabstand)
- life cycle: is a list containing any combination of its 3 possible values (annual, biennial, perennial) or just an empty list in case a plant has no life cycle value in the database
UI
- device: A physical piece of hardware capable of accessing the internet through the use of a supported browser.
- mobile device: A portable device a user mainly interacts with via a touchscreen.
- small screen: A screen with a width or height of less than 768 px.
- large screen: A screen with a width and height of 768 px or more.
- layer: Layers allow to group elements of the same kind and set all of them visible or transparent. (implemented as Konva group)
- overlay: A component that partially or completely covers the primary content of the current page. An overlay may provide additional information, additional tools or a means of navigation amongst other things. Examples for an overlay in the context of PermaplanT include the navbar, the left and right toolbars and the timeline.
- right top toolbar: Allows to enable or hide layers.
- right bottom toolbar: Contextual toolbar for the enabled layer.
- Right toolbar: The UI element containing both the right top and bottom toolbars.
- left top toolbar: Buttons with icons that have potentially global effects for the map or the functionality on the next click.
- left bottom toolbar: Contextual toolbar for the enabled element.
- left toolbar: The UI element containing both the left top and bottom toolbars.
- status panel: The panel shown during actions, e.g. placement of elements, in the bottom middle. It should tell the user which action a mouse click would have, i.e., in which mode the UI currently is. Is not shown if mouse clicks would select elements.
- navigation bar (NavBar): The top bar for login etc.
- timeline: The bottom bar to set the current date.
- scale bar (Maßstabsleiste): Overlaid on the map in the bottom right to show the user what the current scale of the map is. Depending on the zoom level it might be in centimeters or meters. It represents this distance in the current scale of the map.
- images (Bilder):
are fetched from Nextcloud, drawn on the canvas and can be either:
- when a plant is rendered (a replacement image showing a generic plant might be used if the plant has no image)
- special elements in additional layers
- an image for the base layer (base layer image)
- clear (an input):
- refers to resetting an input to its original and sometimes empty state (for example: a date input should show no selected date after being cleared)
- guided tour
- refers to the Sheperd tour teaching new users about the features of the app.
Layers
- enable (a layer): Changes the canvas in a way that elements in the enabled layer are the ones to be edited, selected and added. When working together on a map, every user can enable the layer of their choice.
- visibility and opacity (of a layer): The elements in a layer are (not) shown or with a user-selected transparency.
- alternative (of a layer): An alternative (of a layer) is a named clone of a layer. It is possible to select one alternative of a layer. Each alternative can be edited independently.
- select (a layer): To choose one alternative of one layer. E.g. if there are several plants layers, a user can select only one of these alternatives at once. When working together on a map, every user can select their own layers.
- offline availability: Means that layers can be edited also offline, data gets synced when device is online again.
- brushing: A quick way to mark areas in the brushing layers: shadow, hydrology, soil texture and additional.
Technical
- usability: The extent to which a system, product or service can be used by specified users to achieve specified goals with effectiveness, efficiency and satisfaction in a specified context of use.
- mobile usability: The usability in the context of a mobile device.
- user interface (UI): The set of all the components of an interactive system that provide information and controls for the user to accomplish specific tasks with the interactive system.
- user experience (UX): Combination of user's perceptions and responses that result from the use and/or anticipated use of a system, product or service.
- offline: Means the ability to use a feature without Internet connection, i.e., without calling REST APIs.
- canvas: The main and middle part of the screen which provides the planning/drawing functionality.
- canvas context:
- canvas node elements i.e. HTML representation of rectangle, circle, etc. on the canvas
- map context:
- layers and their attributes e.g. relation layer and its visibility
- reversible deletion vs undo-redo functionality:
- reversible deletion: a database entity i.e. a whole map and plant is deleted and can be restored within a certain time
- undo-redo functionality: a user can undo and redo changes in the map, but the history is local to the frontend and not stored in the database
- lazy loading:
- Lazy loading refers to the process of loading data on-demand, rather than loading everything upfront during the initial load of the app.
- offloading of the frontend state:
- the process of cleaning up the frontend state by deleting data that has already been synchronized with the backend and is no longer needed. This can help to reduce the amount of unnecessary data in the frontend, which can improve the performance and efficiency of the application.
- first contentful paint (FCP):
- the time it takes for the browser to render the first bit of content on the page.
- time to interactive (TTI):
- the time it takes for the page to become fully interactive.
- Document Object Model (DOM):
- the data representation of the objects that comprise the structure and content of a document on the web.
- endpoints:
- The API endpoints that can be called in the backend. Their documentation can be viewed using swagger-ui (see here for reference).
- entity:
- an object or concept of interest (map, user, plant, planting, etc.)
- contains all necessary attributes to describe its properties
- represented as table in the database
- each database row is a specific instance of the entity
- keybinding:
- The association of a specific action or function with a particular key or key combination.
- keyhandling:
- A Broader concept of how the software manages and responds to keyboard input. It includes not only the assignment of actions to keys (keybinding) but also the handling of key events, such as detecting key presses, key releases, and processing them accordingly.
- container component: component whose main responsibility is layout of other components (grids, lists, context menus, etc.)
- file path (or
file_pathfor variables): A string that identifies a file in a hierarchical file system. See doc/guidelines/files.md. - file name is one component of the file path
- base name is the last component of a file path
Acronyms
-
FE: Frontend.
-
API: Application Programming Interface, commonly used to provide endpoints that allow for communication between backend and frontend.
-
DTO: Data Transfer Object, used to encapsulate and transfer data between different parts of a program, usually from the backend to the frontend (commonly used as API responses)
-
REST: Representational State Transfer, style and standard for designing APIs using standard HTTP methods.
-
JSON: JavaScript Object Notation, data format that is commonly used in communication between backend and frontend and can be natively used and accessed in the frontend.
-
JWT: JSON Web Token, compact token format that can be used for secure data transmission and e.g. for authentication.
-
DOM: Document Object Model, interface that allows for manipulation/updates to HTML documents by e.g. queries, selectors and more.
-
CI/CD: Continuous Integration / Continuous Deployment, used to automate code integration and the deployment process, used to run tests/pipelines before merges and deploy code afterwards.
-
CORS: Cross-Origin Resource Sharing, a browser security feature that restricts how web pages can request resources from different domains. It aims to stop malicious sites from being able to access or snoop sensitive and private data.
-
OAuth: Open Authorization, a protocol used for token-based authorization, which is used for authorization in PermaplanT. See nextcloud integration doc for further information.
-
IAM: Identity and Access Management, used to secure applications and services. PermaplanT uses Keycloak for this to manage and secure access to nextcloud. See keycloak doc for further information.
Testing
- unit test: Used to test parts of our code in isolation. See test doc for further information. Example: Test an individual function for specific behavior.
- integration test: Used to test if different parts of the code work together correctly. See test doc for further information. Example: Make an HTTP request to the backend and let it run through controller, service and persistence layer requiring a running database.
- end to end test (e2e test): Used to test the whole application from end to end. Example: Simulate a user clicking a button (e.g. with Selenium) resulting in an HTTP request to the backend. Wait for the response and validate the resulting change in the frontend.
- acceptance tests: Black box system tests of a user story. Usually performed as regressions tests prior to a release. They are performed by engineers during the development phase.
- system tests: Tests the whole system towards the requirements definition and specification documents. This can involve functional and non-functional tests (performance, security, etc.). They are super set of end-to-end tests which can be done manually and/or automatically.
- user acceptance tests: Black box system tests towards customer requirements. Usually (subset of) system level tests conducted by the customer/user/domain expert. These tests makes sure that the solution provided by the system is accepted by the user. Similar to "Beta testing".
- smoke test: Quick verification to avoid testing a severely broken state. These are minimal checks to catch obvious breakage, not comprehensive testing. The term comes from the idea of turning something on and checking if smoke comes out, indicating a critical failure. Example: Verify the application starts and the main page loads without errors.
Authors
This is a list of people that contribute to PermaplanT, including their responsibilities, skills, etc.
Explanations
- Gitlab: My gitlab @alias
- Main responsibilities: Which repository I'm mainly working for (e.g. infrastructure, PermaplanT, project management, icons)
- Positioning: My general positioning within my main responsibility (e.g. frontend, backend, full-stack, devops, mobile, usability, ...)
- Focus groups: Topics I'm part of, i.e. all the positionings with which I interact or collaborate (e.g. as a DevOps Engineer, I will often deal with both frontend and backend code)
- Special skills/knowledge: Something I'm extremely good at (e.g. a Git Guru) and/or where I have a strong expertise (e.g. Botany experts)
- Email(s): my@email.com which shall be used to contact me by users of the community and externals
- Develops and tests on: A list of systems (or the main system) I use for development and testing, e.g. devcontainer or Devuan
The template is at the end of this document.
Markus Raab
- email: markus@permaplant.net
- GitLab: @markus.raab
- devel/test on: Devuan stable
- main responsibility: chairman (Obmann)
- groups: project management
- positioning: backend
Christoph Schreiner
- GitLab: @e01129489
- main responsibilities: DB optimizations, Backend, E2E Tests
- special skills: SQL, Python
- positioning: backend, scraper
Filip
- Gitlab: @e12024750
- main responsibilities: CI, Infrastructure
- skills: CI, Jenkins, Ansible, Infrastructure, Nextcloud
Stefanie F
- Gitlab: @e01609368
- main responsibilities:
- positioning: frontend
Christoph Kraus (Chris)
- main responsibility: Quality Assurance/Testing
- focus group: E2E
- positioning: E2E, CI/CD
Elizaveta Mokshantseva (Liza)
- Gitlab: @e12313407
Justus Weilguni
- Gitlab: @e12106336
- Main responsibilities: PermaplanT
- Positioning: Backend
- Focus groups: Database, Access Control, Backend
- Special skills/knowledge: SQL, Rust, OAuth2
- Email(s): e12106336@student.tuwien.ac.at
- Develops and tests on: Ubuntu / Devcontainer, VS Code
Hannes Zettl
- Gitlab: @e12227717
- Main responsibilities: Infrastructure
- Positioning: Maintenance
- Focus groups: Backend, Frontend, DevOps, Maintenance
- Special skills/knowledge: Ansible, Terraform, Docker
- Email(s): e12227717@student.tuwien.ac.at
- Develops and tests on: devcontainer + vscode on Fedora Linux
Patrick Grassl
- Gitlab: @e11808254
- Main responsibilities: Infrastructure
- Positioning: Backend
- Focus groups: DevOps, Backend
- Special skills/knowledge: Testing, Security, CI/CD, Rust
- Email(s): e11808254@student.tuwien.ac.at
- Develops and tests on: DevContainer / WSL, VS Code due to Convention
Vseslav Levchenko
- Gitlab: @e12231202
- Main responsibilities: Database communication, Data scraper
- Special skills/knowledge: SQL/Postgresql, Python, git
- Email(s): e12231202@student.tuwien.ac.at
- Develops and tests on: VSCode on Ubuntu
Moritz A
- Gitlab: @e12322880
- Email(s): mo@permaplant.net
- Main responsibilities: Infrastructure
- Positioning: devops, backend
- Develops and tests on: Arch Linux/NixOS with Neovim
Lukas Oberhauser
- Gitlab: @e12217035
- Main responsibilities: Keycloak, OpenTelemetry
- Positioning: devops
- Focus groups: devops
- Special skills/knowledge: Python
- Email(s): e12217035@student.tuwien.ac.at
- Develops and tests on: VSCode / Devcontainer on Ubuntu
Elia Wenty
- Gitlab: @e12122106
- Main responsibilities: PermaplanT frontend
- Positioning: frontend, guided tour
- Focus groups: frontend
- Special skills/knowledge: Angular, Typescript, SQL
- Email(s): e12122106@student.tuwien.ac.at
Peter Mrkonjic
- Gitlab: @e12321288
- Main responsibilities: Nextcloud, Backend
- Positioning: Nextcloud, Backend
- Focus groups: Nextcloud, Backend
- Special skills/knowledge: SQL, Typescript
- Email(s): e12321288@student.tuwien.ac.at
Ines Schnabl
- Gitlab: @e12319571
- Main responsibilities: Performance, Frontend
- Positioning: Performance, Frontend
- Focus groups: Performance, Frontend
- Email(s): e12319571@student.tuwien.ac.at
- Develops and tests on: DB in Docker, front- and backend locally in WSL, IntelliJ
Previous Authors
Maiia Kuzmishyna
- Gitlab: @e12123663
- Main responsibilities: PermaplanT
- Positioning: frontend
- Focus groups: frontend, optimizations, mobile, usability
- Special skills/knowledge: React, Typescript, Zustand, Frontend security
- Email(s): e12123663@student.tuwien.ac.at
- Develops and tests on: Ubuntu-24.04 via WSL, Visual Studio Code, Dev Containers, Windows 11
Alfons Mueller
- Gitlab: @e12123431
- Main responsibilities: PermaplanT
- Positioning: frontend, guided tour
- Focus groups: frontend
- Special skills/knowledge: Angular, Spring, SQL
- Email(s): e12123431@student.tuwien.ac.at
- Develops and tests on: DevContainer using VS Code
Lukas L
- Gitlab: @e12122567
- main responsibilities: hydrology, crop rotation
- positioning: frontend
Jannis Adamek
- Gitlab: @e11809490
- main responsibilities: layers
- positioning: backend
Lukas H
- GitLab: @e11776180
- main responsibility: infrastructure
- skills: CI, Jenkins, Ansible, Infrastructure
Gabriel
- main responsibility: Backend
- special skills: Rust, Docker, OAuth2
- positioning: backend
Nursultan
- main responsibility: scraper, plant DB
- focus group: DB
- special skills: frontend tests
- research: optimizations
- positioning: full-stack
Benjamin
- main responsibility: Polyculture
- focus group: polyculture, PostGIS
- special skills: BOKU
- positioning: backend
Christoph N
- main responsibility: Usability Improvements
- focus groups: UX, frontend
- positioning: frontend
Samuel
- main responsibilities: Nextcloud Integration, Frontend Architecture
- focus groups: UX
- special skills: SQL, Tailwind CSS, TypeScript
- positioning: frontend
Giancarlo
- main responsibility: Drawing Part of Frontend (Canvas)
- focus group: UX
- positioning: full-stack
Ramzan
- main responsibility: PostGIS
- focus group: DB, PostGIS
- positioning: DB
Thorben
- main responsibility: Gamification
- worked on: DB, gamification, frontend, colors
- focus group: DB, frontend, gamification
- special skills: Jenkins
- positioning: frontend, DB
Moritz
- GitLab: @e52005233
- main responsibilities: DB
- special skills: SQL, TypeScript
- focus groups: DB, Frontend
- positioning: full-stack
- worked on: seeds use case, base layer use case, db, frontend, backend
Daniel S
- Gitlab: @e01627761
- main responsibilities: timeline, drawing layer
- positioning: frontend
Ben S
- Gitlab: @e12024013
- positioning: frontend
- special skills: Typescript, Tailwindcss
Moritz M
- Gitlab: @e01529037
- Main responsibilities: PermaplanT
- Positioning: frontend, mobile, usability
- Focus groups: frontend
- Special skills/knowledge: Android, Typescript, Jenkins, Openshift
- Email(s): e1529037@student.tuwien.ac.at
- Develops and tests on:
- IntelliJ on Windows 11
- Windows 10 Tablet
- Android 15 Phone
Yvonne Markl
- email: yvonne@permaplant.net
- GitLab: @EXT_26840233, @EXT_26873109
- main responsibility: Biology
- focus groups: frontend, UX
Aydan
- devel/test on: Debian Oldstable/Stable
- main responsibility: Releases and CI/CD
Paul
- main responsibility: Offline Database Integration
- focus group: DB, frontend
- special skills: React, TypeScript, Tailwind CSS
- positioning: full-stack
Paul B
- Gitlab: @e12111940
- Main responsibilities: Infrastructure, PermaplanT, Project Management
- Positioning: devops
- Focus groups: CI/CD, Project Management
- Special skills/knowledge: Project Management, CI/CD
- Email(s): paulb@permaplant.net
- Develops and tests on: Macbook Air M1 with brew
Andrei D
- Gitlab: @e01631854
- main responsibilities: state management, copy+paste
- positioning: frontend
Johannes Z
- Gitlab: @e01506152
- Main responsibilities: Infrastructure, PermaplanT, OpenTelemetry, Keycloak
- Positioning: DevOps
- Focus groups: Infrastructure
- Special skills/knowledge: Ansible, IT-Security,...
Template
- Gitlab:
- Main responsibilities:
- Positioning:
- Focus groups:
- Special skills/knowledge:
- Email(s):
- Develops and tests on:
PermaplanT Backend
Scope: to be read/done by backend developers.
Requirements
If you want to develop on the backend, make sure you have enough RAM. When performing cargo build, we have experienced a usage of ~12GB.
- Rust (Installation guide)
- PostgreSQL version 15 with PostGIS 3.5
- libpq-dev
- libssl-dev
- pkg-config
Additional Documentation
Details about the API documentation can be found here.
To view code documentation run the following in the backend/ folder:
cargo doc --open
Setup
All steps mentioned here have to be executed in the backend/ folder.
Setup
- Rename
.env.sampleto.envand enter the data according to your setup.
DATABASE_URLis the Connection URI to your PostgreSQL databaseBIND_ADDRESS_HOSTdefines the host on which the server will run onBIND_ADDRESS_PORTdefines the port on which the server will run onAUTH_HOSTdefines the host on which the auth server is running onAUTH_CLIENT_IDthe client id the frontend should use to log inKEYCLOAK_CLIENT_IDthe client id the server uses to communicate with keycloak (needs to be configured in keycloak)KEYCLOAK_CLIENT_SECRETthe client secret the server uses to communicate with keycloak (needs to be configured in keycloak)RUST_LOGused to set the logging config for env_loggerMODEModes the backend can be run in. See doc/tests/mode.md.
To install an extension, a user needs to be a 'superuser',
The user 'permaplant' doesn't have the required permissions to create the 'postgis' extension.
Set it up using the postgres user.
Ensure that you grant the necessary permissions for the user to use Postgres.
One way to do this, is by using the following command:
sudo -u postgres psql
CREATE USER permaplant WITH CREATEDB PASSWORD 'permaplant';
ALTER USER permaplant WITH SUPERUSER;
Access-Control
To disable the feature "access_control" remove the following line from backend/Cargo.toml
default = ["access_control"]
Note: The feature "access_control" must be enabled if MODE=production is set.
- Install
To install dependencies.
make install
- migration
To update the database.
make migrations
- build
make build
- Start Keycloak
To use the preconfigured Keycloak instance simply copy the newest version of .env.sample to .env
- run
To start the server
make run
Network Configuration & Access from Other Devices
Test server using Swagger
Go to http://localhost:8080/doc/api/swagger/ui/.
Now follow the steps described in the API documentation page.
You can find other ways to make requests by following How to obtain access tokens.
How to obtain access tokens?
In this guide it will be explained how to obtain access tokens and make requests to the backend while developing.
Be careful not to leak your username/password or access_token during the following steps.
Using Postman
- Open Postman.
- Create a new request.
- Enter the URL http://localhost:8080/api/config and execute the request.
This should now execute without errors. - Enter http://localhost:8080/api/seeds.
You should get a status code401 Unauthorized.
- Enter the URL http://localhost:8080/api/config and execute the request.
- Click the
Authorizationtab and selectOAuth 2.0.- Chose
Grant TypeAuthorization Code. - Set
Callback URLto http://localhost:5173/. - Set
Auth URLto https://auth.perma.health/realms/Perma/protocol/openid-connect/auth. - Set
Access Token URLto https://auth.perma.health/realms/Perma/protocol/openid-connect/token. - Set
Client IDtolocalhost. - Click
Get New Access Tokenat the bottom.- Postman should now open a browser window.
- Enter your credentials.
- There should now be a window displaying
Authentication complete. - Once it closes click
Use Token.
- Chose
- You should now be able to execute the request to http://localhost:8080/api/seeds in Postman.
A more in depth explanation about Postman and OAuth 2.0 can be found in the Postman documentation.
Using Curl
The following request should work without problems:
curl 'http://localhost:8080/api/config' -f
The following request should fail:
curl 'http://localhost:8080/api/seeds' -f
We need to obtain an access token before we are able to make requests to secured endpoints via curl.
We can do this using the Resource Owner Password Flow:
curl --request POST \
--url 'https://auth.perma.health/realms/Perma/protocol/openid-connect/token' \
--header 'content-type: application/x-www-form-urlencoded' \
--data grant_type=password \
--data 'username={username}' \
--data 'password={password}' \
--data 'client_id=localhost'
The response should be JSON containing a key access_token.
Copy the access token.
You can now make the request like the following:
curl 'http://localhost:8080/api/seeds' -H "authorization: Bearer {access_token}"
Note that the token is only valid for 5 minutes after which you have to refresh it with the same curl command again.
Other ways
You can find other ways of obtaining tokens using the Resource Owner Password Flow here.
API documentation
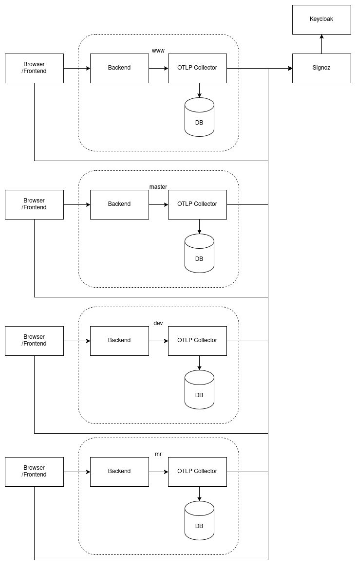
There are multiple variants of the API documentation:
- Production: https://www.permaplant.net/doc/api/swagger/ui/.
- MR: https://mr.permaplant.net/doc/api/swagger/ui/.
- Dev: https://dev.permaplant.net/doc/api/swagger/ui/.
- Local: http://localhost:8080/doc/api/swagger/ui/ (you have to have the backend running locally for this).
Executing requests
You can test requests to the backend directly via Swagger.
For most endpoints you have to be authenticated for them to work.
In Swagger you can do this like the following:
-
Open the API documentation.
If you try to execute the seeds GET request now it should return error 401. -
Click
Authorize. -
Use the variant with header
oauth2 (OAuth2, authorizationCode). -
Enter the
client_id. You have to use a different one depending on the location:- Production:
PermaplanT-Prod. - MR:
PermaplanT-MR. - Dev:
PermaplanT-Dev. - Local:
local-swagger-uiif you use the preconfigured Keycloak instance.- If you configured Keycloak yourself you have to create a client matching the URL.
- Production:
-
Enter your user credentials.
-
You should now be able to execute a request in Swagger.
HTTP Headers
This document explains the HTTP request headers used by the backend.
Authorization
The Authorization header is used for authentication/authorization. The access token should be set either by the frontend or manually when making requests with for example curl.
For instructions on obtaining and using an access token, refer to this document.
Language etc.
Are not sent nor used, as the backend is agnostic to it.
Cronjobs
Cronjobs in the backend can be added in the function start_cronjobs in the main.rs file.
This should be done by spawning a new tokio thread via tokio::spawn(cronjob_function());.
The function itself should never return.
This can be done by using the following function signature fn cronjob_function() -> ! and using a loop inside the function itself.
Example database cronjob:
#![allow(unused)] fn main() { pub async fn cleanup(pool: Pool) -> ! { loop { tokio::time::sleep(Duration::from_secs(60)).await; let query = diesel::delete(<some_constraint>); debug!("{}", debug_query::<Pg, _>(&query)); match pool.get().await { Ok(mut conn) => match query.execute(&mut conn).await { Ok(delete_rows) => log::info!("Removed {delete_rows} entries"), Err(e) => log::error!("Failed to execute query: {}", e), }, Err(e) => { log::error!("Failed to get connection from pool: {}", e); } } } } }
Performance Benchmarks
Requirements
The following tools are required to run the benchmarks:
- docker
- nushell (e.g. via
cargo install nu) - perf (package might be called
linux-perf-5.10) - flamegraph (cargo install flamegraph)
- httperf
jqpsql(part of PostgreSQL)- standard linux tools like
grep,awketc.
Setup
Add the following to the end of backend/Cargo.toml.
This is necessary to ensure that perf can accurately track the function stack.
[profile.bench]
debug = true
The benchmarks/backend/*/setup.sh scripts contain PERF=/usr/lib/linux-tools/5.4.0-153-generic/perf to set the location of perf.
Depending on your distribution it might or might not be needed to change this.
On Debian no change is needed.
Otherwise modify the path to point to your perf installation.
Scripts
You can find the scripts in benchmark/backend/.
They are supposed to be run from the repository's root folder.
The subfolders contain scripts to run performance benchmarks in specific endpoints.
setup.sh
Execute it as follows:
./benchmarks/backend/<endpoint>/setup.sh <username> <password>.
The database and backend have to be started manually.
Depending on the endpoint it might execute insert_data.sh scripts to insert additional data into the database.
The script might output instructions while executing. Follow these instructions to ensure the benchmark works correctly.
Parameters:
- username: Your PermaplanT username for https://auth.perma.health.
- password: Your PermaplanT password.
run_httperf.sh
Execute like the following:
./benchmarks/backend/<endpoint>/run_httperf.sh <username> <password> <number_of_requests> <request_rate>.
This script shall be run as soon as the setup.sh starts the backend via cargo flamegraph.
It will execute requests on the backend using httperf.
Once this script finishes you can interrupt setup.sh via Ctrl+C.
Note that it might take 20min or longer to finish once interrupted.
Do not press Ctrl+C again, otherwise the generated flamegraph will not include all data.
Parameters:
- username: Your PermaplanT username for https://auth.perma.health.
- password: Your PermaplanT password.
- number_of_requests: The total number of requests httperf will execute (e.g. 10000).
- request_rate: How many requests will be executed per second (e.g. 100).
get_statistics.sh
Execute like the following:
./benchmarks/backend/<endpoint>/get_statistics.sh.
This script shall be executed once all previous scripts finished.
It will parse the PostgreSQL logs and httperf logs to extract execution times.
Example run
The following is a step by step guide on how to execute the benchmark for the heatmap:
- Insert
into[profile.bench] debug = trueCargo.toml. - Execute:
./benchmarks/backend/heatmap/setup.sh <username> <password>. Do the following once the script gives the instructions.- Start the backend in dev mode.
- Press Enter.
- Select map size: press
s. - Stop the backend.
- Press Enter.
- Wait for the backend to start in release mode.
- Once its started execute in a second shell:
./benchmarks/backend/heatmap/run_httperf.sh <username> <password> 100 10 - Wait for httperf to finish.
- Press Ctrl+C in the
setup.shshell. - Wait until
flamegraph.svgwas generated (this might take 20min or longer). If you interrupt this step you have to rerun the benchmark. - Execute:
./benchmarks/backend/heatmap/get_statistics.sh - Collect results:
- flamgraph.svg
- Copy request execution times and query execution times from stdout of
get_statistics.sh
Why do we need the schema.patch file
When executing diesel migration run Diesel connects to the database and expresses the current schema of the database in the schema.rs file.
The config for this mechanism is in diesel.toml.
You can use diesel print-schema to output the schema manually.
Unfortunately Diesel generates type definitions for types we import from PostGIS.
This results in a double use:
diesel::table! {
use postgis_diesel::sql_types::Geography; // <-- even though we import using --import-types
use super::sql_types::Geography; // <-- this gets generated by Diesel
After generating the schema.rs file Diesel applies the patch file to it.
When to update the schema.patch file
Whenever you get an error message similar to error applying hunk #2 you have to update the schema.patch file.
This happens when schema.rs changes in the diff context of the patch file (the lines before and after the change).
How to update the schema.patch file
-
The following is done relative to the
backenddirectory.cd backend -
Comment out the following line from
diesel.tomlusing#:# patch_file = "src/schema.patch"e.g. by using sed:
sed 's:^patch_file = "src/schema.patch"$:# patch_file = "src/schema.patch":' -i diesel.toml -
Get a clean database with all migrations:
diesel database resetYou should now have a generated
schema.rsin thesrcdirectory. -
Copy the
schema.rsfile toschema_tmp.rs.cp src/schema.rs src/schema_tmp.rs -
Make the necessary changes to
schema_tmp.rs.Remove all Geometry types from there.
Look at the existing
schema.patchto see what needs to change. -
Create a new patch file.
diff -U6 src/schema.rs src/schema_tmp.rs > src/schema.patchNote: Make sure the correct encoding (UTF-8) and line break type (LF) is used. This is probably not an issue when working with Linux but in Windows the defaults seem to be UTF-16 and CRLF so be aware when using different operating systems.
-
Add
patch_file = "src/schema.patch"to thediesel.tomlagain:sed 's:^# patch_file = "src/schema.patch"$:patch_file = "src/schema.patch:"' -i diesel.toml -
Delete
schema_tmp.rs.
From now on the newly generated patch file is used by Diesel.
Steps to add a Field to Entities
-
Create a migration
cd backend && diesel migration generate my_new_migration
This will createup.sqlanddown.sqlinside a new migration folder under/backend/migrations/
up.sqlshould create all necessary tables, columns, constraints as well as modify data if necessary
down.sqlshould undo all changes fromup.sql -
Run the migration
make migrations
During development you can runmake migrations-redoto rundown.sqlandup.sqlof the most recent migration -
Add new field to Entity
e.g. extend thePlantsentity in entity.rs -
(Optional) Update the schema patch
If you see an error message similar toerror applying hunk #2, you will have to update schema.patch -
Add field to DTOs (where applicable)
e.g. extendPlantsSummaryDtoin dto.rs -
Update usages and trait implementations of DTOs (where applicable)
e.g. implementation of theFromTrait forPlantsSummaryDtoin plants_impl.rs
IMPORTANT: The order of the fields in the DTOs and corresponding entity must be the same as in the generatedschema.rs. -
Update database schema documentation
Review the documentation under /doc/database/schemata and make the necessary changes. -
Extend API documentation
Review the swagger API documentation under http://localhost:8080/doc/api/swagger/ui/
For better understanding of the API endpoints that uses the modified DTOs, consider adding an#[schema(example = "...")]attribute macro to the DTO
For example:
pub struct TimelineDto {
#[schema(example = "{ \"2020\": { \"additions\": 7, \"removals\": 7 } }")]
pub years: HashMap<String, TimelineEntryDto>,
[...]
}
What type of SQL code to add here. Are only the heatmap functions planned for now?
All the FUNCTIONS/TRIGGER etc. that are not tightly connected to the tables/data.
So it is for code, data stays in the migrations.
The SQL files are saved in backend/src/sql_files and should be named import_*.sql.
When it is being run?
First suggestion:
- creation of database
- running migrations
- the SQL imports we discuss here
- importing test data+maps
- run e2e tests
These deps should be tested and then documented and being implemented in Makefiles and CI (if it does not simply call make) the same way.
In what format should it be? Do we also need DROP statements? Otherwise just removing a function/file leaves the functions/types in the database.
It should be idempotent, so reimporting the SQL files many times should be no problem (no errors etc.).
So we need something like DROP FUNCTION IF EXISTS.
Troubleshooting
This document contains solutions to common issues encountered when working with the PermaplanT backend.
Build Issues
Schema Generation Errors
Problem: Build fails with diesel CompatibleType errors like:
error[E0277]: the trait bound `((Float, ...), ...): CompatibleType<..., ...>` is not satisfied
Root Cause: This error typically occurs when the generated schema.rs file is out of sync with the actual database schema, often due to:
- Incomplete or failed database migrations
- Manual database schema changes not reflected in migrations
- Time synchronization issues causing incorrect file modification times
Solution: Regenerate the database schema by running:
make reset-database
This command will:
- Drop and recreate the database
- Run all migrations to ensure schema consistency
- Insert sample/scraped data
- Generate a fresh
schema.rsfile that matches the database
Alternative Solution (if you want to preserve existing data):
make migrations
PostgreSQL Client Library Connection Issues
Problem: Build fails with PostgreSQL client library connection errors on macOS, typically when using Postgres.app.
Root Cause: The Rust build process cannot locate the PostgreSQL client libraries installed by Postgres.app.
Solution: Set the RUSTFLAGS environment variable to point to the PostgreSQL library directory:
export RUSTFLAGS="-L /Applications/Postgres.app/Contents/Versions/latest/lib"
Alternative Solutions:
-
If using a different PostgreSQL installation, adjust the path accordingly:
# For Homebrew PostgreSQL export RUSTFLAGS="-L $(brew --prefix postgresql)/lib" # For system PostgreSQL export RUSTFLAGS="-L /usr/local/lib" -
Make the setting permanent by adding it to your shell profile (
.bashrc,.zshrc, etc.)
Database Issues
Migration Failures
Problem: make migrations fails with permission or extension errors.
Solution: Ensure your database user has the necessary permissions:
sudo -u postgres psql
ALTER USER permaplant WITH SUPERUSER;
PostGIS Extension Missing
Problem: Database operations fail due to missing PostGIS extension.
Solution: The extension should be installed automatically during migrations. If it fails, install manually:
sudo -u postgres psql -d permaplant_db
CREATE EXTENSION IF NOT EXISTS postgis;
CI/CD Pipeline
Hotline
Our Team
Emergency service Jenkins+Infrastructure:
- Johannes: Mondays, Fridays
- Paul: Wednesdays, weekends
"Wartungsfenster" fixed times where upgrades are done, may cause downtime
- Mondays or Fridays as early as possible (e.g. 7:00) until about 10:30 or longer on troubles: when finished it will be written in Nextcloud
GitLab
GitLab has their "Wartungsfenster" always on the first Wednesday of the month. There may be "Internal Error", "Service Unavailable", etc. Otherwise, in case of errors, email to:
- To: help@it.tuwien.ac.at, gitlab-admin@it.tuwien.ac.at
- CC: markus.raab@tuwien.ac.at
Triggers
The pipeline will be executed only for pushes to Pull Requests and for pushes to master+dev.
If the pipeline fails and you think it is not the fault of your code, you can re-execute the pipeline by typing jenkins build please as a comment.
In any case (for person in charge see "emergency dienst" above):
- If there is already an open issue about it, ping the person in charge daily in this issue by posting the link to the failed build with @mention.
- Otherwise, please create a issue with the failing build log and assign the person in charge.
For users with login credentials for Jenkins, you can manually execute the pipeline for a branch or merge request via the Jenkins UI. Please ask if you want/need login data.
Succeeding Pushes
If you push to branches:
- Only the newest commit will be built. It does not matter if commits in between would pass.
- Builds of older pushes are aborted.
- Also
jenkins build pleasewill abort previous builds and start the build again. - Jenkins writes comments if MR pipelines were successful / failed.
- The latest MR build job will stay deployed on (https://mr.permaplant.net).
- The deployed branch and commit version can be seen on (https://mr.permaplant.net/version).
- The master and dev branch build when new commits get pushed to them.
Stages
Sanity stage
This stage performs rapid checks like pre-commit, migrations and schema building.
Local pre-commit currently does not perform the codespell hook, but it is performed in the pipeline. Cargo fmt, eslint and groovy linting is not performed through pre-commit.
Tests and Build
This is a parallel stage which fails fast (exits if one stage fails) or times out after 2 hours.
It can be subdivided in following categories:
Multiple Parallel Cargo Stages
Standard cargo build, clippy, doc and test is performed here.
One Sequential Frontend Stage
Frontend is built, tested, linted, format checked and additionally package.json version is verified to be up to date. Storybook and typedocs are also generated here.
One Sequential Mdbook Stage
Mdbook is built, tested and links are checked.
Deploy MR
Every merge request will be deployed on a publicly available instance on mr.permaplant.net. Jenkins will acquires a lock before deploying to mr.permaplant.net and release it after finishing the E2E stage. This lock prevents other jobs to overwrite the deployment while we are performing E2E tests.
Since there is only one agent for MRs available, the last built MR wins.
E2E Tests
E2E tests are run on mr.permaplant.net. When a test times out, it is retried up to two times with a five second delay between retries.
Test reports and results can be found in the jobs artifacts.
Failed tests will generate videos and/or screenshots inside e2e/test-results/ in the jobs artifacts, depending on what failed.
The videos have to be downloaded to be viewed.
There is always a html report inside e2e/test-reports/ in the jobs artifacts and a cucumber report on a separate page.
Deploy Dev
The dev branch will be automatically deployed to dev.permaplant.net.
Deploy master
The master branch will be automatically deployed to master.permaplant.net.
Deploy Prod
There is a separate Jenkinsfile (/ci/Jenkinsfile.release) for this pipeline, which is only manually executable through Jenkins, it:
- uses the
masterbranch (our release branch), - runs only build and deploying stages (currently no testing), and
- deploys to www.permaplant.net.
See /.gitlab/issue_templates/Release.md for additional manual steps during the release.
Workspace Cleanup
The Jenkins Workspace Cleanup Plugin is available to help manage disk space by automatically cleaning build workspaces. This prevents workspace accumulation that can consume significant disk space on CI/CD servers.
Contributing to PermaplanT
Scope: These documents in this folder provide guidance for contributing to the PermaplanT initiative on GitLab.
Getting Started
Before you create any Merge-Request (MR) or issue, please make sure you read this document and started with your onboarding issue. Report all problems you found during getting started, as it is essential that entry barriers get reduced.
Goals
The goal of any MR must be improving PermaplanT. Tests and documentation should not regress, every MR should improve every aspect. Hence it is essential, to keep the scope of an MR as minimal as possible.
Underlying Issues
For any non-trivial work, i.e., not only trivial fixes/updates in documentation or tests, there should be an underlying issue. You can create such issues yourself. Before you work on it, make sure the issue is:
- clear enough described,
- assigned to you
- "In Progress" in the project and
- in the current iteration.
Follow-up Issues
If it becomes clear there is more to be done, create follow-up issues. Follow-up issues should not be about tests and documentation. They should be about additional related features to fulfill user expectations and use cases better.
Creating an Issue
For detailed guidance on creating issues, see the Issue Creation Workflow.
Additional notes:
-
Select the estimated Time according to the following:
Rough effort* Example ~ 1h Adjust spacing/variable ~ 3h ~ 1d = 8h ~ 2d = 16h ~ 1w = 40h Develop a new feature * The estimated effort indicates the approximate amount of work required, not a fixed deadline for completion.
If the estimated time is ~1w, consider splitting the issue up.
-
If another issue blocks the current issue, tag the issue as "status::blocked" and add the blocking issue in "linked items" -> "is blocked by".
Reporting a bug
If you got stuck, find a bug in the code or a mistake in the documentation, you can help us by submitting an issue to our issue tracker.
Follow the Issue Creation Workflow and use the Bug template, which will guide you through the process.
Pre-requisites
Development
The project uses pre-commit hooks to ensure a consistent style.
- Install pre-commit via
pipor the package manager of your choice. - If you had husky installed before make sure to remove preexisting hooks.
git config --unset core.hooksPath - Run
pre-commit install --install-hooks -t pre-push.
Furthermore, to increase code quality please use following code plugins:
Creating and Reviewing Merge Requests
For detailed guidance on the MR process, see the Review Workflow.
Before creating MRs
- Make sure to review about three times more MRs than you create MRs.
- Make sure an issue exists, is assigned to you and is in the iteration.
- If requested, and in any case before you start making fundamental changes, create a decision before creating a MR.
When Creating MRs
- Make sure to use the template "Merge Requests" (
.gitlab/merge_request_templates/Merge Request.md) - Make sure to check tasks and to fill out what reviewers should check
- Keep "Delete source branch when merge request is accepted." ticked
- If it is not ready to be looked at yet, start with a draft to avoid unnecessary reviews.
- Make sure that the MR is minimal and only contains changes as needed to fix the issue. To some extent other changes are okay, like fixing unrelated typos. But for introducing anything new different issues and MRs should be used.
- Branch name should be
<your identifier>/<issue-number>/<given-branch-name>where- "your identifier" refers to any unique name that you consistently use throughout all your issues, such as your first name, username, or nickname
- the issue number helps identify the issue
- the given branch name should describe the changes concisely,
e.g. a branch name could be
markus/1287/fix-documentation.
- (optional) write in the MR or issue what was done or where you are stuck after changes were pushed (maybe with SHA to refer to code)
For more information how to do it read here.
Getting MRs Merged
Once you finished a MR (you do not plan to push any further commits):
- please make sure you fulfilled all basics of MRs (see template)
- please request reviews from 2-5 people, e.g. your buddy and success partner (but NOT the product manager yet)
- set the issue to status::in review
- set the MR as MRs::please review
Once the MR:
- got 2+ approvals (your own approval as author doesn't count)
- CI passes
- etc.
Then:
- set the MR to MRs::please merge and
- request review from the product manager
Please never merge your MRs yourself. Exception: Fixing broken CI.
You are generally allowed to push commits to other MRs, especially if this fixes the CI etc. Suggestions are the preferred way during reviews, as they are very clear and easier to apply.
Resolving Merge Conflicts
If there are no merge conflicts, even if the source branch is not up to date with the target branch, no action is required.
If a merge conflict occurs, you may choose one of the following approaches:
- Rebase the source branch onto the target branch and resolve the conflicts (preferred)
- If rebasing causes excessive conflicts (e.g. conflicts need to be resolved for every commit), it is acceptable to merge the target branch into the source branch instead.
Choose the approach that results in a clean history and is the most understandable for you.
Commit Messages
Commit messages should fulfill:
- The first line in commit messages should be short.
- From the third line you can have more elaborate descriptions of the changes.
- Please refer to #issues/!MRs/@mention as useful, including closing your issues.
Documentation
We have following pieces of documentation:
- General information should be in the mdbook.
- For the REST API we use utopia/swagger (in the backend).
- For the backend we use
cargo doc. - For the frontend we use storybook.
Sub-Projects
You can find more info on the development process here:
Iteration
For detailed information about iteration planning, see the Iteration Planning Workflow.
We have weekly iterations starting with a meeting on Monday at 9:00. To prepare for the next iteration, everything related to the iteration planning, should be done by Thursday 23:59:
- moving issues you are currently working on to "status::in-progress" and in review to "in:review"
- making sure all issues you are working on are in the iteration
- read through issues in "status::issue-review" and ask questions, if the issue is not clear
- If issue is understood: set the issue to "status::issue-confirmed"
- create issues
Late Sunday or Monday morning are the worst times for actions related to iteration planning. Make sure to:
- Write in advance to @markus.raab and @e12313407 if you cannot come.
- Do all the "Tasks for Everyone", including:
- review at least 2+2*X (X = number of created MRs), including meeting MR
- fix own MRs to get it ready to merge
- finish your assigned tasks of the iteration
- Schedule your working time in PermaplanTWork calendar.
- Create a new Event for each timeslot you plan to work and name it "{Name} (available)" example: "Liza (available)".
Milestone
We want to have an approximate release date set, which we will set as milestones. The goal is after every month to release a new version so that users regularly benefit from latest bug fixes and new features.
Retrospective
After every milestone reached we want to hold a retrospective in the weekly meeting to reflect upon the teamwork, the processes/tools used, etc. It serves to see what can be improved and to talk about negative and positive influences.
Time planning
To help collaboration between developers, before Thursday 23:59 you write in the PermaplanTWork Calendar when you are available. Simply add an entry called "{Name} (available)" when you are available/when you plan to work. This should help with planning the next iterations as well as help with collaborating with each other.
Adding Steps to the Guided Tour
Global Guided Tour Step IDs
The IDs of the guided tour steps live in frontend/src/features/map_planning/utils/GuidedTourStepIds.ts.
If you want to add a new step to the tour first add the ID of your new step to this file.
The new ID can be any string but should describe what the step with this ID does.
The new ID should follow the style of the IDs that are already present.
Example:
If you wanted to add a step for selecting the measuring tool the step ID could be measuringToolSelect.
Important:
When using the ID of any step for any action in the guided tour instead of typing it out always use the imported ID from GuidedTourStepIds.ts!
New Step Basics
The actual steps of the guided tour are defined in frontend/src/features/map_planning/utils/GuidedTour.ts.
export const guidedTourSteps returns an array of ShepherdOptionsWithType objects which are transformed to Step objects during runtime.
This array determines what steps are contained in the guided tour and the order in which they appear.
To change the tour you have to edit what is included in the steps array of guidedTourSteps.
What the title and the text of a new step are should be defined in our i18 config in German and in English.
Adding a Simple Step
After adding ID, title and text to the correct files a simple new step could look like this:
{
id: GuidedTourStepIds.MeasuringToolSelect,
title: t('guidedTour:mapEditor.measuring_tool_select_title'),
text: t('guidedTour:mapEditor.measuring_tool_select_text'),
buttons: getStandardButtons(GuidedTourStepIds.MeasuringToolSelect),
attachTo: {
element: '[data-tourid="toolbox"]',
on: 'right',
},
}
When this new step is displayed depends on its position in the steps array (the top step in the array is shown first).
Adding buttons to the step using getStandardButtons(GuidedTourStepIds.MeasuringToolSelect) will add a back and a next button.
The back button goes back to the step before the one you just added.
The next button goes to the step after the one you just added and tells the backend that the step was completed so it will not be shown the next time the guided tour appears.
You don't have to use the standard buttons for your step though.
Many actions can be bound to a button, like skipping ahead to another step using its ID or making a backend call.
The action of a StepOptionsButton which is the interface used for buttons in steps is defined like this:
/**
* A function executed when the button is clicked on
* It is automatically bound to the `tour` the step is associated with, so things like `this.next` will
* work inside the action.
* You can use action to skip steps or navigate to specific steps, with something like:
* ```js
* action() {
* return this.show('some_step_name');
* }
* ```
*/
action?: ((this: Tour) => void);
This is an example implementation of a simple skip button that doesn't persist step completion to the backend.
const getSkipButton = (): ShepherdButtonWithType[] => [
{
secondary: true,
text: t('guidedTour:skip'),
type: 'next',
},
];
This can be used to add a skip button to any new step which does the same thing as the next button except it doesn't notify the backend that the step was completed (the step will be shown again the next time the guided tour appears).
Adding an Action Step
Besides simple steps that are completed by simply pressing the next button there are also steps where the user has to complete an action to proceed.
For example, a step where the user has to click the plant search button:
{
id: GuidedTourStepIds.PlantsLayerFirstPlantingSearch,
title: `${t('guidedTour:mapEditor.plants_layer_title')} (4/16)`,
text: actionText(
t('guidedTour:mapEditor.plants_layer_first_planting_search_action'),
t('guidedTour:mapEditor.plants_layer_first_planting_search_text'),
),
buttons: [
{
secondary: true,
text: t('guidedTour:back'),
type: 'back',
},
],
attachTo: {
element: '[data-tourid="search_button"]',
on: 'left',
},
when: makeAdvanceOnCompleteWhen({
selector: '[data-tourid="search_button"]',
}),
classes: 'action-step',
canClickTarget: true,
},
As you can see for this type of step the back button was added manually and to advance
when: makeAdvanceOnCompleteWhen({
selector: '[data-tourid="search_button"]',
}),
is added to the step.
In the definition of makeAdvanceOnCompleteWhen() you can see that when only the selector is provided all the user has to do is click on the element with this selector to proceed.
When using makeAdvanceOnCompleteWhen() step completion is also persisted to the backend.
You can also use more involved events in makeAdvanceOnCompleteWhen() as can be seen in this step:
{
id: GuidedTourStepIds.PlantLayerChangeDate,
title: `${t('guidedTour:mapEditor.plants_layer_title')} (7/16)`,
text: actionText(
t('guidedTour:mapEditor.plants_layer_change_date_action'),
t('guidedTour:mapEditor.plants_layer_change_date_text'),
),
attachTo: {
element: '[data-tourid="timeline"]',
on: 'top',
},
when: makeAdvanceOnCompleteWhen({
selector: '[data-tourid="timeline"]',
event: 'dateChanged',
}),
classes: 'action-step',
canClickTarget: true,
},
Here makeAdvanceOnCompleteWhen() is provided with the selector parameter of [data-tourid="timeline"] as well as the event parameter of dateChanged.
And in frontend/src/features/map_planning/components/MapOverlay.tsx this event is triggered when changing the date on the timeline.
const triggerDateChangedInGuidedTour = () => {
const changeDateEvent = new Event('dateChanged');
document.getElementById('timeline')?.dispatchEvent(changeDateEvent);
};
const handleTimeLineDateChanged = useCallback(
(date: string) => {
// skip if date did not actually change
if (date === timelineDate) return;
triggerDateChangedInGuidedTour();
onTimeLineStateChanged(TimelineState.idle);
updateTimelineDate(date);
},
[onTimeLineStateChanged, timelineDate, updateTimelineDate],
);
If you add events like this the guided tour can be progressed on basically anything.
Since makeAdvanceOnCompleteWhen() is utilized this step completion is also persisted in the database.
Tour continuity
Sometimes it is needed to not persist step completion immediately when a user completes a step.
For example:
If we marked every step of the planting process as completed the moment the user finishes them the tour might become nonsensical if the user starts the tour again on a different map the next time they return.
Assume:
- The user completes a step where they have to create a planting and they then close their browser.
- Assume we mark that step as completed when the planting is placed.
- The user returns but decides to create or open a different map where the planting doesn't exist.
- Because the planting step is marked as completed they get shown the step where they have to "undo" the planting.
- They cannot progress the tour because there is no planting action to undo.
Apart from this problem sometimes it makes sense for steps to be done in the same session to best teach the user how to use the functionality they showcase.
Think about when to persist step completion before adding a new step to the tour.
Simple practical example:
Say you want to add 2 new steps to the tour, startMeasuring and stopMeasuring.
These new steps should be completed together, because the second step depends on the first one.
A user cannot stop measuring without starting to measure.
To ensure the steps get completed together you could add them like this.
{
id: GuidedTourStepIds.startMeasuring,
title: `${t('guidedTour:mapEditor.start_measuring_title')}`,
text: actionText(
t('guidedTour:mapEditor.start_measuring_action'),
t('guidedTour:mapEditor.start_measuring_text'),
),
attachTo: {
element: '[data-tourid="toolbox"]',
on: 'right',
},
when: makeAdvanceOnCompleteWhen({
selector: '[data-tourid="measuring_tool"]',
persist: false,
}),
classes: 'action-step',
canClickTarget: true,
},
{
id: GuidedTourStepIds.stopMeasuring,
title: t('guidedTour:mapEditor.stop_measuring_title'),
text: t('guidedTour:mapEditor.stop_measuring_text'),
attachTo: {
element: '[data-tourid="toolbox"]',
on: 'right',
},
when: makeAdvanceOnCompleteWhen({
selector: '[data-tourid="measuring_tool"]',
stepKeys: [GuidedTourStepIds.startMeasuring, GuidedTourStepIds.stopMeasuring],
}),
classes: 'action-step',
canClickTarget: true,
},
If you do it like this the first step does not persist anything because persist: false is set and the second step marks both steps as completed once the user completes it.
The second step persists both because stepKeys: [GuidedTourStepIds.startMeasuring, GuidedTourStepIds.stopMeasuring] is set.
It works like this because when persist is set to true (it is by default, if you don't pass persist: false) the function makeAdvanceOnCompleteWhen(...) we are using takes the stepKeys it is given (stepKeys: [GuidedTourStepIds.startMeasuring, GuidedTourStepIds.stopMeasuring]) and makes a backend call to persist their completion before calling tour.next().
If persist: false is passed no backend call is made as you can see in the code below:
/\*\*
- Returns the "when:" that specifies when to advance from a step (e.g. click on a button, select an item, etc.).
-
- @param selector: the element on which the event should be listened to (if not found, it will default to the step's target element)
- @param event: the event that has to happen on the specified element in order to proceed (default is click event)
- @param stepKeys: the keys of the steps to be marked as complete when the event happens (default is the current step)
- @param persist: whether to persist the completion of the step(s) when the event happens (default is true, if false the step(s) will not be marked as complete but the tour will still advance)
\*/
export function makeAdvanceOnCompleteWhen(opts: {
selector: string;
event?: string; // default: 'click'
stepKeys?: GuidedTourStepId[]; // default: [current step]
persist?: boolean; // default: true
}) {
const { selector, event = 'click', stepKeys, persist = true } = opts;
return {
show: function (this: Step) {
const tour = this.getTour();
const target = document.querySelector(selector) ?? this.getTarget();
if (!target) return;
const handler: EventListener = async () => {
try {
if (persist) {
await completeGuidedTourSteps(stepKeys ?? ([this.id] as GuidedTourStepId[]));
}
} finally {
tour.next();
}
};
stepHandlers.set(this, handler);
target.addEventListener(event, handler, { once: true });
},
hide: function (this: Step) {
const target = document.querySelector(selector) ?? this.getTarget();
const handler = stepHandlers.get(this);
if (target && handler) target.removeEventListener(event, handler);
stepHandlers.delete(this);
},
} as const;
}
Contributing to Backend
Migrations
Create new migrations
You can generate new migrations with the diesel cli:
diesel migration generate migration_name
This will create two empty sql files that look something like this:
- migrations/20160815133237_migration_name/up.sql
- migrations/20160815133237_migration_name/down.sql
up.sql applies the migration and down.sql reverts the migration.
Now we have to write the migrations in the respective up.sql and down.sql files.
Examples:
-- up.sql
CREATE TABLE seeds (
id SERIAL PRIMARY KEY,
);
-- down.sql
DROP TABLE seeds;
Apply migrations
diesel migration run
Redo migrations
This is especially useful for incremental improvements to the database. For example if you need to change one field in one of your tables, you can change it and redo the migration.
# Redo latest migration
diesel migration redo
# Or redo all migration
diesel migration redo --all
Contributing to Frontend
Project Structure
The majority of the code resides in src.
src
|
+-- components # shared components used across the entire application
|
+-- config # all the global configuration, env variables etc. get exported from here and used in the app
|
+-- features # feature based modules
|
+-- hooks # shared hooks used across the entire application
|
+-- routes # routes configuration
|
+-- stores # global state stores
|
+-- test # test utilities and mock server
|
+-- types # base types used across the application
|
+-- utils # shared utility functions
Ultimately we develop a new feature in the features folder that contains domain specific code for a given feature.
A feature could have the following structure:
src/features/new-feature
|
+-- api # exported API request declarations and api hooks related to a specific feature
|
+-- components # components scoped to a specific feature
|
+-- hooks # hooks scoped to a specific feature
|
+-- routes # route components for a specific feature pages
|
+-- stores # state stores for a specific feature
|
+-- types # typescript types for TS specific feature domain
|
+-- utils # utility functions for a specific feature
|
+-- index.ts # entry point for the feature, it should serve as the public API of the given feature and exports everything that should be used outside the feature
The index.ts file of each feature should serve as its public API, and all elements within that feature should be exported from it. When importing elements from other features, use the feature's root directory, like this:
import { MyComponent } from "@/features/my-feature";
Avoid importing elements directly from subdirectories within a feature, like this:
import { MyComponent } from "@/features/my-feature/components/MyComponent";
Think of a feature as a library or a module that is self-contained but can expose different parts to other features via its entry point.
Component Design
Purely presentational components should be side effect free. That means they should not make any network requests or communicate with external systems.
Take of example a button component that is used as the login button.
- It should not make the login request itself.
It should rather have an
onClickprop that is passed to it. - Neither should the login button make a request to see if the user is already logged in. It should be hidden by one of it's ancestor components.
That has the added benefit, that presentational components can be easily integrated into Storybook.
Documentation
We use Storybook to document shared components.
Story files are named *.stories.tsx and should be located in the same folder as the component they are documenting.
For an example please take a look in the src/components folder.
For other API documentation like Hooks and utility functions, we use TypeDoc.
Run npm run doc to generate the TypeDoc documentation under src/generated/docs.
The generated documentation is automatically integrated into Storybook under the menu DOCS.
There is also the possibility to display additional documentation inside the DOCS menu in storybook.
Such additional documentation files should be created in the src/docs directory for Storybook to recognize them.
Furthermore, an additional documentation file must be a .mdx file and it has to export a header like this.
import { Meta } from "@storybook/addon-docs";
<Meta
title="docs/<name_of_documentation_file>"
parameters={{
viewMode: "docs",
previewTabs: {
canvas: { hidden: true },
},
}}
/>;
Storybook will display an error if the .mdx file does not have valid MDX2 syntax.
Minimum requirements for every component:
- one story file, probably with several exports for different states, see
SimpleButton.stories.tsx - Document all props
Bootstrapping (Order of Execution)
The entry point for the frontend is src/main.tsx.
From there three modules get imported src/Root.tsx, src/App.tsx and src/config/index.ts.
All top level statements will also be executed during this module loading.
This is true for the following in this order:
- Environment configuration
src/config/env.ts - i18n configuration
src/config/i18n/index.ts - axios configuration
src/config/index.ts
Map is nested the following way:
MapWrappermost outer, for all layersMapcontains toolbar etc.BaseStageis the stage of Konva, i.e., the first Konva component and all other components are children
Helpful Links
React:
Frontend Architecture:
Zustand (Global State Management):
React Query (Server State Management):
Storybook:
What do we need to know?
HTML + CSS + TS
HTML Tutorial: https://www.w3schools.com/html/default.asp CSS Tutorial: https://www.w3schools.com/css/ TS Tutorial: https://www.w3schools.com/typescript/
HTML Checklist
- I can structure a page using semantic elements (header, nav, main, section, article, footer)
-
I can explain difference between paragraph
<p>and span<span> - I can name most used input types and understand difference between them
-
I can create links with
<a href="..."> - I can add images with meaningful alt text and use width/height
-
I can use numbered and unnumbered lists correctly (
<ul>/<ol>/<li>) - I can create keyboard-friendly UI by choosing the right element (button vs div) and understanding tab order/focus
CSS Checklist
- I can define a Flexbox container and define its Direction (row/column, row/column-reverse)
- I can explain FlexContainer properties: justify-content and align-items (flex-start, flex-end, start, end, space-around, space-between, space-evenly, center)
- I can explain FlexItem CSS properties: flex-grow, flex-shrink, align-self
- I can explain different CSS position values and know which one is the default position (static, fixed, relative, absolute, sticky)
TS Checklist
- I can name TS most popular primitive types (Boolean, Number, String)
- I can define a variable or constant with implicit or explicit type definition
- I can explain the difference between == and ===
- I can explain and define Type Aliases
- I can explain and define Enums (Number and String)
- I can create Interfaces and Classes and extend/inherit them
- I can explain keywords/types: any, unknown, object, value, null, undefined
- I can write conditional expression or nullish coalescence
- I can write Arrow function (const notation) and type its arguments or return value
- I can derive the return type of a function even if it is not explicitly provided (ReturnType<>)
- I can create Union types (with |) and extend type aliases (with &)
- I can use TS Utility types: Partial, Required, Record, Omit, Pick, Exclude, ReturnType, Parameters
-
I can use TS Spread operator (
[...array]or{...object}or{ property1, property2 } = object) - I can state TS "falsy" values (that evaluate to false): (false, 0, NaN, "", null, undefined)
React Basics
React documentation: https://react.dev/learn
React Checklist
- I can write a Functional React Component with props and children in TS in using Arrow Function (const) notation
- I can use props, children or variables to interpolate JSX
- I can render a list of items (from TS array) without errors in console (key prop)
- I can explain what causes React components to re-render (props, local state, context, global state, parent rendered)
-
I can explain React
useState()hook -
I can explain React
useEffect()hook without dependencies, with dependencies and with [] as dependencies -
I can explain React
useCallback()hook and give an example for when it is useful -
I can explain React
useMemo()hook and give an example for when it is useful -
I can explain React
useRef()hook and give an example for when it is useful -
I can explain
React.memo()function (and how it is different fromuseMemo)
React Advanced Reading
- Rendering in details (https://www.zhenghao.io/posts/react-rerender)
- Useful React utility types
Router + State Management
React Router Checklist
- I can define a Component such that it is rendered at exactly route '/maps'
- I can define a Component such that it is rendered at exactly route '/maps/:id' and know how to get the id from URL
- I can define a Component such that it is rendered at route '/maps/anything-else'
- I can get current URL from inside the component
- I can get params of current URL from inside the component
- I can navigate to other components
State Management (Zustand) Checklist
- I can define a simple new global Store of desired shape and with needed actions using Zustand in our React app
- I can explain what shape my state will actually have
- I can see find my state with Redux Dev Tools
- I can define and export needed selectors for my store
- I can retrieve my store inside my component
- I can explain why Selectors are needed (instead of importing the whole Store object)
- I can explain Selectors best practices
- I can explain when my Store object will be created
- I can use onDemand Store Loading approach and can explain how it is different from normal way
Tanstack Query Checklist
- I have read Tanstack Query overview
-
I know the important defaults of
useQueryanduseMutationhooks - I can use Queries
- I can write Query Functions
- I can configure Query Options
- I can use Mutations
- I can use Query Invalidation
- I can do Invalidation from Mutations
Quizzes
5 min quizzes for self check:
- https://www.w3schools.com/quiztest/quiztest.asp?qtest=HTML
- https://www.w3schools.com/quiztest/quiztest.asp?qtest=CSS
- https://www.w3schools.com/quiztest/quiztest.asp?qtest=JS
- https://www.w3schools.com/quiztest/quiztest.php?qtest=TS
- https://www.w3schools.com/quiztest/quiztest.asp?qtest=REACT
GitLab CLI Configuration
Documentation
A CLI tool that allows interaction with GitLab via your terminal.
Installation
Install glab following the instructions in the official installation guide.
macOS Additional Requirements
On macOS, you also need to install GNU coreutils for the analytics scripts to work:
brew install coreutils
This is required because the analytics scripts (count-MR-approvals.sh and count-progress.sh) use GNU date syntax which is not available in BSD date (the default on macOS).
Setup Application on GitLab
-
Navigate to GitLab User Settings > Applications
-
Create a new application with these settings:
- Name:
glab - Redirect URI:
http://localhost:7171/auth/redirect - Confidential: Unchecked (application is not confidential)
- Scopes: Select the following scopes needed for authentication:
apiread_userwrite_repositoryopenidprofile
- Name:
-
After creating the application, copy the Application ID (Client ID) for the next step.
Configure CLI
- Set the client ID:
Replaceglab config set client_id <APPLICATION_ID> --host gitlab.tuwien.ac.at<APPLICATION_ID>with the Application ID from the previous step.
Authenticate
-
Start the authentication process:
glab auth login --hostname gitlab.tuwien.ac.at -
Follow the prompts:
- Sign-in method: Select
Web - Domain: Select
gitlab.tuwien.ac.at - Browser authorization: Complete the OAuth flow in your web browser
- Git protocol: Choose your preferred protocol (HTTPS or SSH)
- API protocol: Select HTTPS (recommended for security)
- Git authentication: Select
Yeswhen asked to authenticate Git with GitLab credentials
- Sign-in method: Select
Troubleshooting
If you encounter an "invalid_client" error, verify that:
- The Application ID is correct
- The application is configured as not confidential
- All required scopes are selected
- The redirect URI matches exactly:
http://localhost:7171/auth/redirect
Useful Commands
Some basic examples:
# list your open issues
glab issue list -a @me
# list your open MRs
glab mr list -a @me
# list MRs where a review was requested from me
glab mr list -r @me
# list MRs with the label "MRs::please review"
glab mr list -l "MRs::please review"
# checkout a MR by its number with git
glab mr checkout 1234
# open the current MR in your browser
glab mr view --web
Labels
⚠️ This file is auto-generated by tools/pm/generate-labels.sh - DO NOT EDIT DIRECTLY
To regenerate this file, run: ./tools/pm/generate-labels.sh
Purpose: Document our current GitLab labels. For how to actually use them, read the workflows.
Last updated: 13.12.2025
Scoped Labels
1.0::…
| Label | Intended use |
|---|---|
1.0::must_have | Must to be done before 1.0 |
1.0::out_of_scope | Not part of 1.0, should not be worked on before 1.0. |
1.0::should_have | Should have before 1.0. |
MR::…
| Label | Intended use |
|---|---|
MR::needs-update | An update due to a release or breaking change is needed; details are in the meeting or release notes. |
MR::please-merge | Label for Merge Requests. Indicates the MR is ready to be merged from the author's point of view. |
MR::please-review | Label for Merge Requests. Indicates that the MR is ready to be reviewed from the author's point of view. |
needed::…
| Label | Intended use |
|---|---|
needed::later | Issue was closed but might be reopened later. |
priority::…
| Label | Intended use |
|---|---|
priority::later | This issue has low priority and can be done at a later point in time, or if no other higher-priority tasks are available. |
priority::now | This issue needs to be taken care of now and should not be postponed. |
priority::release-critical | This issue is critical for the upcoming release and should be prioritized accordingly. |
scope::…
| Label | Intended use |
|---|---|
scope::auth | This issue is scoped to the authentication service. |
scope::backend | This issue is scoped to the backend code. |
scope::CI | This issue is scoped to the Continuous Integration / Pipeline. |
scope::e2e | This issue is scoped to the end-to-end testing. |
scope::frontend | This issue is scoped to the frontend code. |
scope::nextcloud | This issue is scoped to the Nextcloud configuration. |
scope::performance | This issue is scoped to performance improvements. |
scope::pm | This issue is scoped to the project management |
scope::scraper | This issue is scoped to the Scraper tool. |
scope::database | This issue is scoped to the database. |
status::…
| Label | Intended use |
|---|---|
status::backlog | This issue has been described and is ready to be worked on. |
status::blocked | This issue is currently blocked (by another issue or by some external factor) and work on it cannot continue until it's unblocked. (if the blocker is external, please add a comment to the issue explaining the situation) |
status::current-sprint | This issue is included in the scope of the current sprint and will be soon worked on. |
status::in-progress | This issue is currently being worked on. |
status::in-review | This issue has an associated MR and it is waiting for review. |
status::issue-confirmed | This issue has been approved by the assignee. |
status::issue-review | This issue should be reviewed by the assignee. |
status::refine | This issue still needs to be refined, and it is not ready to be worked on. |
target::…
| Label | Intended use |
|---|---|
target::dev | A MR of this issue should target dev. |
target::master | A MR of this issue should target master. |
type::…
| Label | Intended use |
|---|---|
type::bug | This issue describes a defect. |
type::enhancement | This issue regards adding some new functionality, like improving or expanding an existing feature, or implementing an entirely new feature. |
type::question | This issue is for decisions, workflow clarifications, or documentation-related questions. Also use when unsure if observed behavior is a bug or feature (triage will determine the correct type). |
type::refactor | This issue regards the refactoring of existing code, to make things simpler or remove duplicated code. The functionality of the affected features should not change through this issue. |
General Labels
| Label | Intended use |
|---|---|
decision | This issue/MR is a decision. |
documentation | This issue/MR improves the documentation. |
duplicate | If this issue is a duplicate (only on closed issues). |
estimation-needed | This issue needs time estimation before sprint planning. |
help-wanted | Meta tag that can be used on different object where the support of other team members is needed. |
triage-needed | This issue needs to be evaluated and categorized. |
usability | This issue affects the Usability of the application. |
wontfix | If this won't be done (only on closed issues). |
workflows | This issue relates to creating or improving workflows. |
Gem
"This gem allows to triage issues, merge requests, epics in an automated way with policies defined as YAML." https://gitlab.com/gitlab-org/ruby/gems/gitlab-triage
You can find the yaml in gitlab/.triage.yaml
Currently it's job is to:
- Move Issues on Issue Board
- Message reviewers if MR has been open for a week without review
- Tagging of issues when a template is used
Useful Command-line Tools
oh-my-zsh
Documentation
A framework for managing your zsh configuration. It includes many themes to customize your prompt and colors as well as plugins to improve shell auto-completion.
Starship
Documentation Starship is a highly customizable command prompt that can be integrated in any shell and be used to display information such as the current path or the git state such as the current branch or status (pull/push available, etc). It automatically detect files and displays information such as which node version that project/folder uses, etc.
zsh-autocomplete
Documentation zsh-autocomplete is a zsh plugin that can be used to complete recently used commands and show you a preview while typing.
zoxide
Documentation
zoxide is a smarter cd command. As per the documentation: "It remembers which directories you use most frequently, so you can "jump" to them in just a few keystrokes." There is a video showcase available in the documentation.
It can also be integrated with fzf to enable fuzzy finding with recent paths.
tldr
Documentation
Provides examples for cli commands.
bat
Documentation
A cat replacement with syntax highlighting and Git integration.
fzf
Documentation
A command-line fuzzy finder. For example it can be used to quickly search your local files or your bash history.
ripgrep
Documentation
A modern, much faster replacement for grep which can respect your gitignore file.
uv
Documentation
An extremely fast Python package and project manager. It can be used to install and run tools published as Python packages or run standalone scripts with inline dependencies.
Example:
# use csvcut to remove columns from a csv file
uvx --from=csvkit csvcut spatialRelation/companion.csv -c "Plant 1 (unique name)","Plant 2 (unique name)"
csvkit
Documentation
Contains many tools that make working with CSV files easier in the command line.
lazydocker
Documentation
A simple terminal UI for docker.
Regular Weekly Tasks for Weekly Meeting
Until Thursday 23:59:
- Write in advance if you cannot come or have suggestions for agenda etc.
If you cannot come, make sure to write at least one day before:
- when you will be active/healthy again, or
- when you will inform us about updates.
- Do all the tasks written as "Tasks for Everyone"
- Review at least 2+2*X (X = number of created MRs), i.e., at least 2, but ideally 3 times more.
- Confirm your issues by moving them from "status::issue-review" to "status::issue-confirmed" or
- ask any questions about them (preferred option, can also be combined with moving if clear enough).
- Move all issues from "status::current-sprint" to "status::in-review" for done issues or
- move issues to "status::in-progress" and write in them issues what is missing, blocking or why you maybe cannot fully complete them.
- Schedule your working time in PermaplanTWork calendar:
- Create a new Event for each timeslot you plan to work and name it "{Name} (available)", for example: "Liza (available)".
- Finally approve the meeting MR.
Before the meeting:
- Finish your assigned tasks of the iteration.
- Fix own MRs to get it ready to merge.
- Submit one page of text (Submission repo).
Database
Application Settings
The application settings of PermaplanT can be customized in the Database table application_settings.
Changing Heat Map Colors
There is no validation or fallback colors if there are no values for heatmap colors in the application_settings table.
There are 4 colors:
- heatmap_red
- heatmap_orange
- heatmap_green
- heatmap_black
The settings only allow colors to be defined in hex code (case-insensitive).
Example value for heatmap_red: d1433f
To see the current application settings, run:
SELECT * FROM application_settings
To change the colors in the application_settings table, run the following command; inserting the wanted color as value and the wanted color as key.
UPDATE application_settings SET value = '...' WHERE key = '...';
Cronjobs
Tasks that should run repeatedly can be defined in the backend. For further information see backend cronjobs.
Hierarchy
This document explains the hierarchy of the plant table. Please make sure that you already read the biology section of the glossary.
Introduction
The plant table contains entries of:
- concrete plants, or
- abstract plants (representants of ranks)
Concrete plants can be:
- dragged and dropped to the map and
- used as seed entry.
Abstract plants can be:
- used to inherit attributes.
A concrete plant can be one of the following ranks:
- on species level, or
- on variety level, or
- on cultivar level.
Furthermore, the following must be true:
- a genus is below a family,
- specie is below a genus,
- a variety is below specie,
- a cultivar is below to a specie or a variety
The diagram below shows the hierarchy of entities with height and width as an example of attribute classification.
classDiagram
class Family:::abstract {
+int height
+int width
}
class Genus:::abstract {
+int height
+int width
}
class Species {
+int height
+int width
}
class Variety {
+int height
+int width
}
class Cultivar {
+int height
+int width
}
Variety <|-- Cultivar
Species <|-- Cultivar
Species <|-- Variety
Genus <|-- Species
Family <|-- Genus
Each of these entities can have their own attributes. E.g., a variety below specie can have different height than the specie itself.
Unique Name
In the database we have a column unique_name.
The unique name is, either for abstract plants:
- single latin word to specify "family", which always ends on:
-aceae - single latin word to specify "genus"
Or is built up by several words (for concrete plants):
- single latin word to specify "genus"
- single latin word to specify "specie"
- optional single latin word to specify "variety"
- optional several words in single quotes to specify "cultivar", which starts with a capital letter
E.g. Brassica oleracea italica 'Ramoso calabrese'
Hybrid Names
Hybrid names are built up differently. Either two parent binomials, separated by an "x" or "×" or a given binomial, with or without an intercalated "×" (see Wikipedia). So the name does not necessarily say if a plant is a hybrid.
There is no special handling of hybrid names necessary, as the hybrid name is stored as the unique name in the database.
Displaying the Unique Name
The unique name of a plant should be displayed as follows:
- Latin name should be displayed in italics.
- The cultivar name should be in regular font, enclosed in single quotes (as stored in the database).
For example: Brassica oleracea italica 'Ramoso calabrese'
The unique name alone usually is not displayed.
Displaying the Complete Name
The complete name of a plant should be displayed as follows:
- If there is a common name, the common name appears first and should start with a capital letter (e.g., "tomato" becomes "Tomato").
- If it is a plant name from the seed database, the name continues with hyphen
-and the additional name. - This is followed by the unique name in brackets, unique name as described above in Unique Name.
The general format is:
Common name - additional name (unique name)
In cases where the common name is not available in the current language, it should be displayed as:
unique name - additional name
The cultivar is a part of the unique name.
For example (assuming Brassica oleracea italica doesn't have a common name):
- Italian broccoli - violett (Brassica oleracea italica 'Ramoso calabrese')
- Italian broccoli - violett (Brassica oleracea italica)
- Italian broccoli (Brassica oleracea italica)
- Brassica oleracea italica 'Ramoso calabrese' - violett
- Brassica oleracea italica 'Ramoso calabrese'
- Brassica oleracea italica - violett
- Brassica oleracea italica
Displaying the Short Name
The short name should be displayed as follows:
- Common name or, if common name is not available, the unique name as described above in Unique Name.
- If additional name is available,
-and the additional name should be appended.
For example (assuming Abies mariesii and Brassica oleracea italica don't have common names):
- Tomato - Gelbe Birne
- Abies mariesii
- Brassica oleracea italica 'Ramoso calabrese' - violett
Displaying the Group Name
The group name should be displayed as follows:
- Same format (short name/complete name) as a single plant.
- However, parts of the name should be omitted based on the hierarchy laid out in Introductions if that part or a part above it is not common among all grouped plants.
For example:
- two fully matching plants → full unique name and additional name is displayed
- two mostly matching plants (mismatched cultivar) → only cultivar is omitted
- two barely matching plants (matching family) → only family is displayed
- two distinct plants → no parts of the unique name or additional name are displayed
Usage of Plant Names
- The short name is for overviews, e.g., when you see all labels in the map editor at once (plant labels).
- The complete name should always be given if the user wants to know precisely which plant she is dealing with, e.g.:
- when the mouse is hovering over a plant in the plant layer,
- in search results or
- in plant details (left bottom toolbar).
- The additional name must always be added if a plant is connected with a seed.
- The group name should always be given if information about multiple plants is grouped together, like e.g., the plant details.
Rules
We know about names (abstract and concrete, including hybrid):
- If it contains more than one word, it is a concrete plant.
- If it contains only one word, it is an abstract plant (family or genus).
- All entries with two words are specie (de: Art),
- All entries with three or more words are either:
- variety (de: Varietät) if all is spelled italic, or
- cultivar (de: Sorte) if the last part of the name (can be more than one word!) is not latin, not italic, is in 'single quotes'
- All entries with a single x between the words are hybrid. We treat them like specie.
Inserting Relations
When inserting, family, genus, specie and variety must be treated in a way that they also include all entries below in the hierarchy. Important is that the processing is from most generic to most specific, so that specific entries overwrite generic entries.
Attributes
Columns are documented in their respective structs.
We prefer strongly typed data, e.g.:
- enums
- array of enums
- numbers
Columns that contain text should be suffixed with:
_enfor English text_defor German text
As we often copy data from other sources, we maintain the following columns for external references:
external_source: an array from enum where the first entry is the "main source" the other columns refer to:external_id: an identifier of that sourceexternal_url: the URL from where the data was taken
Plants are additionally classified as:
is_concrete_plant(is a concrete plant as opposite to an abstract plant)is_tree(as search help within the tree layer)
from Permapeople
The following columns are removed:
environment(and its references)typeandis_variety, as variety is now determined from the name (rankto be calculated from name, see above)wildflowerplants_of_the_world_online_name_synonym(redundant to link)dutch_name,danish_name,french_namewhen_to_harvestpropagation_cuttingsalternate_scientific_namehortipediainvasive_inyears_to_bearuseful_tropical_plantsthinninglight_tolerancechill_hours,beef_tomato,invasivefolder_name(at least in DB)native_climate_zonesadapted_climate_zonespropagation_direct_sowing
Other minor problems:
- fix Labiatae to be lamiaceae (family rank)
- Remove all "var." from the database entries (staying with the three words).
from Reinsaat
Unique name:
- use
Scientific name subheadingtogether withname(as cultivar, see above) for ourunique_name(Cucurbita ssp.fromScientific name kulturhinweiseshouldn't exist) - Remove all occurrences of
L.,MIll., andvar.. - Entries on Reinsaat that are spelled like "Brassica oleracea convar. botrytis var. italica" https://www.reinsaat.at/shop/EN/brassica/broccoli/limba/ exist in our database as "Brassica oleracea italica".
Add the Reinsaat entry to our database in a different row with the following nomenclature:
Brassica oleracea italica 'Limba', with
Brassica oleracea italicaas parent, by following rules:- Remove the term "convar." and its following word.
- Remove the "ssp." and its following word.
- The
namemaps to cultivar (de: Sorte), i.e., a rank below variety and is expressed in non-latin words, such as 'Limba'. In our database, we want them:- back together in one name (the unique name, as described above) e.g., Brassica oleracea italica 'Limba' or Malus domestica 'Gala'.
- with a link to the variety, if present, otherwise species
Individual problems:
- Daucus carota L. ssp. sativus --> Daucus carota sativus
- Petroselinum crispum ssp. tuberosum --> Petroselinum crispum tuberosum
- Papaver somnif. var. paeonifl. --> Papaver somniferum paeoniflorum
- Alcea rosea fl. pl. --> Alcea rosea flore pleno
- Campanula lat. macr. --> Campanula latifolia macrantha
- Malva sylvestris ssp. maur. --> Malva sylvestris mauritiana
- Sonnenblume, Velvet Queen:
Noneshould beHelianthus annuus
Further Readings
- The Rationale is explained in this decision.
Importing Database dumps
This guide will elaborate on how to import a database dump into the local development environment. The example commands will assume that you are using the dev-container.
Acquiring a database dump
Before importing, you must first have a dump file to load.
Downloading the example maps from the dedicated 'maps' repository
Before you begin, you must make sure you have git-lfs installed.
To install it in a debian or debian derivative environment, use the following command:
sudo apt-get install git-lfs
Next, you need to clone the repository and fetch the lfs data:
git clone git@gitlab.tuwien.ac.at:permaplant/maps.git
git lfs fetch --all
Now you can download the database dump:
git lfs pull --include "deployed_dump.psql"
Wiping the local database
In the following parts, you will need the database IP/DNS Name and Port for the database that you are trying to load the dump onto.
In the dev-container, this should just be db and 5432. For more information on what to use in your environment,
consult the documentation
To correctly wipe the permaplant database, you have two options:
- Using the
make wipe-databasecommand - Manually using the following commands:
psql -h db -p 5432 -U permaplant postgres -c 'DROP DATABASE permaplant'
psql -h db -p 5432 -U permaplant postgres -c 'CREATE DATABASE permaplant'
Loading the dump file
To load the database dump file, use the following command:
psql -h db -p 5432 -U permaplant permaplant < "<path to dump file>"
Using the helper script
The script located in tools/import_db_dump.sh can be used to wipe the database and import a dump. This is useful, if you need to repeat these steps often.
It has 3 Parameters: database IP, database Port, path to the dump file. Here is an example of how to use the script from the root directory:
./tools/import_db_dump.sh db 5432 'path/to/my/dump.sql'
Recovering Deleted Maps or Layers
All commands in this document have to be run in the Database shell.
There is a cronjob in the backend that permanently deletes maps and layers that have been marked for deletion 60 days in the past. We communicated this time-frame as 30 days to end users, so that admins also can enjoy life and don't need to do everything yesterday. If maps are still in the database, they can still be recovered.
To check if the map is still in the database, you can search for the map name in the database:
SELECT name FROM maps WHERE name ILIKE '%<INSERT_NAME>%';
Note: the name has to be entered around two % characters.
Finding out id's of maps and layers
Search soft deleted maps
SELECT name, id FROM maps WHERE deletion_date IS NOT NULL;
Search soft deleted maps by name
SELECT name, id FROM maps WHERE name ILIKE '%<INSERT_NAME>%' AND deletion_date IS NOT NULL;
Note: the name has to be entered around two % characters.
The found id is defined here as <FOUND_ID>.
Search soft deleted layers by map_id
After getting the id, deleted layers can also be found by running the following command:
SELECT * FROM layers WHERE map_id=<FOUND_ID> AND marked_deleted IS NOT NULL;
Search soft deleted layers
SELECT * FROM layers WHERE marked_deleted IS NOT NULL;
Recovering Deleted Maps
START TRANSACTION;
UPDATE maps SET deletion_date=NULL WHERE id=<FOUND_ID>;
-- Assert that only the one map was affected:
SELECT * FROM maps WHERE deletion_date IS NULL AND id=<FOUND_ID>;
-- Remove " __DELETED" and timestamp from map name:
UPDATE maps SET name = TRIM(TRAILING FROM SPLIT_PART(name, ' __DELETED', 1)) WHERE id=<FOUND_ID>;
COMMIT;
Recovering Deleted Layers
START TRANSACTION;
UPDATE layers SET marked_deleted=NULL WHERE id=<FOUND_ID>;
-- Assert that only the one layer was affected:
SELECT * FROM layers WHERE id=<FOUND_ID>;
COMMIT;
Schemata
Postgres supports enums so it is easy to define a static set of values.
Right now, Mermaid doesn't support white spaces in names, so a _ character denotes white spaces in enums.
ER diagram
Not all columns are included in the ER diagram. For a complete documentation of all columns, see table descriptions.
erDiagram
seeds {
INT id PK
INT plant_id FK "NOT NULL"
TEXT name "NOT NULL"
TEXT variety
INT created_by "NOT NULL"
}
plants {
INT id PK
TEXT unique_name "NOT NULL"
TEXT[] common_name_en
TEXT[] common_name_de
TEXT family
}
spatial_relations {
INT plant1 PK
INT plant2 PK
SPATIAL_RELATION_TYPE relation "NOT NULL"
}
temporal_relation {
INT plant_earlier PK
INT plant_later PK
INT min_duration
INT max_duration
TEMPORAL_RELATION_EFFECT effect
}
maps {
INT id PK
TEXT name "NOT NULL"
UUID created_by "NOT NULL"
GEOMETRY geometry "NOT NULL"
}
layers {
UUID id PK
INT map_id FK "NOT NULL"
LAYER_TYPE type "NOT NULL"
TEXT name "NOT NULL"
}
plantings {
UUID id PK
UUID layer_id FK "NOT NULL"
INT plant_id FK "NOT NULL"
INT x "NOT NULL"
INT y "NOT NULL"
}
drawings {
UUID id PK
UUID layer_id FK "NOT NULL"
DRAWING_SHAPE_TYPE shape_type "NOT NULL"
INT x "NOT NULL"
INT y "NOT NULL"
}
users {
UUID id PK
TEXT country "NOT NULL"
EXPERIENCE experience
MEMBERSHIP membership
}
guided_tours {
UUID user_id PK
BOOLEAN editor_tour_completed "NOT NULL"
}
blossoms {
TEXT title PK
TEXT description
}
gained_blossoms {
UUID user_id PK
TEXT blossom FK "NOT NULL"
}
base_layer_images {
UUID id PK
UUID layer_id FK "NOT NULL"
TEXT path "NOT NULL"
}
plants ||--o{ seeds : ""
relations }o--|| plants : "plant1"
relations }o--|| plants : "plant2"
layers }|--|| maps : "belongs to"
plantings }o--|| layers : "planted on"
drawings }o--|| layers : "drawn on"
plantings }o--|| plants : ""
maps }o--|| users : "created by"
blossoms ||--o{ gained_blossoms : ""
gained_blossoms }o--|| users : "gained by"
users ||--o| guided_tours : "completed by"
base_layer_images }o--|| layers : "belongs to"
users ||--o{ seeds : ""
plantings }o--|| seeds : ""
Plants Table
For performance reasons, we decided to disable some unused columns in the plants table for now.
For more information, see: PR #644
The following columns are commented out for now:
- genus: text
- medicinal_uses: text
- material_uses_and_functions: text
- botanic: text
- material_uses: text
- soil_water_retention: soil_water_retention[]
- environmental_tolerances: text[]
- native_geographical_range: text
- native_environment: text
- flower_colour: text
- flower_type: flower_type
- plant_references: text[]
- is_tree: boolean
- nutrition_demand: nutrition_demand
- article_last_modified_at: timestamp without time zone
- diseases: text
- germination_temperature: text
- introduced_into: text
- habitus: text
- medicinal_parts: text
- native_to: text
- plants_for_a_future: text
- plants_of_the_world_online_link: text
- plants_of_the_world_online_link_synonym: text
- pollination: text
- propagation_transplanting_en: text
- resistance: text
- root_type: text
- seed_planting_depth_en: text
- seed_viability: text
- slug: text
- utility: text
- when_to_plant_cuttings_en: text
- when_to_plant_division_en: text
- when_to_plant_transplant_en: text
- when_to_sow_indoors_en: text
- sowing_outdoors_en: text
- when_to_start_indoors_weeks: text
- when_to_start_outdoors_weeks: text
- cold_stratification_temperature: text
- cold_stratification_time: text
- days_to_harvest: text
- habitat: text
- spacing_en: text
- wikipedia_url: text
- days_to_maturity: text
- pests: text
- germination_time: text
- description: text
- parent_id: text
- external_id: text
- external_url: text
- root_depth: text
- external_article_number: text
- external_portion_content: text
- sowing_outdoors_de: text
- spacing_de: text
- required_quantity_of_seeds_de: text
- required_quantity_of_seeds_en: text
- seed_planting_depth_de: text
- seed_weight_1000_de: text
- seed_weight_1000_en: text
- machine_cultivation_possible: boolean
- edible_uses_de: text
Enum Types
These are all the enum types we currently have implemented:
erDiagram
enum_deciduous_or_evergreen{
ENUM deciduous
ENUM evergreen
}
enum_experience{
ENUM beginner
ENUM advanced
ENUM expert
}
enum_external_source{
ENUM practicalplants
ENUM permapeople
ENUM reinsaat
}
erDiagram
enum_fertility{
ENUM self_fertile
ENUM self_sterile
}
enum_growth_rate{
ENUM slow
ENUM moderate
ENUM vigorous
}
enum_herbaceous_or_woody{
ENUM herbaceous
ENUM woody
}
erDiagram
enum_layer_type{
ENUM base
ENUM soil
ENUM todo
ENUM label
ENUM paths
ENUM photo
ENUM shade
ENUM trees
ENUM winds
ENUM zones
ENUM plants
ENUM drawing
ENUM terrain
ENUM habitats
ENUM warnings
ENUM watering
ENUM landscape
ENUM hydrology
ENUM fertilization
ENUM infrastructure
}
enum_life_cycle{
ENUM annual
ENUM biennial
ENUM perennial
}
enum_light_requirement{
ENUM full_sun
ENUM partial_sun_or_shade
ENUM full_shade
}
erDiagram
enum_membership{
ENUM supporting
ENUM regular
ENUM contributing
}
enum_nutrition_demand{
ENUM light_feeder
ENUM moderate_feeder
ENUM heavy_feeder
}
erDiagram
enum_drawing_shape_type{
ENUM rectangle
ENUM ellipse
ENUM free_line
ENUM bezier_polygon
ENUM label_text
ENUM image
}
enum_privacy_option{
ENUM private
ENUM protected
ENUM public
}
enum_propagation_method{
ENUM seed_direct_sow
ENUM seed_transplant
ENUM division
ENUM cuttings
ENUM layering
ENUM spores
ENUM seed
}
erDiagram
enum_quality{
ENUM organic
ENUM not_organic
ENUM unknown
}
enum_quantity{
ENUM nothing
ENUM not_enough
ENUM enough
ENUM more_than_enough
}
enum_spatial_relation_type{
ENUM companion
ENUM neutral
ENUM antagonist
}
enum_temporal_relation_effect{
ENUM positive
ENUM negative
}
erDiagram
enum_salutation{
ENUM ms
ENUM mrs
ENUM mr
ENUM mx
}
enum_shade{
ENUM no_shade
ENUM light_shade
ENUM partial_shade
ENUM permanent_shade
ENUM permanent_deep_shade
}
enum_soil_ph{
ENUM very_acid
ENUM acid
ENUM neutral
ENUM alkaline
ENUM very_alkaline
}
erDiagram
enum_soil_texture{
ENUM sandy
ENUM loamy
ENUM clay
ENUM heavy_clay
}
enum_track{
ENUM beginner
ENUM seasonal
ENUM completionist
ENUM expert
}
enum_water_requirement{
ENUM dry
ENUM moist
ENUM wet
ENUM water
}
These are all the enum types we currently have NOT implemented:
erDiagram
enum_tag{
ENUM Leaf_crops
ENUM Fruit_crops
ENUM Root_crops
ENUM Flowering_crops
ENUM Herbs
ENUM Other
}
Table descriptions
Plants
| Column name | Data type | Example | Additional information |
|---|---|---|---|
| id | integer | 355 | PRIMARY KEY |
| unique_name | text | Allium schoenoprasum | NOT NULL |
| common_name_en | text[] | {chives} | |
| common_name_de | text[] | {schnittlauch} | |
| family | text | Alliaceae | |
| edible_uses_en | text | NULL | |
| functions | text | NULL | |
| heat_zone | smallint | NULL | |
| shade | shade | light shade | |
| soil_ph | soil_ph[] | {acid} | |
| soil_texture | soil_texture[] | {sandy,loamy,clay} | |
| ecosystem_niche | text | NULL | |
| deciduous_or_evergreen | deciduous_or_evergreen | NULL | |
| herbaceous_or_woody | herbaceous_or_woody | herbaceous | |
| life_cycle | life_cycle[] | {perennial} | |
| growth_rate | growth_rate[] | {moderate} | |
| height | integer | 30 | |
| fertility | fertility[] | {"self fertile"} | |
| created_at | timestamp without time zone | 2024-05-31 12:03:49.820927 | NOT NULL, defaults to current time |
| updated_at | timestamp without time zone | 2024-05-31 12:03:49.820927 | NOT NULL, defaults to current time |
| has_drought_tolerance | boolean | false | |
| tolerates_wind | boolean | NULL | |
| preferable_permaculture_zone | smallint | NULL | -1..6 (-1 should be printed as 00) |
| hardiness_zone | text | [3,12) | |
| light_requirement | light_requirement[] | {"full sun","partial sun/shade"} | |
| water_requirement | water_requirement[] | {moist} | |
| propagation_method | propagation_method[] | {"seed - direct sow","seed - transplant",division} | |
| alternate_name | text | Wild chives, Flowering onion | |
| edible | boolean | true | |
| edible_parts | text[] | {bulb,flowers,leaves,root} | |
| spread | integer | 30 | |
| warning | text | NULL | |
| version | smallint | 24 | |
| external_source | external_source | permapeople | |
| sowing_outdoors | smallint[] | NULL | |
| harvest_time | smallint[] | NULL | |
| seed_weight_1000 | double precision | NULL |
Spatial Relations
Store relations between plants.
| Column name | Data type | Example | Additional information |
|---|---|---|---|
| plant1 | integer | 355 | PRIMARY KEY, FOREIGN KEY to plants.id, id of first plant |
| plant2 | integer | 1920 | PRIMARY KEY, FOREIGN KEY to plants.id, id of second plant |
| relation | relation_type | companion | NOT NULL, type of relation |
| note | text | Imported via scraper | comment about the relation |
Temporal Relation
Store possible temporal relations between plants, which make up the crop rotation.
| Column name | Data type | Example | Additional information |
|---|---|---|---|
| plant_earlier | integer | 355 | PRIMARY KEY, FOREIGN KEY to plants.id, id of earlier plant |
| plant_later | integer | 1920 | PRIMARY KEY, FOREIGN KEY to plants.id, id of later plant |
| min_duration | integer | 6 | the absolute minimum duration of the effect in months (min. 6) |
| max_duration | integer | 12 | the absolute maximum duration of the effect in months |
| effect | temporal_relation_effect | positive | positive or negative effect between two plants |
Maps
| Column name | Data type | Example | Additional information |
|---|---|---|---|
| id | integer | 1 | PRIMARY KEY |
| name | text | My Map | NOT NULL, only alphanumerical values |
| deletion_date | date | 2024-04-04 | |
| last_visit | date | 2023-04-04 | |
| is_inactive | boolean | false | NOT NULL |
| zoom_factor | smallint | 100 | NOT NULL, value used in formula "X by X cm", e.g. 100 would mean "100 x 100 cm", range from 10 to 100000 |
| privacy | privacy_option | protected | NOT NULL |
| description | text | Our first map | |
| location | geography | NULL | PostGIS Geodata, location of the map |
| geometry | geometry | 0103000020E61000000100... | NOT NULL, boundaries of the map |
| created_by | uuid | affb3987-0d75-42b8-b34a-cf7eec4e151b | NOT NULL, is also the map owner |
| creation_at | timestamp | 2023-04-04 10:11:12 | NOT NULL, defaults to current time |
| modified_by | uuid | affb3987-0d75-42b8-b34a-cf7eec4e151b | NOT NULL |
| modified_at | timestamp | 2023-04-04 10:11:12 | NOT NULL, defaults to current time |
Seeds
| Column name | Data type | Example | Additional information |
|---|---|---|---|
| id | integer | 1 | PRIMARY KEY |
| name | text | Some tomato seeds | NOT NULL, at least 1 alphanumeric character, no dashes |
| harvest_year | smallint | 2018 | NOT NULL |
| use_by | date | 2028 | |
| origin | text | Vienna, Austria | |
| taste | text | Sweet | |
| yield | text | high | |
| quantity | quantity | more than enough | NOT NULL |
| quality | quality | Organic | |
| price | smallint | 10.99 | |
| generation | smallint | 7 | |
| notes | text | NULL | |
| plant_id | integer | 5557 | NOT NULL, FOREIGN KEY to plants.id |
| created_by | uuid | affb3987-0d75-42b8-b34a-cf7eec4e151b | NOT NULL |
| archived_at | timestamp | NULL |
Layers
| Column name | Data type | Example | Additional information |
|---|---|---|---|
| id | uuid | 9b77d9b1-02c3-4fac-97bf-686b9f4ea38d | PRIMARY KEY |
| map_id | integer | 1 | NOT NULL, FOREIGN KEY to maps.id |
| type | layer_type | plants | NOT NULL |
| name | text | Plants Layer | NOT NULL |
| is_alternative | boolean | false | NOT NULL, true if the layer is an user-created alternative layer |
| mark_deleted | timestamp | NULL | |
| order_index | integer | 1 | NOT NULL |
Plantings
A single plant or an area of plants that has been placed on a map.
| Column name | Data type | Example | Additional information |
|---|---|---|---|
| id | uuid | 440d518c-dc50-4ff3-9943-9f578a1b7e7d | PRIMARY KEY |
| plant_id | integer | 355 | NOT NULL, FOREIGN KEY to plants.id |
| is_area | boolean | false | NOT NULL, true if the planting is an area of plants instead of a single plant |
| x | integer | 714 | NOT NULL, x coordinate on map |
| y | integer | 538 | NOT NULL, y coordinate on map |
| size_x | integer | 30 | NOT NULL, size on x-axis on map |
| size_y | integer | 30 | NOT NULL, size on y-axis on map |
| rotation | real | 0 | NOT NULL, rotation on map |
| add_date | date | 2024-03-01 | Date when the plant was planted |
| remove_date | date | NULL | Date when the plant was removed |
| seed_id | integer | NULL | FOREIGN KEY to seeds.id |
| notes | text | NULL | NOT NULL |
| created_at | timestamp | 2024-01-01 10:11:12 | NOT NULL, defaults to current time |
| modified_at | timestamp | 2024-01-01 10:11:12 | NOT NULL, defaults to current time |
| created_by | uuid | affb3987-0d75-42b8-b34a-cf7eec4e151b | NOT NULL |
| modified_by | uuid | affb3987-0d75-42b8-b34a-cf7eec4e151b | NOT NULL |
| layer_id | uuid | b8e3ea1c-5432-459b-a9c9-736a29ea60f0 | NOT NULL, FOREIGN KEY to layer.id |
Users
| Column name | Data type | Example | Additional information |
|---|---|---|---|
| id | uuid | 00000000-0000-0000-0000-000000000000 | NOT NULL, PRIMARY KEY, the UUID from Keycloak |
| salutation | salutation | Mr | NOT NULL |
| title | text | NULL | |
| country | text | Austria | NOT NULL |
| phone | text | NULL | |
| website | text | NULL | |
| organization | text | NULL | |
| experience | experience | beginner | |
| membership | membership | contributing | |
| member_years | integer[] | {2023} | years of active membership |
| member_since | date | 2023-07-12 | |
| permacoins | integer[] | {0} | array of positive integers |
Guided Tours
| Column name | Data type | Example | Additional information |
|---|---|---|---|
| user | uuid | 00000000-0000-0000-0000-000000000000 | PRIMARY KEY |
| editor_tour_completed | boolean | false | has the user completed the Map Editor Tour |
Blossoms
| Column name | Data type | Example | Additional information |
|---|---|---|---|
| title | text | Novice Gardener | PRIMARY KEY |
| description | text | Plant your first plant | |
| track | track | Beginners Track | the track (category) this blossom belongs to |
| icon | text | NULL | |
| is_seasonal | boolean | false | NOT NULL, if blossom resets and repeats every year |
Gained Blossoms
| Column name | Data type | Example | Additional information |
|---|---|---|---|
| user_id | uuid | 00000000-0000-0000-0000-000000000000 | PRIMARY KEY |
| blossom | text | 1 | PRIMARY KEY |
| times_gained | integer | 1 | NOT NULL, 0 to infinity |
| gained_date | date | 2023-04-10 | NOT NULL |
Base Layer Images
| Column name | Data type | Example | Additional information |
|---|---|---|---|
| id | uuid | ae245486-fe22-4e59-aed8-d5981d245d1c | PRIMARY KEY |
| path | text | /Photos/Vineyard.jpg | NOT NULL |
| rotation | real | 0 | NOT NULL |
| scale | real | 100 | NOT NULL |
| layer_id | uuid | e09a5af0-2f84-4cef-ae75-8bcc66862be3 | NOT NULL, FOREIGN KEY to layers.id |
Drawings
| Column name | Data type | Example | Additional information |
|---|---|---|---|
| id | uuid | ae245486-fe22-4e59-aed8-d5981d245d1c | PRIMARY KEY |
| shape_type | drawing_shape_type | rectangle | NOT NULL |
| add_date | date | 2024-04-04 | |
| remove_date | date | NULL | |
| rotation | real | 0 | NOT NULL |
| scale_x | real | 1 | NOT NULL |
| scale_y | real | 1 | NOT NULL |
| x | integer | 460 | NOT NULL |
| y | integer | 645 | NOT NULL |
| properties | jsonb | {"color": "#000000", "width": 275.0, "height": 233.0, "fillPattern": "none", "strokeWidth": 3.0} | NOT NULL |
| layer_id | uuid | 9b77d9b1-02c3-4fac-97bf-686b9f4ea38d | NOT NULL, FOREIGN KEY to layers.id |
Decision Process
Problem
Simply discussing in an issue and then implementing a solution is okay for non-substantial changes. Substantial decisions, however, must be made in a transparent and participative way.
- Discussing fundamental problems in forum-like threads showed to be repetitive and ineffective.
- Decisions by supervisors are undemocratic.
- Decisions in meetings are nontransparent for the outside world.
Main Purpose
The main purpose of decisions is
- to have clear descriptions of technical problems and solutions.
- to get a common understanding of the problems and the impacts of possible solutions.
Constraints
- All relevant information about decisions must be within PermaplanT's repository.
- @markus.raab need to approve the decision.
Assumptions
- People want to be informed about or even participate in what PermaplanT looks like in the future.
- Decision authors have some scientific background and want decisions based on science, and not only on opinions.
- If assumptions, including this ones written here, are broken, decisions will be redone.
- Decision authors focus on getting the best solutions and not to wish for the impossible. They have strong motives to also complete the decision.
- The decision process itself isn't a barrier for people to write their first decision.
Solutions
- Create a decision process tailored to PermaplanT
- Issues (often do not result to a PR that documented the outcome)
- GitHub discussions (-||-)
- PEPs: https://peps.python.org (tailored for programming language specifications, not ideal for architectural decisions)
- Rust RFCs: https://www.ietf.org/standards/rfcs/ (-||-, see also https://forge.rust-lang.org/compiler/mcp.html)
- Change requests: https://en.wikipedia.org/wiki/Change_request
Decision
We use a decision process tailored to PermaplanT, in which decisions need to:
- be implementable within the project/term
- be according to PermaplanT's goals
- Decision authors are the main force to improve the text to get a decision forward.
We use the template TEMPLATE.md. Explanations of the template are in EXPLANATIONS.md.
The process of creating a decision is specified in the Decisions workflow.
Decisions are to be first created in the drafts folder located in doc/decisions and then moved between subfolders based on the stage the decision is in.
The subfolders correspond to the stages defined in the Decisions workflow:
- drafts
- problem-clear
- solutions-clear
- in-review
- decided
- partially-implemented
- implemented
- postponed
- rejected
Each subfolder also holds a README.md giving a brief description of the stage.
Rationale
- The process is lightweight and simple.
- The template makes sure important points are not forgotten.
- Every decision is by design in its own file with its own Git history.
- PRs allow to better support the constraint that everything must be within PermaplanT's repository.
- Several "Related Decisions" are very important even if everyone agrees on one solution. They allow reviewers and future readers of the decision to understand which options were considered and why they were rejected.
- The decision process is focused around the decision text (and not forum-like discussions), so that:
- The resulting text is understandable without reading any discussions.
- There is a common understanding after only reading the decision text.
- To avoid any gaps of reading discussions and the decision.
Implications
- Decisions encourage to write documentation before actually writing code.
Related Decisions
This is the only non-technical decision, so no issues are related.
Notes
- Even though they use the decision template, following decisions are not decisions:
- Template: copy this to start a new decision
- Explanations: read this
- The first idea often is not the best, don't fixate on it. Abraham Luchins called this the “Einstellung effect.” Thus we encourage to generate as many ideas as possible for any problem (interrupt effect).
- We have a tendency to add: Take courage to also propose solutions that (mostly) remove code. See Leidy Klotz et al., e.g. “People systematically overlook subtractive changes“.
- Failures are not a bad thing. It is a good thing to have "rejected" decisions for future references and to recheck if assumptions change.
- Decisions are about "Why?" and not about "Who?" or "When?". Such discussions should be in the project and meetings.
- Discussions in issues/discussions are not prohibited. To not waste time, it is recommended, however, to start with the decision as described here asap.
Written by Markus Raab @markus.raab
EXPLANATIONS
We base our decision process and template on:
This document describes every section of our TEMPLATE.md.
Problem
Clearly define:
- the context in which the problem exists
- your observation of the problem
- ideally an example for that problem
Constraints
List all constraints given by:
- use cases
- requirements
- goals
- guidelines
- standards
- other decisions
- the scope (i.e. describe what shouldn't change)
Note: The decision (but not necessarily the solutions) must fulfill all constraints.
Assumptions
Assumptions are often overlooked, so this section needs special care and honesty. Assumptions are what we believe to be true but do not or cannot really know, e.g.:
- what users will accept
- perceived usability
- if the implementation will be faster/slower
- estimations of costs
- problems/risks that might turn up
Note: The decision (but not necessarily the solutions) must not break any assumptions.
Solutions
This is a list of all solutions and a rationale why not-chosen solutions were not taken, e.g. because:
- the solution does not solve the whole problem
- some constraints or assumptions are violated
- another solution:
- solves the problem better
- is more in line with PermaplanT's architecture
- better supports PermaplanT's goals
- better fulfills non-functional requirements
Decision
Here should be a detailed description of the best solution, i.e., the decision. It should make clear how the implementation should be done.
Referring back to the solutions written above is allowed.
Rationale
Give all details why the solution:
- solves the problem best
- is best in line with our goals
- fulfills all constraints and assumptions
Also describe all drawbacks the solution has.
Implications
Here is a full description of everything that the decision will change or whatever needs to be changed because of the decision. This can be:
- effect on other decisions, goals, etc.
- non-obvious implementation tasks, e.g. changing in different needs to be implemented
- which issues get solved
- which documentation needs to be updated
- which concepts change
- which guarantees are added/removed
Related Decisions
This section has links to other decisions with description what the relation is. One-side relations are allowed, not every decision must link back. Decisions that give constraints must be listed in "Constraints" above.
Note: Sometimes the best solution is only understood if the relation between decisions becomes clear. Make sure that everything that requires updates to a decision, is listed as "Constraints" or "Assumptions".
Notes
Here is a full list of off-line discussions, issue trackers, PRs etc. related to this decision. Preferable it is linked, but if it is not possible, it can also be in full-text here. If particular information is important and not present in any sections above, please quote it here.
Any incomplete and unexplored idea/opinion, which is not complete enough to be in "Solutions", can be written here. For example, if it is obvious that the idea does not even solve the problem. Unlike the main decision and solutions, text in the notes does not need rationale.
Furthermore, the author, acknowledgments, dates etc. can be written here.
TEMPLATE
Status:
Assignee:
Problem
Constraints
Assumptions
Solutions
Alternative A
Alternative B
Alternative C
Decision
Rationale
Implications
Related Decisions
Notes
Canvas Dependency Resolution
Status: Problem Clear
Problem
The canvas npm package does not have pre-built binaries for Node.js 24, which is blocking the Node.js 24 upgrade (#2011). The canvas package is currently listed as a devDependency in frontend/package.json, but there are conflicting reports about whether our tests work without it.
The issue manifests when running tests without the canvas package installed:
Error: Cannot find module 'canvas'
Require stack:
- /home/jenkins/workspace/PermaplanT_MR-1905/frontend/node_modules/konva/lib/index-node.js
This error occurs because the Konva library uses the canvas library internally for Node.js tests. The canvas package is only referenced in vite.config.ts in our codebase, with no direct imports in our source code.
Constraints
- Must not break existing test coverage
- Must be compatible with Node.js 24
- Should work in DevContainer, CI, and local development environments
- Must support Konva testing requirements
- Should minimize maintenance burden
- Must enable the Node.js 24 upgrade (#2011)
Assumptions
- Canvas is unused in our source code (only referenced in vite.config.ts with test exclusions)
- RESOLVED: Konva requires canvas for Node.js testing
- Testing confirmed that removing canvas breaks 17 test suites
- Konva's
index-node.jshas a hard dependency on the canvas module - Conflicting test reports were based on incomplete test runs
- Alternative solutions that don't involve removing canvas are necessary
- Upgrading to Konva 10 might resolve the issue entirely (still needs investigation)
- Other alternatives (mocking, native binaries, or waiting) may be necessary
Solutions
Alternative A: Remove canvas dependency entirely
Remove the canvas package from package.json and verify all tests pass without it (as proposed in MR !1892).
Status: DOES NOT WORK - Tested and confirmed to break 17 test suites
Investigation Results (2025-11-18):
- Removed canvas from package.json and ran full test suite
- Result: 17 test suites failed with "Cannot find module 'canvas'"
- Root cause: Konva's Node.js entry point (
node_modules/konva/lib/index-node.js) directly requires the canvas module - This breaks tests that import Konva or any components using Konva
Pros:
- Simplest solution (if it worked)
- Removes unused dependency
- No migration or compatibility concerns
- Enables immediate Node.js 24 upgrade
Cons:
- Breaks 17 test suites - Konva requires canvas for Node.js testing
- Conflicting test reports were inaccurate or based on incomplete test runs
- This is not a viable solution
Alternative B: Upgrade to Konva 10
Upgrade Konva to version 10, which according to the react-konva documentation may not require the canvas package.
Pros:
- May eliminate the canvas dependency requirement entirely
- Keeps up-to-date with the latest Konva version
- Potential performance and feature improvements
Cons:
- May introduce breaking changes requiring code updates
- Requires testing migration effort
- Konva 10 compatibility with our codebase needs verification
Investigation needed:
- Check Konva 10 changelog for breaking changes
- Verify that Konva 10 doesn't require canvas for Node.js testing
- Test compatibility with our current Konva usage patterns
Alternative C: Upgrade canvas to a newer version
Upgrade to a newer version of the canvas package that supports Node.js 24.
Pros:
- Maintains existing test setup
- Minimal code changes required
Cons:
- Canvas may not have released Node.js 24 compatible binaries yet
- Adds native build complexity (C++ compilation)
- Increases installation time and failure points
- May not be available immediately
Investigation needed:
- Check canvas repository for Node.js 24 support roadmap
- Verify if newer canvas versions are available with Node.js 24 binaries
- Test build process in all environments
Alternative D: Mock canvas in tests
Replace the real canvas implementation with a mock implementation specifically for testing.
Pros:
- Lightweight solution
- No native dependencies
- Fast installation and testing
- Node.js 24 compatible
Cons:
- Less realistic testing
- May not catch canvas-related bugs
- Additional maintenance for mock implementation
- May not satisfy Konva's internal requirements
Investigation needed:
- Determine if Konva tests can work with mocked canvas
- Research mocking approaches (jsdom-canvas, canvas-mock, custom mock)
- Verify test coverage is maintained
Alternative E: Wait for canvas Node.js 24 support
Postpone the Node.js 24 upgrade until the canvas package releases pre-built binaries for Node.js 24.
Pros:
- No code changes needed
- Maintains current setup
Cons:
- Blocks Node.js 24 upgrade indefinitely
- No clear timeline for when support will be available
- Delays other improvements that depend on Node.js 24
- Goes against project goals of staying up-to-date
Investigation needed:
- Check canvas repository roadmap and issue tracker
- Assess timeline for Node.js 24 support
Decision
Rationale
Implications
Related Decisions
- Frontend Programming Language - TypeScript/JavaScript ecosystem decisions
- Frontend Build Tool - Vite configuration where canvas is referenced
- Frontend E2E Testing - Testing strategy that may be affected
- Drawing Library - Konva decision, which depends on canvas
Notes
- Issue #2294: Decision issue for this document
- Issue #2407: Konva 10 upgrade investigation (follow-up)
- Issue #2011: Node.js 24 upgrade (blocked by this decision)
- Issue #1863: Previous canvas-related issues
- MR !1892: Proposes removing canvas dependency
- Current package: canvas@2.11.2 in frontend/package.json (devDependencies)
- Current usage: Only referenced in vite.config.ts, no imports in source code
- Test failure details from @e12024013 show Konva's
index-node.jsrequires canvas - @markus.raab suggested checking Konva 10 upgrade as potential solution (2025-11-10)
- According to react-konva Next.js documentation, Konva 10 may resolve this issue
- Problem Clear status reached on 2025-12-14 (MR !1961)
- Alternative A confirmed not viable through testing; remaining alternatives need Konva 10 investigation
Status: Problem Clear
Next Steps:
- Investigate Konva 10 upgrade compatibility (#2407)
- Evaluate remaining solutions (B, C, D, E) once Konva 10 investigation is complete
- Move to "Solutions Clear" once all alternatives are fully explored
Decided
This folder contains all decisions currently in the decided stage.
Decisions move into decided after a solution has been chosen to address the problem covered by the decision.
Decisions remain in this stage until their solution is fully implemented.
- Decisions Workflow: describes how to create and update decisions in detail
Related Resources
- Decisions Template - Template to use when creating a decision
- Decisions Explanations - Explanation of the decision template
- Decisions README - General explanation of the decision concept and its purpose
- Documentation Guidelines - General documentation standards
Frontend Timeline Date Picker
Status: Decided
Assignee: Moritz Muth
Problem
We want to offer an alternative date selection method to the timeline to improve mobile usability. The HTML date input is already used in several components, and we need to decide if we should continue using it or switch to a different component.
Constraints
- supports our styles (ok/cancel button etc.)
- mobile usability
- German/English support
- React 19 support, well maintained etc.
- FLOSS
- obviously validation, only valid dates can be chosen
Assumptions
- Future use cases might require a date range selection
Solutions
Alternative A: Date Picker as overlay
Pros:
- Immediate date selection
- Enables entering date via keyboard
Cons:
- Requires parsing and validation of user input
- Requires a relatively unique design
Alternative A1: HTML date input
Pros:
- Solution well known
- Comes with strong input validation out of the box
- Universal support across browsers and react versions
Cons:
- Supports localization only based on the browser language, not based on the selected language of PermaplanT (https://developer.mozilla.org/en-US/docs/Web/HTML/Reference/Elements/input/date)
- Does not seem to support date range selection (but could be implemented with a second HTML date input)
Alternative A2: MUI X Date Pickers Date Picker
Pros:
- Comes with strong input validation out of the box
- Comes with support for Mobile out of the box
- A more modern look and feel
- Good customization
- Good localization
- Explicit React 19 support
- Strong support through Material UI
Cons:
- Date range selection is only available as a separate component and is a premium feature (i.e. 7$ per front-end developer while components are used)
- Month view needs to be specifically enabled
- No direct navigation between day and month view
Alternative B: Date Picker in pop-up
Pros:
- Enables entering date via keyboard
Cons:
- Requires an extra click/tab to get to the date selection/input
- Requires parsing and validation of user input
- A pop-up with a lone date input will look a little odd stylistically
Alternative B1: HTML date input
Pros:
- Solution well known
- Comes with strong input validation out of the box
- Universal support across browsers and react versions
Cons:
- Supports localization only based on the browser language, not based on the selected language of PermaplanT (https://developer.mozilla.org/en-US/docs/Web/HTML/Reference/Elements/input/date)
- Does not seem to support date range selection (but could be implemented with a second HTML date input)
Alternative B2: React Calendar with custom input field
Pros:
- Comes with date range selection out of the box
- Good customization
- Good localization
- Implicit React 19 support
Cons:
- Requires custom implementation for input handling and validation
- Relatively small community supporting the library
Alternative B3: MUI X Date Pickers Date Picker
Pros:
- Comes with strong input validation out of the box
- Comes with support for Mobile out of the box
- A more modern look and feel
- Good customization
- Good localization
- Explicit React 19 support
- Strong support through Material UI
Cons:
- Date range selection is only available as a separate component and is a premium feature (i.e. 7$ per front-end developer while components are used)
- Month view needs to be specifically enabled
- No direct navigation between day and month view
Alternative C: Date Calendar in pop-up
Pros:
- Immediate date selection
- Only valid dates can be selected
- Stylistically a better choice for a pop-up
Cons:
- Keyboard input is not supported
Alternative C1: React Calendar
Pros:
- Comes with date range selection out of the box
- Good customization
- Good localization
- Implicit React 19 support
Cons:
- Relatively small community supporting the library
Alternative C2: MUI X Date Pickers Date Calendar
Pros:
- A more modern look and feel
- Good customization
- Good localization
- Explicit React 19 support
- Strong support through Material UI
Cons:
- Date range selection is only available as a separate component and is a premium feature
- Month view needs to be specifically enabled
- No direct navigation between day and month view
Decision
We will use alternative A1 as an alternative date selection method to the timeline.
Rationale
- Allows for quick access to the date selector
- Enables date copying and keyboard input
- Uses a well-known component
Implications
Notes
Drafts
This folder contains all decisions currently in the drafts stage.
When first creating a new decision for a problem the decision document gets placed in the drafts stage.
In this first stage the goal is to sufficiently explain the problem that is addressed by the decision and explore possible solutions.
- Decisions Workflow: describes how to create and update decisions in detail
Related Resources
- Decisions Template - Template to use when creating a decision
- Decisions Explanations - Explanation of the decision template
- Decisions README - General explanation of the decision concept and its purpose
- Documentation Guidelines - General documentation standards
Frontend Hull Library
Status: Draft
Assignee: Alfons Mueller
Problem
The library hull.js we currently use to do concave hull calculations in the drawing layers of the frontend is deprecated and not maintained anymore.
To avoid security and compatibility issues we want to switch to another solution.
Constraints
- Calculations by replacement libraries need to be fast enough so that users won't recognize any delays.
- Must be a fitting replacement for the current library allowing for easy integration.
- Replacement solutions have to be well maintained and documented.
Assumptions
- Switching hull calculation to the backend is not preferred right now and only a last resort.
- Overlapping areas are allowed as per polygon overlap decision. (TODO: add proper link once merged)
Only the top layer is relevant for heatmap calculations.
Solutions
Alternative A: concaveman (by Mapbox)
-
Popular (721 stars on GitHub)
-
Latest release: 2.0.0 from July 16, 2025 (as of 05.02.2026)
-
fast algorithm
-
well-tested
-
Dependencies
- rbush for point indexing
- tinyqueue as a priority queue
- point-in-polygon for point in polygon queries
- robust-predicates for 3-point orientation tests
Yet to be tested
- Test results:
Alternative B: concaveHullJS (by Mark Roland)
-
Not as well known as concaveman (28 stars on GitHub)
-
Last updated in April 2025 (as of 05.02.2026)
-
small, all-in-one library
-
not as well tested
-
Dependencies
- none
Yet to be tested
- Test results:
Alternative C: turf/concave (part of Turf.js)
-
Part of actively maintained geo library ecosystem (10.2k stars on GitHub)
-
Latest release: v7.3.3 from January 28, 2026 (as of 05.02.2026)
-
Very well documented
-
Concave hull functionality only a small part of Turf.js
-
Only needed modules can be imported
-
A comparison to concaveman is made which returns correct hull
Yet to be tested
- Test results:
Alternative D: Backend implementation (fallback)
- If no suitable frontend library, implement in Rust backend using PostGIS ST_ConcaveHull or Rust geo crate
- Possibility of implementing polygon clipping on a data level instead of current solution (last added polygon is used for calculations(TODO: add proper link once merged))
- A lot more involved then just replacing hull.js with another library
Decision
Rationale
Implications
Related Decisions
- Old Polygon calculations decision
- Polygon overlap handling decision(TODO: add proper link once merged)
Notes
Frontend API Mocking Tool
Status: Draft
Assignee:
Problem
We need to select an API mocking tool for our frontend development that allows us to simulate API responses for testing and development purposes.
Constraints
- The selected tool should seamlessly integrate with our frontend development environment.
Assumptions
Considered Alternatives
-
MSW (Mock Service Worker): MSW is a popular API mocking tool for react applications. It intercepts requests on network level so that code can be tested the same way it is executed in production. Frontend devs can also use msw for development so that they don't have to wait for the backend to be ready.
-
Nock: Nock is also a very popular alternative for API mocking and according to some developers in forums, it is easier to set up than MSW. MSW, however, seems to be a more React-centric approach and Nock can only be used with Node.js and not in the browser.
-
MirageJS: MirageJS provides pretty similar functionality to MSW, but it is not as widely used.
Decision
We have decided to use MSW (Mock Service Worker) as our API mocking tool for frontend development.
Rationale
All the considered alternatives are powerful tools for API mocking, but MSW is widely used by the community and has a lot of documentation and tutorials available.
Some key advantages of using MSW for API mocking include:
- Request Interception and Mocking: MSW provides a powerful request interception and mocking system, allowing us to simulate various API scenarios, including different response codes, payloads, and latency.
- Active Community and Documentation: MSW has a thriving community and comprehensive documentation, which will aid our team in quickly learning and effectively using the tool.
Implications
- Our development team will need to become familiar with MSW's usage and configuration to effectively use it for API mocking.
- Integration of MSW into our existing development tools and pipelines will be necessary.
Related Decisions
Notes
Frontend Utility Library
Status: Draft
Assignee: Maiia Kuzmishyna
Problem
The codebase contains several hand-written code blocks that duplicate what a utility library could achieve in a well-tested and readable form.
Examples:
- Deep-copying objects is done via
JSON.parse(JSON.stringify(...))(deepCopyGeometryinPolygonUtils.ts). - Object filtering is implemented with a three-step
Object.keys+filter+reducepipeline (filterObject.ts). - Finding minimum value in a collection is handled by two separate
reducecalls withMath.min, (copyDrawingsForPlacingindrawing-utils.ts).
Moreover, there are a couple of future use cases that could be covered by a utility library.
- Deep-equals can be very useful for memoization - it allows to completely forgo memoization of object props if a deep equality function is supplied as a second argument to
React.memo(). - Debounce and throttle can be crucial for performance optimizations as they allow reducing the number of times an expensive computation executes. Debouncing and throttling are also known for being notoriously difficult to implement from scratch without mistakes.
Last but not least, there is one use case already covered by a specific utility library lodash which should also be considered when choosing a library.
- Range construction from zero to a given number in
BezierPolygon.tsx.
Constraints
- The library must be well-maintained, widely adopted, and have a stable release history.
- The library must cover all use cases listed in the Problem section: deep clone, deep equals, object omit, minBy, flatMap, debounce, throttle, and range.
- The library must be licensed under a permissive open-source license (e.g. MIT) to allow free use in this project.
- The library should support usage in typescript projects.
- Adding the library should not significantly increase bundle size.
Assumptions
- Implementing and maintaining utility functions from scratch requires disproportionate effort and introduces avoidable risk compared to adopting a well-tested library.
- Tree-shaking is effective in the Vite-based build pipeline, so unused library functions are excluded from the production bundle.
- The transitive presence of lodash in the dependency graph does not guarantee its API stability or continued availability; an explicit dependency should be declared for any library actively used in production code.
Solutions
Alternative A: lodash (by John-David Dalton)
Lodash is the most widely used JavaScript utility library, with over 60 million weekly npm downloads and a long release history dating back to 2012.
Declaring it as an explicit dependency therefore does not increase bundle size, and the import style import { range } from 'lodash-es' (lodash's ES module build) enables full tree-shaking via Vite.
Constraint fulfillment:
- Maintenance & adoption: actively maintained, 10k+ issues resolved, backed by the OpenJS Foundation.
- Use case coverage:
_.cloneDeep,_.isEqual,_.omit,_.minBy,_.flatMap,_.debounce,_.throttle,_.rangeare all available. - License: MIT.
- Typescript: TypeScript types are provided by the
@types/lodashpackage. - Bundle size: 80.6kB minified.
The frontend already uses it (in
BezierPolygon.tsx) without declaring it as an explicit dependency — it is pulled in transitively via@storybook/addon-controlsandvite-plugin-pwa. Declaring it as an explicit dependency therefore should not increase bundle size. Moreover, removing the usage inBezierPolygon.tsxwill not reduce bundle size either. Alternatively, a tree-shakable build of lodash could be imported (lodash-es).
Alternative B: es-toolkit (by Toss)
es-toolkit is a modern utility library designed as a drop-in alternative to lodash, built natively in TypeScript with tree-shaking as a first-class concern.
It covers all the required use cases: cloneDeep, isEqual, omit, minBy, flatMap, debounce, throttle, and range.
Benchmarks published by the authors show 2–3× smaller bundle sizes compared to lodash-es for equivalent imports, owing to leaner implementations without legacy browser support code.
Constraint fulfillment:
- Maintenance & adoption: actively maintained since 2024, growing adoption; backed by Toss (a large fintech company).
- Use case coverage: all required functions are available.
- License: MIT.
- Typescript: supported out-of-the-box.
- Bundle size: 28.3kB minified, supports tree-shaking.
es-toolkit is relatively new and has a smaller community and ecosystem.
Alternative C: Radash (by Ray Oelzer)
Radash is a TypeScript-first utility library with a focus on modern, readable functional patterns.
It covers most of the required use cases: clone (shallow), omit, min, flat, and a rich set of async utilities.
However, debounce and throttle are not part of Radash's API, and isEqual (deep equality) is absent as well, which means use cases constraint would not be met without supplementing Radash with another library.
Constraint fulfillment:
- Maintenance & adoption: actively maintained, however a smaller community than lodash or es-toolkit.
- Use case coverage - NOT FULFILLED: debounce, throttle, and deep equality are missing.
- License: MIT.
- Typescript: supported out-of-the-box.
- Bundle size: 11.8kB minified, supports tree-shaking.
Decision
Rationale
Implications
Related Decisions
Notes
Uuid
Status: Draft
Assignee:
Problem
Due to their randomness UUID v4 might be sub-optimal for database operations, see https://www.cybertec-postgresql.com/en/unexpected-downsides-of-uuid-keys-in-postgresql/.
Constraints
- good performance in the database
- reduce index size
- future proof
Assumptions
- we cannot easily change the UUIDs later in production
- frontends have reasonable clock precision and performance that uuidv7 usually works for us
Solutions
UUIDv7
https://www.ietf.org/archive/id/draft-peabody-dispatch-new-uuid-format-04.html (Expired 25 December 2022)
The non-expired version in PDF: https://www.ietf.org/rfc/rfc9562.pdf
Compromise
Keep uuidv4 as the stable external identifier and introduce a new internal key (maybe even auto-increment int or uuidv7) if needed for ordering etc.
- Pro: less changes in frontend/backend
- Con: needs more space (fails constraint 2.)
- Con: unclear performance (might fail constraint 1.)
ULIDs
- Pro: readability maybe better
- Pro: a bit more bits for randomness and a bit more elegant design
- Con: no version bits
- Con: would require ULID to be converted to UUID when querying in SQL
- Con: doesn't mention uuidv7 on their page (might fail constraint 3.)
- Con: little initiative with only
Others
Were not checked:
- NanoID
- KSUID
- SnowflakeID
Decision
We use UUIDv7.
Rationale
- https://ardentperf.com/2024/02/03/uuid-benchmark-war/
- https://dev.to/umangsinha12/postgresql-uuid-performance-benchmarking-random-v4-and-time-based-v7-uuids-n9b
The TL;DR is that for tables with many millions of rows uuidv7 is
- significantly faster (insert time ~35% better) and
- has less latency (point lookup ~4x faster)
- index size is ~22% smaller
- not worse in any point that was measured (pure randomness in uuidv4 is basically worst case)
Implications
- we should reject non-v7 uuids in backend/DB
- for initial conversion we could use either PostgreSQL 18 or https://github.com/fboulnois/pg_uuidv7
- Add new column (id_v7)
- Backfill with new-version UUIDs
- Update all foreign keys to reference the new column
- Add user_id_v7 to referencing tables
- Switch app code to use the new columns
- Make id_v7 the primary key
Related Decisions
Notes
Implemented
This folder contains all decisions currently in the implemented stage.
Decisions get placed in implemented when they are decided and fully implemented.
In this stage decisions get their details stripped and moved to documentation.
The documentation is then changed to link to the archived implemented decision.
- Decisions Workflow: describes how to create and update decisions in detail
Related Resources
- Decisions Template - Template to use when creating a decision
- Decisions Explanations - Explanation of the decision template
- Decisions README - General explanation of the decision concept and its purpose
- Documentation Guidelines - General documentation standards
Authentication & Authorization
Status: Implemented
Assignee:
Problem
The user wants to log in once and be able to fetch resources from the Nextcloud instance as well as from PermaplanT database. The users need to authenticate themself (who is the user). Then they get the appropriate authorization (does the user have the right privileges) to perform the action.
OAuth2.0: User can authorize client to fetch resources from resource server.
OpenID Connect: Extension of OAuth2.0 for authentication
Constraints
- single account to access PermaplanT and Nextcloud
- we don't implement our own auth solution
Assumptions
- Nextcloud and PermaplanT backend are the only services we provide
- we don't need roles/scopes (everyone can access all parts of the API)
- access control is quite simple, e.g., which users can read or write on which map
Solutions
Nextcloud-only
OpenID Connect authentication & authorization flow with:
Authorization server: Nextcloud OIDC App
Resource server 1: Nextcloud OAuth2
Resource server 2: PermaplanT backend
Client: PermaplanT frontend
Notes:
Currently it is not yet possible to use an issued Access Token or ID Token to access resources at the Nextcloud instance it self.
This is a major problem with this approach.
Nextcloud OAuth2 implementation currently does not support scoped access. This means that every token has full access to the complete account including read and write permission to the stored files. It is essential to store the OAuth2 tokens in a safe way! Without scopes and restrictable access it is not recommended to use a Nextcloud instance as a user authentication service.
Nextcloud app password login flow
This is the login flow described in the Nextcloud documentation. A client can retrieve an app password for a user. Opposed to token authentication described before the app password is permanent and should not be stored anywhere in the frontend. This approach requires PermaplanT to have its own authentication server and therefore separate accounts!
Separate identity provider
OpenID Connect authentication & authorization flow with:
Authorization server / Idenentity provider: PermaplanT
Resource server 1: Nextcloud
Resource server 2: PermaplanT
Client 1: Nextcloud WebClient with oidc login or user_oidc
Client 2: PermaplanT
Notes: In this approach the accounts are managed by PermaplanT, therefore requires implementing an identity provider in PermaplanT.
This approach was tested with Keycloak as identity provider and user_oidc(official oidc app) for oidc capabilities in Nextcloud and works as intended. The only limitation is that Nextcloud does not offer scoped access at the moment -> the authenticated app can access all of the resources the user has access to.
Identity providers
comparison of identity providers
Decision
We will use oidc with the separate identity provider Keycloak.
Keycloak itself will run as a separate service like Nextcloud. Users are created there instead of in Nextcloud/PermaplanT and users can then log in via Keycloak.
So in the PermaplanT frontend the user will be redirected to Keycloak. They can login in Keycloak and then they get redirected back to PermaplanT. From then on all requests are authorized via JWT. How that happens in detail is specified by the OAuth2 spec and there are also multiple ways of doing that. We will use the recommended variant which is Authorization Code Flow with PKCE. The backend will then simply validate the tokens and extract roles/user information out of them. This will be done by either by a library or implemented by us as this part is not that complicated.
Keycloak itself can either run as an executable or as a container. Apart from that it only requires a database so we can use our existing PostgreSQL for that.
Rationale
OpenID Connect is an interoperable authentication protocol based on the OAuth 2.0 family of specifications. It uses straightforward REST/JSON message flows with a design goal of “making simple things simple and complicated things possible”. It’s uniquely easy for developers to integrate, compared to any preceding Identity protocol. -- openid.net
Keycloak is a FLOSS solution for identity and access management which is one the most popular self hosted solutions. Some of the PermaplanT team members have already experience with it.
Further Notes
There was an attempt to implement OIDC in nextcloud/server but the issue lost traction and was finally not merged because of missing integration tests (https://github.com/nextcloud/server/pull/12567)
Use of JSON/JSONB in the Database
Status: Implemented
Assignee: Alfons Mueller
Problem
Developers currently lack a clear decision on whether to continue using JSON/JSONB fields or normalized database structures when creating schemata.
This uncertainty affects migrations, schema consistency, and data modeling decisions across the backend.
Current State
JSONB Usage in Database
- Currently used only in
drawings.propertiescolumn (JSONB type) - backend/src/model/entity/drawings.rs:21 - Stores polymorphic shape-specific data with 6 drawing types
- No other tables use JSONB
- Current JSON usage can be migrated to normalized tables without losing data, but this will require backend rewrites and database work. (creating tables & inserting data)
Why JSONB Was Used - Polymorphic Data Pattern
- Each drawing has
shape_typeenum (Rectangle, Ellipse, FreeLine, BezierPolygon, LabelText, Image) - Different shapes have different properties (Rectangle has width/height, Ellipse has radius_x/radius_y, etc.)
- JSONB
propertiescolumn contains shape-specific attributes - Benefits:
- Avoids sparse table with many nullable columns (one column per shape-specific property)
- Flexible for adding new shape types
- Works well with Rust's enum-based type system (DrawingVariant)
- Type safety: Maintained at application layer via serde deserialization - backend/src/model/dto/drawings.rs:89-97
- Error handling: Mismatch between shape_type and JSON structure returns 500 error - backend/src/model/dto/drawings_impl.rs:17-22
Common vs. Variant-Specific Attributes
- Common (stored as columns): id, layer_id, add_date, remove_date, rotation, scale_x, scale_y, x, y, notes
- Variant-specific (stored in JSONB properties):
- Rectangle: width, height, color, fill_pattern, stroke_width
- Ellipse: radius_x, radius_y, color, fill_pattern, stroke_width
- FreeLine/BezierPolygon: points array, color, fill_pattern, stroke_width
- LabelText: text, width, height, color
- Image: path
The question is whether we should continue this practice, extend it to similar polymorphic or optional data (e.g., plant attributes), or phase it out in favor of fully normalized tables.
JSONB Cost vs. Benefit for Polymorphic Data
-
Cost
- No native FK, UNIQUE, or NOT NULL constraints inside JSON. Checks have to be re-implemented with triggers or generated columns. Currently these checks are not in use but might become necessary in the future if we introduce new JSON applications.
- Type safety is only done via backend validation.
- Renames/splits require backfills or application-layer migration across versions.
- More involved value transformations (RGB to RGBA) require custom PL/pgSQL functions or application-layer migration (no simple SQL).
- More involved array transformations (Rotating/scaling points in FreeLine/BezierPolygon) require custom functions (no simple UPDATE).
-
Benefit
- Avoids many nullable columns or many subtype tables when variants overlap only a little.
- New fields can be added easier. (No new tables)
- The API can write the whole object in one step, without branching into type-specific tables.
Research findings on JSONB migration capabilities
-
Extensibility (adding/renaming attributes in JSONB):
- ✅ Adding new properties: Supported via PostgreSQL subscripting:
UPDATE drawings SET properties['fill_pattern_color'] = '"#FFFFFF"' - ⚠️ Renaming properties: No built-in support - requires extract old value → delete old key → create new key (multi-step process)
- ✅ Adding new properties: Supported via PostgreSQL subscripting:
-
Migration Flexibility (updating existing JSONB data):
- ✅ Simple updates: Can update JSONB properties via subscripting
- ⚠️ Value transformations: RGB to RGBA conversion would require custom PL/pgSQL functions or application-layer migration (no simple SQL)
- ⚠️ Array transformations: Rotating/scaling points in FreeLine/BezierPolygon would need custom functions - can't be done with simple UPDATE
- Current state: No JSONB-to-JSONB transformations in migrations yet - only column-to-JSONB and JSONB-to-column
-
Data Mismatch Likelihood:
- ⚠️ Current risk: Mismatch between
shape_typeand JSONB structure returns 500 error - Mitigation: Type safety enforced at application layer via
DrawingVariantand serde deserialization - Risk sources: Manual database edits or buggy migrations could create invalid combinations
- No DB-level validation: PostgreSQL doesn't validate JSONB structure matches the shape_type enum
- ⚠️ Current risk: Mismatch between
Migration Likelihood Estimation by Type
In order to decide on an solution it is important to estimate the likelihood of migrations because some types require more effort when JSON is involved.
⚠️ This section is only an estimation and is subject to discussion.
- Adding properties: high probability, when new functionality is required
- Renaming properties: low probability, properties should be named correctly when introduced (reviewed)
- Value transformations: low-medium probability, unlikely for current use in
drawings(e.g. could simply introduce separateopacityproperty) but could possibly be required if new JSON applications are introduced - Array transformations: low-medium probability, unlikely for current use in
drawings(coordinate system is established, freeline and bezier fully implemented) but could possibly be required if new JSON applications are introduced
Example Migrations
1. Simple renaming
Renaming the color attribute to fill_color in existing drawings:
UPDATE drawings
SET properties = (properties - 'color')
|| jsonb_build_object('fill_color', properties->'color')
WHERE properties ? 'color';
compared to a simple ALTER TABLE:
ALTER TABLE drawings
RENAME COLUMN color TO fill_color;
2. Extracting JSONB data into tables
In this example we show how a lossless extraction of data from the properties column of drawings might look like.
First we create the tables that will hold the different shapes.
For this example we only create the tables necessary to hold bezier polygons.
All other shape types can be handled in the same way, with bezier polygons already being the most complicated shape type currently implemented.
One table to hold the properties of the bezier polygons (linked to drawings by id):
CREATE TABLE IF NOT EXISTS public.bezier_polygon_props
(
drawing_id uuid NOT NULL,
color text COLLATE pg_catalog."default",
fill_pattern text COLLATE pg_catalog."default",
stroke_width numeric,
CONSTRAINT "bezier_polygon_props_PK" PRIMARY KEY (drawing_id),
CONSTRAINT "bezier_polygon_props_FK" FOREIGN KEY (drawing_id)
REFERENCES public.drawings (id) MATCH SIMPLE
ON UPDATE NO ACTION
ON DELETE NO ACTION
)
And a second table to hold the point data of the bezier polygons (linked to bezier_polygon_props by id):
CREATE TABLE IF NOT EXISTS public.bezier_polygon_point
(
bezier_polygon_id uuid NOT NULL,
idx integer NOT NULL,
x numeric,
y numeric,
CONSTRAINT "bezier_polygon_point_PK" PRIMARY KEY (bezier_polygon_id, idx),
CONSTRAINT "bezier_polygon_point_FK" FOREIGN KEY (bezier_polygon_id)
REFERENCES public.bezier_polygon_props (drawing_id) MATCH SIMPLE
ON UPDATE NO ACTION
ON DELETE NO ACTION
)
After creating the necessary tables we can start extracting the data from drawings to the corresponding subtables.
This is an example transaction covering the bezier polygon data stored in drawings.
Similar transactions would have to be done for all shape types.
BEGIN;
-- (a) Insert per-polygon properties
INSERT INTO bezier_polygon_props (drawing_id, color, fill_pattern, stroke_width)
SELECT id,
properties->>'color',
properties->>'fillPattern',
NULLIF(properties->>'strokeWidth','')::numeric
FROM drawings
WHERE shape_type = 'bezier polygon'
AND (properties ? 'color' OR properties ? 'fillPattern' OR properties ? 'strokeWidth')
ON CONFLICT (drawing_id) DO NOTHING;
-- (b) Insert points
INSERT INTO bezier_polygon_point (bezier_polygon_id, idx, x, y)
SELECT d.id,
p.ordinality - 1 AS idx, -- 0-based index
(p.elem->>0)::numeric AS x,
(p.elem->>1)::numeric AS y
FROM drawings d
JOIN LATERAL jsonb_array_elements(d.properties->'points') WITH ORDINALITY AS p(elem, ordinality)
ON TRUE
WHERE d.shape_type = 'bezier polygon';
COMMIT;
After running the transaction, from a drawings table that looks like this

we get a bezier_polygon_props table looking like this

and a bezier_polygon_point table looking like this.

Type Safety: JSONB vs. Typed Columns
1. Using JSONB
- JSONB shifts type safety into the application (Rust + serde) because PostgreSQL does not validate types, constraints, or foreign keys inside JSON.
- This means JSON is only “safe” as long as all writes go through validated backend code.
- This backend code has to be written by someone.
- To keep JSON migratable later, it must stay simple, non-critical, and not contain essential business constraints. (e.g. permissions, required relationships, validity rules,... )
- Good for: flexible, variant-heavy, optional UI/visual properties
2.Not Using JSON (Normalized Tables)
- PostgreSQL enforces types, constraints, and referential integrity automatically .
- Type safety is essentially free.
- Errors show up at write-time, not runtime.
Constraints
- Migrations involving JSONB must remain maintainable. Developers should be able to add, rename, and remove keys with minimal complexity.
- Queries on JSONB fields must perform adequately, with feasible indexing strategies when needed.
- The risk of data mismatches between application models (Rust types) and stored JSON structures must remain acceptably low.
- When writing migrations developers don't have access to full production data. (e.g., private maps) When rolling out migrations they might encounter data which they didn't encounter during development.
Assumptions
- The project expects further entities with type-dependent or sparsely populated attributes (e.g., entities where 20–80 % of fields differ per variant).
- Most JSONB data will be read and written through the Rust backend, not manually or by external systems.
- The current validation pattern using
serdewill continue to be enforced across any future JSONB usage.
Solutions
Alternative A: Hybrid Approach (Status Quo + Guidelines)
Continue using JSONB for polymorphic or sparse data like drawings.properties.
Establish project-wide guidelines for when JSONB is allowed, how to migrate it safely, and how to enforce validation.
Polymorphic data in this context means:
- Data whose shape depends on a discriminator (e.g., shape_type, plant_type, variant),
- Each variant sharing only a few common fields while having distinct attributes.
Sparse data means:
- Entities with numerous optional or rarely used attributes where adding individual columns would lead to excessive nulls.
JSONB may be used for such data if:
- The number of variant-specific keys per entity exceeds roughly 4–5 fields, and
- Queries on those fields are infrequent or limited to contained lookups.
Contained lookups may for example check for the existence of a JSON field or include a simple equals,
SELECT id
FROM drawings
WHERE properties ? 'color';
SELECT id
FROM drawings
WHERE properties->>'fill_pattern' = 'solid';
but not operations of higher complexity for which normal columns would be more efficient.
SELECT AVG((properties->>'stroke_width')::numeric)
FROM drawings
WHERE (properties->>'fill_pattern') = 'solid';
Example:
Say you wanted to store optional plant traits.
This could be done in plants.extra_properties JSONB.
erDiagram
plants {
BIGINT id PK "PRIMARY KEY"
TEXT unique_name "NOT NULL, UNIQUE"
TEXT[] common_name_en
TEXT[] common_name_de
TEXT family
JSONB extra_properties "optional, variant/sparse traits"
}
Example contents of extra_properties:
{
"water_need": 3,
"shade_tolerance": 4,
"edible": true,
"toxicity_level": "none",
"soil": { "ph_min": 6.0, "ph_max": 7.5 },
"notes": "Prefers partial shade"
}
Pros:
- Preserves flexibility for polymorphic or sparse data models.
- New or variant-specific fields can be added without changing the table structure.
- Avoids adding lots of columns for entities with many optional fields.
- Minimal migration work from current state. (Only check current use of JSON adheres to new guidelines)
Cons:
- Migration scripts for JSONB fields are more complex than ALTER TABLE operations.
- JSONB migrations modify untyped data inside a blob, so the intent and outcome are less visible than standard column migrations. (Table doesn't change)
- JSONB migrations require more testing work to guarantee the same safety you would get "for free" with typed columns and constraints.
- The risk of data inconsistencies increases because validation and consistency checking move from the database layer (strongly typed columns) to the application layer (runtime deserialization).
- Relies on developer discipline in following agreed-upon guidelines. (Mostly validation practice, rest requires similar discipline as normal columns)
Alternative B: Restrict JSONB to Drawings Only
Keep JSONB usage strictly limited to the drawings table and require normalized columns for all future features.
Example:
Say you wanted to store optional plant traits.
Instead of plants.extra_properties JSONB, create a typed side table:
erDiagram
plants {
INT id PK
TEXT unique_name "NOT NULL"
TEXT[] common_name_en
TEXT[] common_name_de
TEXT family
}
plant_traits {
BIGINT plant_id PK "PRIMARY KEY, FK -> plants.id"
SMALLINT water_need "0..5"
SMALLINT shade_tolerance "0..5"
BOOLEAN edible
TEXT toxicity_level
TEXT notes
}
plants ||--o| plant_traits : "has traits"
Pros:
- Changes are handled through standard, type-safe migrations instead JSON manipulation.
- Ensures stronger data integrity through explicit types, constraints, and foreign keys. (Handled by DB)
- Makes the schema more self-documenting for developers and tools.
Cons:
- Each polymorphic variant requires its own table.
- ORM models have to be changed when changes are made.
- Database schemata have to be changed as data models evolve.
- Tables might become wide with many nullable columns if data has many optional fields.
Alternative C: Phase Out JSONB
Migrate drawings into fully normalized relational structures and only use fully normalized tables in the future.
Example:
How drawings could be structured if we were to implement Alternative C.
erDiagram
drawings {
BIGINT id PK "PRIMARY KEY"
TEXT shape_type "ENUM: rectangle|ellipse|free_line|bezier_polygon|label_text|image"
NUMERIC x
NUMERIC y
NUMERIC rotation
NUMERIC scale_x
NUMERIC scale_y
TIMESTAMPTZ created_at
TIMESTAMPTZ updated_at
}
rectangle_props {
BIGINT drawing_id PK "PRIMARY KEY, FK -> drawings.id"
NUMERIC width
NUMERIC height
TEXT color
TEXT fill_pattern
NUMERIC stroke_width
}
ellipse_props {
BIGINT drawing_id PK "PRIMARY KEY, FK -> drawings.id"
NUMERIC radius_x
NUMERIC radius_y
TEXT color
TEXT fill_pattern
NUMERIC stroke_width
}
free_line_props {
BIGINT drawing_id PK "PRIMARY KEY, FK -> drawings.id"
TEXT color
TEXT fill_pattern
NUMERIC stroke_width
}
free_line_point {
BIGINT free_line_id FK "FK -> free_line_props.drawing_id"
INT idx "order in path"
NUMERIC x
NUMERIC y
PK "PRIMARY KEY (free_line_id, idx)"
}
bezier_polygon_props {
BIGINT drawing_id PK "PRIMARY KEY, FK -> drawings.id"
TEXT color
TEXT fill_pattern
NUMERIC stroke_width
}
bezier_polygon_point {
BIGINT bezier_polygon_id FK "FK -> bezier_polygon_props.drawing_id"
INT idx "order in path"
NUMERIC x
NUMERIC y
NUMERIC cp1x
NUMERIC cp1y
NUMERIC cp2x
NUMERIC cp2y
PK "PRIMARY KEY (bezier_polygon_id, idx)"
}
label_text_props {
BIGINT drawing_id PK "PRIMARY KEY, FK -> drawings.id"
TEXT text
NUMERIC width
NUMERIC height
TEXT color
}
image_props {
BIGINT drawing_id PK "PRIMARY KEY, FK -> drawings.id"
TEXT path
}
drawings ||--o| rectangle_props : "rectangle data"
drawings ||--o| ellipse_props : "ellipse data"
drawings ||--o| free_line_props : "free line data"
drawings ||--o| bezier_polygon_props : "bezier polygon data"
drawings ||--o| label_text_props : "label text data"
drawings ||--o| image_props : "image data"
free_line_props ||--|{ free_line_point : "points"
bezier_polygon_props ||--|{ bezier_polygon_point : "points"
Pros:
- Changes are handled through standard, type-safe migrations instead JSON manipulation.
- Enforces full schema integrity through explicit types, constraints, and foreign keys. (Handled by DB)
- Makes the schema more self-documenting for developers and tools.
- it is probably about 20% faster
Cons:
- Refactoring the
drawingstable and related backend code into a normalized design would require significant restructuring effort. - Each polymorphic variant requires its own table.
- ORM models have to be changed when changes are made.
- Database schemata have to be changed as data models evolve.
- Tables might become wide with many nullable columns if data has many optional fields. The above solution for
drawingsavoids this by introducing a separate table for each shape.
Decision
It was decided to go with Alternative C: Phase Out JSONB as a typesafe, futureproof option.
Rationale
Implications
- The properties field of
drawingshas to be migrated to a setup using normalized tables for the different shapes.- The new tables have to be added to the database.
- The backend has to be adapted to work with the new database structure.
Related Decisions
Notes
DDL for new Shapes Tables
-- =========================
-- BEZIER POLYGON
-- =========================
CREATE TABLE IF NOT EXISTS public.bezier_polygon_props
(
drawing_id uuid NOT NULL,
color text COLLATE pg_catalog."default",
fill_pattern text COLLATE pg_catalog."default",
stroke_width numeric,
CONSTRAINT "bezier_polygon_props_PK" PRIMARY KEY (drawing_id),
CONSTRAINT "bezier_polygon_props_FK" FOREIGN KEY (drawing_id)
REFERENCES public.drawings (id) MATCH SIMPLE
ON UPDATE CASCADE
ON DELETE CASCADE
);
CREATE TABLE IF NOT EXISTS public.bezier_polygon_point
(
bezier_polygon_id uuid NOT NULL,
idx integer NOT NULL,
x numeric,
y numeric,
CONSTRAINT "bezier_polygon_point_PK" PRIMARY KEY (bezier_polygon_id, idx),
CONSTRAINT "bezier_polygon_point_FK" FOREIGN KEY (bezier_polygon_id)
REFERENCES public.bezier_polygon_props (drawing_id) MATCH SIMPLE
ON UPDATE CASCADE
ON DELETE CASCADE
);
-- =========================
-- FREE LINE
-- =========================
CREATE TABLE IF NOT EXISTS public.free_line_props
(
drawing_id uuid NOT NULL,
color text COLLATE pg_catalog."default",
fill_pattern text COLLATE pg_catalog."default",
stroke_width numeric,
CONSTRAINT "free_line_props_PK" PRIMARY KEY (drawing_id),
CONSTRAINT "free_line_props_FK" FOREIGN KEY (drawing_id)
REFERENCES public.drawings (id) MATCH SIMPLE
ON UPDATE CASCADE
ON DELETE CASCADE
);
CREATE TABLE IF NOT EXISTS public.free_line_point
(
free_line_id uuid NOT NULL,
idx integer NOT NULL,
x numeric,
y numeric,
CONSTRAINT "free_line_point_PK" PRIMARY KEY (free_line_id, idx),
CONSTRAINT "free_line_point_FK" FOREIGN KEY (free_line_id)
REFERENCES public.free_line_props (drawing_id) MATCH SIMPLE
ON UPDATE CASCADE
ON DELETE CASCADE
);
-- =========================
-- RECTANGLE
-- =========================
CREATE TABLE IF NOT EXISTS public.rectangle_props
(
drawing_id uuid NOT NULL,
color text COLLATE pg_catalog."default",
fill_pattern text COLLATE pg_catalog."default",
stroke_width numeric,
width numeric,
height numeric,
CONSTRAINT "rectangle_props_PK" PRIMARY KEY (drawing_id),
CONSTRAINT "rectangle_props_FK" FOREIGN KEY (drawing_id)
REFERENCES public.drawings (id) MATCH SIMPLE
ON UPDATE CASCADE
ON DELETE CASCADE
);
-- =========================
-- ELLIPSE
-- =========================
CREATE TABLE IF NOT EXISTS public.ellipse_props
(
drawing_id uuid NOT NULL,
color text COLLATE pg_catalog."default",
fill_pattern text COLLATE pg_catalog."default",
stroke_width numeric,
radius_x numeric,
radius_y numeric,
CONSTRAINT "ellipse_props_PK" PRIMARY KEY (drawing_id),
CONSTRAINT "ellipse_props_FK" FOREIGN KEY (drawing_id)
REFERENCES public.drawings (id) MATCH SIMPLE
ON UPDATE CASCADE
ON DELETE CASCADE
);
-- =========================
-- LABEL TEXT
-- =========================
CREATE TABLE IF NOT EXISTS public.label_text_props
(
drawing_id uuid NOT NULL,
text text COLLATE pg_catalog."default",
color text COLLATE pg_catalog."default",
width numeric,
height numeric,
CONSTRAINT "label_text_props_PK" PRIMARY KEY (drawing_id),
CONSTRAINT "label_text_props_FK" FOREIGN KEY (drawing_id)
REFERENCES public.drawings (id) MATCH SIMPLE
ON UPDATE CASCADE
ON DELETE CASCADE
);
-- =========================
-- IMAGE
-- =========================
CREATE TABLE IF NOT EXISTS public.image_props
(
drawing_id uuid NOT NULL,
path text COLLATE pg_catalog."default",
CONSTRAINT "image_props_PK" PRIMARY KEY (drawing_id),
CONSTRAINT "image_props_FK" FOREIGN KEY (drawing_id)
REFERENCES public.drawings (id) MATCH SIMPLE
ON UPDATE CASCADE
ON DELETE CASCADE
);
Backfill Data from Properties into new Tables
-- =========================
-- BEZIER POLYGON
-- =========================
BEGIN;
-- (a) Insert per-polygon properties
INSERT INTO bezier_polygon_props (drawing_id, color, fill_pattern, stroke_width)
SELECT id,
properties->>'color',
properties->>'fillPattern',
NULLIF(properties->>'strokeWidth','')::numeric
FROM drawings
WHERE shape_type = 'bezier polygon'
AND (properties ? 'color' OR properties ? 'fillPattern' OR properties ? 'strokeWidth')
ON CONFLICT (drawing_id) DO NOTHING;
-- (b) Insert points
INSERT INTO bezier_polygon_point (bezier_polygon_id, idx, x, y)
SELECT d.id,
p.ordinality - 1 AS idx, -- 0-based index
(p.elem->>0)::numeric AS x,
(p.elem->>1)::numeric AS y
FROM drawings d
JOIN LATERAL jsonb_array_elements(d.properties->'points') WITH ORDINALITY AS p(elem, ordinality)
ON TRUE
WHERE d.shape_type = 'bezier polygon';
-- =========================
-- FREE LINE
-- =========================
INSERT INTO free_line_props (drawing_id, color, fill_pattern, stroke_width)
SELECT id,
properties->>'color',
properties->>'fillPattern',
NULLIF(properties->>'strokeWidth','')::numeric
FROM drawings
WHERE shape_type = 'free line'
ON CONFLICT (drawing_id) DO NOTHING;
INSERT INTO free_line_point (free_line_id, idx, x, y)
SELECT d.id,
p.ordinality - 1 AS idx,
(p.elem->>0)::numeric AS x,
(p.elem->>1)::numeric AS y
FROM drawings d
JOIN LATERAL jsonb_array_elements(d.properties->'points') WITH ORDINALITY AS p(elem, ordinality)
ON TRUE
WHERE d.shape_type = 'free line'
ON CONFLICT DO NOTHING;
-- =========================
-- RECTANGLE
-- =========================
INSERT INTO rectangle_props (drawing_id, color, fill_pattern, stroke_width, width, height)
SELECT id,
properties->>'color',
properties->>'fillPattern',
NULLIF(properties->>'strokeWidth','')::numeric,
NULLIF(properties->>'width','')::numeric,
NULLIF(properties->>'height','')::numeric
FROM drawings
WHERE shape_type = 'rectangle'
ON CONFLICT (drawing_id) DO NOTHING;
-- =========================
-- ELLIPSE
-- =========================
INSERT INTO ellipse_props (drawing_id, color, fill_pattern, stroke_width, radius_x, radius_y)
SELECT id,
properties->>'color',
properties->>'fillPattern',
NULLIF(properties->>'strokeWidth','')::numeric,
NULLIF(properties->>'radiusX','')::numeric,
NULLIF(properties->>'radiusY','')::numeric
FROM drawings
WHERE shape_type = 'ellipse'
ON CONFLICT (drawing_id) DO NOTHING;
-- =========================
-- LABEL TEXT
-- =========================
INSERT INTO label_text_props (drawing_id, text, color, width, height)
SELECT id,
properties->>'text',
properties->>'color',
NULLIF(properties->>'width','')::numeric,
NULLIF(properties->>'height','')::numeric
FROM drawings
WHERE shape_type = 'label text'
ON CONFLICT (drawing_id) DO NOTHING;
-- =========================
-- IMAGE
-- =========================
INSERT INTO image_props (drawing_id, path)
SELECT id,
properties->>'path'
FROM drawings
WHERE shape_type = 'image'
ON CONFLICT (drawing_id) DO NOTHING;
COMMIT;
Backend API documentation
Status: Implemented
Assignee:
Problem
We need a way to document the API in the backend.
Otherwise we would have to read the Rust Code every time we want to develop a new part of the frontend.
Constraints
- It must be easy enough to use as most people know only a little bit of Rust.
- It should take less time compared to manually maintaining API documentation.
Assumptions
- The backend's API is only used by the frontend.
- The API documentation is not used while a new endpoint is being created as there will be a lot of breaking changes during that time.
- The API documentation is used by developers wanting a nice easily accessible overview of all APIs.
- The API documentation is not fixed, it might change as the code evolves.
Solutions
Utoipa
You can think of Utoipa as the Rust equivalent to Swagger/OpenApi in Java.
It is a Rust crate which allows you to annotate your code (structs and endpoints) and automatically generate OpenApi documentation from that.
You can also generate a UI endpoint just like with Java Spring.
Compared to Swagger in Java there is a bit more you have to configure to get it running.
Once you get it running you get endpoints with schemas and examples representing the API.
You can also execute example requests directly from the UI to see how the backend behaves.
API Blueprint
Information from https://testfully.io/blog/api-blueprint/.
Before starting on a new endpoint we would write a markdown document specifying in detail what the endpoint should return and in what format.
There is also a lot of tooling for API Blueprint.
Decision
We will use Utoipa to automatically generate API documentation from code.
Additionally we will provide an endpoint which will display the API documentation using Swagger.
Rationale
With Utoipa it is possible to generate API documentation directly from code whereas with API Blueprint we would have to write the API documentation by hand in markdown files (at least I have yet to find a crate that automatically generates required markdown files).
Additionally if we where to use API Blueprint every time the API changes we would have to remember to change the markdown files as well, which is easily forgotten and might become tedious when making smaller changes.
For me (@kitzbergerg) it is easier to use Utoipa as it generates Swagger/OpenApi which I have already used.
I would have to learn API Blueprint and its tooling from scratch.
With that I would argue that more people know Swagger/OpenApi leading to easier onboarding.
One advantage of API Blueprint would be that we have to carefully think about the API (API-First Approach) before actually implementing.
This leads to a clean API in the long run, however it is more difficult to quickly prototype and try different approaches (which in my opinion is currently more important as we are somewhat at the beginning of the project).
Implications
- When deciding on a new endpoint it will take longer for the API documentation to be done, as:
- the Rust structs must be implemented
#[derive(ToSchema)]must be present for all of those structs, and- you also might need to change the API config.
- The API documentation will not deviate from the actual implementation as it is generated from code.
- Developers have to know Swagger, but once they do they can easily check the API in the browser served by the backend.
- Backend Developers have to invest some time into reading Utoipa's documentation.
If you have some understanding of Rust it shouldn't take longer than 1h to use Utoipa when creating a new endpoint for the first time (that includes reading the documentation quite thoroughly).
Related Decisions
Notes
Backend ORM/SQL Crate
Status: Implemented
Assignee:
Problem
We are currently using Diesel as our ORM in Rust.
Since Diesel doesn't support async out of the box we will look at other alternatives and see if a switch is reasonable.
The reason why I believe pure async is better in our case is that it quite difficult (especially for Rust beginners) to mix async and blocking code.
There might also be advantages of other ORM crates that as of writing this have not been considered.
Constraints
- Migrations need to be supported
- PostGIS extension need to be supported
Assumptions
- Diesel is a solid choice, therefore unless other ORMs have obvious advantages differences will not be looked at in detail.
Solutions
Diesel
Diesel currently is the most used ORM in the Rust ecosystem.
It supports migrations written in SQL that can be executed from command line.
Diesel is the ORM we are using as of writing this decisions.
Diesel with diesel_async
diesel_async is a drop-in replacement of corresponding diesel methods providing async support.
According to the author of diesel_async the project won't be officially released (meaning version 1.0) until Rust has better support for async.
As Rust version 1.67 has no async traits and the likes yet performance might be slightly worse than Diesels.
You can see the discussion about that on Reddit.
To switch from diesel to diesel_async we just would have to import different traits and make our functions async.
diesel_async doesn't provide support for async migrations.
This however is not a problem as migrations are run at startup anyways and therefore has no impact.
SeaORM
SeaORM is based upon sqlx and supports async out of the box.
It supports migrations written in Rust.
In my opinion SeaORM provides better and more easily readable documentation out of the box. This might however just be my personal preference.
See also SeaORM documentation.
Decision
We use diesel_async with postgis-diesel.
See also Diesel Documentation.
Rationale
At the current state the small advantages sea-orm might have over Diesel don't justify switching as this would involve quite a big change.
Furthermore, it seems to be slower and without support for PostGIS.
An interesting article to look at is https://www.sea-ql.org/SeaORM/docs/internal-design/diesel/.
Apart from minor differences Diesel and SeaORM provide similar functionality.
async
Both diesel_async and sea-orm provide async support.
This might not necessarily lead to a performance increase, but it is easier for (especially inexperienced) developers to stay in full async.
For example if you forget web::block when executing a query using Diesel you block the async executor (tokio in our case) until the query is finished.
We currently have a lint warning about async functions that do not use await, you will therefore notice this mistake.
However for inexperienced Rust developers it might be difficult to find out why this warning occurred as the code compiles and runs perfectly fine (especially with small loads).
This has already happened in our code.
Furthermore it is really difficult to spot blocking functions without actually knowing the whole codebase (and therefore knowing which functions are blocking).
As an example as of writing this every call to any of the functions in the service directory would block the executor.
In a PR it is almost impossible to spot something like this when you are not the one who actually wrote the function originally.
Performance
To sum up the above article:
According to this article Diesel performs the best on basically all metrics.
Diesel_async brings a slight performance decrease.
PostGIS
There is postgis-diesel for Diesel, which works for diesel_async as well.
I have found nothing similar for SeaORM.
Backend Programming Language
Status: Implemented
Assignee:
Problem
When selecting a backend programming language, a major issue is the range of options available, each with its own strengths and capabilities. This makes it challenging to determine the best language for a particular project or application.
Constraints
- The language and its ecosystem must be free software.
- The language must be performant.
- The code must be easily maintainable.
- Scalability
- Security
- Availability of developers and support
Assumptions
Considered Alternatives
- Kotlin
- Python
- JavaScript
Decision
We will use stable Rust with a fixed version, installed by rustup, as the backend programming language for PermaplanT.
Rationale
Rust has a growing community of developers and a robust ecosystem of libraries and tools, which can make it easier to build and maintain backend applications. Overall, Rust's combination of performance, safety, and support make it a viable option for backend development.
Implications
- We periodically need to upgrade the Rust version.
Related Decisions
Notes
Backend Web Framework
Status: Implemented
Assignee:
Problem
Even though Diesel provides a way to write type-safe queries in Rust that get translated to SQL, not all features of SQL are supported (e.g Diesel only supports INNER JOIN and LEFT JOIN). Furthermore, long and complicated queries (like recursive queries) are hard to read and write. The problem here is mainly development speed, we keep "fighting Diesel" instead of just writing queries.
Constraints
Assumptions
Considered Alternatives
- sqlx (We want to keep Diesel)
Decision
We will continue using Diesel for as much functionality as possible. When raw SQL is easier,
we will store the SQL in a separate file under backend/src/model/sql or include it in the migration files.
This approach allows us to use linting tools to catch potential issues in our SQL.
Rationale
We have a lot of existing Diesel code, switching to an alternative like sqlx at this time would
incur migration costs. By isolating raw SQL queries, we can maintain the benefits of type
safety in the majority of our code while still accessing the advanced features of Postgres as needed.
Implications
- There is SQL code that is not checked by Diesel.
Related Decisions
Notes
Backend Testing Strategy
Status: Implemented
Assignee:
Problem
Our current setup regarding test in the backend isn't completely thought through.
There is no differentiation between unit and integration tests.
Setting up new tests seems more complicated than necessary.
It isn't clear how the test database/connection is actually setup up or how it works with begin_test_transaction().
Constraints
- diesel and typeshare still have to work (even if we separate into binary and library part)
Assumptions
Solutions
Run all tests from the src/ directory
This is the current solution.
All tests are put into the src/ directory and run from there.
There is no real separation between unit and integration tests as all tests are treated the same.
Split into tests in src/ and tests/
This would involve splitting the backend into a binary and library part (see the rust book for reference).
The code change required for this would be rather small, mainly consisting of renaming the current main.rs into lib.rs and creating a new main.rs that calls into the library.
After this is done there would be a clear differentiation between unit and integration tests (according to the rust book definition of unit/integration tests).
- Unit tests are in
src/.
They are modules annotated with#[cfg(test)]and are supposed to test individual functions or smaller parts of the code (see here).
We might not even need to create unit tests as of now as there are no complicated functions. - Integration tests are in
tests/.
They are separate from the other code and only have access to public facing API (in this case meaning public functions/structs/... that can be accessed from outside the library part; see here).
Using this we would start the server similarly to howmain.rsstarts the server and then make requests and validate responses.
A major advantage of this approach is that the server is actually started in a very similar way to how it would be started via cargo run.
On the other hand it might be more difficult to set up tests as you first have to start the server (in its own thread), wait until it is up and then send requests to it (probably with something like reqwest).
Decision
We should keep the tests only in src/. We should still do a bit of refactoring for the tests we currently have, although there won't be major changes.
Tests in src/test/ are from now on defined as backend integration tests.
Tests in other modules/files have to look like the following and are defined as unit tests:
#![allow(unused)] fn main() { struct Plants; #[cfg(test)] mod tests { use super::*; #[test] fn test_plants() { // Test complicated plants function here todo!() } } }
Rationale
Our project is not a library therefore splitting it into binary and library part doesn't really make much sense.
Actix itself writes tests as unit tests (although they are in part called integration tests in their documentation). It just seems easier to define specific services and handlers that you want to test.
Most resources I found use integration tests exclusively for libraries. Application servers are tested without starting the whole server, but rather by calling individual endpoints (like in Actix' documentation).
Implications
Related Decisions
Notes
Backend Web Framework
Status: Implemented
Assignee:
Problem
When looking for a web framework for Rust, one of the main challenges is that there are many different options to choose from, each with its own set of features and capabilities
Constraints
Assumptions
Considered Alternatives
- Salvo (faster than Actix but no Diesel integration)
- Xitca (unstable)
- Axum (quite slow)
- Rocket (quite slow)
Decision
We will use Actix Web as the backend web framework for the Permaplant app.
Rationale
Actix Web is a web framework for Rust that is known for its high performance, modular design, and extensibility. Some of the reasons why Actix Web is a good choice for a web project include its focus on scalability and reliability, its support for asynchronous programming, and its rich ecosystem of plugins and extensions:
Implications
Related Decisions
Notes
CI/CD
Status: Implemented
Assignee:
Problem
We need to implement a continuous integration and delivery (CI/CD) process to automate the build, testing, and deployment of the app.
Constraints
- The CI/CD process must be compatible with our version control system (Git).
- The process must be able to run automated tests as part of the build process.
Assumptions
- The app is well-structured and easy to test.
Considered Alternatives
GitHub Actions: GitHub Actions is a cloud-based service that is built into GitHub and is specifically designed for CI/CD with GitHub repositories. It is easy to use and requires little technical knowledge to set up. However, it may not be as flexible as some other alternatives, and it may not be suitable for projects that require more advanced CI/CD capabilities.
Decision
We will use Jenkins for our CI/CD process.
Rationale
While GitHub Actions is a convenient and easy-to-use option, it may not be as flexible as Jenkins, which has a wider range of features and plugins. In addition, Jenkins is an open-source tool that is widely used and has a large community of users and developers, which means that it is likely to be well-documented and supported. Finally, Jenkins is compatible with a wide range of tools and services, which may be important for the app as it grows and evolves.
Implications
Related Decisions
Notes
Database
Status: Implemented
Assignee:
Problem
The challenges of choosing a database include finding a database that meets the specific needs and requirements of the application or project. PermaplanT will have several thousands of entries including plants.
Constraints
- The database must support the app's needs for storing and querying plant information.
- The database should be scalable and able to handle potential future increases in users and data.
- The database should be well-supported and have a strong community.
- The database should have extra types for geometry and raster.
Assumptions
Considered Alternatives
- MySQL: MySQL is a popular and well-supported open-source database Both PostgreSQL and MySQL are relational databases however, PostgreSQL is more flexible when it comes to data types and allows for more advanced data types, such as arrays and JSON. This can be useful for applications like PermaplanT that may have more complex data structures.
- MongoDB: MongoDB is a popular NoSQL database. The data for the app is likely to be structured and have relationships between different entities, such as field plants, trees, and landscapes. A relational database would be more suited.
Decision
We will use PostgreSQL as the database for the PermaplanT app in addition with a PostGIS extension for spatial queries. To use it in Rust we will use theORM engine Diesel with PostGIS Diesel.
Rationale
PostgreSQL is a well-supported and widely-used open-source database that is capable of handling the complex data structures and querying needs of the PermaplanT app. It is also scalable and has a strong community, making it a good choice for the app's database needs.
PostGIS is an open-source extension for PostgreSQL that enables the storage and manipulation of spatial data, such as points, lines, and polygons. It provides various functions and operators for performing spatial queries. As almost all entries in the database include their coordinates, PostGIS is a valuable tool for querying and working with spatial data.
Implications
- The app will need to be configured to use PostgreSQL as its database.
- Any queries or data access code in the app will need to be updated to use PostgreSQL-specific syntax and features.
- The app will need to be tested with PostgreSQL to ensure compatibility and performance.
Related Decisions
Notes
Database Plant Hierarchy
Status: Implemented
Assignee:
Problem
The challenge is to define the structure of the database in a way that the data:
- can be easily queried so the most specific data according the taxonomy is retrieved and
- updated without redundancy (e.g. setting attributes for a whole family).
Here we will discuss how the hierarchy should be defined in the database.
Constraints
- The database structure should represent the simplified taxonomy we need for PermaplanT.
- There must be a unique identifier for later updates of the database.
Assumptions
- Performance of the database is efficient enough.
- Subfamilies will not be introduced by PFAF/Permapeople.
- A new plant added by us won't need subfamilies.
- We don't need convar between species and variety.
- It is acceptable that plants can only be inserted and updated by running the scraper pipeline.
Considered Alternatives
Inheritance feature of PSQL
Inheritance cannot solve the challenge. See the PSQL documentation as cited here:
Inheritance does not automatically propagate data from INSERT or COPY commands to other tables in the inheritance hierarchy.
All check constraints and not-null constraints on a parent table are automatically inherited by its children, unless explicitly specified otherwise with NO INHERIT clauses. Other types of constraints (unique, primary key, and foreign key constraints) are not inherited.
Table inheritance is typically established when the child table is created, using the INHERITS clause of the CREATE TABLE statement.
So the inheritance is useful to deal with complex DDL structure on the startup, but will not help us to avoid bulk operations e.g. updating a column for every variety in the entire genus
One table per taxonomy rank and one for concrete plants.
Pros:
- Schema is easy to understand.
Cons:
By splitting the taxonomy ranks into multiple tables we loose the ability to have simple foreign keys to these when defining plant relationships. There would be two approaches to alleviate this.
- Manage multiple nullable foreign keys and make sure that exactly one of them is set. Would lead to complex validations for inserts and updates.
- Generalize it to a self-managed compound foreign key with a table name and id. We would lose referential integrity here.
One table for taxonomy ranks and one for concrete plants.
Pros:
- Inserting new plants is easy.
Cons:
- Attribute overrides can only be done on variety or cultivar level.
- More complex insert and update logic. When a species/variety is added or updated the columns can't just be set. First we need to make sure all higher levels are in the table. Then we need to check for each column value if there is a higher rank that already defines the same value. Only if we can't find a match the value should be written.
All ranks in one table.
Pros:
- Flexible and extendable.
- Allow attribute overrides on arbitrary level.
Cons:
- Almost everything in the plants table needs to be nullable.
- More complex insert and update logic.
All ranks in one table - Hierarchy/inherited attributes determined in scraper
The same as the previous alternative "All ranks in one table", but inherited attributes are no longer calculated at runtime.
Instead, we determine the hierarchy and inherited attributes in the scraper and insert it all directly into the plants table.
Pros:
- Flexible and extendable.
- Allows attribute overrides on any level.
- Also allows planting of families, genera and species without changes to the frontend.
- No complex insert / update logic.
- Simple and fast SQL queries.
Cons:
- Harder to maintain data integrity.
Countermeasures see below. - Must rerun scraper when data changes.
Decision
- We go with the last option "All ranks in one table - Hierarchy/inherited attributes determined in scraper" as described in our documentation.
- We rename "binomial name" to "unique name" and guarantee that it is unique.
- We add "cultivar" as lowest rank.
- We remove the rank "subfamily".
- We determine the hierarchy and inherited attributes in the scraper and insert them directly into the
plantstable. - We adjust and amend data in the scraper using .csv files.
- We check data integrity using tests in the scraper as well as database constraints and triggers.
Rationale
Having everything in one table makes maintenance of the database easier: Attributes of plants, and especially icons, can be defined on any rank level.
We need a unique name (across all entries) for updates. We call it unique name (and not scientific or Latin) because cultivar:
- don't have a scientific name.
- don't have a Latin name.
There are no attributes which need a rank higher than family, see:
- https://www.youtube.com/watch?v=0hAhy30_6fc
- https://www.try-db.org/TryWeb/Home.php
- Lüttge, Kluge, Bauer (2005): Botanik. Wiley-vch Verlag.
- Das große Buch der Biologie.
Subfamily gets removed because:
- is currently not present in the database.
- the traits specific to subfamilies are not very important to PermaplanT.
- a new plant assigned to a subfamily can be assigned (manually) to the family as well.
Implications
- Unique names must be unique.
- Unique names must be carefully renamed according to our schema.
- Updates must be done carefully to de-duplicate information.
Related Decisions
NA
Notes
The relationships schemata shown in these examples all have a column that distinguished between companions and antagonists. Looking at the example queries for selecting companion plants for groups it might be more efficient to split this table.
Drawing Library
Status: Implemented
Assignee:
Problem
The PermaplanT App needs a graphics library to build one of its core features using the canvas.
Constraints
- Should work without WebGL etc.
- The library must provide an easy-to-use API for creating and manipulating canvas elements.
- The library should be well-supported and have a strong community.
- The library should be able to import well-known raster formats.
- Optionally, the library should also support drawing operations.
- The library must be free software, compatible with our license.
- The library must be compatible at least on Chromium and Firefox.
- If the selected library does not have the necessary features, it is permitted to use another library in conjunction with it.
Assumptions
Considered Alternatives
- HTML5 Canvas API:
The HTML5 Canvas API is a widely-supported and well-documented option for creating and manipulating 2D graphics in a web page. However, it provides a low-level API that may require more work to use than some of the other options. For example, the HTML5 canvas API does not provide a built-in support for grouping or layering elements which can make it more difficult to organize and manipulate complex graphic elements. - Raphaël:
Raphaël is a JavaScript library that provides a simple API for creating and manipulating SVG graphics. However, it may not be as well-suited for creating canvas-based graphics as some of the other options. - Pixi.js:
Pixi.js is a 2D graphics library that is designed for creating fast, interactive graphics for games and other applications. However, it relies on WebGL for rendering. One of the main disadvantages of WebGL is that it can be resource-intensive, as it relies on the GPU to render graphics and animations. In addition, WebGL requires a modern web browser that supports the API, which may not be available on older devices. This can limit the reach of applications that use WebGL. Furthermore, WebGL is not necessarily needed when creating a canvas-based application, as the HTML5 Canvas API and libraries built on top of it already provide a set of tools and functions for drawing and manipulating graphics on a canvas element. - Fabric.js:
Fabric.js is a JavaScript Library for creating and manipulating graphics and visual elements in web applications. Fabric.js is often used in applications that require the creation of complex graphics or visual elements, such as games, data visualizations, and interactive graphics. It is generally considered to be less performant than other alternatives like Konva especially when working with large numbers of objects. Additionally, Fabric.js does not have a built-in layering system like Konva.
Decision
We will use Konva as the 2D graphics library for the PermaplanT app.
Rationale
Konva is a well-supported and widely-used 2D graphics library that works in all browsers that are capable of running ES6 Javascript code. It has support for a wide range of features, including drawing shapes, text, and images, as well as transformations and animations. It is built on top of the HTML Canvas API and provides a higher-level, more declarative interface for creating and manipulating canvas elements. Additionally, it is very performant even with a large number of objects: Konva drag and drop with 10000 shapes stress test. It also has layer and opacity/transparency features.
Implications
Related Decisions
Notes
Frontend Architecture Pattern
Status: Implemented
Assignee:
Problem
PermaplanT needs to be designed with a documented, consistent and maintainable architecture pattern.
Constraints
The architecture pattern should be
- easy to understand and follow
- be easy to test
- be easy to scale
- be suitable for a large, highly-interactive application
- promote code reuse
- be well-documented and widely used in the React community
Considered Alternatives
Decision
Bulletproof React will be used as frontend architecture and guideline for PermaplanT. Choices or derivations of this guidelines will be documented in our architecture.
Rationale
Bulletproof React is a set of best practices and conventions that promote code reuse and make it easy to reason about the structure of the application. It's simple, easy to understand, and easy to test. This makes it a good choice for a large, complex application like PermaplanT. Additionally, it is well-documented and widely used in the React community, which means that there is a lot of resources and support available for it.
Architecture Benefits in Practice
Moreover, this structure provides several benefits:
- Scalability: New features can be added without affecting existing code
- Maintainability: Related code is co-located, making it easier to understand and modify
- Testability: Each feature can be tested in isolation
- Reusability: Shared components and hooks prevent code duplication
- Team Collaboration: Developers can work on different features independently
Implications
- Developers must follow the established folder structure when adding new features
- Shared components should be designed for reusability across multiple features
- Reused business or technical logic should be extracted into custom hooks or utilities
- Feature-specific code should remain within feature boundaries
Related Decisions
Notes
- "bulletproof react" architecture pattern is developed by the team at Level Up Tutorials. It is not an official pattern by React.
Frontend Build Tool
Status: Implemented
Assignee:
Problem
We need to choose a build tool for the React frontend of our application that can bundle various types of assets, such as JavaScript, CSS, and images that can be efficiently loaded by the browser.
Constraints
- The build tool must provide optimization features such as tree shaking to reduce bundle size.
- The build tool must have good documentation and a large community of users.
- The build tool should provide good performance and fast build times.
Assumptions
- The build tool's learning curve will not be too steep for the development team.
- The build tool will not add unnecessary bloat to the app.
Considered Alternatives
- Webpack: Webpack is a popular and widely-used build tool that has good support for React. It has a large plugin ecosystem and can handle a wide range of use cases. However, it can have a steep learning curve and may require a lot of configuration to set up.
- Rollup: Rollup is focused on providing efficient tree-shaking and code-splitting to reduce bundle size. It has a simpler configuration than Webpack and a good support community.
- Parcel: Parcel is a newer build tool that is known for its simplicity and fast performance.
Decision
We will use Vite as the build tool for the React frontend of our application.
Rationale
In general, Vite offers a faster and more efficient development experience. It serves individual ES modules to the browser during development, allowing it to start up nearly instantly. Hot Module Replacement(HMR) only needs to replace one small file instead of rebundling the entire app, making rebuilds quick. Vite also uses Rollup underneath for production builds to perform an aggressive dead-code elimination (tree shaking), which in general results in smaller bundle sizes.
Implications
Related Decisions
Notes
Collect changes to guided tour
Status: Implemented
Assignee: Elia
Problem
The guided tour aims to lead new users through the features and functionalities of PermaplanT's Frontend. When user facing features change or get added this affects the guided tour. Currently there is no unified way to track and collect issues that implement changes impacting the guided tour.
Example: A new filter feature gets added to the frontend but because there are no clear responsibilities for updating the guided tour the new feature isn't included and users of the site don't know how to access or use the feature or miss it completely.
Constraints
- The process for collecting guided tour–related issues must be quick, intuitive, and require minimal additional effort from developers.
- The collected issues must be easily visible and accessible to the person(s) responsible for maintaining and updating the guided tour.
Assumptions
- The collection of issues will take some additional effort.
- Untracked changes will always be possible.
Solutions
Alternative A
Adding checklist item to issue templates ("Does this affect the guided tour?")
Developers mark issues impacting the guided tour by checking this new checkbox in the issue template.
Alternative B
Creating a new label "affects::guided-tour"
Developers mark issues impacting the guided tour by adding this new tag.
Alternative C
Adding dedicated section to issue templates for guided tour impacts
More indepth impact tracking by adding a new section to issue templates. Developers can give more detailed information about the guided tour impact of issues by describing how their changes might affect the guided tour.
Decision
A workflow using a combination of the above alternatives will be created and refined. This workflow will ensure the efficient tracking of issues that impact the guided tour while ensuring the concrete impacts themselves are also documented in sufficient detail. The workflow is specified in guided_tour_updates.md
Rationale
The use of a single alternative does not fully cover the requirements of the issue collection. A combined approach, defined within a clear workflow, will ensure both the systematic collection of relevant issues and the easy accessibility of the information needed by those responsible for maintaining the guided tour.
Implications
- The workflow has to be created, refined and implemented.
- Developers have to remember to follow the steps of the workflow.
Frontend Documentation
Status: Implemented
Assignee:
Problem
We need to choose a workflow, tooling that helps us to keep the documentation up to date. An easy-to-read and up-to-date documentation reduces the entry barrier for newcomers. Without proper documentation maintenance becomes increasingly more difficult as the project grows.
Constraints
- The documentation should be easy to navigate.
- The documentation should, for the most part, be automatically extracted from the source code.
- The documentation should be searchable.
Assumptions
- With a good and beautiful documentation tool, developers are more likely to use and maintain it.
- With a documentation tool that enables the viewing of react components, the code quality is improved.
- The rules about component design in contrib/frontend are followed.
- With an overview of all presentation components, the whole team can instantly see what is available.
Considered Alternatives (documentation extraction)
-
API-Extractor: API-Extractor is a tool to extract the public API of a typescript project. It is more suited for libraries.
-
React Docgen: React Docgen is a tool from the React Community to extract information from React Components for documentation generation purposes.
- It is not actively maintained anymore.
- It does not generate markdown files, so an additional step is needed, to get just the most basic information.
-
JSDoc: JSDoc is an API documentation generator for JavaScript. It is more suited for JavaScript.
Decision
We will use TypeDoc with the markdown plugin to extract documentation from the source code.
Rationale
- TypeDoc has automatic support for most tags of JSDoc via the TypeScript compiler.
- Additional tags are supported as well.
- It is easy to configure and invoke.
- It is extensible via plugins.
Considered Alternatives (viewing components)
- React Styleguidist: React Styleguidist Is a popular and maintained solution to develop a project-wide style guide in React. It has fewer features than Storybook. It is hard to setup, as it assumes the usage of Create React App.
- Docusaurus: Docusaurus Is a popular solution for generating static documentation websites. It is more targeted towards manually written documentation and has less features specifically targeting how a component should be used.
Decision
We will use Storybook to enable a project-wide component overview and style guide.
It has support for MDX, a format that enables embeddable components in Markdown.
It has support for automated testing via Vitest and Playwright.
Rationale
With Storybook the extracted documentation from TypeDoc can viewed as standalone documentation pages. It works well with Vite and is relatively easy to setup.
Implications
-
To install storybook a
.npmrcfile withlegacy-peer-deps=trueis required. This causes npm to behave like in version 6, not installing peer-dependencies automatically. This should not cause any problems down the line, but storybook could be extracted into it's own package, with more configuration involved. -
A little plugin needs to be developed to link
Storybookand the extracted markdown files fromTypeDocautomatically.
Related Decisions
Notes
Notes about embedded markdown
Without the plugin, we will need to write a .mdx file for each extracted markdown file.
Also links inside the markdown will not work without the plugin.
import Md from './docs/enums/bindings_definitions.Quality.md';
import './markdown.css';
import { Description, Meta } from '@storybook/addon-docs/blocks';
import React from 'react';
<Meta
title="Enumeration: Quality"
parameters={{
viewMode: 'docs',
previewTabs: {
canvas: { hidden: true },
},
}}
/>
<Md />
How to structure a storybook
https://storybook.js.org/blog/structuring-your-storybook/
E2E Testing
Status: Implemented
Assignee: Chris
Problem
There is currently no existing e2e tests locally and in the pipeline. This allows for increased frontend bugs and regression. It lacks profound decision making which framework to pick.
Constraints
- Behavior-driven development
- a) We want to have .feature files and stick to the Gherkin syntax.
- Page Object Design Pattern
- a) A programming language that supports classes
- The library must be free software.
- A minimalistic and simplistic solution (little lines/characters).
- The framework must have an active community.
- Headless browser support so we can run the tests in our automated pipeline.
Assumptions
- Understanding of BDD practices and principles, including writing feature files using the Gherkin syntax.
- Familiarity with the Page Object Design Pattern and its implementation for creating modular and maintainable test code.
- Knowledge of end-to-end testing concepts and best practices.
- Basic understanding of Python programming language and its syntax.
- Having heard of pytest and its usage for test execution and assertions.
Solutions
Java + Selenium
Java with Selenium is a popular and well-established choice for web test automation. While it remains a reliable option, there are personal preferences and concerns about Oracle's licensing changes, and there are other languages that can do the same with less boilerplate.
Typescript + Playwright
Typescript with Playwright is a powerful combination for web test automation. However, concerns regarding potential code complexity and the temptation to write complicated workarounds influenced the decision to avoid Typescript as the testing language (see Constraint 4).
Typescript + Cypress
Similar to Playwright, Cypress is another Typescript-based test automation framework. However, it was not chosen due to the same concerns about Typescript mentioned earlier.
Robot Framework
The Robot Framework, while supporting Python and following BDD principles, has its own syntax and separate resource file management, which contradicts the first constraint of the project. On top of that it is not really used in the fields of frontend testing, even though it has a separate web testing library. The information regarding this library is scarce on the internet, and this might cause problems. According to @4ydan it has a steeper learning curve, because not only does it introduce a Gherkin similar syntax but also drives its tests with keywords, which conflicts with the desire for an easy-to-learn and minimal solution. @markus2330 didn't find it difficult to learn.
Puppeteer
Puppeteer is a viable alternative to Playwright, as it also provides automation capabilities for Chrome and Chromium-based browsers. However, the decision to use Python as the programming language led to the preference for Playwright for Python.
Python + Selenium + Behave
Python with the Behave framework is capable of fulfilling the requirements. However, pytest-bdd was preferred over Behave due to its integration with pytest and the added feature of parallel test execution, which should give the low performance stack a slight boost. Playwright was preferred over Selenium because it was easier to install and the browser integration into python was way smoother.
Decision
We use Playwright for Python as the test automation framework. Python's readability, ease of use, and extensive ecosystem make it a solid choice for test automation.
Additionally we will need the following libraries:
Rationale
Python
Introducing a new language and gherkin to the stack might at first sound challenging and not make much sense, but this decision has a reasoning. I prefer Python over Typescript because Python is easier to maintain and read in the long run. You can solve the same problems in any of the frameworks, so why not chose the simplest one? One could argue that simplicity and preference is relative, discussing that would go beyond the scope of this document.
Playwright
Playwright for Python offers comprehensive browser automation capabilities, aligns well with Python's syntax and ecosystem, and satisfies the project's constraints and requirements. Additionally, Playwright for Python provides a very clear documentation, which makes it easier for developers who are not so experienced with frontend testing, to get started quickly. Furthermore the projects performance tests and scraper utilize playwright, which makes it fit good.
Gherkin
Choosing to have the Gherkin syntax is adding an extra step to writing tests but with a clear benefit which I will mention later. Furthermore the Gherkin syntax can be reused with other frameworks if Playwright and Python want to be replaced.
BDD
Behavior Driven development (BDD) is an agile software development methodology that aims to align the development process with the desired behavior of the software. By using BDD, tests can be written in a format that is easily understood by domain experts, enabling the collaboration and effective communication between them and developers. Given PermaplanT's close collaboration with permaculture domain experts, the adoption of BDD is beneficial for the project, as it enables clear communication and alignment between the development team and domain experts. Additionally, BDD fits seamlessly with the already established agile development practices of the development team.
POM
Page Object Models (POMs) are a valuable concept when it comes to improving code complexity in test automation. POMs help to separate concerns and encapsulate the functionalities of individual pages or components. This approach encourages developers to write more modular and maintainable code, as each page object represents a specific page or component and contains the associated actions and assertions. By utilizing POMs, the codebase becomes more organized, easier to read, and simpler to maintain, ultimately enhancing the overall quality of the test automation framework.
This solution has probably a steep learning curve, but once getting the hang of it, implementing tests becomes very easy.
Implications
- Write Guidelines for writing these Tests (BDD/POM, TDD, etc.).
- Write Guidelines on how to write a testable frontend.
Notes
Frontend Keyhandling
Status: Implemented
Assignee:
Problem
In the development of PermaplanT, we have identified the need for a robust keybinding system to enhance the developer experience. During research we considered to use some npm packages that provide keybinding functionality.
Constraints
Our keybinding solution should adhere to the following constraints:
- Developer-friendly: Developers should get an overview where which key binding is assigned.
- Ease of Integration: The keybinding system should be straightforward to integrate into different components of the application.
- UX: Collisions between shortcuts which trigger multiple actions at once should be avoided.
Solution
React-hotkeys
- Link: react-hotkeys
- provides a component that receives a keymap and actionhandlers and listens to events if a child of the component is in focus.
- It seems to be very suitable for encapsulating events
- however, it doesn't really solve the challenge of focus konva layers
- and although the library is widely used the last release was 4 years ago.
React-hotkeys-hook
- Link: react-hotkeys-hook
- provides a hook for binding keys in components and also
- offers scoping abilities.
- however, integration seems not to be as straightforward as with a custom solution and so it doesn't really solve a problem for us.
Decision
- We don't use any of the packages.
- Guideline: doc/guidelines/frontend-keyhandling.md
Rational
- We already have a custom keybinding hook and currently don't need any of the features provided by the packages.
- The custom hook gives us more flexibility and is easier to integrate into our components.
Frontend Lazyloading
Status: Implemented
Assignee:
Problem
The application's main component is the map, which consists of multiple layers and even more elements. The map does not only consist of elements for the current date, but also for the past and future dates. Not all layers or elements are visible simultaneously, however, nor are they required during the initial loading of the application.
Loading all the data at once during the initial load may result in slower performance, therefore a strategy must be developed to lazyload data on the map to optimize its performance. In other words, the data which is not required for the user to start working with the map should not be loaded during the startup.
Constraints
- Fast startup time
- Supports performance constraints of the usecases
Assumptions
- The majority of layers are only modified once a year
- The loading of all the data at once during the initial load would result in unacceptable performance
Solutions
Full fetch
Fetching all the data from the backend during the initial load, while making the map available immediately, may not be the most optimal solution as it would lead to a slower initial load time.
Compared to the other solutions, network traffic would be higher due to the larger payload, and the user may have to wait longer before being able to interact with the map.
Pagination
If map data would be stored in a single table with uniform entries in a database, we could use pagination to retrieve the data in sections. This approach would enable loading only the essential data during the initial load by fetching a specific portion i.e. page of the data.
However, since the canvas data is structured in a nested manner, we cannot implement the same approach of fetching data in sections as we would do with a flat array structure.
SQL VIEW tables
To avoid fetching unnecessary data during the initial load, an SQL view could be created on the database side i.e. return only visible layers for the current date.
Implementing this solution, however, would require writing additional SQL queries. This may not be the most efficient approach since the same outcome can be achieved through the parameterized backend (which is using the rust query builder anyway) endpoints described below in the final solution.
Decision
In order to improve the performance of the application's initial load, it is advisable to load only the necessary data and load the rest on demand. The most effective way to achieve this is through the backend, which can define endpoints with additional parameters that allow the frontend to request only the required data for the initial load:
- separate endpoints for different layers
- have date as parameter to these endpoints so that only the current relevant elements (already added, not yet removed) can be retrieved
Rationale
Creating endpoints with additional parameters that allow the frontend to request only the required data for the initial load is a more flexible way to implement lazy loading compared to other approaches. This will allow backend developers to define the strategy themselves and have full control over the data that is being loaded.
The following table is the outcome of the performance tests that were conducted by measuring the loading times of the application with different number of elements and layers on the map. As it can be seen, the number of layers does not have a significant impact on the loading time, however, the number of elements does.
| Test name | firstContentfulPaint (ms) | interactive (ms) |
|---|---|---|
| empty canvas | 4971.2 | 6184.8 |
| 3 elements | 4968.6 | 6232.8 |
| 3 circles of same shape | 4966.2 | 6266.8 |
| 100 circles | 4966.6 | 6175.6 |
| 1000 circles | 4690 | 7634.6 |
| 10000 circles with 1 layer | 4963 | 26389.2 |
| 10000 circles with 10 layer | 4958.4 | 26790.6 |
Implications
N/A
Related Decisions
N/A
Notes
- Performance tips from KonvaJS: https://konvajs.org/docs/performance/All_Performance_Tips.html
- Drag and Drop Stress Test with 10000 Shapes https://konvajs.org/docs/sandbox/Drag_and_Drop_Stress_Test.html
Frontend Offloading
Status: Implemented
Assignee:
Problem
As the user continues to add more layers and objects to the map, it may lead to slower performance and increased memory usage on the client side. To avoid this, a strategy must be developed to offload the data that has already been synchronized with the backend from the frontend.
Constraints
- Memory usage should be kept to a minimum to avoid performance issues
- The application should be able to handle large amounts of data
Assumptions
- Users typically don't do changes across all years.
- Users might be invited to activate many layers for a short time due to gamification.
- Memory issues only occur when having many layers active and not because of a single layer.
Solutions
No Offloading
The state of the frontend application will be kept in the React state without offloading it.
The maximum size of the React state is not explicitly defined in the official documentation, but it is related to the device's RAM and the browser's memory usage.
Remove Unused Elements from the Frontend State
One solution to offload data from the frontend state is to remove the data that is not frequently required for the user to continue working with the map. This approach can increase the application's complexity, however, as it requires:
- defining the conditions under which data should be removed from the state. E.g. offload data that is not visible on the map or offload data that is not required for the currently selected date.
- how to retrieve the data again.
Store Data in IndexedDB
Another solution is to store the offloaded data in IndexedDB, which is a browser-based object-oriented database.
This approach could reduce memory usage and improve performance, as objects can be offloaded and loaded on-demand from the IndexedDB, while not storing them in the PermaplanT database. But this method increases the complexity of the application, as it requires additional strategies to manage the synchronization of data between the IndexedDB and the PermaplanT database.
The official documentation of IndexedDB can be found here.
Decision
We offload layers with the highest amount of objects that were not used for a longer time (~15 min) from the frontend state.
Furthermore, we keep the state as structured as possible
Rationale
While similar to remove unused elements, per layer is a more efficient:
- only a few rules are needed: only per layer and only for the layers with many elements
- tracking when the layer was activated last time is much easier than tracking individual elements
The disadvantage of this approach is, that it cannot scope with memory issues within a single layer. (Or only indirectly: if a layer gets offloaded, then also all years of that layer are discarded.)
Even though modern browsers handle memory usage well, it's important to consider the impact of the state size on application rendering. React utilizes a virtual DOM(The Document Object Model i.e. DOM) that's a copy of the real DOM, and it compares them when the state changes to update only the necessary parts of the real DOM. As a result, if the entire map information is stored in a single object, any state changes (e.g. changing the position of an object) will require updates to every element of the real DOM, which depend on the map information i.e. the entire map. Therefore, keeping the state as structured as possible in it can help optimize application rendering.
Implications
- Undo/redo functionality: Once the data is offloaded and permanently removed from the frontend state, it can't be retrieved to utilize the undo/redo functionality anymore. So for the undo/redo functionality, it will be the same as the fresh start of the application. I.e. for layers that were offloaded, undo/redo is lost.
- Structured state: As there is no offloading within a layer, we need to keeping the state as structured as possible to avoid performance issues.
Related Decisions
Notes
-
IndexedDB. Mozilla Developer Network (MDN) documentation on IndexedDB:
https://developer.mozilla.org/en-US/docs/Web/API/IndexedDB_API
Frontend Programming Language
Status: Implemented
Assignee:
Problem
The PermaplanT app needs a frontend programming language to build its user interface and provide interactivity for its users.
Constraints
- The programming language must be widely supported and have a large developer community.
- The frontend language must be compatible with modern web browsers, including Firefox and Chromium.
- The language must be easy to learn and use, to allow for a range of skill levels among developers.
- The language must have good support for modern web technologies like HTML5 and CSS3.
- The language must be suitable for use in a PWA environment.
- We want to use a typed language to improve maintainability and catch errors earlier in the development process.
Assumptions
- The use of TypeScript as a frontend programming language will enable the app to be developed quickly and efficiently.
- TypeScript has a large and active developer community, which will provide support and resources for the development of the app.
- The use of TypeScript will enable the creation of visually appealing and interactive user interfaces.
- TypeScript will provide sufficient type checking to improve the maintainability of our codebase.
- TypeScript will not significantly impact the performance of our application.
Considered Alternatives
- JavaScript: JavaScript is the default language for React, and the most commonly used language for frontend development. However, JavaScript is a dynamically typed language, which can make it error-prone and less maintainable in the long term.
- Rust: Rust is primarily used for creating backend systems, applications, and libraries. It is not typically used for frontend development, as it does not have built-in support for graphical user interface development. Libraries like yew are simply not stable enough yet. See also this lengthy comparison of web UI libraries.
Decision
We will use TypeScript 4.9.3 as the frontend programming language for app.
Rationale & Implications
TypeScript is a statically-typed language that is a superset of JavaScript, meaning that it includes all the features of JavaScript in addition to additional type-related features. This can help improve the overall quality and maintainability of the codebase by catching potential errors at compile-time rather than runtime, as well as enabling better editor support and code navigation. Additionally, TypeScript's type system allows for the creation of more scalable and reusable code, as well as easier refactoring and code review processes. In comparison to other frontend languages, TypeScript offers a strong balance between the benefits of static typing and the flexibility and familiarity of JavaScript, making it a suitable choice for the PermaplanT app.
The app will be able to take advantage of the large ecosystem of libraries and resources available for TypeScript development.
Related Decisions
- The decision to support multiple platforms and browsers.
- The decision to prioritize a smooth and interactive user experience.
- Decision: Frontend UI Framework
Notes
Frontend State Management
Status: Implemented
Assignee:
Problem
PermaplanT is a web application built with React that requires efficient and flexible state management. Inside a React application we can usually distinguish between three types of state:
- Local Component State: Is the dropdown open or not, is the link active or not, and so on.
- Global Application State (Synchronous): Local user preferences, Sidenav is open, UI state in a visual design app.
- Server State (Asynchronous): A network request is needed before any state can be derived.
Constraints
- The state management library must support React and work seamlessly with the rest of the application's technology stack.
- The library should be well-maintained, have a large community of developers, and a good documentation.
Considered Alternatives
Global Application State
- Redux Requires more complex setup, boilerplate and has a steeper learning curve than Zustand.
- React context Requires complex custom state management solution for complex application
- MobX Requires basic understanding of reactive programming - may otherwise lead to inconsistencies and performance problems.
- Recoil Recoil is still in experimental state, not yet recommended for production (16.03.2023).
Server State
- SWR Fewer features than React Query
Decision
Local Component State
No library is needed.
Managing component state can be accomplished with React features (useState, Context + useReducer).
Global Application State
Zustand will be used as the global state management library for PermaplanT.
Zustand is a lightweight and easy-to-use library that uses hooks, which makes it easy to integrate with React. Its simplicity also reduces the amount of boilerplate code and the need for complex setup and configuration.
Zustand also provides the Persist middleware which enables storing state in any type of storage.
Another benefit of Persist is the serialization and deserialization support for fields of type Map and Set.
Persist's partialize method can be used to store only selected fields of the state.
Server State
TanStack React Query v4 will be used for managing asynchronous state.
React Query is a feature rich, up-to-date library for managing asynchronous data.
Implications
Related Decisions
- Choosing React as the frontend library for PermaplanT
Notes
Links
- https://medium.com/readytowork-org/its-zustand-vs-redux-8e24424df713
- https://tanstack.com/query/latest/docs/react/guides/does-this-replace-client-state
- https://tanstack.com/query/v4/docs/react/comparison
Timeline: Custom Date Picker Implementation Decision
Status: Implemented
Assignee:
Problem
To implement the timeline feature, we require a custom date picker capable of displaying indicators for plant additions and removals.
Constraints
- Timeline should be user-friendly and intuitive
- event indicators can be shown on the timeline
Solutions
Initially, the team considered using ReactCharts, a powerful charting library. However, it is not designed for date selection because of following reasons:
- React-Charts is a robust library for rendering various charts and graphs, but it lacks the precise date selection functionality required for this project. Customizing the library for date selection may prove complex and may not deliver the desired user experience.
- React-Charts, designed for data visualization, might introduce unnecessary complexities for date selection.
As a result, we have decided to create custom components for building the timeslider.
Decision
The custom timeline will consist of following components:
-
Picker Slider: A draggable and scrollable slider where the middle element is the selected one. The elements displayed on the slider can also be customized to accommodate event indicators for each date.
-
Date Picker Component: This component will consist of three sliders for year, month, and day selection. It will be responsible for synchronizing the sliders and calculating data for event indicators. Event indicators will be simple bars or divs – a green one for plant additions and a red one for removal – resembling a mini bar chart.
Rationale
-
A dedicated date picker offers a simplified user interface, ensuring intuitive date selection.
-
Customization enables us to design a date picker that precisely matches the project's visual style and UI/UX requirements. It can seamlessly integrate into the application's design language.
-
The custom date picker will employ basic HTML elements for representing event indicators. This approach simplifies event rendering on the date picker, allowing for easy placement and styling of event markers without the need for a comprehensive charting library.
Frontend UI Framework
Status: Implemented
Assignee:
Problem
We need to choose a UI framework for the PermaplanT app that will enable us to create a beautiful and easy-to-use interface and that is well-suited for building PWAs with JavaScript.
Constraints
- The framework must be compatible with the PWA architecture.
- The framework must be able to handle complex, data-intensive operations such as checks for sun, soil, companion/antagonist and time of year.
Assumptions
- React is a popular and widely-used framework for building user interfaces, which means that there will be a large community of developers available to help with any issues that arise.
- React allows for the creation of reusable components, which will be useful for building the various modes and features of the PermaplanT app.
- React is fast and efficient, which will be important for providing users with a smooth and responsive experience.
Considered Alternatives
Decision
We will use React (18.2.0) as the frontend ui framework for app.
Rationale
React is a popular JavaScript library for building user interfaces, and it is a good choice for building progressive web apps (PWAs) for several reasons. Some of the key advantages of using React for PWAs include its performance, flexibility, and developer-friendly ecosystem. React uses a declarative approach to building user interfaces, which makes it easy to create complex and interactive PWAs. Additionally, React has a large and active community of developers, with a wealth of resources and tools available, such as libraries, components, and tutorials.
Implications
Related Decisions
- The decision to use a declarative and component-based approach for the app's UI
Notes
Map Undo/Redo Implementation
Status: Implemented
Assignee:
Problem
Undo/redo functionality is a common feature in many applications, PermaplanT is no exception. The user should be able to undo/redo the actions taken within the canvas.
Constraints
- The implementation of undo/redo should not have a significant impact on the performance of the app.
- The implementation of undo/redo should correspond to the related use case
Assumptions
N/A
Solutions
Store every step of the user in the database
The idea is to store every step of the user taken within the canvas in the database. The user can then undo/redo the actions by fetching the previous/next step from the database. The user is working with the canvas locally, but the state of the canvas is stored in the database. The main drawback of this approach is that the database will grow significantly over time. We have to store the entire state of the canvas for every step taken by the user. This could lead to performance issues in the future.
Let's assume that there are 1000 users using the app. We have ~19 layers in the app. If the user places 10 shapes on each layer and modifies the properties of each shape 3 times, we have 570 actions taken by the user for each layer. If we store the entire state of the canvas for every action taken by the user, we have 10,830 actions stored in the database for each user. If we have 1000 users, we have 10,830,000 actions stored in the database for a single day. This number will grow drastically over time.
Alternatively, storing only the final state of the canvas in the database would result in a much smaller number of entries. Since there is only one entry per map, we would have a maximum of 1000 entries for the same amount of users for a single day or even for a longer period of time.
Manual and Periodic Syncs
We could implement undo/redo functionality by storing all intermediate states of the canvas on the frontend and only storing the final state in the database.
To keep the backend state in sync with the frontend, a manual and periodic sync strategy will be used according to some custom rule, rather than an immediate sync every time the user takes an action on the canvas. This avoids the potential for delays and performance issues caused by excessive processing and network traffic. Instead, syncing periodically ensures up-to-date data while minimizing network traffic and data transfer costs. The periodic sync approach allows the user to work locally on the canvas, reducing the performance impact of storing and retrieving data from the database.
When the app is refreshed, the frontend will rebuild the map from scratch based on the data fetched from the backend.
This approach is not used, as it endures conflicts: In two bundles send at the same time, conflicting actions might be present. Furthermore, data might be lost on browser crashes etc.
This could be mitigated by having very short periodic syncs but then the wanted benefit of this approach does not apply anymore, too.
Decision
The decision is to implement undo/redo functionality by storing history of the canvas only in the frontend and having the current state both:
- in the backend: stored in the database, without any history
- in the frontend: stored as state, with additionally a history of previous actions
Synchronisation happens:
- Any change of the frontend immediately gets synced to the backend via API calls.
- Any change in the backend immediately gets synced to the frontend via a server-sent events (SSE).
In the backend, we use the observer pattern to implement the notification via SSE.
Rationale
- It is the most collaborative way: Users immediately see what other users did.
- It is the most user friendly way: No manual saving or no intransparent sync times
Implications
- As undo/redo steps might be in conflict with what other users did, conflicting undo/redo steps must be filtered.
- The backend API must be designed that the whole user action is encapsulated in a single API call.
Related Decisions
Notes
The canvas library, that we use, provides a suggestion on how to implement undo-redo functionality with the canvas2:
- https://konvajs.org/docs/react/Undo-Redo.html
- https://konvajs.org/docs/data_and_serialization/Best_Practices.html#page-title
If you want to save/load simple canvas content you can use the built-in Konva methods: node.toJSON() and Node.create(json). But those methods are useful only in very small apps. In bigger apps it is VERY hard to use those methods. Why? Because the tree structure is usually very complex in larger apps, you may have a lot of event listeners, images, filters, etc. That data is not serializable into JSON (or it is very hard to do that).
In other words, the Konva nodes contain too much information e.g. color or shape which could be set by default. So there is no reason to store them in the database if they are set by default by Konva anyways. Instead, we should only store the information that the user has changed.
You just need to save a history of all the state changes within your app.
Implementing the undo/redo functionality on the frontend, as suggested above, provides a simpler and more efficient solution than storing every step of the user in the database. Storing intermediate states of the canvas in the frontend store allows the user to work locally in the canvas without significant performance impact. Additionally, syncing the backend state with the frontend state periodically ensures that the user's data is always up-to-date.
Nextcloud Deployment
Status: Implemented
Assignee:
Problem
The current deployment of our Nextcloud instance is a single Instance that can only scale so far. With an increasing userbase, the current setup could become overwhelmed. We are also facing issues with our current CORS setup and images sometimes take very long to load. Since Nextcloud also hosts all background images for maps, profile pictures, etc. a solution to scale out our nextcloud infrastructure must be decided on.
Constraints
- Data Storage: Barring more complex and costly real time data duplication setups, the data that Nextcloud is accessing is located in only one place and has to be available to all instances of Nextcloud.
- Support for at least 3.000, easily scalable to 10.000 users
- Be in line with official recommendations of Nextcloud deployments
Assumptions
- We assume we have to support more than 3.000 users, up to 10.000. But we also assume they are not so active than normal Nextcloud users as in a business, so we implement only "Mid-sized Enterprises" for 1.000 concurrent users.
- We assume the official recommendations of Nextcloud deployments are correct.
- We can easily migrate from everything in a single VM to separated VMs/cluster/...
Solutions
Image
AIO
The Nextcloud AIO image contains everything needed to run an instance. It is the officially endorsed way to install nextcloud in a docker environment. Due to this, the AIO image is not really suited to deployments of multiple load balanced instances.
Custom Image
The custom image is a community supported docker image of nextcloud, that offers more versitility. Instead of packageing everything into a single docker image, this image lets the administrator pick and choose which components to combine.
Databases
Option 2: Postgres
Postgres is a SQL database with official support from the Nextcloud team. It is included in the AIO Docker image of Nextcloud.
Option 1: My-SQL / Mariadb
MySQL or its successor MariaDB, is a classic relational SQL database with official support from the Nextcloud team. It is also recommended by the custom setup guide for Nextcloud.
Deployment
Option 1: Assign more resources to the current instance
Assigning more resources to the currently running instance would somewhat resolve performance issues, but this solution does not scale well. If we hit a limit regarding the capabilities of the instance, e.g: having too many users concurrently accessing Nextcloud, the process of changing the deployment could cause outages.
Option 2: Setup multiple instances as recommended by nextcloud
This option would provide the greatest capacity to our nextcloud environment. It is also the most expensive option, as running multiple instances of nextcloud on different VMs requires more compute/memory resources.
Option 3: Setup multiple instances as recommended by nextcloud but only run a single instance
This option may not make much sense for our current workload, but gives us the greatest flexibility and would easily allow us to scale out in the future. This option would also require setting up the required scripts and processes to be able to quickly add new instances in the future.
Reverse Proxy / Load Balancer
The performance comparisons in this section are based on this benchmark.
Option 1: Caddy
Caddy is a reverse proxy solution, that markets itself on its ease of use and simple config. It is often recommended for beginner users for this reason. This reverse proxy does theoretically offer more advanced features, but getting those to work has proven difficult. It also shows the worst performance of the given options.
Option 2: Traefik
Traefik offers the same set of features as caddy and more, but comes with a in depth configuration system, that new users will have to take more time to learn. Its label-based configuration option offers the ability to store the traefik configuration for each service directly in the docker-compose file. It also performs better than caddy.
Option 3: NGiNX
NGiNX is a web server that also offers reverse proxy capabilities. It has established itself as an industry standard tool and is also used in enterprise environments which both Caddy and Traefik are not. Because of it's widespread use, it also sees a lot more development and boasts a larger set of features and improved performance.
Option 4: HAProxy
HAProxy is designed as a dedicated load balancer. It offers only a reduced set of features compared to NGiNX, as it is not able to e.g. serve static content but it makes up for this by improving on NGiNX's performance in the loadbalancing / reverse proxy use case.
Decision
Image
Since the AIO is geared towards smaller instances which are not load balanced, the decision is to stay with the custom docker image, as it offers more flexibility in the deployment.
Database
The community seems to be split about this issue, with one half preferring Postgres and the other half preferring MariaDB. Most of the reasons given are related to familiarity with one or the other. There are some reports of third-party apps not being compatible with one or the other, but since we do not use such apps, this should not be an issue for us. The main reason this can occur is, that nextcloud lets every app decide for itself, which databases they support. One thing still stands out: Postgres is included in the AiO image but MariaDB is recommended for the custom setup. As this discussion indicates however, this seems to also be about familiarity on Nextcloud's side. Also, this maintainer of the Nextcloud AiO image states that postgres actually performs better.
After considering these facts, the best choice is to stay with postgres. The main reasons are:
- There is no definite favorite among the comminuty
- In terms of performance, little evidence exists either way and the evidence that did turn up favored postgres
- A migration would confer significant effort that is better spent elsewhere and would yield no benefit
The only reason to rethink this decision would be in one of the following scenarios:
- MariaDB receives updates, that improve performance significantly above that of postgres
- We require the use of an app that does not support postgres
Deployment
The decision is to implement the 3rd option. This means setting up proxy and following nextcloud's recommendations on running multiple instances, but only having one active instance currently running.
Although the overhead for option 3 is greater than it needs to be for our current needs, it does not impact the performance of the system, since a reverse proxy is already in use. This reverse proxy can be replaced by HAProxy. Since this option also allows for quick and efficient scaling in the future, it also makes sense from a future-proofing standpoint. It is also worth mentioning, that using the AiO image is not feasible, as every instance comes packaged with it's own database, therefore making it impossible to scale out to multiple instances.
Reverse Proxy / Load Balancer
The best option for load balancing is option 4: HAProxy, since performance is our main concern when it comes to load balancing. Since HAProxy offers no built in way to automatically update it's SSL certificates, another tool like the industry standard certbot must be deployed alongside it to manage this task
Decide Polygon Overlap Handling Strategy
Status: Implemented
Assignee: Alfons Mueller
Problem
We must decide whether PermaplanT should allow or prohibit overlapping polygons in brushing layers (shade, hydrology, soil texture, zones) before the 1.0 release.
Currently, overlapping polygons are possible in all area layers because no validation prevents overlaps during area creation in the backend.
Furthermore, the semantic of what the overlapping means is not clearly defined.
This leads to ambiguous, contradictory, and semantically invalid spatial data.
Example:
- User brushes “permanent shade” in shade layer → later adds “full sun” overlapping it
- Now the system contains contradictory information for the same location
- Current implementation: permanent shade wins, but full sun is seen by the user.
- So heatmap logic calculation differs from what would expect by looking at the frontend canvas.
Other layers (hydrology, zones, soil texture) behave similarly
This ambiguity leads to unpredictable behavior for users and inconsistent results for computations such as heatmap generation.
Migration Feasibility Analysis
Can we write a safe migration?
Technical feasibility: YES - PostGIS provides functions:
ST_Overlaps(geom1, geom2): Detect overlapsST_Difference(geom1, geom2): Subtract one polygon from anotherST_Union(geom1, geom2): Merge polygonsST_Intersection(geom1, geom2): Get overlapping area
Data loss risk: MEDIUM
- If we apply "last created wins", older polygons lose area
- If we apply "first created wins", newer user intent is lost
- Without user intervention, any automated resolution may violate user intent
- Temporal ordering (created_at) is sufficient to decide priority.
Example migration approach (last created wins):
-- For each overlapping pair, subtract older polygon from newer
UPDATE shadings s1
SET geometry = ST_Difference(s1.geometry, s2.geometry)
FROM shadings s2
WHERE s1.layer_id = s2.layer_id
AND s1.id != s2.id
AND ST_Overlaps(s1.geometry, s2.geometry)
AND s1.created_at < s2.created_at;
Migration complexity: ~8h for implementation and testing across all area tables
Why are overlapping areas correctly arranged (last drawn always on top)?
We don't have ordering logic in the frontend, elements are simply arranged based on the rendering order.
For example:
In the shading layer, we are mapping over an array of shades received from backend.
In terms of rendering order, this means that element with index=0 is rendered first, then element with index=1, then with index=3 and so on.
When adding two shading objects: first - no shade, then light shade.
The objects are returned from the backend exactly in this order and therefore drawn "correctly" over each other.
Thus persisting the shadings preserves the order they where drawn in.
Constraints
- Existing data must remain valid and ideally not lose user intent.
- Decision must be consistent with previous architecture decisions, e.g.,
polygon_calculations.md:52: intention to compute “areas over areas” in backend.
- Backend and frontend must remain performant even with 15 overlapping areas.
- Real-time collaborative editing should not create race conditions.
- Migration feasibility: If overlaps are allowed now, it must be possible to resolve them later without unacceptable data loss.
- UNDO functionality must work with solution.
Assumptions
- Users generally expect mutually exclusive semantics for shading, hydrology, soil texture, and zones.
- Overlaps, if allowed temporarily, will grow in amount over time.
- Temporal ordering (
created_at) should reflect intent, but might not be the desired solution for all users. - Users use add/removal date correctly, they don't place all their areas with the same start/end time if they intended it to have different start/end time.
Solutions
Alternative A: Prohibit Overlaps Before 1.0 (Proactive)
Implement backend validation for new polygons:
- Detect overlaps when creating/updating polygons
- Apply one of:
- A1: New polygon overrides old (subtract old area)
- A2: Disallow creation if overlap occurs
- A3: Let user choose via UI dialog
- A4: Merge/union polygons of same type
Pros
- Prevents corrupted data from entering the system
- Guarantees clear semantics and consistent heatmap results
- No destructive migration later
- Aligned with future backend polygon-calculation architecture
Cons
- Higher implementation cost pre-1.0
- Requires UI and backend work (~16-24h)
- Might require redesign of brush tool UX
Alternative B: Allow Overlaps Now, Resolve with Migration Later (Reactive)
Allow overlaps today, migrate after release.
Only add created_at fields to areas right now.
A migration might use:
- “Last created wins”
- “First created wins”
- PostGIS tools (
ST_Difference,ST_Union,ST_Overlaps)
Pros
- Faster path to 1.0
- Might be able to choose migration strategy based on user data
Cons
- Risk of significant data loss during migration if users have created extensive overlapping areas
- Ambiguous heatmap results in production
- May confuse users about application behavior
- Harder to decide resolution strategy without user input
Option C: Document as Known Limitation
Explicitly document that overlaps are undefined behavior:
- Add warning in UI/docs
- Leave resolution to user discretion
- Handle overlaps in heatmap calculation (e.g., "last polygon in query order wins")
Pros:
- Minimal implementation effort
- Users aware of limitation
Cons:
- Unprofessional for 1.0 release
- Data quality issues
- Undefined behavior in heatmap
Option D: Communicate Last Placed Area Winning Over Older Areas, Base Heatmap on this Ordering
Explicitly document how last placed area wins over the ones below it:
- Add
created_atto areas - Handle overlaps in heatmap calculation (e.g., "last polygon in query order wins")
A prototype for the updated heatmap calculation has already been created by Christoph Schreiner in an MR
Pros:
- Minimal implementation effort
- Users aware of area ordering
- Introducing audit trail fields makes it easier to migrate to Option A later on
Cons:
- Data quality issues
Decision
Option D: Communicate Last Placed Area Winning Over Older Areas, Base Heatmap on this Ordering
Rationale
Choosing Option D gives us a decent solution to implement before 1.0 release. It also leaves open the possibility of migrating to a different (polygon cutting) solution down the line.
Implications
Explicitly document how last placed area wins over the ones below it:
- Add information in UI (e.g., "If 2 or more types of shade are placed on top of each other, only the one on the very top is considered.")
- Add
created_atto areas - Handle overlaps in heatmap calculation (e.g., "last polygon in query order wins")
Related Decisions
polygon_calculations.mdprior decision to handle polygons and overlaps in backend.
Notes
- Discussions: meetings on 2024-10-14, 2024-10-21, 2024-10-28, 2024-11-04, 2024-11-11 regarding overlap issues.
- Backend DB context: PostGIS polygons created in migration
2024-05-31-120000_heatmap_and_shadings/up.sql. - Related code:
backend/src/service/areas.rs,
backend/src/model/dto/areas.rs,
backend/src/schema.rs.
Reversible deletion of database entities
Status: Implemented
Assignee:
Problem
PermaplanT provides functionality not only to delete entities created by the user, e.g. plants, maps, etc. but also to restore them within a period of time. This is required to prevent the accidental deletion of entities and to allow users to undo their actions. The challenge is to keep the deleted entities for a certain period of time, e.g. 1 month, and then remove them from the database on a scheduled basis. Since there is no built-in time-based job handling feature(like cron jobs in Unix systems) in PSQL, we cannot simply mark entries to be removed and expect them to fade away.
Constraints
- The decision applies only to the map and plant entities for the time being.
Assumptions
N/A
Solutions
PSQL partitioning
Partitioning is a feature of PSQL that allows to split a table into smaller tables based on a certain column value. If we would proceed with the partitioning based on a deletion timestamp column, we can run the partitioning process either manually every day, which is a 100% no-go for us, or assign it to a PSQL trigger. Unfortunately, there are only on- INSERT/UPDATE/DELETE and no time-based triggers in PSQL. Therefore, we could only run the partitioning e.g. on the insertion of new entries, which can occur within a day/week/month or even a year. This means that some entries marked to be removed could stay in the database for a longer period than they should.
Decision
In order to keep the entries for a certain period of time, we introduce a new column in the database tables, e.g. deleted_at, which will contain the timestamp of the deletion.
The deletion of the entities will be handled either by a cron job on the server level or a scheduled task in the backend.
Rationale
PSQL has no built-in time-based job handling feature, therefore it should be handled either on the server level or in the backend.
Implications
Related Decisions
Notes
- Related map create
- Related map delete
- Example of the deletion query:
DELETE FROM plants WHERE deleted_at IS NOT NULL and deleted_at < NOW() - INTERVAL '1 month'
Search Plants
Status: Implemented
Assignee:
Problem
We want to provide a usable search for plants that goes beyond searching for substring in various plant names. Partial matches of the following fields should be returned.
- Unique name
- Common names
- Edible uses
Constraints
- Results should be fetched in a single query in order to utilize pagination.
- Exact matches should be ranked high.
- The users language preference should be taken into account when ranking.
- Matches in names should have a higher rank than those in edible uses.
- We don't want to add additional databases like Elasticsearch or Meilisearch.
Assumptions
- Postgres will perform reasonable with these search queries.
- Using postgres or even extension specific functions with diesel is possible and maintainable.
- The plants table stays relatively small (it won't reach millions of rows).
- The query entered in the search typically has 1-2 words with no more than 4 words.
Solutions
Postgres Full Text Search
https://www.postgresql.org/docs/current/textsearch.html
Postgres provides built in full text search functionality.
Pros:
- Easy to use.
- No additional extensions needed.
Cons:
- No ability to match parts of compound words. E.g. Searching for "Kirsche" wouldn't return a row containing "Frühkirsche".
- Built in ranking works by count the occurrences of matched words in a document.
- Seems better suited for searching through large text documents.
Partial Match With String Distance
https://www.postgresql.org/docs/14/fuzzystrmatch.html#id-1.11.7.24.7
Here a match would be found with an ILIKE query and the results ranked by measuring
the Levenshtein distance between the query string and the matched word in the column.
This distance describes the number of character changes required to transform one string
into the other.
A language-preference based factor can be applied to the rank depending on the language
of the matched column.
Pros:
- Very precise matching with very few irrelevant results.
- Computationally simple and fast.
Cons:
- Wouldn't be able to catch typos.
- May miss relevant results where only a part of the strings match. E.g. a search for "Frühkirsche" would not return "Spätkirsche".
Partial Match With String Similarity
https://www.postgresql.org/docs/current/pgtrgm.html#id-1.11.7.44.6
A match can be found by using the string similarity operator % from the pg_trgm extension.
This similarity is calculated by counting the number of shared trigrams between the strings.
Pairs that have a similarity above a certain threshold would be matched.
A trigram is a sequence of three consecutive characters in a string.
This similarity can further be used to calculate a ranking in a similar manner as described
in string distance.
Pros:
- Ability to handle spelling mistakes in the query string·
- Loose matching mechanism returns related results. E.g. a search for "Frühkirsche" would also return "Spätkirsche".
Cons:
- Can produce very many results for short query strings.
- Computationally more expensive than other options. Can be alleviated by creating an index on the relevant columns. https://www.postgresql.org/docs/current/pgtrgm.html#id-1.11.7.44.8
- Less useful for very long query strings as there will be fewer common trigrams.
Decision
Given the constrains and assumptions Partial Match with String Similarity (pg_trgm) seems to be the best option for us.
Rationale
As there is a relatively small number of rows and search terms performance isn't that much of an issue.
As of writing this pg_trgm executes almost instantly in a 'search as you type' fashion.
The ability to handle spelling mistakes and loose matches is also great for us as plant names can be somewhat complicated to spell.
Generally it is seems to fit best for our usecase. Something like elasticsearch could cover the usecase better, however it adds a lot of complexity.
Implications
The following points are difficult if not impossible to implement using PostgreSQL.
Before trying them it should be evaluated if a different database like elasticsearch might be a better fit for this usecase.
- Other columns can be matched with extra syntax (e.g. environmental fit or ecological value).
- This can be quite difficult when parsing the query yourself as you would have to 'invent' a query language.
- As an example:
amarena cherry water_requirement = drymight work as you know thatwater_requirement = drythose belong together. - However:
amarena cherry alternate_name = Pacific silver firdoesn't work as it isn't clear which parts ofPacific silver firbelong toalternate_namean which parts don't. This is a somewhat cherry picked example, but there might be other problem like that we have to consider. - Apart from that it isn't simple to add new where clauses to a query as we would have to parse the users input and at the same time prevent SQL injections (which isn't trivial).
- Search in hierarchy is difficult
- Search accuracy (stop words, stemming, etc.)
Related Decisions
Notes
Sync
Status: Implemented
Assignee:
Problem
For better collaboration, the frontend must be kept up to date with the latest changes in the frontend.
Constraints
- The changes must be sent immediate.
- Events must be sent to thousands of clients.
- It should be extensible to also include events of other use cases (changes in plant database or avoiding poll for Nextcloud chat)
Assumptions
- We don't need to acknowledge sent events.
- We don't need to know which events we missed (as frontend is read-only or database is locked when offline)
Solutions
Websockets
Websockets with a protocol like STOMP could be used.
Decision
We use server-sent events (SSE) with the observer pattern in the backend.
Rationale
- Example is available and already tested with a thousand of clients.
- This adds additional complexity on client and server side as we don't need a full-duplex communication.
Implications
N/A
Related Decisions
Notes
@Bushuo creates a tracer bullet to check how it works.
OpenTelemetry Integration / Observability Backend
Problem
We want to notice misconfiguration, errors and changes in application performance as early as possible. To achieve this, we need to increase understanding of how our application works. Because it consists of multiple components where some are not developed by our team, monitoring the integration is more complex. We want all developers to be able to understand the whole stack and how it works together.
Constraints
- Should be self-hosted
- Should build on established standard
- Should be FLOSS
- Should be minimal effort to use/maintain
- Telemetry data comes from different environments (backend, db), services (keycloak), browsers (frontend)
- Should work with Trace, Log, Metrics data
Assumptions
- OpenTelemetry is the most used framework that supports our whole stack
- Interesting metrics are also available from Keycloak, Postgresql
Solutions
Based on the constrains following solutions are proposed:
Signoz
Pro:
- Satisfies all constraints.
- Is easy to setup.
- @e01506152 has already experience using it.
- Actively developed.
- Can notify on events/changes.
Cons:
- Single dependency (if project dies or changes license).
- Introduces a new service to maintain.
Grafana + Prometheus
Pro:
- Handles Tracing, Metric and Log data (OpenTelemetry Protocol)
- FLOSS
- Widely adapted.
Con:
- More complexity.
- Not all data on a single platform available.
- Unfamiliar with both tools.
- Introduces two new services to maintain.
- Timeconsuming to maintain
Grafana + CheckMK
Pro:
- Handles Tracing, Metric and Log data (OpenTelemetry Protocol)
- FLOSS
Con:
- More complexity.
- Not all data on a single platform available.
- Unfamiliar with both tools.
- CheckMK only in beta support.
- Introduces a new service to maintain.
Decision
| Solution | FOSS | Unified Data | Easy Setup | Familiarity | Maintenance Effort | Active Dev |
|---|---|---|---|---|---|---|
| Signoz | ✅ | ✅ | ✅ | ✅ (some) | ✅ (one service) | ✅ |
| Grafana + Prometheus | ✅ | ❌ | ❌ | ❌ | ❌ (two services) | ✅ |
| Grafana + CheckMK | ✅ | ❌ | ❌ | ❌ | ❌ (two services) | ⚠️ (beta) |
We will use Signoz as observability backend. It will ingest data from the OpenTelemetry Collector, as well as from the Keycloak and DB instances.
Rationale
It will provide a single platform to observe the application performance. This simplicity increases the likelihood that the team will adopt and use it effectively.
It has:
- Native support for the OpenTelemetry ecosystem
- Active development and strong community
- Out-of-the-box support for all required telemetry types
This makes it the easiest and lowest-effort solution to integrate and maintain.
Implications
- Our app (backend, frontend) needs to be configured to create Logs, Traces and Metric in the OpenTelemetry format.
- A server for running Signoz must be set up and maintained.
- Team needs documentation about Signoz and its basic usage patterns.
Related Decisions
We will deploy an OpenTelemetry Collector per environment.
Benefits:
- Decouples application code from the observability backend
- Increases scalability
- Enables flexible data enrichment (e.g., adding environment metadata)
Notes
Architecture proposal

Backend
We use the OpenTelemetrySDK and API for Rust to send the logs, traces and metrics to the OpenTelemetry Collector (local). The collector also ingests metrics directly from the local PostgreSQL instance. All telemetry data is enriched with metadata identifying its environment of origin
Frontend
We implement the OpenTelemetrySDK and API for Javascript to trace user interactions, fetching of resources and document loading times. The framework adds tracing headers to the requests made to our backend.
Keycloak
Signoz
Signoz has its own OTLP collector as receiving endpoint which needs to be configured to get the data from the metrics endpoint of the keycloak instance as well as allow the collection of telemetry received directly from the frontend sent from the users and the OTLP collectors of each permaplant environment.
Other Tools
Other APM tools like Grafana + Prometheus are OpenSource but are not one solution to deliver all the feature like Signoz. CheckMK only understands Metrics. Which is why we dont use it for observability.
Postponed
This folder contains all decisions currently in the postponed stage.
Decisions get placed in postponed when there are no resources available to progress them.
Postponed decisions get placed here to keep the drafts stage tidy.
- Decisions Workflow: describes how to create and update decisions in detail
Related Resources
- Decisions Template - Template to use when creating a decision
- Decisions Explanations - Explanation of the decision template
- Decisions README - General explanation of the decision concept and its purpose
- Documentation Guidelines - General documentation standards
Scraper CSV validation in CI
Problem
When working on scraper overrides or relation files, it is important to receive understandable feedback quickly. Currently, the error messages from the scraper pipeline are difficult to interpret and do not point to the exact position of the problematic data. Some issues are not caught until someone notices them in production.
To improve this, we want to add validation for all manually editable CSV files. It should be possible to define a set of data constraints for each csv file and column. We are therefore looking for a library or framework that allows defining and enforcing such constraints.
Constraints
- Basic validators should be easy to define (strings, numbers, enums, regex, arrays...)
- Custom validators must be supported (e.g. check if unique_name of a relation is a valid plant we know about)
- Must support custom error messages with filename and line numbers
- Should be easy to understand and extend
- Should not abort validation at the first error
Assumptions
- Biologists can read error messages from CI jobs
- CSV file sizes will not grow substantially (into the gigabytes)
- Validation of the CSV format itself (encoding, csv separator, line endings, ...) can be a separate CI step / solution
Solutions
CSV Schema
CSV Schema is a custom language to validate csv files. There is a reference implementation written in Java. The language itself is readable without programming knowledge.
Pros:
- Supports many validators
- Easy to define simple rules
- Can be read without having programming knowledge
- Includes support for CSV format validation
Cons:
- Does not support custom functions outside of combinations of supported expressions
- Introduces a new language (albeit schema language) to the project
Validation in PostgreSQL only
One approach would be to implement all validation as checks and triggers in the database.
Pros:
- Ensures data integrity
- Avoids possible duplication of constraints. With other solutions we might want to add important constraints to the database too.
Cons:
- No validation of CSV format itself
- Errors would be found quite late in the scraper pipeline, at which point previous steps could've already failed because of problematic data
- Since validation happens late, it's also much harder to generate nice error messages. To reference which CSV lines caused a failed validation, this information would have to be passed all the way through the scraper. Since many CSV lines can modify a single plant, we would need to track the complete history of each plants attribute.
JavaScript Validation Library Zod
Zod is a library that validates JavaScript objects based on a schema which is also defined in JavaScript. It has no functions to handle CSV files so we would have to write a small wrapper to read the files, validate each row and print possible error messages.
Pros:
- Easy to use and extend
- Many validators included
- Widely used and good documentation
- Also used in the permaplant frontend
Cons:
- No validation of CSV format itself
- Only per object constraints out of the box (i.e. per row of csv)
Python Data Validation Framework Pandera / Pandas
Similar to Zod the Pandas framework allows the definition of a schema and then validates dataframes loaded with pandas. The ease of use and extendability is similar to Zod, but Pandas also includes functions to work with CSV files.
Pros:
- Easy to use and extend
- Many validators included
- Stronger CSV integration than Zod
Cons:
- Uses Python, when the rest of the scraper uses JavaScript
- Only per object constraints out of the box (i.e. per row of csv)
JavaScript Test Framework
We could build our own CSV validation upon a testing framework like vite. But if we are not using any other library this would mean a lot of extra effort.
Pros:
- Output compatible with CI
- Most customizable
- No dependencies
Cons:
- Most effort if not using an additional library for data validation
- No validation of CSV format itself
- Hard to define the scope of a test case in this context: A csv file? Then a test will abort on the first error A row in a csv file? Then there will be a lot of unnecessary output
Decision
Our current preferred solution is Zod for validating CSV files in CI.
Rationale
- Zod is already used in the PermaplanT frontend
- The scraper is also written in JavaScript, keeping everything in the same language
- Supports custom validators
- Trivial to write a wrapper script that reads each CSV, parses each row and collect errors and line numbers to print at the end
- Easy to extend and well documented
Implications
- Additionally to the validators, a wrapper script must be written to handle CSV reading, row iteration, error collecting and reporting
- CSV format validation (encoding, separator, line endings) remains a separate step
Related Decisions
Notes
Problem Clear
This folder contains all decisions currently in the problem clear stage.
Decisions get placed in problem clear when the problem is sufficiently described and it is agreed that the problem exists and is worth solving.
While in this stage possible solutions to the to the problem are explored and documented.
When the solution space is clear the decision can move on to the solutions clear stage.
- Decisions Workflow: describes how to create and update decisions in detail
Related Resources
- Decisions Template - Template to use when creating a decision
- Decisions Explanations - Explanation of the decision template
- Decisions README - General explanation of the decision concept and its purpose
- Documentation Guidelines - General documentation standards
Decision: Handling of Default Base Layer Images for New Nextcloud Users
Status: Problem clear
Assignee: Peter
Problem
When new Nextcloud users are created, they need default base layer images available in their account.
This is also needed for test users in E2E testing.
Currently, the skeleton directory (nextcloud_user_template) is configured but empty, and a PermaShare user with shared folders was created as an alternative approach, but this is not working correctly, as new users are not added to an existing group share.
The architecture decision between these two approaches (or using both) needs to be made before implementation.
Constraints
- Base layer images must be separated from other pictures/icons
- Everyone with access to a map should have access to base layer images
- Shared folders need specific subdirectories
- Template base layer images should be available from: https://gitlab.tuwien.ac.at/permaplant/icons/-/tree/master/Base/Templates
- Skeleton directory applies only at user creation time; shared folders propagate updates dynamically.
- Base layer images need dedicated location (not
/Photos/)
Assumptions
- Some templates should remain centrally managed and updated for all users.
- Team folders plugin is stable and implemented. https://apps.nextcloud.com/apps/groupfolders
- Some images have to be hosted via shared folder
- Some files should be user-specific (users upload their baselayer images)
Solutions
Alternative A: Use Only the Skeleton Directory
All files including base layer images are copied into each new user's account.
Pros
- All files reside with the user.
- No shared folder configuration needed.
Cons
- Global updates do not propagate.
- No shared read-only templates.
- Wasteful duplication of large binary files.
Not suggested: It does not fulfill the assumption that some images should be hosted from a shared folder.
Alternative B: Only use Folders Shared via PermaShare User
Base layer images and templates live in one shared central location.
Pros
- Single source of truth.
- Updates available to all users instantly.
Cons
- No editable user-local templates by default.
- Skeleton directory becomes unused.
Not suggested: It does not fulfill the assumption that some templates should be user-editable.
Alternative C: Hybrid Approach
Use both mechanisms with clear responsibility boundaries:
-
Skeleton directory:
Contains editable templates that users may modify. -
PermaShare or Team folder:
Contains centrally managed base layer images (read-only).
Pros
- Covers both use cases: editable personal templates + global read-only content.
- Allows future templating layers.
- Supports E2E via a stable path.
Cons
- Slightly more complex initial setup.
Decision
Rationale
Related Decisions
- PermaplanT#2194 (nextcloud folder structure decision)
Notes
- MR implementing Team folders: !824
- This decision is based on:
- The Nextcloud infrastructure context and templates repository
- Discussions related to skeleton vs. shared folders
Polygon Calculations
Status: Problem clear
Assignee:
Problem
For drawing areas of shadings, hydrology, zones, etc., we need to transform a set of points, drawn using a brush, into a polygon. Furthermore, we want to be able to create unions of polygons so that areas can be expanded and differences of polygons to reduce areas.
Constraints
- Algorithms need to be fast enough so that users won't recognize any delays.
- Must work with collaboration.
- Area over area should work nicely.
Assumptions
- We assume that there are no alternative packages readily available that offer significantly better performance or features than the ones we have explored.
Solutions
graham_scan
graham-scan is an implementation of the Graham Scan algorithm to calculate a convex hull from a given set of points.
- Easy to integrate.
- It only provides convex hull calculation.
hull.js
hull.js provides functions for calculating convex and concave hulls from a given set of points.
- Concavity can be configured by a parameter.
- Very easy to integrate.
- Fast calculation.
polygon-clipping
polygon-clipping provides boolean polygon operations like intersection, union, and difference.
- Well maintained.
Further packages
- There are several other packages like flatten-js/boolean-op. However, most of them haven't been updated in a long time.
Old Decision
We decided to use hull.js for calculating hulls and polygon-clipping for union operations.
Decision
Because hull.js is deprecated and outdated, we want to replace it to avoid security and compatibility issues. The decision for this replacement is made in frontend_hull_library.md.
Rationale
Hull Calculation
- hull.js is very easy to integrate. We already tested it in the drawing layer and it was easy to calculate a polygon by passing a set of drawn points.
- The calculation is very fast.
- We can configure how precisely the polygon should match the drawn shape.
Boolean Operation
- polygon-clipping provides all the operations we need to unify polygons and it is regularly updated.
Rejected
This folder contains all decisions currently in the rejected stage.
Decisions get placed in rejected when there is a consensus that the decision should not be taken.
Decisions get moved here to keep the drafts stage tidy and to document what was considered but not pursued.
- Decisions Workflow: describes how to create and update decisions in detail
Related Resources
- Decisions Template - Template to use when creating a decision
- Decisions Explanations - Explanation of the decision template
- Decisions README - General explanation of the decision concept and its purpose
- Documentation Guidelines - General documentation standards
Mail Client for the Backend
Status: Rejected
Assignee:
Problem
We want to be able to send mails from the backend.
The typical communication when sending a mail is as follows:
- Your email client communicates with your SMTP server.
- Your SMTP server communicates with the recipient's domain's DNS server to find the address of their SMTP server.
- Your SMTP server communicates with the recipient's SMTP server.
- The recipient's SMTP server delivers the email to the recipient's mailbox.
Example use case
A user enters a question into the contact form on the frontend.
The frontend should now send a request to the backend.
The backend then send a mail to somebody who can answer this question.
Constraints
- Currently there doesn't seem to exist a crate to send emails without requiring a mail-server. We should therefore also use username and password as credentials in the backend.
Solutions
lettre
lettre is one of the biggest (if not the biggest) mail clients in Rust.
The crate can be used to send emails. For that it requires a mail-server it can connect to and send mails from.
mail_smtp
mail_smtp can also be used to send emails (and also requires a mail-server).
Decision
We should use the crate lettre for sending mails.
Rationale
lettre is as of writing this the most widely used crate I have found with 1,343,736 total downloads.
The usage also seems easier than with other mail clients.
mail_smtp has only 3,457 downloads which can't compare to lettre.
Implications
- We have to create a user in our mail-server
lettrecan use to send emails. - Our mail-server's configuration has to be provided to the backend (URI, username, password, ...)
Solutions clear
This folder contains all decisions currently in the solutions clear stage.
Decisions get placed in solutions clear when the problem and possible solutions are clear but a solution has yet to be chosen.
When a solution is chosen the decision can move to decided.
- Decisions Workflow: describes how to create and update decisions in detail
Related Resources
- Decisions Template - Template to use when creating a decision
- Decisions Explanations - Explanation of the decision template
- Decisions README - General explanation of the decision concept and its purpose
- Documentation Guidelines - General documentation standards
Frontend Editor
Status: Solutions clear
Assignee:
Problem
We need to choose a frontend editor that will allow our users to document anything they need for their work with the PermaplanT app. The React MD Editor is already in use for various notes, including plants and seeds, and we need to decide if we should continue using it or make the switch.
Constraints
- The editor must be compatible with our UI framework.
- The editor must support Markdown formatting and being able to store the content as Markdown.
- The editor must support both small and large editor sizes, including fullscreen, and the possibility to switch size on demand.
- The editor must support clickable links, checklists, and images.
- The editor must not be prone to XSS attacks.
- The editor must provide customizable icons and being able to only show a subset of icons for small editor windows.
- The editor should support users with varying degrees of technical knowledge.
Considered Alternatives
- React MD Editor
- Explicitly compatible with React.
- Specifically a Markdown Editor. Display of rendered output in split or full view possible.
- Offers fullscreen toggle out of the box.
- No XSS protections are in place but offers support to do so through rehype-sanitize. Unlikely that any new issues are fixed by the editor itself.
- Does come with visual assets, therefore requiring less effort to implement but offering less flexibility.
- No clear concept regarding customizability. Some examples but no pre-packaged components.
- API seems a bit disorganized and messy. Might not accommodate more complex use cases.
- Very limited documentation.
- Supported by a relatively small community.
- Actively developed.
- Lexical
- Explicitly compatible with React.
- Allows switching between Markdown and WYSIWYG Editors.
- Some community plugins offer fullscreen toggle.
- Some XSS protections are in place and new issues are patched fairly quickly.
- Does come with visual assets, therefore requiring less effort to implement but offering less flexibility. It is unclear if this means the icons and their arrangement cannot be changed.
- Plugin-based approach allows for easy customizability. Limited library of pre-packaged plugins. Community/Custom plugins.
- Simple API that should provide a good development experience. Might not accommodate more complex use cases.
- Supports mobile use cases.
- Extensive documentation.
- Supported by a large community.
- Actively developed.
- Tiptap Editor
- Explicitly compatible with React.
- Allows switching between Markdown and WYSIWYG Editors.
- Some community plugins offer fullscreen toggle.
- Some XSS protections are in place and new issues are patched fairly quickly.
- Does not come with any visual assets, therefore requiring more effort to implement but offering greater flexibility.
- Extension-based approach allows for easy customizability. Big library of pre-packaged extensions. Community/Custom extensions.
- Simple API that should provide a good development experience. Might not accommodate more complex use cases.
- Offers no support for mobile use cases out of the box but allows the flexibility to implement them.
- Extensive documentation.
- Supported by a large community.
- Actively developed.
- Some features, like collaborative editing, are locked behind cloud or self-hosted solutions. Various payment plans.
- CKEditor 5
- Explicitly compatible with React.
- Mostly a WYSIWYG Editor but allows the use of Markdown input as well as Markdown source editing.
- Offers fullscreen toggle out of the box.
- Some XSS protections are in place and new issues are patched fairly quickly.
- Does come with visual assets, therefore requiring less effort to implement but offering less flexibility. The icons can be changed, but they need to be individually packaged.
- Plugin-based approach allows for easy customizability. All information regarding pre-packaged, community and custom plugins can be found here.
- Complex API makes it highly flexible but not always easy to work with.
- Supports mobile use cases.
- Extensive documentation.
- Actively developed.
- Widely used.
- Some features, like collaborative editing, are locked behind cloud or self-hosted solutions. Various payment plans.
- TinyMCE
- Mostly a WYSIWYG Editor but allows the use of Markdown input. However, this is locked behind a subscription.
- MDX-Editor
- Based on Lexical so has mostly the same advantages and disadvantages but offers additional Markdown Support.
- Significantly smaller community compared to Lexical.
- Gitlab Content Editor
- Missing React Support.
Decision
Rationale
In the short-term the current solution works fine, but due to a messy API, limited documentation and a low number of contributors it is unclear how well it can support future use cases and for how long it will be actively maintained.
Therefore, choosing a different editor should be considered in the long-term.
Tiptap would be the best alternative due to its high level of flexibility, but Lexical and CKEditor 5 are also good alternatives if a more ready-made solution is preferred.
The text format is another consideration. Markdown works fine, but is probably not as well known to many of the more casual users.
Allowing the user to switch to their preferred format would add another layer of flexibility and some of the alternatives already support this.
Therefore, adding Richtext or WYSIWYG, but not dropping Markdown, should be considered in the long-term.
Development Setup
Scope: To be read by everyone who wants to change code, i.e., needs a development setup.
Operating Systems
- Ubuntu/Debian-based Linux system or
- Ubuntu/Debian in WSL on Windows
Ways to develop PermaplanT
Right now we have two different ways to develop PermaplanT:
Docker services + local development
Run the database and other services like adminer in Docker containers but run backend and frontend locally. Read more
Dev container
Run everything within the VSCode devcontainer. Read more
IDE
- Visual Studio Code for both Frontend and Backend
- IntelliJ IDEA for both Frontend and Backend
Visual Studio Code Extensions
Frontend
- Prettier ESLint for JavaScript/TypeScript linting and code formatting
Backend
Rust formatting can be achieved by adding the following to settings.json in VSCode after installing rust-analyzer:
"[rust]": {
"editor.defaultFormatter": "rust-lang.rust-analyzer",
"editor.formatOnSave": true
}
Browsers
- Chrome/Chromium 128.0.6613.137 or later
- Firefox 115.15.0esr (Extended Support Release) or late
Note: You cannot switch between different branches (like mr.permaplant.net, dev.permaplant.net) while using the same browser without resetting the cache as CORS preflights etc. get cached and cause weird errors.
Docker + local
Run the database in Docker and the frontend and backend locally.
On Debian/Ubuntu install these dependencies.
RUN apt-get update \
&& apt-get -y install --no-install-recommends \
sudo \
wget \
curl \
git \
make \
strace \
clang \
lld \
libpq-dev \
libssl-dev \
pkg-config \
postgresql-client
Install Docker
Install Docker for your host OS.
Installing Node + Npm
Make sure node, in the version as required for PermaplanT, is installed, you may use to easily install multiple versions of node nvm, use apt or download node directly.
Install Rust
Follow the steps to install Rust using rustup.
Run the database
This runs the PostGIS database and PgAdmin.
cd .docker
docker compose up -d
Environment Variables
For the backend, frontend and database to be able to connect to each other, some environment variables need to be set.
A basic .env file for local development can be found in .docker/.env.
This file can be easily exported into your current shell as follows:
set -a
source .docker/.env
set +a
Be aware that this creates ephemeral environment variables, which have to be recreated for each new shell. More can be found on the manual page
For a custom setup please refer to the backend documentation.
Install dependencies
Run the following in the project root to install all dependencies:
make install
WSL2
If you use WSL2 please make sure that the project is in
the Linux file system and not in /mnt/c. Otherwise you may face issues because: - Linux uses a completely different system for file ownerships and rights - Linux file names are case-sensitive - Linux uses different characters to represent line breaks (LF vs CRLF).
Next Steps
Continue with Next Steps.
Devcontainer
We are also supporting a containerized setup(docker/podman). For more information checkout the README inside .devcontainer.
Background
Devcontainer allows you to develop using VSCode; without installing Node and Rust, you only need Docker and the Dockercontainer extension.
Prerequisites
To be able to run PermaplanT in a Devcontainer, first you need to make sure you have Docker set up on your machine. If you are on Windows, make sure you also have WSL installed, and then make sure that Docker uses WSL 2 Backend.
You can test that Docker works correctly on your machine by trying to run any docker image, for example this Hello World example.
Also, you will need VS Code installed in your machine.
To open the Devcontainer in VS Code, it's easiest to click on the "Dev Containers Open" tag in the GitLab project readme, or you can access the same link directly here. Allow VS Code to open the link, and the process of setting up the devcontainer will start. (It will take several minutes, as it also needs to download os images and packages from the internet) VS Code might prompt you to complete a login using your GitLab credentials or an access token. If logging in with your username and password fails, you can create a personal access token in GitLab. This is done by:
- clicking your avatar in the top left corner,
- selecting Preferences, and then
- navigating to Access Tokens in the left-hand menu.
Install the extension
Devcontainer extension and choose Dev Containers: Reopen in Container in the VSCode command palette.
The devcontainer includes a PgAdmin container on port 5050;
see the .devcontainer directory.
Within the devcontainer install all dependencies with
make install
Git user
Globally set git credentials are not available in the devcontainer, set them locally.
git config user.name "Your name"
git config user.email "Your email"
FAQ / Debugging
Git over HTTPS
If you want to use Git over HTTPS / with a GitLab Access Token, you need to switch over the Git Remote of the project, from SSH to HTTPS. You can do this by running the following command:
git remote set-url origin https://gitlab.tuwien.ac.at/permaplant/PermaplanT.git
CRLF / LF
If you are on Windows and you are having trouble with the line endings of your files (for example, when trying to run make install), it might be because of your local Git Config. Docker/Devcontainer uses your local Git Config when cloning the project, so it might be necessary to change the settings for file endings. You can run the following two commands before cloning the project:
git config --global core.autocrlf false
git config --global core.eol lf
If you see any file inside of the project display "CRLF" instead of "LF" in the bottom right corner of VSCode after opening it, the cloning step has already failed and converted every file to the windows CRLF format. To avoid this, it is recommended to clone the project directly through the devcontainer link.
Removing old containers / clearing cache
If the devcontainer setup does not seem to work or you applied changes/fixes that don't seem like they're working, you can try removing PermaplanT containers in docker to "clear the cache". To do so, remove permaplant_devcontainer under the "Containers" tab in Docker, remove permaplant_devcontainer_app, dpage/pgadmin4 and postgis/postgis under "Images", everything containing the "Permaplant" prefix under "Volumes" and remove all of the builds under the "Builds" tab.
Alternatively/additionally, you can also try pressing f1 inside of VSCode and typing "rebuild" and executing the "Dev Containers: Rebuild Container" command.
Next Steps
Continue with Next Steps.
Next Steps
You completed the setup — here is what to do next.
Run the application
Open two terminal windows and run:
make run-backend
make run-frontend
The frontend will be available at http://localhost:5173 and the backend at http://localhost:8080.
Run make help in the project root to see all available commands.
For more advanced configuration see:
Seed the database
The easiest way is to import one of our dumps, see import_dumps.md.
Alternatively, make install already cloned the scraper-data repository to scraper/data. Insert it with:
make insert-scraper
# To reset the database and reinsert:
make reset-database
Read the guidelines
Familiarize yourself with the coding guidelines before making changes.
Explore the contribution workflow
See doc/contrib for how to work with issues and merge requests.
Local Network Testing
To test the application from a phone or another device in your local network.
Security Considerations
Setting:
BIND_ADDRESS_HOST=0.0.0.0
exposes the backend to your entire local network.
This should:
- Be used for development on trusted networks only
- Not be used in production unless protected by a firewall or reverse proxy
- Not be used on public Wi-Fi or untrusted networks
Steps
1. Allow network binding
In .env:
BIND_ADDRESS_HOST=0.0.0.0
Note: This is set by default
Restart the backend after changing the variable.
Note: Logging in via Keycloak does not work out of the box — see Known Limitations below.
2. Determine your local IP address
On Linux:
ip addr | grep 192
Look for something like:
192.168.0.143
This is your local IP address.
3. Update frontend configuration
In .env:
VITE_BASE_API_URL=http://<your-local-ip>:8080
Example:
VITE_BASE_API_URL=http://192.168.0.143:8080
4. Start the frontend with network binding enabled
When starting the frontend with make run-frontend, the --host flag is passed automatically.
If starting it directly via npm run dev, add --host explicitly so the dev server binds to all interfaces:
npm run dev -- --host
Note: Without
--host, the dev server only listens onlocalhostand is not reachable from other devices.
5. Access from mobile
Open in your mobile browser:
http://<your-local-ip>:5173
For example:
http://192.168.1.143:5173
Tip: Both devices must be connected to the same local network. If it is not working, check if you are connected to a VPN.
Known Limitations
Keycloak Login
Logging in via Keycloak does not work out of the box when accessing from another device. Keycloak requires each device's IP to be explicitly added as a valid redirect URL. Contact someone with Keycloak admin access to add your IP before testing authentication.
Currently registered IP-addresses:
192.168.0.143192.168.1.160192.168.1.2192.168.1.3
Nextcloud Images
When accessing the frontend from a different device, images loaded from Nextcloud may fail to load. This is a separate configuration issue related to CORS. This does not affect backend functionality.
Reset guided tours
The commands to reset the tours for users are either:
Reset tour for a specific user
DELETE FROM public.guided_tour_progress WHERE user_id = '<UUID>';
Reset tour for all users
DELETE FROM public.guided_tour_progress;
Complete tour for a specific user
INSERT INTO public.guided_tour_progress (user_id, step_key)
SELECT
'<TARGET_USER_UUID>'::uuid,
step_key
FROM (
SELECT DISTINCT step_key
FROM public.guided_tour_progress
) s
ON CONFLICT (user_id, step_key) DO NOTHING;
For this to work at least one user has to have completed the guided tour before.
If the user the tour should be completed for is the first user to ever complete it then the step keys which are defined in GuidedTourStepIds.ts in the frontend have to be used in the insert.
Unpause tour for a specific user
UPDATE public.guided_tour_states SET pause_count = 0 WHERE user_id = '<UUID>';
or
DELETE FROM public.guided_tour_states WHERE user_id = '<UUID>';
Unpause tour for all users
UPDATE public.guided_tour_states SET pause_count = 0;
or
DELETE FROM public.guided_tour_states;
Statistics for maps
Get the number of plantings per map
SELECT m.id, count(*) AS "number of platings" FROM plantings pl JOIN layers l ON pl.layer_id = l.id JOIN maps m ON l.map_id = m.id GROUP BY m.id;
Get the number of plantings per map for current day
SELECT m.id, count(*) AS "number of platings" FROM plantings pl JOIN layers l ON pl.layer_id = l.id JOIN maps m ON l.map_id = m.id WHERE pl.add_date <= CURRENT_DATE AND pl.remove_date >= CURRENT_DATE GROUP BY m.id;
Get the number of plantings per map for current year
SELECT m.id, count(*) AS "number of platings" FROM plantings pl JOIN layers l ON pl.layer_id = l.id JOIN maps m ON l.map_id = m.id WHERE date_part('year', pl.add_date) <= date_part('year', CURRENT_DATE) AND date_part('year', pl.remove_date) >= date_part('year', CURRENT_DATE) GROUP BY m.id;
Get the number of plantings per map that where modified in the last 30 days
SELECT m.id, count(*) AS "number of platings modified in the last 30 days" FROM plantings pl JOIN layers l ON pl.layer_id = l.id JOIN maps m ON l.map_id = m.id WHERE pl.modified_at >= now() - interval '30 day' GROUP BY m.id;
Get number of different kinds of plantings per map
SELECT m.id, count(DISTINCT pl.seed_id) AS "number of different plantings" FROM plantings pl JOIN layers l ON pl.layer_id = l.id JOIN maps m ON l.map_id = m.id GROUP BY m.id;
Get number of drawings per map
SELECT m.id, count(*) AS "number of drawings" FROM drawings d JOIN layers l ON d.layer_id = l.id JOIN maps m ON l.map_id = m.id GROUP BY m.id;
Get number of shadings per map
SELECT m.id, count(*) AS "number of shadings" FROM shadings s JOIN layers l ON s.layer_id = l.id JOIN maps m ON l.map_id = m.id GROUP BY m.id;
Get number of soil textures per map
SELECT m.id, count(*) AS "number of soil_textures" FROM soil_textures st JOIN layers l ON st.layer_id = l.id JOIN maps m ON l.map_id = m.id GROUP BY m.id;
Get number of hydrologies per map
SELECT m.id, count(*) AS "number of hydrologies" FROM hydrologies h JOIN layers l ON h.layer_id = l.id JOIN maps m ON l.map_id = m.id GROUP BY m.id;
Guidelines
This folder contains general developer guidelines for the Perma initiative. In a few cases they can be broken but such occurrences must be documented, ideally with code comments nearby.
Process Guidelines
Best practices and standards for project workflows:
- review.md - Review conduct, constructive feedback principles, and review quality standards
- issue-triage.md - Triage principles, clarity assessment criteria, and labeling best practices
- issue-refinement.md - Refinement best practices, self-contained issue descriptions, and AI-assisted refinement
- issue-reporting.md - Bug reporting standards, feature request standards, and required information
- iteration-planning.md - Workload assessment principles, capacity planning, and balanced task assignment
- tools.md - Tool documentation philosophy, self-documenting scripts, and directory organization
Technical Guidelines
Technical standards for development (see individual files for complete documentation).
REST
We exclusively use:
- JSON or images as content.
- GET to retrieve resources.
- POST to submit new resources to the server.
- PUT to fully update an existing resource (fails if it does not exist).
- PATCH to update parts of an existing resource (fails if it does not exist).
- DELETE to remove resources.
Both PUT and PATCH should be implemented idempotent. I.e., doing the same API calls again must be a NOP.
Status Codes
On success (e.g., when mutating the database), a 2XX status code should be returned. For validation errors, a 4XX status code is appropriate. A 5XX status code indicates a server error.
Returning 5XX is always a bug.
For more information on semantically correct status codes, please refer to MDN - HTTP response status codes.
Endpoints
The endpoint paths use:
- hierarchical structure
- nouns instead of verbs
- only plural (exception: config)
- all endpoints need authorization (exception: config)
- all paths below
/api - layer-specific paths below
/maps/<map_id>/layers/<name of layer>/e.g./maps/<map_id>/layers/plants/plantings
Parameters
- Use singular if there is only one item, plural for collections.
- Search should have its own endpoint and parameter should be
name - Return values are called
Page*if they support paging. We use the parameterpageandper_page(type integer) for pagination. - Currently we don't use filtering or sorting.
- If in doubt, leave it out: keep parameters minimal.
Versioning
The frontend is the only user, so we only need minimal API versioning. The frontend only need to know if a reload is needed.
Files
We use utility functions to access files in Nextcloud.
Documentation
Documentation of APIs is done via utopia:
- utoipa::path must be present for every endpoint e.g.
#[get(...)] - all possible responses should be documented
- specific 2xx codes, e.g., we use
201 Createdfor successfulPOSTrequests - all ways client could behave wrongly1 using 4xx error codes
- specific 2xx codes, e.g., we use
1 i.e., how the API could be wrongly used (preconditions not met etc.)
Example:
#[utoipa::path(
context_path = "/api/maps",
responses(
(status = 200, description = "Fetch a map by id", body = MapDto)
),
)]
Security
All endpoints except of /api/config must use Keycloak's jsonwebtoken and indicate so using:
#[utoipa::path(
security(
("oauth2" = [])
)
)]
Further Readings
Backend Logging
The backend uses env_logger together with log as a logging framework.
env_logger allows to configure logging via the environment variable RUST_LOG.
Changing the Logging Level
To change the log level you can do one of the following:
- Run the backend with e.g.
RUST_LOG='backend=debug,actix_web=info' cargo runto change the log level of our code to debug - Change the variable
RUST_LOGin the .env file
Log Messages
- Use detailed logging messages for easy troubleshooting. It must be clear what should have happened and what actually happened.
- Include relevant context, parameters, error codes etc.
- Log only if actually needed. Exceptions: all calls of endpoints and SQL queries should be completely logged (level: debug).
- Always use the lowest applicable logging level.
Log Levels
Available logging levels are:
- error
Use for events disrupting normal operations. - warn
Apply for potentially harmful situations or undesirable yet operational states. - info
Use to monitor the essential flow of the application, capturing important operations like successful user authentications. - debug
Reserved for development or debugging; includes detailed updates, states of critical application points, or SQL queries. - trace
Use for granular logging, such as step-by-step function execution, to aid in complex issue diagnosis.
How to add Logging
To log you can simply call the macros in the log crate.
For example to log using the debug level:
log::debug!("This is my variable: {}", some_variable);
As you can see, it can be used in the same way as for example println!().
Log SQL queries
SQL queries can be converted to something that can be logged using debug_query.
let query = diesel::delete(seeds::table.find(id));
debug!("{}", debug_query::<Pg, _>(&query));
query.execute(conn).await
PLSQL Logging using RAISE NOTICE And RAISE EXCEPTION
For debugging or info purposes RAISE NOTICE and RAISE EXCEPTION can be used in PLSQL.
To be able to see the output from those on the server activate the logging with the following commands:
ALTER SYSTEM SET client_min_messages TO notice;
ALTER SYSTEM SET log_min_messages TO notice;
SELECT pg_reload_conf();
For debugging with the psql db-client built into the terminal this is not needed. This client can be started with the following command using terminal:
PGPASSWORD=permaplant psql -h localhost -p 5432 -U permaplant permaplant
After starting the db including its PLSQL-functions can be accessed.
Tutorial for synchronized APIs in the Map Editor
This tutorial explains the synchronization mechanism of the collaborative Map Editor, focusing on how user actions are communicated between the frontend and the backend.
It covers what common CRUD operations for different map elements, the structure of action requests, and the benefits of batch operations.
At the end we take a look at the implementation of PATCH /api/maps/{map_id}/layers/plants/plantings as an example.
Map Editor Synchronization
When a user makes a modification to a map, other users see that change reflected in real-time without needing to refresh the webpage.
All operations are synchronized through a system of update events, referred to as Actions in the backend and RemoteActions in the frontend.
See backend/src/model/dto/actions.rs and frontend/src/features/map_planning/store/RemoteActions.ts.
Since the tutorial is written from the perspective of the backend, they are referred to as actions here.
When opening the Map Editor, the frontend establishes a connection to the Server-Sent Events (SSE) stream at /api/updates/maps?map_id=<map_id>&user_id=<user_id>.
Common Interface
All APIs that act on maps support standard CRUD (Create, Read, Update, Delete) operations:
- Get: Retrieve elements.
- Post: Create new elements.
- Patch: Update existing elements. Note: different types of updates can be processed through the same endpoint.
- Delete: Remove elements.
Please use appropriate HTTP methods and status codes (See our API guidelines).
Note that the
Deleteoperation implements a soft delete for layers and maps, allowing for recovery.
If the request changes the state of the map (Post, Put, Patch, Delete) the request body is wrapped in ActionDtoWrapper (backend/src/model/dto/core.rs).
ActionDtoWrapper adds an actionId to the request.
This actionId is generated and supplied by the frontend to recognize its own actions within the SSE stream of events.
The backend updates the database and then sends out an update to all users on the same map.
E.g., the API to place a new Planting onto the map via POST /api/maps/<map_id>/layers/plants/plantings sends the following request body.
{
"actionId": "<uuid>",
"dto": { ... }
}
The backend processes the request and sends out the CreatePlanting action.
This is the JSON payload received by the SSE stream of all listeners.
{
"action": {
"payload": [
{
"id": "<planting_uuid>",
"sizeX": 300,
"sizeY": 300,
"x": -315,
"y": -959,
... more planting attributes
}
],
"type": "CreatePlanting"
},
"actionId": "<uuid>",
"userId": "<uuid>"
}
All APIs that operate on a map should be under /api/maps/<map_id>/... (See our API guidelines).
To register a new API we need to create a file in the backend/src/controller directory and register the routes in backend/src/config/routes.rs.
Common Properties
The id of each map element (layers, plantings, drawings, areas...) is a UUID that is generated by the frontend.
The frontend optimistically displays the change in the UI and then updates fields from the response body when the request succeeds.
In case the update failed (HTTP status code >= 300) it undoes the changes visually.
Metadata is stored for some elements.
At the time of writing, the tables maps and plantings have metadata.
If you want to add metadata to a table, please use these columns:
created_by: User UUID, set on creationcreated_at: Timestamp of the creation, only set oncemodified_by: User UUID, set on each updatemodified_at: Timestamp of the last update, set on each update
Batch operations
Many operations on the map use a list of items instead of a single item.
For instance, to move one or more plantings on the map we use the request PATCH /api/maps/{map_id}/layers/plants/plantings with a list of plantings.
{
"actionId": "<action_id>",
"dto": {
"type": "move",
"content": [
{
"id": "<planting_uuid_1>",
"x": 10,
"y": 10
},
{
"id": "<planting_uuid_2>",
"x": 20,
"y": 20
}
]
}
}
This is useful because the user can move many plantings at once by selecting multiple plantings and dragging them.
Add new layer type to all maps
To add a new layer type to all maps, we need to follow two steps:
-
Migrate the
layerstable to add the layer to all existing maps. (You can find examples in the migrations; just look for "INSERT INTO layers"). -
The
create()function in the map service inbackend/src/service/map.rsinserts all layers into a newly created map. Update this function to also include the new layer type upon creation.
Example
Let's look at the HTTP Patch for plantings, that includes the MovePlanting update.
This is the update function in backend/src/controller/plantings.rs at the time of writing.
#![allow(unused)] fn main() { #[utoipa::path( context_path = "/api/maps/{map_id}/layers/plants/plantings", params( ("map_id" = i32, Path, description = "The id of the map the layer is on"), ), request_body = ActionDtoWrapperUpdatePlantings, responses( (status = 200, description = "Update plantings", body = Vec<PlantingDto>) ), security( ("oauth2" = []) ) )] #[patch("")] pub async fn update( path: Path<i32>, update_planting: Json<ActionDtoWrapper<UpdatePlantingDto>>, user_info: UserInfo, pool: SharedPool, broadcaster: SharedBroadcaster, ) -> Result<HttpResponse> { let map_id = path.into_inner(); let ActionDtoWrapper { action_id, dto } = update_planting.into_inner(); let updated_plantings = plantings::update(dto.clone(), map_id, user_info.id, &pool).await?; let action = match &dto { UpdatePlantingDto::Transform(dto) => { Action::new_transform_planting_action(dto, user_info.id, action_id) } UpdatePlantingDto::Move(dto) => { Action::new_move_planting_action(dto, user_info.id, action_id) } // ... Other update types here }; broadcaster.broadcast(map_id, action).await; Ok(HttpResponse::Ok().json(updated_plantings)) } }
Let's start with the two attributes (#[utoipa::path(...)], #[patch("")]).
utoipa is used to generate the OpenAPI documentation, it doesn't change the functionality of the API.
The file backend/src/config/api_doc.rs must be edited in combination with the information in the attribute.
The attribute #[patch("")] is from the actix_web crate to denote what HTTP method is used.
The path must additionally be registered as a route in backend/src/config/routes.rs.
Function parameters can use the wrappers:
Path: to capture variables in the URL's path segment.Query: to capture variables in the URL's query parameters (not used in this example).Json: to use the request body. The request body is already validated and parsed by the framework and converted to the Rust typeActionDtoWrapper<UpdatePlantingDto>.
Apart from these parameters, requests can also inject globally available data wrappers. Here we use:
UserInfo: to get information about the user who sent the request.SharedPool: to gain access to the database.SharedBroadcaster: to use the SSE Broadcaster.
As we can see, the request body is wrapped in ActionDtoWrapper since the request causes an action to be sent.
Typically a request calls out to one or more services, which validate the input and update the database.
After we await the call to plantings::update(), we need to send the appropriate action to the user.
The match statement creates the appropriate action payload depending on the type of update.
We tell the broadcaster to send off the action to all listeners before returning back 200 OK.
Backend
Nearly all guidelines are documented using rust-clippy, so this document is kept short.
- Always derive
DebugandClone(but beware of deriving Copy). - Actions must be created in
backend/src/model/dto/actions.rs. - We reuse the global http client like this:
let server = HttpServer::new(move || { App::new() /*other initialization code*/ .app_data(http_client.clone()) }). - Read also about backend logging.
Serialization
- In case struct properties of type
Option<T>have valueNone, they should be serialized as missing properties instead of null values.
This is a workaround for an open typeshare issue.
Such serialization can be achieved by adding serde skip_serializing_if attribute on such property:#[serde(skip_serializing_if = "Option::is_none")]
Code Comments
Code is not only for the computer, but it should be readable for humans, too. Up-to-date code comments are essential to make code understandable for others. Thus please use following techniques (in order of preference):
- Comment interfaces following design-by-contract.
- You should also add assertions to state what should be true at a specific position in the code. Advantage: Syntax is checked and they are automatically verified at run-time. So they are not only useful for people reading the code but also for tools. Note: Do not use assert for user-APIs, always handle arguments of user-APIs like untrusted input.
- If the "comment" might be useful to be printed during execution, use logging.
- Otherwise comment within source.
Use
TODOto indicate that something is not yet done. Before merging, relevantTODOs should be fixed or create a left-over issue
Code Review
- for each code review, only pick about 3-7 guidelines you think are most important in this context
- document which guidelines you chose
- don't check for what could be automatically checked (create issues for how to improve linter etc.)
Most important criteria to check:
- is the code (with comments) understandable or can it be simplified?
- is clear which code is responsible?
- are names intuitive, consistent and included to glossary?
According to our architecture it can be important:
- is all data validated?
- are checks done only once?
- etc. (please read architecture)
Code
For both frontend/backend:
- we prefer using:
- our own util functions (if available)
- battle-tested good libraries (with decisions)
- compiler and linter should be without any warnings or errors
- keep code stupid (debugging is twice as hard as coding)
- names should be describing well what they are for and adhere to our glossary
- avoid magic numbers, prefer to use named constant instead
- avoid obviously inefficient code if more efficient solutions are available (please benchmark or ask in case of doubt)
For frontend:
- don't overuse useEffect (see You Might Not Need an Effect)
- for longer strings like classNames template literals are preferred
Database
- use as many constraints as possible
- prefer types to express constraints
- also encode "business logic" in the DB
- as manual SQL queries are done, too, don't assume that backend constraints are enforced anyway
- we don't use float, prefer enums over numbers, integers over text
- size/position is given in cm (integer), e.g.
15cmwill be represented by15 - rotation/scaling is given with scaling of
100(integer with decimal fixed-point of 3 digits), e.g.0.5°will be represented by50
- size/position is given in cm (integer), e.g.
- use all features from PostgreSQL or PostGIS and all their guidelines
- exceptions: we don't use XML, JSON or JSONB in the DB (and obviously also nothing but text in
text)
- exceptions: we don't use XML, JSON or JSONB in the DB (and obviously also nothing but text in
- use
snake_casefor everything except database keywords, which should beUPPERCASE- also types are lower-case, e.g.
bigintoruuid
- also types are lower-case, e.g.
- prefer
textovervarchar(n), don't use other variants - enum names should be singular
- on conflicts with other names, the types should get a
_typeprefix
- on conflicts with other names, the types should get a
- table names should be plural (only the last word though, i.e.,
plant_traits)- use
_propsor_traitsfor properties or traits, e.g.free_line_points
- use
- prefer
uuidv7 as primary keys, usually simply calledid- except for tables that are not subject to concurrent use (backend creates new items)
- foreign keys are called other table name in singular +
id, e.g.layer_id.
- prefer
bigintfor primary keys,BIGSEQUENCEoverSEQUENCE - be as consistent as possible, e.g.:
- same enum items should have same name, e.g.
unknownthroughout (unknownonly needed ifNULLnot already represents unknown) - columns with same meaning should have same name, e.g.
created_at - only use terms of our glossary
- expand glossary, if new terms are needed
- same enum items should have same name, e.g.
- don't use
JSONorJSONBand prefer normalized tables. See JSON decision
Documentation
This document gives guidelines for contributors concerning PermaplanT's documentation. This document takes preference to the actual situation. If you see documentation not according to this document, please create an issue. Alternatively, you can directly fix it with your next MR.
Note: It is always allowed to improve the documentation, in every MR, even if the documentation fix is completely unrelated. However, separate MRs are preferred and can potentially get merged sooner.
Target Groups
We write documentation only for contributors, i.e., a person who makes changes within PermaplanT's repository.
Every document must be clearly addressed to this target group.
Orientation
Each documentation should clearly be oriented to one of these three directions:
- learning-oriented: First introduction is done via README.md and tutorials, they teach the fundamentals.
- information-oriented: E.g. API docs are the references.
- understanding-oriented: The doc/decisions explain the "Why?" something is done as it is done, i.e., the rationale.
Literature mentions also goal-oriented concepts, but we prefer learning-oriented approaches. E.g. of course you might have the goal to write a new plugin. But why not also learn about plugins while creating a new plugin?
Takeaway: Don't try to combine different orientations in one document, instead split your documentation up in e.g. a
README.md(information), tutorial (learning) and decisions (understanding).
Criteria
PermaplanT's documentation must fulfill:
- Always write what is, not what you would like to have except of decisions. Explanations must always refer to the current situation (as changed with your MR).
- It is self-contained. It is not enough to link to some paper and an external page as explanation. All explanation must be within the repository, e.g., in case the external information goes away. This doesn't apply if the authoritative standard lives outside of PermaplanT. Then you would write, e.g., "The toml plugin implements this standard, with following extensions:". The extensions, however, again must be fully listed within our repository. Make sure to link to the correct version of the standard.
- We use standard Markdown where possible, with only a few extensions:
- styled fenced blocks
- [ ]option lists- <word>:<line break>description lists
- The documentation should be as near to the code as possible.
Takeaway: Include full API and Markdown documentation of the current situation directly in your MRs.
Style
- Sentences are short and one sentence per line.
I.e. lines end with
.,:or;. - Use active and strong verbs early in your sentences. "We" refers to the community around the Perma Initiative.
- Use headings and lists to keep a clear structure in the text.
- Headings are written
In Uppercase for Longer Words. - Use examples and images to emphasize important points, don't overuse emphasis in text (bold, etc.).
- Spelling is American English, that means, color and not colour.
- Terminology is consistent with our glossary.
Note: Please extend glossary as needed.
Completeness
In general the documentation does not need to be complete. In particular, we do not want repetition of implementation details as documentation. Prefer to write self-documenting code. Nevertheless, there are a few must-haves:
- A
README.mdmust be available for every module. - A glossary entry must be present for every important term.
- A tutorial must be present for every essential concept.
- Everything copied must be properly licensed via REUSE.toml, see reuse.software.
Links
Generously use links but be very careful to create a coherent documentation (German: "roter Faden"):
- Clearly separate between prerequisites and further readings.
- Prerequisites: Concepts people need to know before reading the documentation must be linked in the beginning.
- When adding links, check if users cannot easily get lost in circles.
- To link to PermaplanT's documentation files, i.e. everything in
docwhich is included in mdbook, use relative internal links, e.g. see above link to glossary. - When external links are needed, e.g. within issue templates, use:
- for MRs use pulls.permaplant.net, e.g., !7
- for issues use issues.permaplant.net, e.g., #123
- for files use blob.permaplant.net/branch/file, e.g. the frontend folder on the dev branch
Takeaway: Links are very helpful to readers. Make sure documentation can be read one after the other with these links (German: "roter Faden").
Templates
In general we use arc42.org but we use specialized templates for:
How to write tests
Locator Guidelines
Before developing E2E tests make sure you have read the locator guidelines.
General rules
- Be consistent and minimalistic.
- Don't use synonyms. Use the same vocabulary as Playwright (click, visible, etc.).
- Avoid using multiple different verbs for the same actions, keep your vocabulary small and precise.
Use Playwrights vocabulary.
This means to prefix methods with the actions from Playwright (e.g when calling
xyz.click()from Playwright inside that method, name the methodclick_xyz()not a mix of press, click, push etc.) - Don't indent more than one time.
- Don't make a complicated call stack higher than two from a page object.
- Every test should be independent from other tests (concurrency).
- Name inputs or objects you create SUT (System under Test) so they are clearly marked as test artifacts.
A typical workflow
The usual workflow consists of three steps:
- (
/features) write a feature with one or multiple scenarios. - (
/pages) implement the page objects. - (
/steps) create a function for each scenario step using the page objects.
Let us go over these steps in more detail.
Writing .feature files
Make sure to have a solid understanding about the Gherkin syntax, so you don't fall into common pitfalls. Usually the syntax is not very strict but poor Gherkin will cascade into the later processes of testing and make everything more complicated.
Here are some general guidelines for writing Gherkin.
We have decided to use "I" instead of the third person.
Implementing Page Objects
ALL tests are performed exclusively with page objects, where the selectors and functions are defined inside a class.
If you are not familiar with the page object model look here if you are familiar with the page object model, still have a look : ).
The page objects are all instantiated globally inside conftest.py and injected into the step functions as arguments.
When using Playwright for Python we are interacting with Playwrights page class, which is basically representing a tab.
This Playwright page class is then instantiated as a singleton and used globally across all OUR page objects to perform actions on the webapp.
It is crucial to pay close attention what the side effects of OUR page object methods are as some methods will change the webpage and you will have to use a different page object after.
The Pagefactory does not exist yet due to implementation difficulty and for flexible design at the start. Just use the fixtures instead as they basically do the same.
Creating steps with pytest-bdd
When implementing the test steps you should ONLY be invoking methods of page objects to reach your goal. Implementing complex functionalities inside tests should be STRICTLY avoided and implemented into the corresponding page objects.
Following the testing strategy from PermaplanT:
- Given should ARRANGE
- When should ACT
- Then should ASSERT
This will ensure the tests are simple and don't perform too much magic all over the place.
Parallelization
Pytest-xdist is used to parallelize the tests. This is done to reduce the pipeline time, since many tests could make this stage take a long time at the end. When developing tests always keep in mind that each scenario is running on a separate core and should not depend on results of other scenarios. A scenario outlet will also start each scenario with one core. Try to avoid too complex parallelization and we also probably don't need to assign and manage worker groups with additional xdist syntax.
Helpful tools
Playwright Test Generator
This is the fastest way to get some locators and see how Playwright would write the tests. This should under no circumstances be copy pasted and put into a test but rather help you write the page objects.
Launch it from the terminal and create code that you can later refactor into your page objects.
playwright codegen http://localhost:5173/
Pytest-bdd Test generator
- pytest-bdd generate features/login_logout.feature > steps/test_some_feature.py
Only missing stuff:
- pytest --generate-missing --feature features steps/
Files
- we use
/as separator in file paths - file names should use only
[a-z_-] - file names should use
_or-instead of spaces (be consistent with the convention in the folder) - text files' encoding should be UTF-8 without BOM
- text files' line break type should be LF
- text files should end with a line break
Frontend API Calls
These guidelines outline best practices for making API calls using React-Query within our project.
What is React-Query?
React-Query is a library that provides hooks and utilities for managing, caching, and synchronizing asynchronous and remote data in React applications.
Basic Concepts
When integrating React-Query for API calls, consider the following guidelines:
Query keys
- Query keys are crucial for React-Query to manage caching and data fetching efficiently. They also play a crucial role in how queries get invalidated after a mutation.
- Use meaningful and unique query keys to identify each API call.
- Have a look at following guidelines: https://tanstack.com/query/v3/docs/framework/react/guides/query-keys and https://tkdodo.eu/blog/effective-react-query-keys
Example
const useUserData = (userId) => {
return useQuery(["user", userId], fetchUserData);
};
Local Error handling
Errors can be handled locally by using isError flag from useQuery:
const UserProfile = () => {
const { data, isError } = useQuery("userData", fetchUserData);
if (isError) {
// Render UI for error state
return <div>Error fetching data</div>;
}
// Render UI for successful data fetch
return <div>{data}</div>;
};
Global Error Callbacks
- If a toast message should be shown use meta information for passing error message.
- The error will be handled by the global onError function defined in
@/config/react_query/index.ts. - Related blog post: https://tkdodo.eu/blog/breaking-react-querys-api-on-purpose#a-bad-api
const { data, isLoading } = useQuery(["files", path], {
queryFn: () =>
(webdav as WebDAVClient).getDirectoryContents("/remote.php/webdav/" + path),
meta: {
errorMessage: t("fileSelector:error"),
},
});
Further reading
Mutation
- Use mutations for data modification operations (POST, PUT, DELETE).
- Mutations automatically handle the asynchronous process, providing a clean and consistent way to update data.
Example
const addFile = useMutation({
mutationFn: (file: FileOptions) => {
return (webdav as WebDAVClient).putFileContents(
WEBDAV_PATH + file.path + '/' + file.name,
file.buffer,
);
},
onError: () => {
errorToastGrouped(t('uploadFile:upload_error'));
},
onSuccess: (data, variables, context) => {
toast.success(variables.name + ' successfully uploaded!');
if (onSuccess) {
onSuccess(data, variables, context);
}
},
});
Scalable Approach
The above examples are useful for understanding how react-query works and for one-off api calls that are just made from a single point in the code. A scalable approach is to define per feature a query-key factory:
const USER_KEYS = {
_helpers: {
all: [{ entity: "user" }] as const,
details: () =>
[{ ...USER_KEYS._helpers.all[0], scope: "details" }] as const,
},
detail: (userId: string) =>
[{ ...USER_KEYS._helpers.details()[0], userId }] as const,
};
and to use it like this in queries:
const useUserData = (userId) => {
return useQuery({
queryKey: USER_KEYS.detail(userId), // use the query key for user detail
queryFn: userDataQueryFn,
});
};
function userDataQueryFn({
queryKey,
}: QueryFunctionContext<ReturnType<USER_KEYS["detail"]>>) {
const { userId } = queryKey; // type safe destructuring, makes sure query key and arguments do not diverge
return fetchUserData(userId);
}
With the above example a user detail query key would have the following structure.
[
{
"entity": "user",
"scope": "detail",
"userId": 1
}
]
Such a structure allows invalidation on different levels. For example invalidating all queries that concern the user entity, or all queries that concern the user details or a single user detail query.
A mutation that updates a single user resource on the backend, can then easily invalidate the respective query like so:
const useUpdateUserData(updateUserDto) {
const queryClient = useQueryClient();
return useMutation({
mutationFunction: () => updateUserData(updateUserDto),
onSuccess: () => queryClient.invalidateQueries(USER_KEYS.detail(updateUserDto.userId)), // invalidates all queries that match the query key
})
}
Further reading
- https://tkdodo.eu/blog/effective-react-query-keys
- https://tkdodo.eu/blog/leveraging-the-query-function-context
Deep Dive (whole blog series)
Frontend Architecture
Bulletproof React
Our frontend follows the Bulletproof React architecture principles with a focus on feature-based organization and clear separation of concerns. For considered alternatives and decision process, see Frontend Architecture Pattern.
Here's how we structure our codebase:
1. Feature-Based Organization
We organize code by features rather than by file types, following the src/features/ structure:
src/features/
├── auth/ # Authentication features
├── dark_mode/ # Theme switching functionality
├── map_planning/ # Core map editor
├── maps/ # Map management
├── nextcloud_integration/ # Nextcloud images integration
├── seeds/ # Seed library management
└── toasts/ # Notification system
Each feature contains its own components, hooks, services, and types, making the codebase more modular and easier to maintain.
IMPORTANT:
Cross-feature imports are not encouraged.
If code needs to be shared between two features, it should be extracted to common code (src/components/, src/hooks/ or src/utils/).
2. Shared Components
Common UI components are placed in src/components/ and designed for reuse across features:
src/components/
├── Button/ # Reusable button components
├── Card/ # Card layouts
├── Form/ # Form components and validation
├── Header/ # Application header
├── Layout/ # Page layout components
├── LoadingSpinner/ # Loading states
├── Modals/ # Modal dialogs
└── Slider/ # Input sliders
3. Shared Hooks
Reused business logic or technical utilities are extracted into reusable custom hooks in src/hooks/.
Some examples are:
useDebouncedSubmit.tsx- Debounced form submissionsuseDebouncedValue.tsx- Debounced state updatesuseDimensions.tsx- Responsive design utilitiesuseIsAdmin.tsx- Role-based access controluseIsOnline.tsx- Network connectivity detectionuseKeyHandlers.tsx- Keyboard event managementuseOrientation.ts- Device orientation handling
4. Shared Utilities
Pure functions and utilities are organized in src/utils/, for example:
brushing-utils.ts- Map drawing utilitiescolors.ts- Color palette and themingenum-utils.ts- Enumeration utilitiesform-utils.ts- Form-related utilitiesstring-utils.ts- String manipulation utilities
For detailed guideline on creating and organizing common utilities, see Frontend Common Utilities.
5. Type Safety
We achieve type safety in the codebase primarily through automatically generating types shared between frontend and backend.
Automatic generation is achieved through the third-partly library typeshare (see Typeshare Research) and integrated into our Makefile commands.
Frontend-only types are organized by features.
src/api_types/definitions.ts- Auto-generated types shared between frontend and backendsrc/features/*/types.ts- Frontend-only types within each feature directory
Frontend Common Utilities
Common utilities are reusable functions and values that encapsulate frequently used application logic. They promote code reuse, maintainability, and consistency across the application.
Locating Existing Utilities
Before creating a new utility, check if similar functionality already exists in the codebase. Think about other functionalities that might solve the same logic and investigate how they're implemented.
Example: When implementing scaling for new Plant Markers, check if existing Plant Labels already have scaling logic.
Search Strategy:
- Look in
features/*/utilsandsrc/utilsdirectories - Search for relevant keywords using file search or regex search
- Examine similar components for comparable logic
When to Create Common Utilities
Create common utilities when application logic is duplicated or likely to become duplicated. Extract duplicated logic into functions, focusing on core logic that can be abstracted from component context.
Key Indicators:
- Same logic appears in multiple places
- New features will require similar functionality
- Logic is non-trivial or is making a design decision
How to Create Common Utilities
Location: Determine the appropriate file by asking:
- Is my utility scoped to a feature? Yes →
features/my_feature/utils, No →src/utils - What object is it related to? (Date, Layer, Planting, etc.)
- Is there already an
object-utils.tsfile for it?
Interface:
Common utility functions should have clean, understandable interfaces.
-
Name: Function should be named descriptively. The name should describe what it does, rather than where or how it is used. Example:
capitalizeFirstLetterand notprepareCommonPlantNameForDisplay. -
Arguments: There should be no more than three arguments. When 4+ arguments are needed, group them into object arguments. Arguments should also be grouped into an object if there are 3 or less arguments but some of them have exactly the same type (e.g.,
boolean). An exception to this is equality function (e.g.,arePlantsEqual). -
Return value: Functions should return a single, clearly typed value. Avoid returning loosely typed values such as
any,unknown. If a function can fail or produce no result, prefer returningnullorundefinedover throwing an error, and document which case returnsnullorundefined.
Implementation:
Common utility functions should have readable, straightforward implementation.
- Use meaningful names for variables
- Keep implementation simple and understandable
- Write comments to explain non-obvious WHYs
- Make functions pure when possible (no side effects)
- Use TypeScript for type safety
Documentation:
Each common utility hook or function should be documented with JSDoc comments explaining:
- What the utility does and what is the expected result
- The rationale behind the expected result (if applicable)
- When the utility should be used (if not obvious from its name)
This reinforces utility stability by making it easier to understand whether behavioral changes are accidental (comment unchanged) or intentional (comment updated).
Testing: Add unit tests for non-trivial utilities.
Place tests in the same directory structure (e.g., date-utils.test.ts alongside date-utils.ts).
Example: String Utilities
The string-utils.ts file demonstrates good utility function practices:
Location: Placed in src/utils/ since it provides general string manipulation functions used across features.
Meaningful Names:
capitalizeFirstLetter()- Clear name indicating exactly what the function doescapitalizeText()- Descriptive name for title case formatting
Documentation: Each function includes JSDoc comments explaining the purpose and behavior.
Pure Functions: Both functions are side-effect free and return predictable outputs for given inputs.
Type Safety: Uses TypeScript with explicit parameter and return types.
Testing: Includes comprehensive tests in string-utils.test.tsx covering normal cases and edge cases (undefined, empty arrays).
Frontend Component Responsiveness
This guide should help improve the responsiveness of the PermaplanT web application going forward.
Its focus are layout and usability best practices that target specific PermaplanT components.
Map Usability
Toolbar visibility
- On smaller screens (< 768 px) in portrait mode, the left toolbar may be shown and the right toolbar should be hidden by default.
- On larger screens (>= 768 px) in portrait mode, left and right toolbars may be shown by default.
- On screens in landscape mode, left and right toolbars may be shown by default.
Navbar visibility
- On smaller screens (< 768 px) in landscape mode navbar is hidden by default.
- On larger screens (>= 768 px) in landscape mode navbar may be shown by default.
- On screens in portrait mode, the navbar may be shown by default.
Timeline visibility
- On smaller screens (< 768 px) in landscape mode timeline should be hidden by default.
- On larger screens (>= 768 px) in landscape mode timeline may be shown by default.
- On screens in portrait mode, the timeline may be shown by default.
Creating a New Layer in Frontend
This document gives guidelines on how to implement a new layer in the frontend.
Folder Structure
- Navigate to the
layersdirectory in your project (features/map_planning/layers). - Create a new folder named after the type of layer you want to add (e.g.,
new_layer).
Add Necessary Files and Folders
- Inside the "newLayer" folder:
- If your layer requires API interactions, create an
apifolder and place your .ts files in there or place them into the map_planning api folder depending on whether it's a special api that is part of the layer or it's just for initiating the layer in general. - For React components or custom hooks specific to this layer, add a
componentsorhooksfolder. - Create a main TypeScript file for the layer (e.g.,
NewLayer.tsx). - Inside
componentscreate aNewLayerLeftToolbar.tsx,NewLayerAttributeEditForm.tsxand aNewLayerRightToolbar.tsx. - Inside the
newLayerfolder create a file actions.ts.
- If your layer requires API interactions, create an
Define the Layer Component
- In
NewLayer.tsx:- Import Konva and other dependencies.
- Define a functional component that returns a Konva
Layer.
- In
mapEditorHookApi.ts:- Define a hook for your layer (e.g.,
useNewLayer.tsx). - Add states (see next section) that need to be saved across components.
- Add an init function (e.g.,
initNewLayer) which is then defined inside theTrackedMapStore.ts.
- Define a hook for your layer (e.g.,
- In
MapWrapper.tsx:- Extend the
useInitializeMapmethod to also initialize your new layer, by getting the object out of the loaded layers (e.g.,const newLayer = getDefaultLayer(LayerType.New, layers)). - Make sure an entry for your new layer is also added to the storedMapInfo (this is where the visibility and opcaity of the layer will be tracked).
- Then call here the hook you defined in the
mapEditorHookApi.ts(e.g,useNewLayer).
- Extend the
Implement Layer Logic
- Use hooks (starting with
usein the name) and the global MapStore (tracked & untracked) to manage state and interactions. - Ensure proper interaction with other layers and elements.
- In
EditorMap.getToolbarContentreplace the empty divs for left and right with the toolbars for your layer. - Toolbars
- Set up
NewLayerLeftToolbar.tsxwith change listeners as the component for manipulating attributes of the selected map element. - Inside
NewLayerLeftToolbar.tsx, import and useNewLayerAttributeEditForm.tsxto show/edit element attributes. - In
NewLayerAttributeEditForm.tsx:- Add fields for all attributes of the element.
- Use
BasicAttributeEditForm.tsx(frommap_planning/components/toolbar/) foraddDate,removeDate, andnotesfields. - Add a delete button that deletes the element from the map (not only remove) like it has never existed.
- Set up
NewLayerRightToolbar.tsxas the component for selecting elements to be placed/drawn on the map.- Add buttons and components for selecting and drawing new elements directly in NewLayerRightToolbar.tsx.
- Set up
- For selecting an element to be placed add a function to
UntrackedMapStore.tsand a state toMapStoreTypes.ts. - Write the client-side for the layer's API and put it into
map_planning/api(except for brushing layers - see Brushing Layers below). - Actions include:
- Create (placing an element on the map)
- Delete
- Separate Updates
- Add Date
- Remove Date
- Notes
- Type/Value
- For some layers (except brushing layers)
- Move
- Transform
- For every action do the following steps
- Create a class inside
actions.ts. - In every action the following functions are needed:
entityIds: entity ids that are affected by this actionexecute: commits the changes over the apireverse: undoes the actionapply: applies the given tracked state
- Create a class inside
- Use the actions within
NewLayer.tsxin listeners or hooks. - Add an entry for every action type to switch statement in
convertToActionofmap_planning/store/RemoteActions.ts.- This is the only thing needed for concurrent use to work (several browsers with same map).
- Keybindings
- Undo, Redo and Cancel Modal are defined as global keybindings and thus apply to every layer out of the box.
- Copying, Cutting and Pasting keybindings are not predefined but can easily be added by:
- adding the generic hooks
useCopySelectedElements.ts,useCutSelectedElements.tsandusePasteCopiedElements.tstoNewLayer.tsx. - adding layer-specific create and delete actions to
createCreateActionFromLayerCopyStateandcreateDeleteActioninlayer-utils.ts.
- adding the generic hooks
- Additional layer-specific keybindings can be defined as described in Frontend Keybindings.
Brushing Layers
These steps are additionally necessary only when implementing a brushing layer (like shade, hydrology, soiltexture).
- Instead of writing an own API for each brushing layer use the generic
areaApi.tsfromfrontend/src/features/map_planning/api/areaApi.ts. - Use
Area.tsxandBrush.tsxfrommap_planning/components/brush/inNewLayer.tsx.- Pass them the states for concavity and strokeWidth.
- Write a callback function handlePlaceNewLayerArea that executes the corresponding action for creating the area.
- In
area-utils.ts(map_planning/utils/area-utils.ts)- Write a function
fillColorFromNewLayerTypethat gives you the color for each type. - Write a function
getHydrologyFromAreathat extracts the area object itself.
- Write a function
- In
frontend/src/styles/globals.cssadd a color definition for each type (DEFAULT and dark).
Test Your Layer
- Write tests for hooks (in the same folder as hooks) if feasible/useful (see plant/hooks) to verify functionality.
- Especially if side effects or wrong behaviour can not be easily seen in manual tests!
Frontend Map Default View
View Rectangle
- The view rectangle is the part of the map that is visible to the user. The rectangle is tracked by the center point of the view, together with the width and the height of the visible component.
View State
- The view state is used to keep track of the center coordinates of the map, together with the current scale.
- This view state is necessary, in order to 'remember' the last map view the user had when navigating away, and to return to the same view when the map is loaded again.
View Behavior
-
Combining the two concepts, view rectangle and view state, we can determine what elements are in view and how the map should behave when the user pans/zooms/etc. on the map, or when elements of the web page resize (browser window resizes, or the toolbars left/right of the map resize).
-
In the case of the map actions, like panning or zooming, the view state will be updated with the new center coordinate and with the new scale (if it changed).
-
For the resizing events, to keep in line with the behavior of leaving the map and returning to the same map view as before, the app maintains the same center coordinate and scale, and instead changes the width and height of the view rectangle, keeping the map centered. This behavior also means that when the toolbars left/right of the map get resized, the map apparently 'pans' slightly left/right to keep the same center coordinate. This is the result of the coordinate being fixed, but the width/height of the view rectagle getting changed. (see following screenshot for example of toolbar resize result).

-
By default, when entering a map that did not have a saved view state, the map gets centered on (0, 0), with a default scale of 1, and the width/height of the view rectangle are determined by the size of the map element in the browser.
Frontend General Responsiveness
This guide should help improve the responsiveness of the PermaplanT web application going forward.
Its focus are general layout and usability best practices.
General Layout
-
Make use of a responsive layout like a grid or a flexbox when placing multiple components into a container.
-
Make use of relative widths/heights and max/min-heights/widths over absolute widths/heights to ensure a proper display on a wider range of screen sizes.
-
Whenever the general measures above are not sufficient, for example, when more fundamental changes are needed, Tailwind provides tools in the form of breakpoints that can be used to modify CSS properties based on the current screen size. Tailwind offers the following list of default breakpoints:
Breakpoint Prefix Minimum Width sm 40rem (640px) md 48rem (768px) lg 64rem (1024px) xl 80rem (1280px) 2xl 96rem (1536px) These breakpoints are generally applied to any screen matching or exceeding the minimum width specified unless another breakpoint is specified and matched or exceeded.
Additionally, Tailwind also allows the use of custom breakpoints, which offer an additional level of customizability.
Both types of breakpoints can be applied to any CSS property like so:grid grid-cols-1 md:grid-cols-[1.5fr_1fr] lg:grid-cols-[2fr_1fr] grid grid-cols-1 min-[300px]:grid-cols-[1.5fr_1fr] max-[600px]:grid-cols-[1.5fr_1fr] -
On small screens (< 768 px), single column layouts should be preferred.
-
Actions that take focus away from the main content should be clearly labeled to avoid accidentally triggering them as interruptions in the expected user flow can lead to frustrations when working with the application.
General Usability
- A whole-page scroll should generally be limited to a single direction, so if a whole-page scroll is vertical, a horizontal
scroll should generally be limited to specific components like horizontal news feeds or overflowing tables.
Component documentation should make clear which direction is used for scrolling. - The main focus of the page should by default cover at least 75% of both width and height.
- Any type of overlay covering more than the remaining 25% should be hidden by default.
- In any given state it should always be possible to access the collapsed overlays as well as return to the main focus with a single click or tap.
- Any interactable element should have a size of at least 36x36 Pixels to ensure consistent usability across different screen sizes.
Frontend Keybindings
This document gives guidelines on how to implement keybindings in the frontend.
Keybinding Configuration
The files config/keybindings/keybindings_windows_linux and config/keybindings/keybindings_macos contains all keybindings that are used in the application and serves the following characteristics:
- for all features add commonly-used and vim-like bindings
- we generally try to provide several keybindings for the same functionality, to make the functionality easily accessible
- there are different sections for keybindings:
global: keybindings that are globally active- Scopes for specific layers:
Keybindings that are only active if the corresponding layer is active.
These scopes should be named according to the layer name, postfixed with
_layer. _just_for_documentation_: Keybindings that are only used for documentation purposes since the keybinding is hardcoded in the component. For example, the search field can be cleared by pressing the Escape key, which is typically a native browser action and should not be configurable in the keybindings file.
- modifier keys are supported:
- Windows and Linux: Shift, Ctrl, Alt, Meta
- macOS: Shift, Ctrl, Opt, Cmd
- they can be used in combination with other keys by using the '+' sign (e.g. 'Alt+P', 'Shift+A')
- multiple keybindings can be assigned to one action
Structure:
{
"global": {
"<<action_name>>": ["<<Key-Binding>>", "..."]
},
"base_layer": {
"<<action_name>>": ["<<Key-Binding>>", "..."]
},
"plants_layer": {
"exitPlantingMode": ["Escape"]
},
"_just_for_documentation_": {
"clearSearch": ["Escape"]
}
}
Keyhandling on Focused Elements
- for components that provide keylisteners and are usually focused on use (e.g. input fields)
- method:
- add keybinding to json configuration for the corresponding action
- bind a keyhandler to the component that should handle the key event if focused
- retrieve the action name configured for the pressed shortcut using helper methods from
config/keybindings/index.ts - trigger the corresponding action
- if actions of parent components shouldn't be triggered, event propagation must be stopped
Example:
const handleKeyDown = (event: KeyboardEvent<HTMLInputElement>) => {
const action = getActionNameFromKeyEvent(<scope>, event);
if(action === "doSomething"){
doSomething();
event.stopPropagation();
}
};
Keyhandling Independent of Focus
- used if keylistener should be triggered independent of focused HTML element
- method:
- add keybinding to json configuration for the corresponding action
- create action handlers that maps the action name to the corresponding function that should be triggered
- use
createKeyHandlersFromConfighelper method fromconfig/keybindings/index.tsto create map of shortcuts to action handlers according to config - use custom keybinding hook
hooks/useKeyHandlersto bind keyhandlers to document or specific node
Example:
const keyHandlerActions: Record<string, () => void> = {
exitPlantingMode: () => {
exitPlantingMode();
},
};
//use or custom hook to bind keyhandlers
useKeyHandlers(
createKeyHandlersFromConfig("planting_layer", keyHandlerActions),
);
- listener is active as long as the component where hook is used is rendered
Important Notes for Konva Key Handling
- since keys cannot be bound directly on konva elements, keybinding have to check if the corresponding layer is active to avoid collisions
- if keys should only be active if map is focused, handlers have to be bound to canvas section of the map component
Further Readings
Frontend Locators
These guidelines will help you write resilient and user-centric locators that can be utilized robustly in E2E tests. They are mostly inspired by Playwrights Documentation.
What are Locators
Frontend locators are essential elements in web development that enable developers and automated testing tools to identify and interact with specific elements on a web page.
The most popular locators are getByRole(), getByLabel() for user-centric and getByTestId() for more resilient tests.
Nevertheless not all cases can be solved with these 3 locators, so you might use other locators too. A quick overview of the most important locators.
getByRole
To make tests resilient, we recommend prioritizing user-facing attributes and explicit contracts such as page.getByRole()
Allows locating elements by their ARIA role, ARIA attributes and accessible name. This is semi resilient.
Example
const MyButtonComponent = () => {
return (
<div>
<button role="button" id="myButton">
Click Me
</button>
</div>
);
};
getByLabel
Most form controls usually have dedicated labels that could be conveniently used to interact with the form. In this case, you can locate the control by its associated label using page.getByLabel().
Allows locating input elements by the text of the associated <label> or aria-labelledby element, or by the aria-label attribute.
This is a reasonable alternative popular for input forms.
Example
const MyFormComponent = () => {
return (
<div>
<label htmlFor="inputField">Enter your name:</label>
<input type="text" id="inputField" />
<button role="button" id="submitButton">
Submit
</button>
</div>
);
};
getByTestId (data-testid)
Testing by test ids is the most resilient way of testing as even if your text or role of the attribute changes the test will still pass. QA's and developers should define explicit test ids and query them with page.getByTestId(). However testing by test ids is not user facing. If the role or text value is important to you then consider using user facing locators such as role and text locators.
Locate elements by data-testid.
The most resilient attribute.
Example
<SimpleFormInput
id="file"
labelText={t("baseLayerForm:image_path_field")}
onChange={(e) => setPathInput(e.target.value)}
value={pathInput}
data-testid="baseBackgroundSelect"
/>
Data-testid Naming Convention
For naming data-testid's we have adapted the convention from BEM.
We use double underscores to distinguish between Components and Elements e.g. search-input__search-icon where search-input is the component and search-icon the element.
getByText
We recommend using text locators to find non interactive elements like div, span, p, etc. For interactive elements like button, a, input, etc. use role locators.
Allows locating elements that contain a given text. This alternative should only be picked if the other three are not solving the case. It is not very resilient and can frequently break tests, therefore using a regex might be a good compromise.
There is no real example for this as this is basically the result of not doing anything specific.
Others
- getByPlaceholder() to locate an input by placeholder.
<CreatableSelectMenu placeholder="Test" />
- getByAltText() to locate an element, usually image, by its text alternative.
- getByTitle() to locate an element by its title attribute.
Playwright suggested locators
These locators are from the official documentation of playwright. It shows which locators actionable elements usually should have.
- text inputs: label
- checkboxes: label
- radio buttons: label
- select options: label
- mouse clicks: role or text
- type characters: locator
- keys and shortcuts: text or role
- upload files and focus elements: label
User facing or resilient?
When choosing the right locator it is important to ask yourself one question.
Do we want to test what the user perceives?
If so, we can use roles and labels.
If user-centricity is not so important on this element use data-testid.
In case of doubt use data-testid.
Frontend React
Declarative Paradigm
One of the most important things to understand early on about React is that it follows a declarative programming paradigm. This sets it apart from earlier, imperative approaches like jQuery, as well as from traditional object-oriented programming commonly found in languages like Java and C++.
When writing a User Interface (UI) in React, the goal is to define the minimal but complete data model for it, map the model to UI components and then change the data upon user interaction and the UI will be updated automatically (on next re-render).
To give a practical example:
Instead of directly changing a button’s background color to red on click, as done in imperative code, React encourages defining a state variable that represents the background color.
This variable is then bound to the button’s style in JSX, and its value is updated in response to the click event — allowing React to handle the UI update declaratively.
There are so-called escape hatches from the declarative approach in React:
- useRef - for keeping non-reactive values between re-renders
- useEffect - for hooking into component's lifecycle
- useImperativeHandle - for defining imperative API of components
Escape hatches are completely fine to use when appropriate, and sometimes they are the only (performant) way of achieving desired functionality, however the declarative approach is much less error-prone and should be preferred in most cases.
Further reading:
- Imperative vs Declarative (React vs jQuery)
- How To: Interactivity in Declarative React
- React Escape Hatches
Components
React is built around the concept of composing reusable components.
When implementing a new part of the UI, the first step should be to examine the mockup and break it down into small, focused components — each ideally with a single responsibility.
For example, this could mean creating one component for displaying text, another for rendering a list of rows, and so on.
Some of the best practices regarding writing components in React are:
- Use only functional components (no class components, with reasonable exceptions e.g. ErrorBoundary)
- Component should be focused on a single responsibility
- Encourage reusability and extensibility
- Break down UI into small components with a single responsibility
- Don't define components during render
Don't define components during render
The last point deserves a closer look. When working with container components (see glossary) it’s often important to allow customization of individual elements like rows or cells, depending on how the component is used. This is typically done in one of two ways:
- Render function prop that accepts arguments that Container provides (index, total count etc) and returns JSX:
renderRow: (args) => ReactNode - (Functional) component definition prop:
RowTemplate: React.FC<TArgs>
The first approach is simpler, but it doesn't allow for performance optimizations using memoization.
That means any time the container re-renders, the renderRow function is called again for all visible rows.
In contrast, the second approach supports memoization by defining RowTemplate as a React functional component.
When wrapped with React.memo, React can avoid re-rendering rows whose props haven’t changed.
However, because RowTemplate is treated as a full component, it follows React’s rendering rules.
If RowTemplate is defined inline during render — for example, as an arrow function — its reference will change on every render.
This causes React to treat it as a new component type, which leads to the entire subtree being discarded and re-rendered from scratch.
type ListProps = {
items: unknown[];
ItemTemplate: React.FC<{ item: unknown }>;
};
const List = ({ items, ItemTemplate }: ListProps) => {
return (
<>
{items.map((item, index) => (
<ItemTemplate key={index} item={item} />
))}
</>
);
};
// ItemTemplate's reference is changed on each rerender of MyList
const MyList = () => {
return (
<List
items={[1, 2, 3]}
ItemTemplate={(item) => <div>{String(item)}</div>}
/>
);
};
Further reading:
State Management
- Keep a single source of truth. Duplication of data very often leads to inconsistent application state.
- Avoid contradictions in state.
E.g. holding
isMondayandisTuesdaycan lead to contradicting state when both become true. The better alternative would be to hold one statedayOfWeek. - Avoid redundant state. If some information can be efficiently derived from component’s props or its other state variables during rendering, it should not be put into that component’s state.
- When using
zustandstore, select only strictly necessary data. Utilizing selectors efficiently can remove the need for a great deal of memoization. See Zustand Guidelines for detailed best practices on atomic selectors and performance optimization. - Avoid using
React.Contextfor holding big or complex objects.React.ContextAPI provides no way of optimizing re-renders by picking only part of state.
However, there are some advantages ofReact.Context:- Value held in
React.Contextwill be automatically cleaned up when respectiveProvideris unmounted. - There is smaller chance of using the value from
React.Contextwhere it was not intended.
IfuseSomeContextis called not underSomeContext.Provider, the hook will crash or return nullish value (depending on its implementation).
- Value held in
Further reading:
Hooks
- Don't overuse
useEffect.
Always understand when exactly youruseEffectwill be called. Know the difference between no dependencies and empty array of dependencies. - Use return value of
useEffectfor cleanup when:- adding event listener (
element.addEventListener()) - using
setTimeoutorsetInterval
- adding event listener (
- Don't use
useStatefor non-reactive values. Instead,useRefcan be used. - When performing layout calculations in
useEffectand experiencing flickering, consider usinguseLayoutEffectinstead ofuseEffect. The former is executed BEFORE the render, while the latter is executed AFTER render.
Note: overuse ofuseLayoutEffectnegatively affects performance since it slows down render cycle. - Use
useTransitionfor non-blocking but expensive state updates. - There is an experimental
useEffectEventhook, however it can be quite easily constructed and some libraries implement it themselves. Its purpose is similar to auseEffectwhich can READ the latest values of state and props without necessarily adding all of them as dependencies and thus triggeringuseEffectwhen any of them change. - If a
useEffectonly aims to read reactive value without needing to be triggered when a reactive value changes, in order to avoid adding reactive value to dependencies,useRefcan be utilized:
const freshValueRef = useRef();
// runs on every render
freshValueRef.current = freshValue;
useEffect(() => {
// do logic using freshValueRef.current
}, [freshValueRef]);
- Extract reusable logic to custom hooks, but always understand the effect that using a custom hook has on component re-renders. A helpful way to understand this effect is to simply copy-paste the code inside a custom hook into the component that uses it and evaluate how it affects re-renders.
- Keep in mind React's rules of hooks
Further reading:
- React Hooks Docs
- You Might Not Need an Effect
- Don't over useState
- Possible implementation of useEventCallback
- Rules of Hooks
Memoization
Memoization (optimization of re-renders) is by far the most common way of optimizing performance of React apps.
It is true that the render process is much faster than changing the actual DOM and most of the time an extra re-render would not matter at all. However, performance problems do arise when too many re-renders of too many components want to happen at the same time.
Some of the best practices regarding memoization in React are:
- Don't memoize prematurely.
- Don't break memoization of already memoized components. Make sure that you keep new function- or object-types props of memoized components stable.
- Always evaluate whether memoization is needed in container components. See Most common memoization use-cases for more details.
- When using
React.memo, define component'sdisplayName(e.g.Input.displayName = "Input";at the end of your file). - Don't define non-primitive props (functions, objects) during render when passing them to memoized components. Functional props should be memoized with
useCallbacksince functions can only be compared by reference. Object props should be memoized withuseMemoor instead a deep equality function should be provided as second argument ofReact.memoto ensure objects will be compared by value. - Never exclude some prop from comparison in a custom equals function provided to
React.memo- it might result in hard-to-fix stale UI bugs. - Don't memoize primitive values with
useMemo, unless their computation is extremely inefficient.
Most common memoization use-cases
A common industry guideline is to avoid premature optimization. This means you should not add memoization until you have identified an actual performance issue that needs to be addressed. However, there are some common scenarios where memoization is almost always needed.
Memoization is usually necessary in large, flat component structures and in deep hierarchies where updates can propagate through many layers.
The former scenario can occur when UI has List-, Table- or Grid-like layout.
A re-render of container component by default will cause re-render of each row / cell / tile.
The latter is more subtle and usually is discovered empirically but one example could be a top level component like a Page.
When a new dialog needs to be added to a page, toggling its open state would cause the entire page and all its non-memoized children to re-render, including potentially expensive components like complex headers, toolbars or hidden drawers.
To evaluate the need for optimization, use browser developer tools (e.g., enable CPU throttling in Chrome DevTools) and perform actions that could trigger excessive re-renders, such as updating a list or opening a dialog. Test with the maximum expected data to ensure performance remains acceptable.
Further reading:
Structuring of Actions in the Store
Structure
All actions within the Untracked Map Store slice are organized under a shared actions namespace.
Layer-specific actions are grouped inside the layers namespace, with each layer having its own sub-namespace (for example, plant for the Planting Layer).
Actions that are not tied to a particular layer are placed after the layers namespace, grouped under a namespace that reflects their feature (such as timeline for Timeline-related actions).
Naming
Action names should clearly and concisely describe the effect of the action. Since the structure already indicates the relevant layer or feature, the action name itself should focus on what the action does. For example, actions.layers.plant.toggleShowLabel specifically toggles the visibility of labels in the Plant Layer. Avoid redundant or overly verbose names. Instead, use verbs that directly express the intended change or operation.
Using and extending the Stored Map Information in the Frontend
This document gives guidelines on how the store persists certain information for each map, which allows the user, when returning to a previously loaded map, to resume from the last state they left. This is done by tracking certain information in a special part of our store, which we then persist in the Browser's Local Storage using the 'Persist' middleware functionality of the Zustand store.
Store Structure
- The
storedMapInfoproperty lives under theUntrackedMapStoreslice of theMapStore, as it tracks information not being persisted in the Backend. - This property contains an array, with an entry for each map, containing information about the state of the layers in the map (visibility, opacity), the currently selected layer, as well as other map-specific data, like the selected timeline date, the view state of the map (center coordinates and scale) and the visibility of the plant labels.
Adding a new Layer
- As long as on map initialisation, the new layer is also added to the stored map info (See guide about implementing a new layer in the frontend), then this part of the store will track the visibility and opacity properties for you.
- Any temporarily tracked information in the layer (e.g., the currently selected object, or current brush settings) that should not be persisted in local storage, should be added to the rest of the
UntrackedMapStorelike for the other layers. - The Stored Map Info could be extended to track other new relevant information. For that, simply extend the structure of the type and make sure you read/change the property in the correct map entry of the
storedMapInfoobject.
Versioning
- As future changes in the persisted object structure might lead to property conflicts, we are using the 'Versioning' feature of the persist middleware.
- Whenever there is a breaking change in the structure (e.g., property renamed, or removed), you can update the current
versionproperty in theMapStore.tsfile, and provide amigratemethod that can be called to migrate an existing stored entry to the new version. (See the documentation of the persist middleware for more information)
Frontend UI & Usability
This guide should help improve the UI (User Interface) and usability of the PermaplanT web application going forward.
Its focus is:
- on the one hand, a mix of general UI and usability best practices and
- on the other hand design suggestions tailored to PermaplanT.
Text
-
Size
<h1>Headings :text-2xl<h2>Subheadings:text-xl<h3>Subheadings (currently not used/needed):text-lg- Navigation items:
text-lg - Running text:
text-sm - Form fields and labels:
text-sm
-
Family
- PermaplanT is using Tailwind's default cross-browser sans-serif stack everywhere.
(If a different family is to be used in the future, extend the theme in our global Tailwind stylesheet
globals.csswith a new--font-*section.)
- PermaplanT is using Tailwind's default cross-browser sans-serif stack everywhere.
(If a different family is to be used in the future, extend the theme in our global Tailwind stylesheet
-
Alignment
- Always left-align everything.
- Exceptions:
- Modals: center headings
- Guided tour: center highlighted actions
-
Spacing / margin
<h1>Headings:mb-8<h2>Subheadings (and below):mb-2- Cards (like on our Map overview):
mb-4 - Form fields (like on the Seeds page):
mb-8 - Labels of form fields:
mb-2
-
Letter spacing
- Always go with the default value, i.e.
tracking-normal. (In case letter spacing changes are considered in the future:- Headings: use negative values for the bigger headings h1-h3, i.e.
tracking-tighterortracking-tight - Running text:
tracking-wideortracking-wider)
- Headings: use negative values for the bigger headings h1-h3, i.e.
- Always go with the default value, i.e.
Colors
PermaplanT uses the following color palettes:
- Neutral (PermaplanT: gray): dominant color of the design, e.g., used for background, text and labels.
- Primary (PermaplanT: asparagus green): PermaplanT's main brand color, e.g., used for call-to-action buttons, checkmarks, highlighting focused form input fields, hovering over icons, highlighting active/enabled icons in the toolbox.
- Secondary (PermaplanT: sea blue): PermaplanT's second brand color, e.g., used for highlighting selected plants on the map, currently focused icons, spinners, action-texts in the guided tour and bigger UI elements like the transparency bars to have some contrast to the primary color.
- Tailwind's default color palette for red is e.g. used to render validation errors in forms, form field asterisks (
text-red-500), buttons for destructive actions.
Only those color palettes should be used throughout the whole application.
The colors are stored within the Tailwind CSS color definitions primary, secondary and neutral.
They can be accessed like any other defined color in Tailwind CSS and can be appended with a number denoting the shade to be used.
Following shade suggestions should be used as a starting point for coloring new UI components:
| location | light mode | dark mode |
|---|---|---|
| main color | 500 | 300 |
| text on main | 50 | 700 |
| alternative color | 200 | 600 |
| text on alternative | 800 | 200 |
(Google's Material Design Guidelines contains more information on color palettes and their usage.)
Forms
Design
- Cancel should be blue and on the left bottom.
- Labels should be shown above edit fields.
- Display a left aligned heading if the form is representing a whole page, e.g., PermaplanT's forms to create maps and seeds.
- Add a capitalized label above each field.
- Align labels to the left of their corresponding fields.
- Always use the for HTML attribute (in React: htmlFor) to bind the label to the field.
- Always use PermaplanT's SearchInput component to declare search fields instead of declaring them with type search.
- Don't use the title attribute for any form fields (see https://inclusive-components.design/tooltips-toggletips/)
- All form fields should have the same styling:
- border color:
border-neutral-500 dark:border-neutral-400-dark - border focus:
focus:border-primary-500 dark:focus:border-primary-300 - border radius:
rounded-lg - padding:
p-2.5 - placeholder:
placeholder-neutral-300 - text:
text-sm
- border color:
Error Prevention
- Validation errors are detected and shown by using the native input validation of HTML5.
- Use the corresponding type of the input field, e.g. date for date fields, number for numerical-only inputs, etc.
- Mark required fields with an asterisk (see above for coloring)
- Use HTML-native constraint attributes for input fields where appropriate, e.g. maxlength, required, step, etc.
- Use short placeholder texts for input fields to show allowed values or further explain the intent of the input field.
- Users should never be required to manually enter a metrical unit or a currency symbol. Instead, make the unit part of the input field itself or leave it out if it's clear from the context.
- Submission to the backend should not happen until all fields are verified by the frontend logic.
- In case of submissions on-the-fly (always except of pages that only consist of a form), the data should always be submitted with debouncing.
- Double submissions should be correctly prevented (not via disabling buttons, as submission via Enter or shortcuts still might be possible).
Consistency
Things with the same meaning should look and behave the same throughout the whole application. Users should never be uncertain if different words or icons mean the same thing, or different actions trigger the same process.
Examples:
- Main Heading of a page is always defined by
<h1>which must be the only one of its kind per page - Headings of all toolbars are always defined by
<h2> - If textual links, e.g., the links in PermaplanT's navigation bar, need to be surrounded by space, always set their
margininstead ofpadding. - Make call-to-action buttons look the same everywhere by using our
SimpleButtoncomponent. Use Tailwind's classes to define the button'smarginandwidth, if necessary due to layout or viewport. - We use
*ToastGroupedwith auto-close and default position (top-right) for information that should be shown as toast. Prefer to indicate errors more locally, if possible (like in forms). - Use the same application-specific terms as shown in the glossary everywhere when communicating to the user, e.g., always write PermaplanT.
- A path with multiple points should be ended with a right mouse click, using similar text throughout the application in the status bar.
Icons
- All icons used should be sourced from Tablericons.
- All icons used should be sourced as SVG with a size of 44x44 and a stroke width of 1.5.
- Already sourced icons are stored under
frontend/src/svg/icons/and any newly sourced icons should be added there. - Icons can be used in the application like such:
import UndoIcon from '@/svg/icons/undo.svg?react';<IconButton> <UndoIcon></UndoIcon> </IconButton>
Buttons
- When active, i.e., currently activated/enabled, they must get a small highlighting through a visually stronger and more colorful appearance by using the design's primary colors.
- When passive, i.e., currently not active/enabled, they must must appear in neutral colors/colorless.
- When disabled, i.e., currently not clickable, they must be greyed-out, via decreasing their opacity.
The mouse cursor must be styled with thenot-allowedCSS property.
Tooltips
- A tooltip on hovering must be displayed for every button in PermaplanT's toolbox. The tooltip contains the icon's label (as concise as possible) and, if existing, the assigned shortcut in italics.
Highlighting
Highlighting techniques:
-
Font weight:
- Bold text adds tolerable noise to the design and enables distinct highlighting in both short and long texts. It is the preferred highlighting technique to use. Nevertheless, use it sparingly.
- Italic text adds minimal noise to the design, but lacks in recognizability.
- Underlining adds most noise and compromises a text's legibility. It should not be used except for links.
-
Colors: primary and secondary colors of the design's color palette Use the secondary color only for links.
-
Images: users generally remember images better than words
Wording
Messages shown to the user should strive to fulfill the following criteria:
- concise: the more text the less likely it will be read by the user
- clear: straight to the message's essence
- understandable for technical laypersons: no status codes or technical terms
- no exclamation marks: might come across as commanding
- no uppercase words: might come across as shouting
- detailed information should be hidden behind a read more link or a collapsed section
- Headlines, Sub-headlines and Labels should be capitalized
- Minimize hyphenation of words
- English: American English
- German: Neue Rechtschreibung, informal "du"
- use plural to avoid gendering, i.e., use we/they, avoid he/she
Keybindings
ESCshould do the equivalent to clickingXin the status barESCshould cancel current selections
Error Messages
In general, error messages often convey the impression that an application's stability is weak which, in consequence, leads to a declined user experience. Error messages should only be used if the user, without that information, would be badly surprised by the result of an action. Always prefer locally given visual indications to error messages.
Error messages should fulfill the following criteria:
- polite and neutral: do not directly or indirectly blame anyone and stay away from jokes
- start the message with Sorry, ...
(German: "Entschuldigung, ...") - write personified, e.g., I could not ...
(German: "Ich konnte ... leider nicht ..."; "leider" might be omitted) - brief
- specific to the problem
- no technical terms and error codes
- mention a reason for the problem and say probably if not totally sure about the problem (you verified that this must be the reason)
- also offer possible solutions if, and only if, you are sure about them (you verified that this must be the solution)
- use colors/formatting to highlight important passages (see above)
- show via
errorToastGrouped, for details see above in Consistency
E.g.: "Sorry, I cannot communicate with my server, there is probably some network problem or the server is down. Please retry later."
Z-Index
As described here while it is possible to change to the z-index of Konva nodes, it is not recommended. Instead, we should place foreground elements at the bottom of our template as Konva draws later elements on top of earlier ones.
Wherever this is not sufficient, we should isolate z-index control to the root element of each component that needs overlapping elements to ensure a clean and maintainable layout. This creates staking contexts within components, preventing z-index conflicts across the application. If an element within a component doesn't require special z-index positioning, leave it to the default value of 'auto'.
List of z-index values currently present in the application, for future reference:
- BottomStatusPanel (inner Component of BaseStage.tsx): 10
- Tooltip in PlanningAttributeEditForm component: 20
- Leaflet elements from OpenStreetMap (zoom +/- buttons, citation label on bottom right): 800 (note: pre-defined value coming from the external library used)
- Navbar: 1001 (note: value chosen to be guaranteed "on top" of "Leaflet" elements)
- TransparentBackground (usage in modals): 1010
- ModalContainer (usage in modals): 1020
- Toast notifications: 9999 (note: pre-defined value coming from the external library used)
Touchscreen
- It should always be possible to use swiping gestures for vertical and horizontal navigation.
- Wherever applicable, it should be possible to use swiping gestures to access collapsed overlays and return to the main content.
- Clickable elements should be sized and spaced in such a way that interacting with them is straightforward and accurate even when using inaccurate pointers such as a touchscreen.
Zustand Guidelines
Zustand is a lightweight state management library that provides a simple yet powerful way to manage application state in React.
One of its key advantages over useState and React.Context is the ability to hold related properties together while still allowing components to subscribe to very granular changes, thus controlling when components re-render.
Atomic Selectors
The most important concept when using Zustand effectively is atomic selectors. Instead of selecting the entire store or large parts of it, always select only the minimal slice of state that a component actually needs.
Basic Example
// ❌ Bad - component re-renders on ANY store change
const state = useStore();
// ✅ Good - component only re-renders when userName changes
const userName = useStore((store) => store.userName);
Subscribing to Derived Values
Zustand allows you to subscribe to any derived value from the store, not just direct properties. The component will only re-render when the result of the selector function changes, not when the underlying data changes arbitrarily.
Array Length Example
// ❌ Bad - component re-renders whenever myArray changes (even if length stays the same)
const myArray = useStore((store) => store.myArray);
const length = myArray.length;
// ✅ Good - component only re-renders when array length changes
const length = useStore((store) => store.myArray.length);
Element Presence Example
// ❌ Bad - re-renders whenever myArray or myElement changes
const myArray = useStore((store) => store.myArray);
const isPresent = myArray.includes(myElement);
// ✅ Good - only re-renders when the boolean result changes
const isPresent = useStore((store) => store.myArray.includes(myElement));
Performance Optimization Pattern: ID-Based Lists
A powerful pattern for optimizing virtualized tables or lists is to pass only IDs to container components, then have each row/cell fetch its full data directly from the store using atomic selectors.
Before (Inefficient)
// Container passes full objects
const items = useStore((store) => store.items);
return <List items={items} />;
// Inside List component, any change to ANY item causes ALL rows to shallow re-render
// because the items array reference changes (arrays are immutable in React)
After (Optimized)
// Container passes only IDs
const itemIds = useStore((store) => store.items.map((item) => item.id));
return <List itemIds={itemIds} />;
// Inside each Row component
const Row = ({ itemId }: { itemId: string }) => {
// Each row subscribes to its own item via atomic selector
const item = useStore((store) => store.items.find((i) => i.id === itemId));
return <div>{item.name}</div>;
};
Benefits:
- When ONE property on ONE object changes, the IDs array doesn't change
- Only the specific Row that needs to update will re-render
- Other rows remain completely unaffected (no shallow re-render)
Subscribing to Computed State
You can subscribe to any computed/derived state from the store:
// Subscribe to filtered/sorted data
const activeUsers = useStore((store) =>
store.users.filter((user) => user.isActive),
);
// Subscribe to aggregated data
const totalPrice = useStore((store) =>
store.cartItems.reduce((sum, item) => sum + item.price, 0),
);
// Subscribe to existence check
const hasUnsavedChanges = useStore(
(store) => store.currentVersion !== store.savedVersion,
);
Best Practices
-
Select Minimally: Always select the smallest piece of state needed. If you only need one property, select only that property.
-
Use Atomic Selectors: Avoid selecting large objects or arrays when you only need a derived value from them.
-
Avoid Shallow Equality: Don't use
shallowcomparison helpers. Instead, rely on atomic selectors to prevent unnecessary re-renders. -
Co-locate Selectors: For complex selectors used in multiple places, consider creating reusable selector functions:
// selectors.ts
export const selectActiveUserCount = (store: Store) =>
store.users.filter((u) => u.isActive).length;
// component.tsx
const activeUserCount = useStore(selectActiveUserCount);
- Separate Concerns: Use multiple atomic selectors in a component rather than one selector that returns multiple values:
// ❌ Avoid - component re-renders when either value changes
const { userName, userAge } = useStore((store) => ({
userName: store.user.name,
userAge: store.user.age,
}));
// ✅ Preferred - component only re-renders when the specific value it needs changes
const userName = useStore((store) => store.user.name);
const userAge = useStore((store) => store.user.age);
Note from Moritz: While i do agree that the second approach is probably cleaner i don't really see how it makes a difference as far as re-renders are concerned..
- Memoize Complex Selectors: If your selector performs expensive computations, the component itself should memoize the result:
const expensiveResult = useStore((store) => {
// expensive computation
return store.data.map(...).filter(...).reduce(...);
});
// Memoize in component if needed
const memoizedResult = useMemo(() => expensiveResult, [expensiveResult]);
Further Reading
Frontend
Development Setup
- Use a Tailwind CSS linter (code plugin) if you write CSS
- Use Storybook to develop components
Source Code Best Practices
We use Bulletproof React with following specialisations/exceptions:
- We use
camelCasein file names and identifiers. - We use absolute imports.
- We use minimal number of packages: need to be noted in solutions or in a decision
- Be thoughtful of memory consumption and runtime
- Use debounce hook as in
PlantingAttributeEditForm.tsx - Use react-query correctly, see our guidelines
doc/guidelines/frontend-api-calls.md - Always validate form, use
zodfor more complicated validations - Wrap APIs using
create*APIinapifolder - Be careful in writing hooks, especially when using
useEffect - Error Handling https://tkdodo.eu/blog/breaking-react-querys-api-on-purpose#a-bad-api
- Lists are called
*Listand items of such a list are called*ListItem, e.g.,LayerListandLayerListItemfor a list of layers - Always label fields/attributes with their units like "Width (cm)" or "Scaling (pixels/meter)"
- When checking for empty values in DTOs or validating form values, consider both
nullandundefinedas empty value.
Find more details in Validation section of Solution Strategy.
Utility Function Conventions
- Use utility functions whenever code would be duplicated otherwise.
- Add new utility functions to the appropriate utility file.
- i.e.
getPlantWidthis added toplant-utils.tsin the plant layer utils folder.
- i.e.
- Add new utility files to the appropriate utils folder.
- The global utils folder should contain files like
date-utils.tsorstring-utils.ts. - The map planning utils folder should contain files like
layer-utils.tsorShapesSelection.ts. - The plant layer utils folder contain files like
plant-utils.tsorplanting-utils.ts.
- The global utils folder should contain files like
- The utils folders should only contain TypeScript code.
Route Naming Conventions
- Follow RESTful conventions for route names.
- Use descriptive, plural nouns for resource collections.
- Use placeholders for dynamic segments in route names.
Examples
- View: /resource
- Edit: /resource/:id/edit
- Create: /resource/create
Incorporate Accessibility Best Practices
Writing code that is highly accessible and easily testable should be a priority whenever possible. While it may not always be the primary focus, if you can achieve both goals simultaneously, it's worth pursuing that path. Additionally, many accessibility best practices are inherent in standard coding practices, such as using appropriate HTML elements like h1s, button tags, providing alt attributes for images and using appropriate ARIA roles and attributes.
Documentation Best Practices
- Any deviation from the default scroll direction (vertical) should be documented as part of the component documentation.
Frontend Error Handling
This guideline describes how to handle errors in the frontend.
Image Loading Errors
When handling errors related to images in the frontend, follow these rules:
Actionable by User:
- If the problem can be fixed by the user show an error toast with a clear, specific message.
For example, if the user provides a wrong image path, the message should indicate that the image couldn't be found at the specified path and include the path itself in the message as well.
Developer Mistake:
- If the error is due to a developer issue (e.g., missing icons, CORS issues, caching problems), log the error to the console only. Do not show a toast to the user.
Logout/Cleanup:
- If image errors occur during logout or cleanup, suppress the error completely (no toast, no console log).
Keep error messages concise and actionable. Only show toasts when the user can do something about the error.
i18n
Internationalization (i18n) is, except of a few _en/_de columns in the database, completely done in the frontend.
We use react-i18next, which is a powerful framework to provide translation functionality and more.
Language Detection
On the initial page load the language gets detected from the browser settings. English is the fallback language if none of our currently supported languages (English, German) could be detected. This language is then persisted into local storage. The language switcher in the navigation bar also persists the chosen language to local storage. On any further page load this persisted language is used.
Structure
We use a feature-based translation approach.
-
The translations live in the
/src/config/i18ndirectory together with the respectivei18nextconfiguration. -
Each language has its own folder which holds all translations in files that are named like the features under
/src/features. E.g. for theseedsfeature there is a translation file in/src/config/i18n/seeds.json -
The feature's translation file should be structured like this:
{
"foo_component": {
"title": "Foo",
...
},
"bar_component": {
"title": "Bar",
...
},
"error_for_feature": "Sorry, ...",
"common_key_inside_the_feature": "A mere commoner",
...
}
As we see in the example:
- We use
snake_case. - Hierarchy for components/sub-parts is recommended.
- We use
error_,title_, etc. prefixes (but you can also use hierarchy instead). - We don't abbreviate (
buttoninstead ofbtn).
Furthermore:
- In case a translation does not fit into any feature there is an additional common namespace
common.jsondefined. E.g. for general error messages. - Shared components like a button usually also want to render some text.
In this case the text should be translated inside the respective feature where the button is used.
E.g. the create seed button inside the
seedsfeature:
// seeds.json
{
// CreateSeed component
"create_seed": {
"button_create_seed": "Create Seed"
}
}
How To
If you want to translate a string, for example from the seeds feature in the CreateSeed component, follow this schema:
- a whole translation key is structured like this
<namespace>:<component>.<part>
function CreateSeed() {
// load the translation namespaces 'seeds' and 'common'
const { t } = useTranslation(["seeds", "common"]);
// this is just an example
const hasError = false;
// wrap in <Suspense> to wait for the data fetching of useTranslation
// use the t function to translate a key of namespace 'seeds' and 'common'
return (
<Suspense>
{hasError ? (
<div>{t("common:unknown_error")}</div>
) : (
<button>{t("seeds:create_seed.button_create_seed")}</button>
)}
</Suspense>
);
}
Type Safe Keys
The translations are loaded from JSON modules to enable type safety.
For this there is a special file @types/i18next.d.ts.
Because it is impossible to type based on the chosen language, only the types of the fallback language en are defined.
Backend/Database
If multi-language entries are in the database or send by an endpoint, we use two fields ending with _en and _de.
Issue Refinement Guidelines
Best practices for transforming unclear issues into well-defined, ready-to-work tasks.
Refinement Principles
Self-Contained Issue Descriptions
Keep all essential information in the issue description, not scattered in comments.
-
Why this matters:
- Anyone picking up the issue has everything they need immediately
- No need to read through lengthy comment threads
- Reduces time to understand the task
- Prevents missed information buried in comments
- Developers can prepare themselves better for what needs to be done
-
How to achieve this:
- Update the issue description directly during refinement
- Consolidate insights from comments into the description
- Use "Compare with previous version" to track what changed
- Preserve the original context while adding clarity
Completeness Standards
An issue is complete when it includes:
-
All necessary context
- Background information
- Related issues or dependencies
- Links to relevant documentation or designs
-
Clear technical details
- Specific requirements and constraints
- Technical approach or implementation hints (if known)
- Environment or configuration details (if applicable)
-
Actionable acceptance criteria
- Specific, measurable outcomes
- Test scenarios or success conditions
- Clear definition of "done"
-
Proper metadata
- Correct type and scope labels
- Time estimation
- Blocking issues linked (if any)
AI-Assisted Refinement
Best Practices
-
You are the pilot, AI is the co-pilot
- AI assists with structure and completeness
- You provide domain knowledge and technical accuracy
- Always proofread and correct AI-generated content
-
Use AI for:
- Structuring issue descriptions consistently
- Identifying missing information
- Generating comprehensive acceptance criteria
- Improving clarity and readability
-
Don't rely on AI for:
- Technical accuracy without verification
- Architectural decisions
- Understanding project-specific context
- Making refinement decisions
Verification Requirements
After AI-assisted refinement:
-
Proofread thoroughly
- Check for technical inaccuracies
- Verify all details are correct
- Ensure terminology is consistent with project glossary
-
Validate completeness
- All template sections filled appropriately
- No placeholder text remains
- All questions answered
-
Check technical accuracy
- Implementation approach is feasible
- Dependencies are correctly identified
- Estimates are reasonable
Refinement Quality
When to Add status::ready
Only add status::ready when:
-
Issue is complete without critical uncertainties
- All information needed for implementation is present
- No ambiguous requirements remain
- Technical approach is clear
-
You are confident in the refinement
- No significant questions or assumptions
- All edge cases considered
- Scope is well-defined
When to Wait for PM Review
Do NOT add status::ready if:
-
Uncertainties exist that need PM review
- Multiple valid interpretations possible
- Product decisions required
- Scope or priority unclear
-
Significant assumptions were made
- You made important interpretation decisions
- Technical approach needs validation
- Impact on other features unclear
Communicating Refinement Status
Use clear headers in your refinement comment:
"✅ Refinement Complete - No Action Needed"
- Everything was clear
- Refinement went smoothly
- No uncertainties or questions
- Ready for implementation
"⚠️ Refinement Complete - Review Required"
- Uncertainties exist
- PM review and confirmation needed
- Multiple interpretation options documented
- Assumptions that need validation
Refinement Summary
What to Include
Your refinement comment should include:
-
Changes summary
- What was changed during refinement
- What details were added
- How structure was improved
-
Additions
- New acceptance criteria
- Additional technical details
- Linked dependencies
- Time estimation rationale
-
Assumptions and interpretations
- Any decisions you made
- Reasoning behind interpretations
- Areas where you made judgment calls
-
Questions and uncertainties (if any)
- Highlight areas where you weren't 100% sure
- Present alternative interpretations
- Identify decisions that need PM input
- Flag potential impacts or risks
Tagging
Always tag at the end of your comment:
@author- Original issue creator@product_manager- For product decisions and validation
Handling Current Iteration Issues
Special Attention Required
If an issue in the current iteration creates questions:
-
Inform Project Manager immediately
-
Provide comprehensive context:
- What information is missing
- What is unclear
- Options for how it could be solved
- Whether there are overlapping issues
- What existing documentation says about it
-
Do not add
status::ready- Wait for PM reply with clarifications
- Continue refinement after information is collected
Time Sensitivity
- Current iteration issues need faster turnaround
- Prioritize these over backlog refinement
- Communicate blockers or delays immediately
- Escalate if information can't be obtained quickly
Common Refinement Tasks
Template Alignment
- Ensure the correct template is used for the issue type
- Fill all template sections appropriately
- Remove unused template sections
- Maintain consistent structure
Label Verification
- Check type label is correct
- Verify scope label(s) are accurate
- Ensure no incorrect labels remain
- Add missing process labels if needed
Time Estimation
- Provide realistic time estimates
- Consider complexity and unknowns
- Account for testing and review time
- Consult experienced team members if uncertain
- Break into subtasks if too large to estimate
Linking and Dependencies
- Identify and link blocking issues
- Reference related issues
- Link to relevant documentation
- Note any cross-team dependencies
Quality Checklist
Before completing refinement:
- Issue description is self-contained and complete
- All template sections are filled appropriately
- Type and scope labels are correct
- Time estimation is set and reasonable
- Acceptance criteria are clear and measurable
- Dependencies and blockers are identified
- Technical details are accurate
- No ambiguous requirements remain
-
Appropriate
status::readyor need for PM review determined - Refinement comment written with clear status and summary
- Author and Product Manager tagged
Issue Reporting Guidelines
Standards for reporting bugs and requesting features to ensure issues contain complete, actionable information.
Bug Reporting Standards
Essential Information
Every bug report must include:
1. Version/Branch Information
- Version number or branch name where bug occurs
- Specific commit SHA-1 if known (use
git logto find) - Release version for production bugs
2. Behavior Description
- Expected behavior: What should happen
- Actual behavior: What actually happens
- Be specific and objective in describing both
3. Reproduction Steps
- Step-by-step instructions to reliably reproduce the issue
- Start from a known state (e.g., "1. Open a fresh browser tab")
- Number each step clearly
- Include all necessary actions, no matter how obvious
- Example:
1. Open map editor 2. Click "Add plant" button 3. Select "Tomato" from dropdown 4. Click on map canvas 5. Browser tab crashes
4. Environment Details
Provide relevant environment information:
-
Operating System
- Name and version (e.g., "macOS 14.1", "Ubuntu 22.04", "Windows 11")
-
For Backend Issues:
- Rust version (use
rustc --version) - Cargo version
- Database version (PostgreSQL + PostGIS)
- Any relevant environment variables
- Rust version (use
-
For Frontend Issues:
- Node.js version (use
node --version) - npm version (use
npm --version) - Package manager (npm, yarn, pnpm)
- Node.js version (use
-
For UI/Browser Issues:
- Browser name and version (e.g., "Chrome 120.0", "Firefox 115")
- Screen resolution if relevant
- Device type (desktop, mobile, tablet)
- Any browser extensions that might interfere
5. Error Messages and Logs
- Complete error messages (don't paraphrase)
- Stack traces if available
- Console errors (browser console or terminal)
- Relevant log excerpts
- Use code blocks for formatting
Bug Report Quality
Good Bug Report Characteristics:
- Developer can reproduce the issue immediately
- No ambiguity about what's wrong
- Clear difference between expected and actual behavior
- All necessary context provided upfront
Common Bug Report Mistakes:
- Vague descriptions: "It doesn't work"
- Missing reproduction steps
- Only describing symptoms, not the behavior
- Assuming developers know your environment
- Incomplete error messages
Special Cases
Intermittent Bugs:
- Note frequency (e.g., "Happens about 1 in 10 times")
- Include any patterns observed
- Describe what varies between occurrences
Performance Issues:
- Quantify the problem (e.g., "Takes 30 seconds, expected 5 seconds")
- Include data set size or scope
- Note whether issue gets worse over time
- Browser/system performance metrics if available
Visual/UI Bugs:
- Include screenshots or screen recordings
- Annotate images to highlight the issue
- Note if issue appears in specific screen sizes
- Include relevant CSS/styling information
Feature Request Standards
Essential Information
Every feature request must include:
1. Use Case
-
What problem does this solve?
- Describe the user need or pain point
- Explain the context where this feature would be used
- Who is the target audience?
-
Why is this important?
- Impact on users or workflows
- Benefits of implementing this feature
- Consequences of not having this feature
2. Description of Desired Functionality
-
What should the feature do?
- Clear, specific description of the proposed functionality
- User-facing behavior and interactions
- Expected system responses
-
How should it work?
- User workflow or interaction flow
- Key features and capabilities
- Integration with existing functionality
3. Acceptance Criteria
-
What defines "done"?
- Specific, measurable criteria
- Test scenarios that must pass
- Edge cases to handle
- Performance or quality requirements
-
Use clear, testable statements:
✅ Good: "User can filter plants by sun requirements with results updating in <1 second" ❌ Bad: "Filtering should be fast and work well"
Feature Request Quality
Good Feature Request Characteristics:
- Clear problem statement
- Concrete, achievable scope
- Measurable success criteria
- Considers integration with existing features
- Realistic and feasible
Common Feature Request Mistakes:
- No clear problem statement
- Too vague: "Make it better"
- No acceptance criteria
- Unrealistic scope
- No consideration of edge cases
Describing the Audience
Specify who will use this feature:
- All users: Everyone using the application
- Specific user types: Gardeners, administrators, power users
- Team members: Developers, project managers
- Stakeholders: Product owners, business users
Optional but Helpful
Examples and Mockups:
- UI mockups or wireframes
- Example scenarios or user stories
- References to similar features in other applications
Technical Considerations:
- Suggested implementation approach (if you have ideas)
- Related features or dependencies
- Performance implications
- Backward compatibility concerns
Priority and Impact:
- How urgent is this need?
- How many users would benefit?
- What's the workaround if this doesn't exist?
General Reporting Best Practices
Before Creating an Issue
-
Search for duplicates
- Check existing open and closed issues
- Use various search terms
- Look for similar symptoms or requests
-
Verify the issue
- Confirm it's actually a bug or a legitimate need
- Try to reproduce consistently
- Check if it's already documented as expected behavior
-
Gather information
- Collect all necessary details before creating the issue
- Take screenshots or recordings
- Copy full error messages
Writing Style
-
Be clear and concise
- Use simple, direct language
- Break information into sections
- Use lists and formatting for readability
-
Be objective
- Describe facts, not opinions
- Avoid emotional language
- Focus on behavior and impact
-
Be specific
- Provide exact values and measurements
- Use concrete examples
- Avoid vague terms like "sometimes" or "usually"
Follow-Up
-
Respond to questions promptly
- Triagers or developers may need clarification
- Provide additional information when requested
- Test proposed fixes or workarounds
-
Update if situation changes
- Note if the issue resolves itself
- Report if symptoms change
- Add new reproduction steps if discovered
Templates
Always use GitLab issue templates (located in .gitlab/issue_templates/):
- Templates ensure all necessary information is captured
- Triage tooling requires proper template usage
- Structured format aids quick understanding
Choose the appropriate template:
bug.md- For bugs and defectsenhancement.md- For features and improvementsquestion.md- When unsure or need clarification
Issue Triage Guidelines
Principles and standards for evaluating and categorizing issues during triage.
Triage Philosophy
Medical Triage Analogy
Think of issue triage like medical triage at a mass casualty incident where emergency responders evaluate multiple patients:
-
Needs acute attention first (🚨 Immediate Care) → Issues with
status::refine- Patient needs stabilization, diagnosis, or additional assessment before transport
- Similarly, unclear issues need clarification, investigation, or additional information before developers can work on them
- Route to: Refinement workflow where PM and author provide missing details
-
Can be transported (🚑 Stable for Transport) → Issues with
status::ready- Patient is stable with clear diagnosis, ready to be transported to appropriate facility
- Similarly, clear issues with complete requirements are ready to be picked up by developers
- Route to: Backlog for sprint planning and implementation
Just as medical triage doesn't decide which hospital or prioritize ambulance routing (that comes later), issue triage focuses only on clarity assessment — not priority or sprint assignment.
Clarity Assessment
The Key Question
"Can a developer implement this without asking questions?"
This is the fundamental question that determines whether an issue goes to the backlog or needs refinement.
Criteria for CLEAR (ready for backlog with status::ready)
An issue is clear when:
-
Requirements are specific and actionable
- Developer knows exactly what needs to be built or fixed
- Success criteria are unambiguous
- No room for multiple interpretations
-
For bugs: reproduction steps are clear
- Step-by-step instructions to reproduce the issue
- Expected vs. actual behavior is documented
- Environment details are provided (OS, browser, versions, etc.)
- Error messages or logs are included when relevant
-
For features: use case and acceptance criteria are defined
- Clear problem statement or user need
- Description of desired functionality
- Specific acceptance criteria defining "done"
- User stories or scenarios provided
-
Technical approach is straightforward
- Implementation path is obvious
- No significant technical unknowns
- Required changes are well-scoped
-
No investigation or research needed
- All information necessary to start work is present
- Dependencies are identified
- No ambiguous requirements
Criteria for UNCLEAR (needs refinement)
An issue needs refinement when:
-
Vague or ambiguous requirements
- Multiple possible interpretations
- Unclear what "done" looks like
- Abstract or high-level descriptions without specifics
-
Missing reproduction steps (for bugs)
- Cannot reliably reproduce the issue
- Environment details missing
- Unclear when/where the bug occurs
-
Unclear use case or acceptance criteria (for features)
- No clear problem statement
- User need not articulated
- Success criteria undefined or subjective
-
Needs technical investigation
- Performance issues without profiling data
- Root cause is unknown
- Requires research or experimentation
- Technical feasibility unclear
-
Multiple possible interpretations
- Different developers might implement differently
- Design decisions needed
- Ambiguous terminology
-
Missing critical information
- Key details omitted from description
- Unclear scope or boundaries
- Related issues or dependencies not identified
Decision Making
When in Doubt
- Prefer adding
status::refineover sending unclear issues to backlog- Better to over-refine than to send unclear issues to developers
- Refinement process can always promote issues quickly if they're actually clear
- Unclear issues in the backlog waste developer time and cause frustration
Common Pitfalls to Avoid
-
Don't confuse importance with clarity
- An urgent issue can still be unclear
- Priority is determined during sprint planning, not triage
-
Don't add scope labels if truly unclear
- If you can't determine which part of the system is affected, route to refinement
- Add comment explaining what information is needed
-
Don't spend too long on triage
- Triage should be quick (5 minutes max per issue)
- If you're spending more time, the issue likely needs refinement
Labeling Best Practices
Scope Labels
-
Prefer single scope per issue
- Issues should ideally focus on one area of the system
- Single scope makes assignment and estimation easier
- Reduces complexity and potential for confusion
-
If issue affects multiple scopes
- Consider splitting into separate issues, each with a single scope
- Add comment explaining the split
- Link related issues together
- Note: People can still solve multiple issues in one MR if appropriate
Process Labels
-
Add optional labels judiciously
estimation-needed: Issue is clear but needs time estimationhelp-wanted: Suitable for community contributions or new contributors1.0::must_haveor1.0::should_have: ONLY if you are Markus Raab
-
Do NOT add priority labels
- Priority is PM's responsibility during sprint planning
- Triage focuses on clarity, not urgency
Quality Standards
Thoroughness
-
Search for duplicates before completing triage
- Use key terms to search existing issues
- Check both open and recently closed issues
- Look for similar symptoms (bugs) or requirements (features)
-
Verify template usage
- Templates are required for triage tooling
- Request creator to use template if missing
- Proper template structure aids in clarity assessment
Communication
-
When routing to refinement
- Add comment starting with: "⚠️ Triage in Progress - Clarification Needed"
- Explain specifically what needs clarification
- Tag the issue author and Product Manager
- Be helpful and constructive in your feedback
-
Always tag relevant people
- Author: To provide additional information
- Product Manager: To provide product context and decisions
- Use format:
@author @product_manager
Iteration Planning Guidelines
Principles for workload assessment, capacity planning, and balanced task assignment across iterations.
Workload Assessment Principles
Capacity-Based Planning
Base assessment on multiple factors:
-
Working hours and capacity
- Actual available hours per iteration
- Account for part-time schedules
- Consider recurring time commitments
-
Previous iteration outcomes and velocity
- How many issues typically completed per iteration
- Historical completion rates
- Patterns in task complexity
-
Time marked on calendar
- Vacations and time off
- Meetings and recurring commitments
- Training or conference attendance
- Other known time constraints
Two-Iteration Planning Strategy
Plan 2 iterations ahead to smooth out workload fluctuations and reduce last-minute assignments:
Next Iteration (Immediate):
- Strict capacity matching based on hours and calendar
- Focus on what can realistically be completed
- Account for dependencies and blockers
- Assign clear, ready-to-work issues
In 2 Iterations (Future):
- More flexible assignment of incoming issues
- Focus on ensuring issues are ready and refined
- Prioritize based on milestone goals and upcoming priorities
- Less strict capacity matching
- Allows time for refinement and clarification
Balancing Workload
Too Many Issues Assigned:
When a team member has too many issues for their capacity:
-
Identify lower priority tasks
- Review assigned issues
- Find tasks that are not time-critical
- Consider milestone importance
-
Move lower priority back to backlog
- Preserve the issue assignments for later
- Document why they were moved
- Reassign to future iterations if appropriate
-
Discuss with assignee
- Confirm workload is manageable
- Understand any concerns or constraints
- Adjust as needed based on feedback
Too Few Issues Assigned:
When a team member has insufficient work for their capacity:
-
Review issue pool
- Start with
status::readyissues - Consider skill alignment and learning opportunities
- Look at milestone priorities
- Start with
-
Assign new issues from backlog
- Prioritize based on:
- Milestone goals and deadlines
- Dependencies on other team members
- Contributor skills and experience
- Learning and growth opportunities
- Ensure issues are well-defined and ready
- Prioritize based on:
-
Confirm with assignee
- Verify workload is appropriate
- Check for concerns or constraints
- Adjust based on feedback
Capacity Assessment Guidelines
Realistic Estimation
Account for all work, not just coding:
- Meetings and collaboration time
- Code reviews
- Administrative tasks
- Context switching overhead
- Unexpected issues and support
- Documentation and testing
Common Estimation Mistakes:
- Assuming 100% coding time
- Forgetting about review time
- Not accounting for meetings
- Ignoring context switching costs
- Overly optimistic velocity assumptions
Historical Velocity
Track and use past performance:
- How many issues typically completed per iteration
- Average time per issue type
- Patterns in over/under-estimation
- Impact of issue complexity
Adjust for factors:
- Issue complexity and novelty
- Dependencies on other team members
- Technical unknowns
- Learning curve for new areas
Calendar Considerations
Explicit time tracking:
- Mark all known time off in calendar
- Account for public holidays
- Note half-day commitments
- Consider reduced productivity before/after time off
Impact calculation:
- Reduce capacity proportionally to time off
- Account for ramp-up time after extended absences
- Consider team coverage needs
Distribution and Balance
Team-Wide Balance
Verify distribution is fair:
- Sort issues by assignee for overview
- Check that workload is balanced
- Ensure no one is over or under-allocated
- Consider skill distribution across issues
Identify dependencies:
- Note issues that block other team members
- Prioritize unblocking work
- Coordinate timing of dependent tasks
- Communicate dependencies clearly
Priority Alignment
Ensure work supports goals:
- Align assignments with milestone objectives
- Prioritize critical path work
- Balance urgent vs. important tasks
- Consider strategic vs. tactical work
Flexibility and Adaptation
Be prepared to adjust:
- Urgent issues may require reassignment
- Priorities can shift during iteration
- Team member availability may change
- Dependencies may become blockers
Document changes:
- Record why assignments changed
- Update iteration planning issues
- Communicate changes to affected team members
- Track impact on goals
Progress Tracking
Follow-Up on Incomplete Issues
For issues with progress:
- Verify assignee has provided status update as comment
- Remind contributors if update missing by Friday
- Understand what progress has been made
- Identify any blockers or concerns
For issues without progress:
- Read through issue description to ensure clarity
- Ping assignee to ensure awareness
- Ask if they have questions or need help
- Identify why no progress was made
For issues in review:
- Check MR status and review progress
- Remind reviewers to complete reviews
- Identify if reviews are blocking progress
- Help resolve review bottlenecks
Incomplete Issue Handling
When issues don't complete in iteration:
-
Assess status
- How much work remains?
- What blocked completion?
- Is the estimate accurate?
-
Decide next steps
- Move back to Open status
- Keep assigned or reassign
- Adjust estimate if needed
- Create follow-up issues if necessary
-
Document reasons
- Track patterns in incompletion
- Identify systemic issues
- Learn and improve planning
Continuous Improvement
Iteration Reflection
Review what worked:
- Successful completion patterns
- Effective workload balancing
- Good estimation accuracy
- Strong collaboration
Identify challenges:
- Incomplete issues and why
- Estimation accuracy problems
- Communication breakdowns
- Unexpected blockers
Document learnings:
- Create improvement action items
- Update processes or templates
- Share insights with team
- Apply lessons to next iteration
Metrics and Tracking
Useful metrics to track:
- Completion rates per person
- Estimation accuracy
- Time to first progress update
- Review turnaround times
- Blocker frequency and resolution time
Use metrics to:
- Improve capacity planning
- Identify training needs
- Optimize team collaboration
- Refine estimation practices
Process Improvements
When patterns emerge:
- Create issues for process fixes
- Update workflows or templates
- Document new best practices
- Assign owners for improvements
- Set deadlines for changes
Test and validate:
- Try improvements for one iteration
- Gather feedback from team
- Measure impact
- Refine or roll back as needed
Team Communication
Transparency
Keep everyone informed:
- Share iteration plans before meetings
- Explain assignment reasoning
- Communicate changes promptly
- Document decisions and rationale
Collaboration
Encourage team input:
- Allow team members to raise concerns
- Listen to capacity and workload feedback
- Be open to reassignment requests
- Facilitate team problem-solving
Escalation
When to escalate:
- Persistent over/under-allocation
- Repeated incomplete issues
- Team member concerns about capacity
- Blocking dependencies not resolving
- Misalignment with milestone goals
How to escalate:
- Bring to Product Manager's attention
- Provide context and data
- Suggest potential solutions
- Request input and decisions
Manual Testing Guidelines
This document provides guidelines for creating and maintaining manual test cases in PermaplanT.
The test cases we write will be used to generate testing reports for manual QA processes.
We collect our test cases in ../tests/manual/testcases, create a new file named after the use case if one doesn't already exist.
Gherkin Best Practices
We use Gherkin syntax to write our manual and e2e test cases.
Do's
- Use clear, simple language that non-technical stakeholders can understand
- Write from the user's perspective using first person ("I")
- Be specific about user actions and expected results - describe what the user does and what they should see, without being overly detailed about implementation
- Use present tense for actions ("When I click" not "When I clicked")
- Keep test scenarios focused on a single feature or one scenario of a use case
- Use consistent terminology throughout all test cases as defined in the glossary
- File Naming: Every use case should have its own file named the same
Don'ts
- Don't include implementation details in scenarios (avoid CSS selectors, API endpoints)
- Don't write overly long scenarios - break complex flows into smaller, focused tests
- Don't mix multiple features or regression tests in a single test scenario
- Don't use vague language like "should work" or "looks good"
Writing Conventions
Capitalization
- Use sentence case for all Given/When/Then clauses.
- Don't add a
.full stop, as they are clauses and not sentences. - For descriptions and notes use a
.full stop, when they are sentences. - Capitalize proper nouns (PermaplanT, Keycloak, etc.).
- Example:
Given I am on the PermaplanT homepage - Example:
Notes: Test in both Chrome and Firefox.
Quotation Usage
- Use quotes for UI text elements: buttons, labels, error messages
- Use quotes for specific values: field inputs, selection options
- Use quotes for exact text matching
- Examples:
When I click the "Log In" buttonThen I see the error message "Invalid credentials"When I select "Apple tree" from the plant dropdown
Length Guidelines
- Given clauses: 1-3 statements maximum
- When clauses: 3-7 actions per scenario (break longer flows into multiple tests)
- Then clauses: 2-5 assertions per scenario
- Overall scenario: Should be readable in under 30 seconds
Preconditions (Given)
Specify preconditions with appropriate detail level:
Good examples:
Given I am logged in as "testuser_e2e@permaplant.net"
Given I have a map named "Test Garden" with at least 5 plants
Given the base layer contains a background image
Avoid:
Given the database contains specific plant data with IDs 123, 456...
Given the React component state is initialized with...
Test Resources
When referencing test resources, be specific but flexible:
- Users: Use the standardized test user accounts from
testusers.md - Maps: Reference by descriptive names, not database IDs
- Plants/Seeds: Use names found in the scrapper data
Examples:
Given I am logged in as "testuser_t@permaplant.net"
Given I have selected the "Smoke Testing Map"
Given I have added "Tomato (Solanum lycopersicum)" to the plant layer
Title/Scenario Naming
- Use descriptive, action-focused titles
- Format: "Action + Object + Context" when applicable
- Use colons to separate main action from specific context
- Keep titles under 80 characters
- Use sentence case
Good examples:
Login: Successful authentication with valid credentials
Plant layer: Adding multiple plants to existing garden
Base layer: Rotating background image maintains position
Map creation: Creating map with special characters in name
Avoid:
Test 1
Login stuff
User can do plant things
Super long scenario title that goes on and on describing every detail
Handling Specific Values
- Use exact numbers when testing specific functionality (pagination, limits)
- Use ranges or minimums when testing general behavior
- Document the reasoning in Notes field
Examples:
# Testing pagination specifically
When I navigate to page 3 of the map list
Then I see 10 maps displayed
# Testing general scrolling behavior
When I scroll down in the map overview
Then I can see at least 31 maps total
Notes Field Usage
Document in the Notes field:
- Test variations: Different browsers, screen sizes, user roles
- Multi-user scenarios: Collaboration testing requirements
- Known limitations: Dependencies, environment-specific behavior
- Related test cases: Cross-references to similar or dependent tests
Example Notes:
Notes: Test in both Chrome and Firefox.
Verify behavior with read-only users.
Reference Patterns
Good examples from existing test cases:
From login.md:
Given I am on the PermaplanT landing page
When I click on the "Log In" button
And I enter valid username and password
Then I am redirected to the landing page
And there is "Logout" button
From map_search.md:
Given I am on a map overview page
When I search for a map using the search field
Then the maps are filtered appropriately
See also
Manual Testing Guidelines
This document defines the standards and best practices for executing manual tests for the Perma initiative.
Test Case Report Structure
Each test case must include the following fields:
- Description: [Brief description of what is being tested]
- Given [Initial context/state]
- When I [Action being performed]
- Then I [Expected result]
- Actual Result: [Fill during execution]
- Test Result: [Use emoji during execution]
- Priority: [High/Medium/Low]
- Risk Assessment (Regressions-Likelihood): [High/Medium/Low]
- Testable as Unit Test? [Yes/No with explanation]
- Notes: [Additional information, issue links]
Test Case Execution Rules
- DO NOT delete empty bullet points from test cases.
- Fill "Actual Result" and "Test Result" fields during execution only.
Test Status Classification
When executing tests, always use exactly one of these three emojis in the - Test Result: field:
✅ Passed
Test executed successfully with no issues found.
Use when:
- all expected behavior works correctly
- no bugs or deviations detected
Issue linking:
- not required
- may add notes for informational purposes
⚠️ Problematic
Test has blocking dependencies or minor issues that don't affect core functionality.
Use when:
- cannot fully test feature due to blocking dependencies
- Example: "Cannot test background image rotation because setting background image is broken (#1234)"
- feature has minor issues that don't block core functionality
- test execution was hindered but not completely blocked
Issue linking:
- MUST link to blocking issue or dependency in Notes field.
- Explain why test could not be fully executed.
❌ Failed
Test failed due to software defects requiring fixes.
Use when:
- feature being tested has a defect
- expected behavior does not match actual behavior
- critical functionality is broken
- Example: "Rotation function causes image to disappear (#1235)"
Issue linking:
- MUST link to GitLab issue in Notes field.
- Create new issue if none exists (after checking for duplicates).
Avoiding Duplicate Issues
Before creating new issues:
- Search previous test reports in
doc/tests/manual/reports/. - Search GitLab issues for similar problems.
- Check with team members if uncertain.
Report Naming Conventions
Test Reports
Test reports must be named using the date format: YYMMDD.md
Examples:
250131.md- Test report from January 31, 2025241215.md- Test report from December 15, 2024
Report Location
All test reports must be saved in: doc/tests/manual/reports/
Test Environment Requirements
What Counts as a "Local Build"
A local build includes:
- Native build running on your local machine
- Devcontainer (Docker-based development environment is acceptable)
A local build does NOT include:
- dev.permaplant.net or other remote environments
For Guided Tour Testing
- MUST use local build (native or devcontainer).
- cannot be tested on dev.permaplant.net
- requires database reset capability
For Other Tests
- local build (native or devcontainer) OR dev.permaplant.net
- Choose based on availability and testing needs.
Test Report Structure
Each test report must include:
-
General Section
- Tester name
- Date/Time
- Duration
- Commit/Tag being tested
- Setup environment (specify: local build or dev.permaplant.net)
- Test counters (Planned, Executed, Passed, Problematic, Failed)
-
Test Cases
- all executed test cases with results
- properly filled Actual Result and Test Result fields
- issue links in Notes for failed/problematic tests
-
Closing Remarks
- assessment of current software state
- whether quality objectives were achieved
- lessons learned and process improvements
Execution Order
-
ALWAYS execute
00_guided_tour.mdfirst- This test must be performed before any other tests.
- If you exit the tour mid-test, reset your database before continuing.
-
Execute remaining tests in alphabetical order
- test cases are numbered/named to maintain proper sequence
Test Case Maintenance
When You Find Errors in Test Cases
Only fix minor, non-logic errors immediately:
- Typos and readability - Fix small spelling, grammar, or clarity issues.
- Document the change - Note the correction in your test report.
- Continue testing - Use the corrected version for your test execution.
DO NOT fix:
- logic or expected behavior changes
- test case structure issues
- semantic problems that could affect test validity
Report logic errors as issues and test with the original case.
Browser Testing
When finding issues:
- Try to reproduce in another browser to identify browser-specific problems.
- Document browser information in Notes field if issue is browser-specific.
- Test on supported browsers as defined in requirements
./README.md#client-requirements.
Test Data and Resources
Test User Account
- Always use designated test user account:
testuser_t@permaplant.net. - credentials available in
doc/tests/testusers.md - test account is pre-configured with necessary materials
Test Images and Assets
- stored in Nextcloud under "Photos" directory of test user account
- Access via "Anmelden mit Keycloak" using test user credentials.
- individual test cases specify which images are needed
Examples
Example 1: Passed Test
## Map Creation
- Description: Test creating a new map with valid parameters
- Given I am logged in as testuser_t@permaplant.net
- When I click "Create New Map" and fill in name and location
- Then I should see the new map in my map list
- Actual Result: Map created successfully and appears in list
- Test Result: ✅
- Priority: High
- Risk Assessment (Regressions-Likelihood): Low
- Testable as Unit Test? No (integration test)
- Notes: None
Example 2: Failed Test
## Background Image Rotation
- Description: Test rotating a background image on the base layer
- Given I have uploaded a background image
- When I click the rotation handle and drag
- Then I should see the image rotate smoothly
- Actual Result: Image disappears when rotation angle exceeds 45 degrees
- Test Result: ❌
- Priority: High
- Risk Assessment (Regressions-Likelihood): Medium
- Testable as Unit Test? No
- Notes: Critical bug - image rendering fails at certain angles. See #1337
Example 3: Problematic Test
## Copy Plant with Background
- Description: Test copying a plant when background image is set
- Given I have a map with background image and plants
- When I copy a plant using Ctrl+C and Ctrl+V
- Then I should see the copied plant
- Actual Result: Cannot test - background image upload is broken
- Test Result: ⚠️
- Priority: High
- Risk Assessment (Regressions-Likelihood): Unknown
- Testable as Unit Test? No
- Notes: Blocked by #1336 (background upload failure). Will retest after fix.
Best Practices
-
Be thorough but efficient
- Follow test cases precisely.
- Don't skip steps.
- Document any deviations.
-
Write clear notes
- Explain unexpected behavior.
- Include reproduction steps.
- Reference related issues.
-
Maintain test quality
- Fix errors in test cases immediately.
- Suggest improvements to test coverage.
- Report gaps in testing.
-
Communicate findings
- Write clear closing remarks.
- Highlight critical issues.
- Suggest process improvements.
-
Follow the workflow
- See Manual Testing Workflow for complete process.
- Don't skip preparation steps.
- Complete all documentation.
Review Guidelines
Best practices and conduct standards for code review in merge requests.
Review Conduct
Timeliness
-
Timeliness is essential. For both giving reviews and for answering to reviews. Then everything is fresh in memory and goes much smoother. Better a short review than no review.
-
📖First read merge request description before jumping to the code. Especially the reviewer guide should be read. If it is missing or unclear, please always write about that.
Clarity and Communication
-
📏Observe-Impact-Suggest. Clearly distinguish of what you observe and what you suggest. For suggestions prefer to use GitLab suggestions feature to be even more clear. For example: Observe: "This method has 100 lines". Impact: "It's complicated for me to understand its logic". Suggest: "You can extract it into 2 methods with explicit names".
-
Make direct and specific statements. Don't ask questions unless it is really a question and does not need any code changes. Usually, no question should be asked, as code should be self-describing together with the documentation. So instead of asking a question state what is unclear, for example: Observe/Impact: "The line is unclear to me." Suggest: "Please add inline-comments to describe the line".
-
Comment on parts that could be improved or need clarification
- Highlight areas where the code is unclear or could be better documented.
- Suggest where additional comments might help future maintainers.
-
Provide actionable feedback
- Be specific about what needs to change.
- Include code examples when helpful.
- Link to relevant documentation or guidelines.
Completeness
-
Review the MR completely before submitting feedback
- Take time to understand the full context of changes
- Consider the overall design and approach, not just individual lines
- Look for patterns across the codebase
-
If you cannot finish within a day, submit partial reviews
- It's better to provide some feedback early than to delay indefinitely
- Mark your review as partial in the comment
- Specify what areas you've reviewed and what remains
- Example: "Partial review: Reviewed backend changes, frontend still pending"
Constructive Feedback
-
All feedback should be constructive and focused on improving the code
- Frame suggestions positively: "Consider X because Y" instead of "This is wrong"
- Explain the reasoning behind your feedback
- Provide specific examples or alternatives when suggesting changes
- Acknowledge good practices and clever solutions
-
Focus on substantive issues
- Prioritize feedback on architecture, logic, security, and maintainability
- Don't nitpick minor style issues - these should be caught by pre-commit hooks (if style issues appear in an MR, it may indicate bypassed hooks)
- Consider the impact of your suggested changes
-
Be respectful and collaborative
- Remember that code review is a learning opportunity for both author and reviewer
- Assume good intent from the author
- Use questions to understand reasoning: "Can you explain why X was chosen over Y?"
- Recognize that there may be multiple valid approaches
Review Quality Standards
Fast Reviews
-
Fast reviews (within 1-2 days) are very helpful to maintain productive workflow
- Quick feedback keeps the author's context fresh
- Reduces context-switching costs for the team
- Prevents blocking other dependent work
-
Balance speed with thoroughness
- Don't rush to the point of missing important issues
- Use partial reviews when you can't complete a full review quickly
- Communicate expected review timeline if you need more time
Review Scope
-
Focus your review based on the MR's review guide
- Authors should provide specific areas to focus on
- Respect the author's guidance on what to prioritize
- Flag if critical areas are missing from the review guide
-
Choose 3-7 most important guidelines per review (from code review guidelines)
- Document which guidelines you checked
- Don't check for what could be automatically verified by linters
- Focus on high-impact areas specific to this MR
Special Considerations
Partial Reviews
When submitting a partial review:
- Clearly mark it as partial in your comment
- Specify what you've reviewed
- Indicate what still needs review
- Provide feedback on reviewed portions without blocking
Disagreements
When you disagree with the implementation:
- Explain your concerns clearly
- Suggest specific alternatives
- Discuss trade-offs of different approaches
- Be open to the author's reasoning
- Escalate to product manager if no consensus
Review Templates
- Use the review template with checkboxes to document what you reviewed
- Fill out the template completely before submitting
- This helps ensure thorough reviews and provides transparency
Security
- Authentication must happen in keycloak
- Decides who is member (only then you can create/edit any map)
- Also used for discovering users
- Security of data must happen in the backend or in Nextcloud (for files)
- Any modifications of elements or maps must be marked by:
- creation time (granularity in seconds)
- creation id (person who created)
- modification time (granularity in seconds)
- modification id (person who modified)
- Only owners or collaborators are allowed to manipulate maps
Tools Guidelines
Standards for creating and organizing tools in the /tools directory.
Directory Structure
Tools are organized by functional categories:
release/- Release management and automationdatabase/- Database utilities and scriptstesting/- Testing automation and utilitiesci/- CI/CD helper scriptsdevelopment/- Development workflow utilities
Naming Conventions
Script Names
- Use kebab-case:
generate-test-report.sh - Start with action verb:
generate-,bump-,validate- - Include context:
bump-version.sh,validate-migrations.sh - Use
.shextension for bash scripts
Directory Names
- Lowercase with hyphens:
release/,database/ - Name by function, not implementation
Requirements
Each subdirectory must contain:
- README.md documenting all tools in that category
- Tool descriptions with usage examples
- Prerequisites and dependencies
Script Standards
Self-Documentation
- Required: Implement
--helpflag with usage, options, and examples - Scripts should be self-documenting, not require external documentation
- Use standard CLI patterns:
-h, --helpfor help
Technical Standards
- Start with
#!/bin/bash - Use
set -euo pipefail - Source common utilities:
source "$(dirname "$0")/../common.sh" - Make executable (
chmod +x) - Use proper error handling and validation
- Handle unknown arguments gracefully
Upgrading to newer software releases
- Check locally if application still works
All .env locations
- .devcontainer/.env: For devcontainer frontend
- .devcontainer/.env.db: For devcontainer db container
- .docker/.env: For docker frontend
- .docker/.env.db: For docker db container
- backend/.env.sample: For backend (create .env from it)
- frontend/.env.sample: For frontend (create .env from it)
- frontend/.env.production: For frontend (production)
- scraper/.env.sample: For scraper (create .env.local from it)
Node
Update node version in:
- .devcontainer/.env
- .devcontainer/Dockerfile
- frontend/README.md
Postgres
Update postgres/postgis version in:
- .devcontainer/docker-compose.yml
- ci/Jenkinsfile
- .docker/docker-compose.yml
Rust
CRITICAL: All environments (CI Docker images and deployment servers) must use the same Rust version for consistent Diesel CLI compilation.
- Find the latest Rust version
- Find the latest Debian release
Assemble the rust docker tag as follows:
rust:<rustversion>-slim-<name of latest debian release>
Update Rust version in:
- .devcontainer/Dockerfile
- ci/container-images/permaplant-rust/Dockerfile (version X.Y.Z from rust:X.Y.Z-slim-...)
- doc/Dockerfile
- backend/rust-toolchain.toml
- Infrastructure repository: ansible/group_vars/permaplant_servers/plain.yaml (variable
rust_versionfor deployment servers)
After updating, run the Ansible playbook to update all servers (dev, mr, mr.staging, master, master.staging, www, www.staging):
cd infrastructure/ansible
ansible-playbook pb_permaplant.yaml
Notify the developers that they should rebuild their dev containers in VSCode after updating their branches with the new versions
Diesel CLI
CRITICAL: All environments (CI Docker images and deployment servers) must use the same Diesel CLI version. Version mismatches cause --locked-schema checks to fail because different versions generate slightly different schema.rs files.
Update Diesel CLI version in:
- ci/container-images/permaplant-rust/Dockerfile (CI build environment)
- Infrastructure repository: ansible/group_vars/permaplant_servers/plain.yaml (variable
diesel_cli_versionfor deployment servers)
After updating both files with the same version, run the Ansible playbook to update all servers (dev, mr, mr.staging, master, master.staging, www, www.staging):
cd infrastructure/ansible
ansible-playbook pb_permaplant.yaml
The playbook will automatically detect version mismatches and update Diesel CLI on the servers.
Ruby (gitlab-triage)
Update Ruby version in:
- ci/container-images/permaplant-triage/Dockerfile
Update gitlab-triage gem version in:
- ci/container-images/permaplant-triage/Dockerfile (currently pinned to major version
1)
Prettier
Update prettier version in:
- .pre-commit-config.yaml
- package.json (and via npm package-lock.json)
- frontend/package.json (and via npm frontend/package-lock.json)
Versioning
When to Release
We release when:
- regularly, about monthly
- milestone goals are reached
- on special events
- we need an update of the landing page (e.g. new members etc.)
We increment the frontend/backend version number synchronously on any release, i.e., deployment on www.permaplant.net.
Version Numbering
We use semantic versioning (MAJOR.MINOR.PATCH) for releases:
- MAJOR: breaking changes or significant milestones
- MINOR: new features or significant improvements
- PATCH: bug fixes and minor updates
Release Process
For the detailed step-by-step release process, including:
- release preparation and version bumping
- testing and quality gates
- production deployment
- post-release activities
Please refer to the Release Issue Template located at .gitlab/issue_templates/Release.md in the repository root.
The template provides a comprehensive checklist covering all phases of the release process from initial preparation through post-release activities.
Meetings
README
2023 Meetings
Meeting 2023-03-07
Protocolled by: Lukas
Attendees:
- Samuel
- Gabriel
- Moritz
- Giancarlo
- Nursultan (audio-only)
- Lukas
- Markus
- Yvonne
Buddies:
- Lukas & Gabriel
- Samuel & Nursultan
- Giancarlo & Moritz
Agenda:
- welcome ☺️
- news about contact to your buddy
- news from polyculture meeting
- Pavlo Ardanov
- final touches for contribution guidelines https://github.com/ElektraInitiative/PermaplanT/pull/62
- scope & date for first two milestones
- in-person team event planning
- qualifications/interests in team:
- Postgis
- Undo/redo
- Architecture
- Usability UI
- Mockup
- Google Spreadsheets
- finishing & first discussions about assignment of use cases
- Vertrag 📜
- Projekte
- review system with points
- “Best PermaplanT Companion”-Awards
- open tasks:
- bugs for seed use case (split up)
- plant db finishing touches (German etc.)
- frontend tests&docu
- decisions: state&architecture
- closing
Meeting notes:
- WELCOME
- Task: Discussion with your buddy/buddies. Find similarities between you and your buddy/buddies.
- Colour Green: Walks in nature, houseplants, Spinach
- Letter A: in names, Android OS
- PermaplanT: Love for Open Source, Programming, Usability
- Contact to your Buddy
- News from polyculture meeting
- Discussion on Contribution Guidelines (#62)
- Shall we enforce having an issue for each PR?
- in-person team event planning
- Skill Check (bubble slide)
- technology
- design
- other skills
- getting to know each other
- frontend/backend
- ui/db
- tea/coffee
- early bird/late worm
- smoothie/steam
- computer/plants
- soccer/yoga
- Focus Groups
- M1. Deadline: 19th March 2023
- Use Cases
- State Libraries (React): Comparison of Alternatives
- Gabriel: Backend PRs are blocking (e.g. Renaming)
- CLOSING
- (Personal) benefits of PermaplanT:
- growing more plants
- mapping of own garden
- technical challenges
- learning about cultivating plants (2x)
- thesis (3x)
- being part of an open source community (3x)
- putting something on my balcony
Meeting 2023-03-14
Protocolled by: Nursultan
Attendees:
- Giancarlo (Best PermaplanT Companion KW11)
- Samuel
- Gabriel
- Moritz
- Nursultan
- Lukas
- Ramzan
- Thorben Julian
- Benjamin
- Markus
- Yvonne
Buddies:
- Giancarlo & Moritz
- Lukas & Gabriel
- Samuel & Nursultan
- Ramzan & Thorben & Benjamin
Tasks:
These tasks are to be done the day before the meeting
- Add question/action points in agenda
- Speak to your Buddy
- Create a PR with README.md and research questions in private submissions repo
- Collect points by reviewing other PRs
- Sign Vertrag
- Update Project
- Nominate for “Best PermaplanT Companion”-Awards
Agenda:
- 09:00 welcome ☺️
- Ramzan
- Thorben Julian
- Benjamin
- buddies
- news
- finishing M1:
- remaining RC-bugs for seed use case
- plant db finishing touches
- frontend tests&docu
- other important topics (prep for M2):
- UX
- DB
- decisions: state&architecture
- do more reviews of others PRs (goal: 2 reviews per PR)
- new UI sketch (from Yvonne&Markus) with short feedback from you (details afterwards in UI focus team)
- scope & date for M2
- finishing & first discussions about assignment of use cases
- Project Planning for next iteration
- Yvonne found new database
- 10:00 closing & break
- start UI focus team
- in-detail discussion of UI sketch
- mockup (directly with our framework?)
- closing UI focus team
Meeting notes:
Persons
- Nursultan's questions (link):
- Samuel's questions
- Tight or loose integration with NC? Should the PermaplanT app work without NC?
- Integration of Nextcloud in Frontend or Backend
client to NC communication:
- web client <--> NC
- web client <--> PROXY <--> NC
- web client <--> backend <--> NC
- Where do we store user related information (DB or Nextcloud)?
- credentials
- location information
- permissions/groups/roles
- application data: ownership/membership of maps
- How do we retrieve relationships between plants? (Not included in current dataset)
Notes
- welcome
- discussed tasks for everybody
- submit first version of your research questions in "submissions" repo
- shouldn't be perfect, just a first draft
- do reviews of other PRs and collect points
- discussed agenda
- buddies + small creative task
- end date of your thesis. thesis should be completed within one term but can be finished quicker
- Moritz asked regarding git workflow in submissions repository: When should we create pull requests? When can we push directly to master?
- you can directly push to the master, e.g. for templates and other not-to-be-reviewed stuff
- open PR only for the parts that should be reviewed (this week at least the research question)
- entire thesis i.e. paper work should be finally in the "submissions" repo
- focus groups
- small groups to discuss specific topics
- prefer github issues, meetings should be rather for clarifications
- also personal meetings are possible, if needed
- adapt the meeting protocol template (Nursultan)
- status report vs questions
- update authors file with your:
- expertises
- interest areas in the project
- Markus and Yvonne presented a mockup for the plants layer
- second milestone
- companions/antagonist data Benjamin
- first version of the canvas/map
- basic functionality of the map
UI Focus Group
- hello
- Giancarlo: seed usecase
- Samuel: practical experience in data analysis software, experience with tailwindcss
- Thorben: practical experience in designing smaller business interfaces, mostly web design
- Moritz: full-stack
- show similar features in Krita (tool buttons and layers)
- Layers unintiutive? alternative? enable? Decision: we will use a group instead of top-level "alternatives" checkbox
- to be tested: does a slider with double click work?
- usage of mouseover text functionality
- cluttered "drag and drop plants" -> also use groups here
- date zoom functionality -> will be drawn last
- buttons more standard?
Deliverables until the next meeting:
(additional to deliverables everyone needs to do)
- Samuel
- NC decisions
- UI prototype
- Gabriel
- decisions (API documentation, SQL queries)
- help seed milestone
- Moritz
- seed milestone M1
- documentation of frontend
- Giancarlo
- mockup of M2
- seeds
- Nursultan
- varieties in plant database should be checked by Markus & Yvonne
- decisions/researches/architecture
- Lukas
- CI/CD master deployment
- Ramzan
- PostGIS
- Thorben
- gamification use cases
- PostGIS
- Benjamin
- get started with spreadsheet and Rust
- usecases
Progress Reports
Nursultan Progress Report
- persistent undo when deleting a map/plant etc. #90
- scheduled deleting of a map/plant should be implemented either on the backend or server levels
- need to discuss ideas with the Lukas and Markus
- confidence and strength of specific relations (e.g. buddy, dislike, ...) and attributes (e.g. wind, ...)
- Issue #88 / PR #89
- go through open conversations on the meeting
- task is completed on the structural level
- since genus/subfamily/family CSV files are not fixed yet, metatables are initially empty(maybe confusing for other team members?). In order to fill them right now, we need to manually add the data to the database with queries commented out in the migration file
- We also already have prefilled CSV files for genus/subfamily/family, which consist distinct values of the corresponding attributes. We can also use these files to fill the metatables.
- undo-redo functionality of the map #91
- need a research on PostGIS
- have a look at permapeople.org #102
- completed, you can find the results in the issue
Outlook:
To be done until 20.3.2023:
- Review and correct research questions (in private submissions repo)
- add TISS Entries (in private submissions repo)
- Matrikelnummer+Studium
- Beginndatum
- Erwartetes Ende (latest June)
- Titel (Deutsch+Englisch)
- Beschreibung/Abstract (Deutsch+Englisch)
- Schlagwörter (Deutsch+Englisch) (/ separated )
- Speak to your Buddy
- Update Project
- Nominate for “Best PermaplanT Companion”-Awards
Meeting 2023-03-15 Gamification
Protocolled by: Markus
Attendees:
- Markus
- Yvonne
- Pavlo
- Thorben
Agenda:
- Goals of the game(s)
- Related work
- Use cases
- Brain storming for interface
Meeting notes:
- Goals of the game(s)
- class room (learning) +1
- work in group
- behavior/choices of persons
- diversity +1
- intercropping?
- model cases
- calculate/evaluate performance:
- pest controls/attractive wild life/...
- why game:
- put in parallel scenarios simultan
- lead to very different path way
- peer discussion
- peer experts help in assessment
- ranking (e.g. peer review happened)
- Use cases
- known companions evaluated by growers (placement, constraints, preferences)
- growers have a list about 80 vegetables
- planning done by experts (maybe even same)
- work together
- output (harvest, measurement kits for soil, e.g. water measurements, taste)
- "citicen science"
- e.g. 10 growers with different combinations
- harvest basket/Erntekörbchen (to facilitate more diverse gardens and community work):
- get good reviews in added plants
- write good reviews (known companions and traits-based)
- get good reviews when helping other people in their map
- get good reviews of your own map
- get new people apply for membership
- good plant diversity, reward:
- have the ingredients you need the whole year round (e.g. for a smoothie)
- have at least 3 plants blooming simultaneously
- plan a garden with given constraints (probably best doable if you can give others permissions to draw on alternative layers)
- have all vegetables you need for a party at date X
Next meeting in around 3 weeks with use cases and mockups.
Meeting 2023-03-15 Polyculture Algorithm
Protocolled by: Benjamin
Attendees:
- Benjamin Zinschitz
- Markus Raab
- Pavlo Ardanov
- Uliana
- Yvonne Markl
Preparations:
- look at http://visegrad.permakultura.sk/polycultures/
Agenda:
- Polyculture Basics
- Presenting the pencil mockup
- Modules of Tool
- Introduction in Spreadsheets -> skipped
- Taxonomy: Family/Genus
- type of garden:
- forest garden
- ...
- Test Data
Meeting notes:
Pavlo wanted to know if we want to build our own database or combine data from multiple external ones at run time. We will definitely go for the former.
Pavlo talked about the three modules that make up his tool.
- Plant Requirements/Zones
Choose plants based on their environmental needs.
e.g. pH-value, soil density, lighting conditions, etc. - Known Plant Companions
Some plants work well with each other based on empirical evidence.
e.g. the aetheric oil emitted by one plant repels pests for another plant. - Trait-based approach
Two plants with different traits complement each other.
Approach one seems quite straight forward as long as we have sufficient data quality of requirements in our database and the user has good knowledge of her site.
We could populate the database with known companions for approach two. The question where to get this data from remains open for now.
There are hundreds of traits which can factor in for approach three. We need to find and define the ones with the most impact on plant growth speed, healthiness and crop yield while considering what data we have available. According to Pavlo the most important traits are shoot & root morphology while speed of growth and differences in point of harvest should also be considered.
We need to decide for which climate zone our algorithm should work.
For now we will settle for the middle european climate zone (cold winters, hot and dry summers).
There were also some ideas for the functionality of the app.
- When plants are suggested the vegetation period could be considered as well.
- We could pre-compute some some polyculture groups with a mix of approaches one and two. Considering the site details and preselected plants whole groups could be offered as suggestions.
- In addition to suggesting what to plant we can suggest how to plant groups. Mixing seeds, placing them in rows or other shapes, etc.
- Because people are creatures of habit we could suggest plants that are less used and have a high ecological value. E.g. attracts wildlife, bees, etc.
Meeting 2023-03-20 DB Kick-Off
Protocolled by: Nursultan
Attendees:
- Nursultan
- Moritz
- Benjamin
- Thorben
- Ramzan
- Paul
- Markus
- (everyone on the mailing list is welcomed)
Agenda:
- welcome ☺️
- goals:
- stable migrations
- maintenance
- performance
- scraper/new columns:
- permapeople.org https://github.com/ElektraInitiative/PermaplanT/issues/102
- reinsaat.at https://github.com/ElektraInitiative/PermaplanT/issues/123
- which important decisions do we need to make?
- plant relations: https://github.com/ElektraInitiative/PermaplanT/pull/89
- undo
- alternatives
- singular vs. plural
- ?
- which tasks do we have?
- who wants to work on which task?
Notes:
- welcome and intoduction of the participants
- postgis data should coordinate with real world
- permapeople.org have more recent plants information than practicalplants
- suggested to sync the data with permapeople.org and our database bi-directionally
- there will be a meeting with PostGIS expert for sure
- discussion about the coordinate system of the map
- which coordinates are used in the database?
- which coordinates are used in the frontend by the canvas? e.g. zoom-in
- 5D coordinates: x, y, z, time and the alternatives
- 5D should be transformed into 2D
- lazy loading of the map
- initial idea was to load only visible elements of the map on the startup
- however, for the offline mode we will need additional data e.g. plants information. not fixed yet
- offline functionality is limited in respect to all the functionalities of PermaplanT
Resulting Tasks:
- Nursultan:
- DB Design
- feasibility study
- undo in DB
- canvas zoom
- what coordinates we have in the canvas? e.g. zoom-in
- differences between databases
- permapeople.org https://github.com/ElektraInitiative/PermaplanT/issues/102
- reinsaat.at https://github.com/ElektraInitiative/PermaplanT/issues/123
- Ramzan:
- guidelines
- singular vs. plural
- varchar vs. text
- layers/alternatives/time support in DB (together with Nursultan)
- continue researching/discovering PostGIS e.g. projection algorithms
- guidelines
- Moritz:
- connect plants with seeds (together with Paul)
- handover of scraper tasks
- Thorben:
- create ER/SQL for users and maps tables (coordinate with Samuel)
- Benjamin:
- continue investigation in polyculture task
Meeting 2023-03-21
Protocolled by: Nursultan
Attendees:
- Nursultan (Best PermaplanT Companion KW12)
- Giancarlo (Best PermaplanT Companion KW11)
- Paul (new)
- Samuel
- Gabriel
- Moritz
- Lukas
- Ramzan
- Benjamin
- Markus
- Yvonne
Cannot come:
- (Thorben)
Buddies:
- Giancarlo & Moritz
- Lukas & Gabriel
- Samuel & Nursultan
- Ramzan & Thorben
- Benjamin & Paul
Tasks:
These tasks are to be done ideally this week and at latest the day before the meeting
- Add at least one question/action points in agenda
- Speak to your Buddy
- Create a PR with research questions in private submissions repo below your_name folder
- Push your_name/TISS.txt file in private submissions repo with following entries
(to be used in your application for the bachelor thesis in TISS)
- Matrikelnummer+Studium
- Beginndatum
- Erwartetes Ende (latest June)
- Titel (Deutsch+Englisch)
- Beschreibung/Abstract (Deutsch+Englisch)
- Schlagwörter (Deutsch+Englisch) (/ separated )
- Speak to your Buddy
- Update Project
- Nominate for “Best PermaplanT Companion”-Awards KW12
- Do at least 6 reviews of other PRs (main repo and submissions)
- Finalize use cases (check what is open in #1)
Agenda:
- 09:00 welcome
- hello Paul ☺️
- celebrate Nursultan (Best PermaplanT Companion KW12)
- activity
- what is your case study? (use PermaplanT yourself)
- SVG Tomato (NC Icons/Tomato.svg)
- spoke with buddy? second buddy?
- Project Planning for next iteration
- enable GitHub+NC notifications
- How many PRs did you review?
- More active and faster in reviews
- add which PRs to review
- every PR should get 2 reviews
- look for "please review" labels
- landing page https://github.com/ElektraInitiative/PermaplanT/pull/107
- Milestones
- KW14: introduction&methods, implementation mostly done (eastern)
- KW17: related work, implementation finished
- KW20: abstract&conclusion, RQs answered
- KW23: submission of complete thesis, all tasks done (only fixing of unknown bugs remains)
- you can always do more
- short news from our focus teams
- UI
- Polyculture
- Gamification
- DB
- next meetings
- Thursday 9:00 Backend Kick-Off (Gabriel, Nursultan, Benjamin, Ramzan)
- finalize use cases
- assignment of one use cases
- final round: "what is your case study?"
- Benjamin: linting&auto-formatting
- Gabriel: API documentation+ORM
- Giancarlo: finish seed use case
- Lukas: CI, (release)
- Moritz: finish seed use case
- Nursultan: feasibility study+architecture document
- Paul: Finish seed use case, Frontend
- Ramzan: Database Guidelines, Feasability, 1. QGis, 2. Projizieren, 3. Rastering
- Samuel: Landing Page, NC Decision Document
Outlook:
To be done within this week (24.03.2023):
- Socratic questioning on your and other PRs (see socratic_questioning.md in submissions)
- Create your own milestone plan and create PR to submissions
- Look at one of the examples thesis in submissions
- Add at least one question and a progress report in agenda (push to branch meeting_notes/28.03.2023)
- Read all usecases, progress report which ones you find interesting
- Speak to your Buddy: what will your case study be?
- Update Project
- Nominate for “Best PermaplanT Companion”-Awards KW13
- Do at least 6 reviews of other PRs (main repo and submissions)
Questions and Help Needed:
Moritz
- Discuss the usage of a documentation generator (like Doxygen, but for TS/Rust).
-
Potential TS options:
-
Potential Rust options:
- rustdoc Note: seems to be the default/offial and only documentation method
-
Notes
- welcome & warmup game
- what is your case study? (use PermaplanT yourself)
- discuss with buddy
- collaborate
- how you can use PermaplanT? e.g. draw your garden
- GitHub project
- should be up-to-date
- before the meeting update the status of your tasks
- discuss what is done during the meeting
- archived old issues
- sprint is always 1 week
- "In progress" state
- only for issues that are currently worked on, not for issues that are planned to be worked on
- do not push too many issues to "in progress"
- discussed tasks for the current sprint
- feel free to tag somebody for a review (buddy, focus group, etc.)
- get involved in the PRs
- long-term: take a look at all PRs and find works related to you to give a review
- applies also for the "submissions" repo
- "please review" label
- put it to your own PRs
- once a week check for other PRs that have the label
- milestones (calendar weeks described in agenda section)
- news/updates from focus groups
- next meetings(see agenda)
- read all use cases and think about which one you want to work on
- "Submissions" repo:
- socratic questioning
- do at least 2 reviews
- as a reviewer ask yourself socratic questions
Progress Reports:
Focus Group 'Gamification'
- We defined the primary goals of the game aspect of PermaplanT (increasing positive gardening behaviour, encouraging collaboration on maps, providing a fun environment for class room learning).
- We identified a usage scenario in citizen science: multiple growers, potentially working with experts, working together to evaluate and optimize known companions and their performance through a serious game type of parallel simulations and real-life analysis of the results.
- We brainstormed a list of potential use cases around this citizen science scenario and the idea of collaboration on a shared map to help lesser experienced gardeners with their design through various forms of reviews.
Focus Group 'Polyculture'
- We are developing the app for the middle european climate zone.
- We have to define plant traits we want to focus on for trait based matching.
- We need to find high quality data on plant traits and known companions.
Nursultan
- persistent undo when deleting a map/plant etc. #90
- ready from my side and waiting of Lukas to complete the decision with exact solution for cron jobs
- confidence and strength of specific relations (e.g. buddy, dislike, ...) and attributes (e.g. wind, ...) #88
- ready for review
- suggestion from Benjamin. detailed explanation and example queries needed
- undo-redo functionality of the map #91
- research is in progress
- import of permapeople.org data #102
- waiting for the data, either CSV or API keys
- scrape reinsaat.at #103
- planned for this week
Meeting 2023-03-23 Backend Kick-Off
Protocolled by: Markus
Attendees:
- Gabriel
- Nursultan
- Benjamin
- Ramzan
- (everyone on the mailing list is welcomed)
Agenda:
- welcome ☺️
- architecture:
- quality goals:
- stability
- maintenance
- performance
- privacy
- which modules do we have?
- modules ~ endpoints, so it is map, users, ...
- where to add which code, e.g.:
- polyculture algorithms -> subfolder in services (documentation will be written)
- switching of layer/time -> parameters to endpoint
- session handling -> nextcloud (OAuth client lib), token only in browser, not in backend or DB, open decision: best Rust OAuth Client (https://auth0.com/blog/build-an-api-in-rust-with-jwt-authentication-using-actix-web/)
- transaction handling -> not needed
- threading -> tokio
- regular tasks (see decision below) -> Rust/tokio if easy, otherwise cronjob
- validation -> done by diesel
- reporting/monitoring tool
- solution strategy?
- description of 3 layers
- types/structs
- diesel/rust intro in docs(Gabriel)
- be stateless (all state in DB)
- quality goals:
- documentation:
- mdBook (general intro)
- API documentation (swagger?)
- code documentation of backend
- code documentation of frontend
- to work with DB -> Diesel must be learned
- which decisions do we need to make?
- API documentation
- https://github.com/ElektraInitiative/PermaplanT/pull/101
- typescript generation of openapi?
- DB documentation
- https://github.com/ElektraInitiative/PermaplanT/issues/97 -> yes, we document the structs
- what about SQL queries?
- open decision: best Rust OAuth Client/Server
- regular tasks https://github.com/ElektraInitiative/PermaplanT/pull/130
- API documentation
- which tasks do we have?
- logging decision
- extend pre-commit hook for backend (Benjamin)
- cargo watch (Gabriel)
- who wants to work on which task?
- Gabriel: mdBook, API docu
- Benjamin: pre-commit hook, review mdBook, API frontend
- Nursultan: documenting structs
- Ramzan: Diesel Postgis, check how to document algorithm
Meeting 2023-03-28
Protocolled by: Nursultan
Attendees:
- Benjamin (Best PermaplanT Companion KW13)
- Nursultan (Best PermaplanT Companion KW12)
- Giancarlo (Best PermaplanT Companion KW11)
- Paul
- Samuel
- Gabriel
- Moritz
- Lukas
- Ramzan
- Thorben
- Markus
- Yvonne
Buddies:
- Giancarlo & Moritz
- Lukas & Gabriel
- Samuel & Nursultan
- Ramzan & Thorben
- Benjamin & Paul
Task for Everyone
To be done within this week (24.03.2023):
- Socratic questioning on your and as review on other PRs (see socratic_questioning.md in submissions)
- Create your own milestone plan and create PR in submissions
- Look at one of the examples thesis in submissions
- Add at least one question and a progress report in agenda (push to branch meeting_notes/28.03.2023)
- Read all usecases, progress report which ones you find interesting
- Speak to your Buddy: what will your case study be?
- Update Project
- Nominate for “Best PermaplanT Companion”-Awards KW13
- Do at least 6 reviews of other PRs (main repo and submissions)
Individual Tasks
- Benjamin: use cases, linting&auto-formatting
- Gabriel: API documentation+ORM
- Giancarlo: finish seed use case
- Lukas: CI, (release)
- Moritz: finish seed use case
- Nursultan: feasibility study+architecture document
- Paul: Finish seed use case, Frontend
- Ramzan: use cases, Database Guidelines, Feasability, 1. QGis, 2. Projizieren, 3. Rastering
- Samuel: Landing Page, NC Decision Document
- Thorben: use cases
Individual Tasks:
- Benjamin: use cases, Pavlo
- Gabriel: ORM decision, mdBook, build book
- Giancarlo: Right Toolbar Mockup, layer
- Lukas: Backend, URL, Frontend, Release
- Moritz: Plant DB Integration, Backend Search, Cleaning up migration?
- Nursultan: feasibility study+architecture document, check 10.000 elements, documentation
- Paul: (Decision) Documentation Frontend, plant search (ranking), decision about full text search
- Ramzan: use cases, Database Guidelines, Feasability, 1. QGis, 2. Projizieren, 3. Rastering
- Samuel: Landing Page, Login Decision
- Thorben: use cases, DB, ER Diagram
Agenda
- 09:00 welcome
- Questions:
- buddy talk: what is your case study? (use PermaplanT yourself)
- GitHub+NC notifications enabled?
- How many PRs did you review?
- Interesting usecases?
- In the future I see PermaplanT as ...
- Project: Planning for next iteration
- English:
- hyphen: up-to-date topic, highly-interactive app, vs. the app is highly interactive
- terms always the same (Glossary!)
- when writing, look up grammar rules etc.
- for verbs search for synonyms
- getting better meeting notes
- always push to agenda what affects others (decisions, documentation, hooks, ...)
- Tips for your thesis:
- Forschungstagebuch
- speed
- look at other thesis
- identify glossary terms with italics
- implementation details, make it shorter
- lessons learned are nice
- evaluation is must-have (how do we answer RQ. only results, without any opinion)
- working together
- common components (SimpleButton improvement PR)
- benchmark setups
- code
- minimize work on thesis
- technicalities:
- PRs with generic issues (use cases #1, decisions #2), don't need extra issues just for the PR
- make sure PRs have README.md (short description in GitHub)
- branch names see .github/CONTRIBUTING.md
- merging policy: own PRs should not be merged by yourself, others are okay if you are sure it is okay and it solves a problem for you (e.g. fixes builds).
- paper
- how to write methodology
- what is important for RQs
- outcome of backend meeting:
- we want to use Swagger
- decisions: prefer to simply push and consider all possible solutions even if it is obvious
- assignment of one use cases
- 2nd milestone
- we should be able to plant plants
Frontend Meeting
Starts 15:30:
-
SVG (Tomato)
- check: svg on Konva
- Tomato_vector_transparent_background.kra
-
common components
- document in storybook
- https://tailblocks.cc/
-
tailwind configuration
-
mockup
- no description for layer buttons
- drag and drop for reordering the layers
- arrow for collapsing group
- add vertical dropdown for deleting
-
next steps:
- Giancarlo: svg on Konva, mockup
- Samuel: Color Schema, landing page
- Giancarlo: news
- Moritz: time line
- Samuel: slogan, UI plant use case
- corp. design
- Yvonne: logo
- Thorben: prim+sec color, 9-10 shades
- Giancarlo: margins
- Paul: section heading, shadows, layout improvement
-
next meeting: Friday 9:00
Progress Reports
- milestones.md is in submissions repo
- Samuel
- added env file with API_URL to frontend
- defined color structure in tailwind
- implemented landing page suggestions and dark mode
- stuck at accessing values from tailwind configuration (typescript errors)
- Moritz
- seeds entry is almost done
- only thing that is that is missing is the integration of the scraped data
- Benjamin
- Wrote the last remaining polyculture use cases.
- Set up pre commit hooks for the whole project.
- Add front end commands for the check stage of the CI pipeline.
- Get in touch with Pavlo to get more info on plant relation data.
- Work on a sketch for the database schema for representing plant relationships.
Questions
- Samuel
- When are PRs merged?
- How to avoid duplicate effort? E.g. I am working on simple components that I need for my feature other people might need similar components for different feature. Should we create smaller PRs that get merged fast? E.g. SimpleButton improvement PR
- Moritz
- Is there already a standard format for branch names and commit messages?
- Benjamin
- Is the current state of the database schema on master fixed or subject to change?
Outlook
Extra Meetings:
- Today 15:30: Frontend
- Thursday 9:00: Polyculture
To be done till 31.3.2023:
- finalize use cases
- Read all decisions, progress report which ones you agree
- start decisions #2
- write Forschungstagebuch in submissions repo (longer progress report)
- Add at least one question and a very short progress report, relevant for others (e.g. common components, decisions, ...), in agenda (push to branch meeting_notes/04.04.2023)
- Speak to your Buddy about decisions
- Update Project
- Nominate for “Best PermaplanT Companion”-Awards KW14
- Do at least 8 reviews of other PRs in this week (main repo and submissions)
- Screen PermaplanT for the benefit that you personally want to achieve for your case study. Check, if your needs are met.
- thesis: write methodology
Meeting 2023-03-30 - Polyculture
Protocolled by: Benjamin
Attendees:
- Benjamin
- Pavlo
- Uliana
- Markus
- Yvonne
Agenda
- 09:00 Hello
- Which database (columns) are best?
- Grouping algorithms
- Taxonomy
- Test Data
- Participation of Uliana
- Tasks
Discussions
- What kind of plants do we want to address?
- Only vegetable and leafy green crops or more?
- The database contains many different plants, including trees, all available for a planner.
- For companions/antagonists, however, we focus on garden vegetables.
- Diversity and ecological value plants should be included as well.
- What databases to use?
- We started scraping practicalplants.org and now integrate the data from permapeople.org. They are close to what Plants for a future provides except for plant relationships.
- Plants for a future is a popular one.
- Will they allow us to use them?
- It's constantly updating, how can this be reflected?
- We want to get daily updates via their API.
- They already sent us API keys. The current concept is: we update their wiki directly and then receive updates. We should arrange a meeting with them to talk about this.
- Natural plant database (American) has more extensive data on relationships.
- There are more important ones for polycultures (primary traits).
- Which traits to use?
- When these are defined we can take a look at which databases we can use.
- Examples are
- Plant physiology
- Growing period
- ...
- Examples are
- Yvonne has already done an investigation of databases. That's why permapeople.org was chosen so far. But some things are missing in there (e.g. relationships and seeds). Quality check hasn't been done thoroughly.
- For relationships, we would like to have a confidence score.
- We could also take relationship data from multiple sources and grade by this. How many databases say the same. Are there any contradictions?
- Pavlo's concern is that a computer program would be more objective and efficient in the long term. Markus's concern is that scraping would be a big effort with little long-term benefits (scraping would need to be redone in future). Therefore we concluded the work will be done manually by Uliana. To keep the work at an acceptable level, we only include common vegetables on higher taxonomical ranks. As far as we know, this is novel, as other databases don't define relationships on higher taxonomical ranks.
- Plants for a future and Natural capital plant database have relationship info readily available in spreadsheet format. We can probably use the info if we don't use any of relationship details.
Decisions
-
Uliana will start research on plant relationships.
First the quality of the following datasources has to be assessed.Then a collection of relationships in the following format is created.
You can find the document here.
The left and right side of a relationship are plants where the order doesn't make a difference.
E.g. the relationshipA companion Bis identical toB companion Aso only one of them should be added.- Left side
- Common name
- Variety
- Species
- Genus
- Subfamily
- Family
- Taxonomic rank
- Variety
- Species
- Genus
- Subfamily
- Family
- Right side
- See Left side
- Confidence
- low
- medium
- high
- approved
- Relationship type
- companion
- antagonist
- neutral
- Notes
- Sources
- Left side
Meeting 2023-03-31
Protocolled by: Moritz
Attendees:
- Giancarlo (Best PermaplanT Companion KW11)
- Paul
- Samuel
- Moritz
- Thorben
Agenda
-
09:00 Hello
-
SVG (Tomato)
- check: svg on Konva
- Tomato_vector_transparent_background.kra
-
i18n (German/English) -> we use react i18next with static keys
-
common components
- document in storybook
- https://tailblocks.cc/
-
tailwind configuration
-
mockup
- no description for layer buttons
- drag and drop for reordering the layers
- arrow for collapsing group
- add vertical dropdown for deleting
-
next steps (old meeting):
- Giancarlo: svg on Konva, mockup
- Samuel: Color Schema, landing page
- Giancarlo: news
- Moritz: time line
- Samuel: slogan, UI plant use case
- corp. design
- Yvonne: logo
- Thorben: prim+sec color, 9-10 shades
- Giancarlo: margins
- Paul: section heading, shadows, layout improvement
-
next steps:
- Moritz: review
- Paul: translation
- Samuel: typewriter
- Thorben: colors
Meeting 2023-04-04
Protocolled by: Nursultan
Attendees
- Samuel (Best PermaplanT Companion KW14)
- Benjamin (Best PermaplanT Companion KW13)
- Nursultan (Best PermaplanT Companion KW12)
- Paul
- Gabriel
- Moritz
- Lukas
- Ramzan
- Thorben
- Markus
- Yvonne
Could not come:
- Giancarlo (Best PermaplanT Companion KW11)
Buddies
- Giancarlo & Moritz
- Lukas & Gabriel
- Samuel & Nursultan
- Ramzan & Thorben
- Benjamin & Paul
Tasks for Everyone
To be done within this week KW13 (31.03.2023):
- Finalize use cases
- Read all decisions, progress report which ones you agree
- Start decisions #2
- Write Forschungstagebuch in submissions repo (longer progress report)
- Add at least one question and a very short progress report, relevant for others (e.g. common components, decisions, ...), in agenda (push to branch meeting_notes/04.04.2023)
- Speak to your Buddy about decisions
- Update Project
- Nominate for “Best PermaplanT Companion”-Awards KW14
- Do at least 8 reviews of other PRs in this week (main repo and submissions)
- Screen PermaplanT for the benefit that you personally want to achieve for your case study. Check, if your needs are met.
- Thesis: write methodology
Individual Tasks
To be done within this week KW13 (31.03.2023):
- Yvonne: Logo, Drawings, Testing Seed entries
- Markus: landing page
- Benjamin: plants relationship table finalized, use cases, squash migration
- Gabriel: ORM implement, mdBook (with deployment), end points
- Giancarlo: Sidebar Mockup, Implement drawing layer, Konva features, Improve Landing Page (add news)
- Lukas: Frontend, Release Deployment, Import Seeds
- Moritz: Seed Issues, Timeline
- Nursultan: scraping, decisions, architecture, thesis study+architecture
- Paul: translation for frontend, Documentation Frontend
- Ramzan: use cases, Database Guidelines, SQL code examples Feasability, 1. QGis, 2. Projizieren, 3. Rastering
- Samuel: Readd Map&Gallery, Login Decision, UI for plant use case (right toolbar), use cases
- Thorben: use cases, DB/ER Diagram, Mockups
Agenda
-
09:00 welcome - Best PermaplanT Companion KW14: Samuel
-
Questions: - buddy talk: decisions - Interesting decisions? - How many PRs did you review?
-
Galgenmännchen
-
Project: Planning for next iteration
-
Responsibility on finishing own tasks and telling me if you cannot do it in time (TISS)
-
Terminology: - FLOSS - project vs. initiative - enumerate/itemize (consistent style!)
-
technicalities: - weekly merge PRs in submissions yourself (and create new ones) - adding preliminary pdfs for reviews can be useful (if you want comments on the pdf) - create new PRs for new content (both submissions+main repository) - images in nextcloud - please don't start discussions in (big) PRs
-
Thesis: - text structure: - theorems for RQs (restate via restatable etc.) - short sentences, verb early, use "we" - capitalization of headers - everything is understandable when reading from begin to end - without forward references - terms explained when used first - scientific structure: - observations and opinions clearly separated - connected with related work
-
outcome of frontend meeting - document components in storybook - modern, simple style with some chaotic elements - we use react i18next with static keys
-
outcome of polyculture meeting - manual creation of companions with certainty
-
M1 finish remaining tasks
-
M2 assignment - use cases - UI components
-
next meetings - DB - frontend - milestone finish?
-
pre-commit now active
- you need to fix linting errors in files you change
- you need to manually remove husky hook
Progress Reports
Please push progress reports in items below:
- Paul: Finished TypeDoc/Storybook setup with newly released Storybook v7. Works way better than v6. I am confident for a PR now.
- Thorben: Worked out color themes for the frontend together with Samuel and applied them to the UI components.
- Gabriel: Status Code Bugfix, ORM decision (waiting for response), mdBook (WIP)
- Benjamin: Meeting on how to gather plant relationship data, Get pre-commit hooks merged
Questions
Please push questions in items below:
Thorben
- How do we want to persist the selectable elements of the different layers? One table per layer or one general table with differentiation through an element type property?
- Participation on other peoples use cases that are not merged: add comment on PR or directly push to it? Or open new PR based on the initial PR's branch?
Decisions
Please push Progress in decisions, or other important changes devs should know, in items below:
- commit hooks
- PostGIS full text search
- react query for new features
- Which ORM crate/setup do we want?
- How to store plant relationships?
Outlook
Vote for next focus group meetings until 4.4.2023: https://nextcloud.markus-raab.org/nextcloud/index.php/apps/polls/vote/12
To be done within next week KW14 (7.4.2023):
-
Update doc/authors.md to reflect what you already worked on
-
Add small picture of your head to Nextcloud (for landing page)
-
Test inserting seeds and report here
- Write decisions #2
- Read and update PermplanT's glossary
- Write Forschungstagebuch in submissions repo (longer progress report)
- Add at least one question and a very short progress report, relevant for others (e.g. common components, decisions, ...), in agenda (push to branch meeting_notes/11.04.2023)
- Update Project
- Nominate for “Best PermaplanT Companion”-Awards KW15
- Do at least 8 reviews of other PRs in this week (main repo and submissions)
- Speak to your Buddy about glossary, what is missing, what could be extended?
- Thesis: write Glossary&Goals (submission)
- (Optional) Add review/correction/proof-read metadata for every paragraph in thesis, see unterlagen/paragraph_metadata.md
- (Optional) Apply spelling.sed and checks to your thesis (see unterlagen)
Meeting 2023-04-07 DB
Protocolled by: Nursultan
Attendees
- Nursultan
- Moritz
- Benjamin
- Thorben
- Ramzan
- Paul
- Markus
- Luciano
- Yvonne
- (everyone on the mailing list is welcomed)
Preparations
- given all the use cases, how should the tables for a map look like?
- think about how we do the plants hierarchy (that plants from lower ranks inherit attributes from higher ranks, e.g. the specific Tomato https://www.reinsaat.at/shop/DE/tomaten_paradeiser/cocktailtomate/anabelle/ should contain all the data the general Tomato https://permapeople.org/plants/solanum-lycopersicum-tomato has, but without duplicating this data, see also https://github.com/ElektraInitiative/PermaplanT/blob/master/doc/decisions/database_structure.md for current status
Please make a sketch or similar of the tables.
Furthermore, following individual tasks as preparation:
- Moritz: focus on question 2. of above
- Nursultan: results of feasibility (which data of canvas needs to be stored in DB etc.)
- Benjamin: look at how we do the plants hierarchy (that plants from lower ranks inherit what higher ranks have)
- Ramzan: Which PostGIS datatypes will we use for 2D/3D points? Focus on question 1. of above
- Thorben: ER/SQL for users and maps
- Paul: how to sync map data for offline use
Previous Tasks
- Nursultan:
- DB Design
- feasibility study
- undo in DB
- canvas zoom
- what coordinates we have in the canvas? e.g. zoom-in
- differences between databases
- permapeople.org https://github.com/ElektraInitiative/PermaplanT/issues/102
- reinsaat.at https://github.com/ElektraInitiative/PermaplanT/issues/123
- Ramzan:
- guidelines
- singular vs. plural
- varchar vs. text
- layers/alternatives/time support in DB (together with Nursultan)
- continue researching/discovering PostGIS e.g. projection algorithms
- guidelines
- Moritz:
- connect plants with seeds (together with Paul)
- handover of scraper tasks
- Thorben:
- create ER/SQL for users and maps tables (coordinate with Samuel)
- Benjamin:
- continue investigation in polyculture task
New Tasks
- Yvonne: check if latin name is unique
- Benjamin: plant hierachy, relationship
- Moritz: latin_name rename
- Nursultan: plant DB names i.e. scrapers
- Paul:
- Ramzan: rest DB
- Thorben: rest DB
Agenda
- 14:00 start
- welcome ☺️
- goals:
- stable migrations
- maintenance
- performance
- DB Design
- scraper/new columns:
- permapeople.org https://github.com/ElektraInitiative/PermaplanT/issues/102
- reinsaat.at https://github.com/ElektraInitiative/PermaplanT/issues/123
- which important decisions do we need to make?
- plant relations: https://github.com/ElektraInitiative/PermaplanT/pull/89
- undo
- alternatives
- singular vs. plural
- ?
- who wants to work on which task?
Notes
- Thorben presented the map
- re-check the requirements
- coordinates in the database
- can use different coordinate systems. but costly
- kepler.gl can use lang/lat coordinate systems
- LeafletJS
- KonvaJS
- cartesian vs lang/lat coordinates
- balance between separate tables for each canvas object in the database vs. one table for the whole map as a stringified JSON
- PostGIS can store raster information in the database
- user can brush to draw raster areas
Meeting 2023-04-07 Frontend
Protocolled by: Paul
Attendees
- Giancarlo
- Paul
- Samuel
- Moritz
- Thorben
- (everyone on the mailing list is welcomed)
Previous Tasks
- Moritz: review
- Paul: translation
- Samuel: typewriter
- Thorben: colors
Agenda
- 09:00 Start
- SVG (Tomato)
- check: svg on Konva
- Tomato_vector_transparent_background.kra
- i18n (German/English) -> we use react i18next with static keys
- common components
- document in storybook
- https://tailblocks.cc/
- tailwind configuration
- mockup
- no description for layer buttons
- drag and drop for reordering the layers
- arrow for collapsing group
- add vertical dropdown for deleting
- landing page https://github.com/ElektraInitiative/PermaplanT/pull/226
- layers/sidebar prototype
- timeline mockups https://github.com/ElektraInitiative/PermaplanT/pull/238
- drawing layer https://github.com/ElektraInitiative/PermaplanT/pull/215
- seed entry current status https://github.com/ElektraInitiative/PermaplanT/issues/209
Meeting Notes
- translation
- it is hard to remember to keep the file structure in the language the same as the features:
- maybe colocate the json to the component -> hard to implement
- language switcher as a dropdown
- it is hard to remember to keep the file structure in the language the same as the features:
- landing page https://github.com/ElektraInitiative/PermaplanT/pull/226
- logo and slogan should use the same colors
- legal issue, should the map be loaded immediatly
- clicking on the radio button is hard -> click on the whole row to select
- the slogan grows to both the left and the right -> Make it left aligned with fixed width layers/sidebar prototype
- transparency slider is not html 5 but from scratch -> look into usability
- the seperator between the layers and groups/search should also be draggable/resizable
- tooltips for the eye symbol and enable checkbox instead of labels
- for alternatives, a caret to expand
- buttons on the top right would be too small for touchscreens
- four groups should be hidden if search is pressed
- timeline mockups https://github.com/ElektraInitiative/PermaplanT/pull/238
- should custom events be in the timeline as a separate view -> no, only addition and removal
- only visualize changes that actually happen on the map, addition/removal by the user
- is this too complex to implelement -> look for existing solutions
- simplifications we discussed
- do not show individual events (color or number should indicate the amount of change)
- only three steps of granularity, maybe even with a button group
- drawing layer https://github.com/ElektraInitiative/PermaplanT/pull/215
- how are we structuring the layer code -> each layer should live under a layers folder in map_planning
- shared features like plat_search should have their own feature folder
- seed entry current status https://github.com/ElektraInitiative/PermaplanT/issues/209
- edit and removal of seeds
Next step
- moritz: seed finished, check ready-made solutions for timeline? create timeline decision
- Giancarlo: seed overview (edit, delete, ...), code structure documentation
- Paul: seed fix, i18n
- Samuel: typewriter, toolbar improvements, pricing selection (add to email body)
- Thorben: leaf picture color, blue color consistency, imprint, pricing
Meeting 2023-04-11
Protocolled by: Nursultan
Attendees
- Moritz (Best PermaplanT Companion KW15)
- Samuel (Best PermaplanT Companion KW14)
- Benjamin (Best PermaplanT Companion KW13)
- Nursultan (Best PermaplanT Companion KW12)
- Giancarlo (Best PermaplanT Companion KW11)
- Paul
- Gabriel
- Lukas
- Ramzan
- Thorben
- Markus
- Yvonne
Buddies
- Giancarlo & Moritz
- Lukas & Gabriel
- Samuel & Nursultan
- Ramzan & Thorben
- Benjamin & Paul
Tasks for Everyone
To be done within next week KW14 (7.4.2023):
- Update doc/authors.md to reflect what you already worked on
- Add small picture of your head to Nextcloud in
Public/Avatars(80x80 for landing page) - Test inserting seeds and report here
- Write decisions #2
- Read and update PermplanT's glossary
- Write Forschungstagebuch in submissions repo (longer progress report)
- Add at least one question and a very short progress report, relevant for others, in agenda
- Update Project
- Nominate for “Best PermaplanT Companion”-Awards KW15
- Do at least 8 reviews of other PRs in this week (main repo and submissions)
- Speak to your Buddy about glossary, what is missing, what could be extended?
- Thesis: write Glossary&Goals (submission)
- (Optional) Add review/correction/proof-read metadata for every paragraph in thesis, see unterlagen/paragraph_metadata.md
- (Optional) Apply spelling.sed and checks to your thesis (see unterlagen)
Individual Tasks
To be done within next week KW14 (7.4.2023):
- Yvonne: Logo, Drawings, Testing Seed entries, "Additional Name", Documentation of structs
- Markus: Texts for landing page
- Benjamin: plant search, creating a new layer, full text search
- Gabriel: mdBook, testing strategy
- Giancarlo: seed overview (edit, delete, ...)
- Lukas: Frontend, Release Deployment, Import Seeds
- Moritz: Finish Seed use case, create new layer, frontend tests
- Nursultan: scraping, plant DB finalize, architecture, thesis correction
- Paul: translation for frontend, Documentation Frontend, Seed fix
- Ramzan: use cases, Database Guidelines, DB/ER Diagram, SQL code examples feasability, 1. QGis, 2. Projizieren, 3. Rastering
- Samuel: landing page fixes, UI for plant use case (right toolbar), use cases
- Thorben: use cases, DB/ER Diagram, Mockups, privacy, imprint, pricing, map
Agenda
- 09:00 welcome
- Best PermaplanT Companion KW15: Moritz
- Stimmungsbarometer
- Questions:
- buddy talk: glossary
- Project: Planning for next iteration.
- please move tasks back if (significant) changes were requested
- please only keep "In Progress" if you really work on it that day
- please first request reviews from others before you request from me
- target audience
- thesis: programmers
- PermaplanT: FLOSS contributors (could be biologists)
- Frontend Meeting
- Implementation of Layers can be started!
- Landing page
- Layers/sidebar prototype
- Timeline
- DB meeting
- Luciano helps with GIS
- coordinates
- Plant DB gets squashed to one migration
- Preparation for In-Person Meeting
- finish M1 this week
- implement M2 this week
Meeting notes:
- Glossary not complete, still some work to do
- authentication setup tested with next cloud
- openId connect plugin of Nextcloud did not work as expected and the limitations will stay
- will host external identity provider
- CORS: wasn't the problem -> actual routing problem fixed
- decided to switch to async diesel in backend on all layers, no uses of web::block anymore
- dark mode default, setting stored in local storage
- FrontEnd docs, typedoc forked -> creating repo
- db schema of hierarchies is not stable
- invite at least one reviewer before markus takes a look (in case it is not urgent)
- talk with Markus when adding synonyms in glossary
- frontend meeting summary:
- changes in landing page
- decision of paul for localization
- current state of the toolbar
- went over moritz' mockup for timeline
- giancarlo finished the design for first layer
- database meeting:
- Luciano - PostGIS expert
- squash all the migrations
- translation in common instead of i18n
- architecture decisions
- lazyloading of the map
- optimizations:
- how and when does react rerender the components -> implement good data structure
- how to represent 10 000 elements?
- offloading of the frontend state
- undo and redo
- pull requests should not live longer than 2 weeks
- 1 scientifc name + 1 additional name (because there are plants with no scientific names yet)
- live meeting in burgendland
- Unterfrauenhaid
- Feldgasse 19
- PLZ: 7321
- Train: Deutschkreutz
- Bus: Weppersdorf
Progress Reports
Please push progress reports in items below:
- Benjamin: squash migrations, database schema
- Nursultan:
- Scraping Permapeople #102. Should add enums, otherwise done.
- Scraping Reinsaat #123. There is an inconsistencies in the binomial names, currently pending. discussing with Yvonne. Otherwise done.
- Merging plant DB and Scrapers #217. Two tasks mentioned above should be separated from merging to avoid duplication of work. In progress.
- Architecture decisions #102. Small changes are still needed. In progress.
- Thesis. Done and waiting for feedback
- Paul: added translation for seeds
- Markus:
- Scientific name
- Datenschutz (privacy) page
- Cookie only after login
- use static map by default
Questions
Please push questions in items below:
Decisions
Please push Progress in decisions, or other important changes devs should know, in items below:
- commit hooks
- PostGIS full text search
- react query for new features
- Which ORM crate/setup do we want?
- How to store plant relationships?
Outlook
To be done within next week KW15 (14.4.2023):
- Test inserting seeds and report here
- Finalize decisions #2
- Write Forschungstagebuch in submissions repo (longer progress report)
- Add at least one question and a very short progress report, relevant for others
- Update Project
- Nominate for “Best PermaplanT Companion”-Awards KW16
- Do at least 8 reviews of other PRs in this week (main repo and submissions)
- Thesis: write hypothesis, improve Glossary&Goals (submission)
- Look at ways how to improve documentation (storybook or mdBook)
- Speak to your Buddy: In-Person Meeting
Meeting 2023-04-18
Unfortunately no protocol was written
Attendees
- Gabriel (Best PermaplanT Companion KW16)
- Moritz (Best PermaplanT Companion KW15)
- Samuel (Best PermaplanT Companion KW14)
- Benjamin (Best PermaplanT Companion KW13)
- Nursultan (Best PermaplanT Companion KW12)
- Giancarlo (Best PermaplanT Companion KW11)
- Paul
- Ramzan
- Markus
- Yvonne
Unfortunately could not attend:
- Thorben
- Lukas
Buddies
- Giancarlo & Moritz
- Lukas & Gabriel
- Samuel & Nursultan
- Ramzan & Thorben
- Benjamin & Paul
Tasks for Everyone
To be done before the meeting:
- read the agenda, ask questions if anything is unclear
To be done within next week KW15 (14.4.2023):
- Test inserting seeds locally (manual import from scraper still needed) and report here
- Finalize decisions #2
- Write Forschungstagebuch in submissions repo (longer progress report)
- Push at least a very short progress report to the branch meeting_notes/18.04.2023
- Update sprint plan
- Nominate for “Best PermaplanT Companion”-Awards KW16
- Do at least 8 reviews of other PRs in this week (main repo and submissions)
- Thesis: write hypothesis, improve Glossary&Goals (submission)
- Look at ways how to improve documentation (storybook or mdBook)
- Speak to your Buddy: In-Person Meeting
Individual Tasks
To be done within next week KW15 (14.4.2023):
- Moritz: create base layer, backend integration, finish frontend tests, timeline
- Benjamin: creating a new layer, API description
- Samuel: landing page finalize, UI for plant use case (right toolbar)
- Gabriel: testing strategy, backend architecture,
- Ramzan: endpoints map creation/deletion, DB/ER Diagram, SQL code examples feasability,
- Paul: undo/redo, frontend testing
- Giancarlo: drawing layer, seed overview (edit, delete, ...)
- Lukas: frontend CI
- Nursultan: scraping, plant DB finalize, architecture, thesis correction
- Yvonne: Drawings, Documentation of structs
- Markus: Texts for landing page
- Thorben: TBD
Agenda
- 09:00 welcome
- Gabriel (Best PermaplanT Companion KW16)
- buddy talk: in-person meeting
- sprint plan: Planning for next iteration.
- PRs/Issues relevant for you:
- finalize plant hierarchy
- added rank cultivar
- define unique name
- external_url, external_id
- reviews:
- review fast, review others when reviewing buddy reviews
- use check list
- new item: check if i18n is done completely
- please say in the PR when you think work is blocked
- added
please mergelabel
- related work:
- should compare to your "approach"
- scientific, peer-reviewed citations
- balance: properly test, document your work, no rush
- Documentation&Tests
- Categories: mdBook, Storybook, rust code or API
- Put more links (within same category)
- in which category to put which documentation
- Frontend/Backend testing
- M1 complete today ("Landing Page")
- implement M2 this week
Progress Reports
Please push progress reports in items below:
- Samuel:
- landing page: favicon, logo fix
- fixed existing linting errors
- auth decision
- todo & circle use cases
- Benjamin:
- pagination: waiting for approvals
- map layers: reviewed PR from Giancarlo, seems easy to use
- plant search: did some investigation, implementation is blocked by pagination PR
- Thorben:
- added more table descriptions to database schemata.
- map on landing page only load on manual click.
- added pricing and imprint page.
- Lukas:
- Release Pipeline (#236) done
- Frontend Checks (#197) done
Questions
Please push questions in items below:
- Samuel:
- Can we clean up PRs?
- Benjamin:
- Can I clean up the backend structure? Some things seem messy.
- Both
entityanddtoexists as file and directory in themodelpackage. Shouldn't they both be a regular package of their own? - Both
entityanddtosplit each struct and it's function implementations across two files. Wouldn't it make more sense to put struct and functions together into one file for each? - Why is
dtopart of the service layer? As this is the way we represent data in the api it fits better as subpackage ofcontroller. - Intersection of layers. The service layer should be the one acting between controllers and database. Why do controllers get the database connection pool as argument when this would better fit the service layer? Why does the database layer handle mapping from entity to dto when this should belong in the service layer?
- Both
- Can I clean up the backend structure? Some things seem messy.
Decisions
Please push progress in decisions, or other important changes devs should know, in items below:
- add here
Outlook
create issues
To be done within next week 21.4.2023 (KW16):
- Speak to your buddy
- Create issue(s) and implement your use case(s) as assigned
- Write Forschungstagebuch
- Push at least a very short progress report to the branch meeting_notes/25.04.2023
- Update sprint plan (see queries above)
- Nominate for “Best PermaplanT Companion”-Awards KW17
- Do at least 8 reviews of other PRs in this week in main repo and submissions (see about reviews above)
- Thesis: add related work (5 citations)
- Create a PR to improve documentation: API, storybook or mdBook
Meeting 2023-04-25
Protocolled by: Thorben
Attendees
- Gabriel (Best PermaplanT Companion KW16)
- Moritz (Best PermaplanT Companion KW15)
- Samuel (Best PermaplanT Companion KW14)
- Giancarlo (Best PermaplanT Companion KW11)
- Paul
- Thorben
- Markus
- Yvonne (Birthday)
Cannot come:
- Lukas
- Ramzan (Best PermaplanT Companion KW17)
Farewell:
- Nursultan (Finished, Best PermaplanT Companion KW12)
- Benjamin (Aborted, Best PermaplanT Companion KW13)
Buddies
- Giancarlo & Moritz
- Lukas & Gabriel
- Ramzan & Thorben
- Samuel & Paul
Tasks for Everyone
To be done until 21.4.2023 (KW16):
- Cleanup your old issues you can find with the links provided last time:
- Create issues as needed for the current sprint, in particular for your assigned use case and individual tasks
- Speak to your buddy about related work
- Implement your use case(s) as assigned in /doc/usecases.
- Write Forschungstagebuch
- Push at least a very short progress report to the branch meeting_notes/25.04.2023
- Update sprint plan (see queries above)
- Nominate for “Best PermaplanT Companion”-Awards KW17
- Do at least 8 reviews of other PRs in this week in main repo and submissions (see about reviews above)
- Thesis: add related work (5 citations)
- Thesis: check citations of others (if you find better/more recent/peer-reviewed citations)
- Create at least one PR to improve documentation: API, storybook or mdBook
Individual Tasks
To be done until 21.4.2023 (KW16):
- Gabriel: auth, testing strategy, backend architecture,
- Thorben: map creation/deletion full stack (UI, end point, database)
- Benjamin: polyculture -> Moritz/Paul; search -> Gabriel
- Moritz: create base layer
- Samuel: UI for plant use case (left toolbar), Lib suchen, frontend auth
- Paul: undo/redo, timeline
- Ramzan: Map Versioning (SQL+end points for loading/saving versions of maps), DB/ER Diagram, SQL code examples feasability
- Giancarlo: copy&paste, drawing layer, seed overview (edit, delete, ...)
- Yvonne: Drawings, Documentation of structs
- Markus: Dokumentation
Agenda
- 09:00 welcome
- protocol
- special honors and celebrations:
- Ramzan (Best PermaplanT Companion KW17)
- Yvonne (Birthday)
- new buddies: Samuel & Paul
- individual tasks (which of are you proud of)
- sprint plan: Planning for next iteration.
- show nursultan's thesis, 70/20/10
- contributions of your work:
- what you implemented/reviewed/...
- new scientific results
- new methodology
- reproduction
- procrastination
- cannot directly switching off thoughts, instead movement, nature, meditation
- buddies etc. (healthy social system)
- "wöchentliche schaffbare Happen"
- backlog:
- importance of progress reports/questions/decisions
- documentation for yourself
- M1 celebration "landing page"
- media coverage: https://linuxnews.de/interview-markus-raab-von-elektra/
- finish M2
- time to say goodbye:
- Nursultan (Finished, Best PermaplanT Companion KW12)
- Benjamin (Aborted, Best PermaplanT Companion KW13)
Meeting Notes
- Icebreaker Game
- What progress are we proud of this week?
- Testing strategy for backend finished
- Seed edit & delete complete
- Base layer editor made good progress
- DB scraper finished and works
- Map undo/redo nearly finished
- Improvements on the website
- Sprint Progress
- Done:
- Published first release
- Frontend bugfixes
- Third scraper finished
- In Progress:
- map creation/deletion
- authentication
- editor toolbar
- To be done:
- Full-text search
- Done:
- A look at Nursultans Thesis (good job! 👍)
- Alternatives to procrastination:
- Meditation
- Taking a walk in nature
- Talk to Markus/your Buddy
- Reduce polyculture tasks to data import due to Benjamin having to leave the team
Progress Reports
- Moritz
- Submitted PR for frontend testing setup.
- Started work on base layer.
- Submitted related work / citations for thesis.
- Paul
- Implemented most of undo-redo use case.
- Samuel
- Integrated right toolbar for map editor
- landing page improvements for release (texts, pictures)
- Lukas
- Release Pipeline
- Infrastructure
- Gabriel
- Testing Strategy: Decision
- Testing Strategy: Test cleanup (Reviewing)
- Backend architecture (WIP)
Questions
Please push questions in items below:
- open issues/problems
- Gabriel: weekend work
- Giancarlo: copy&paste
- Moritz: find time
- Nursultan: scraper double insert
- Paul: undo/redo
- Samuel: new task
- Thorben: backend
Changelog
Please push progress important changes devs should know, e.g. decisions, in items below:
- Plant Search Decision: https://github.com/ElektraInitiative/PermaplanT/pull/309
Outlook
To be done until 28.4.2023 (KW16):
- Speak to your buddy about contributions
- Finish/integrate your implementation of use case(s) as assigned in /doc/usecases.
- Write Forschungstagebuch
- Push at least a very short changelog to the branch meeting_notes/25.04.2023
- Update sprint plan (see queries above)
- Nominate for “Best PermaplanT Companion”-Awards KW18 (without Nursultan and Benjamin)
- Do at least 8 reviews of other PRs in this week in main repo and submissions (see about reviews above)
- Thesis: add contributions
- Create issues of favorite things you would like to do
- Create at least one PR to improve documentation: API, storybook or mdBook
Individual Tasks
To be done until 28.4.2023 (KW16):
- Gabriel: auth, testing strategy, backend architecture,
- Thorben: map creation/deletion full stack (UI, end point, database)
- Benjamin: polyculture -> Moritz/Paul; search -> Gabriel
- Moritz: create base layer
- Samuel: UI for plant use case (left toolbar), Lib suchen, frontend auth
- Paul: undo/redo, timeline
- Ramzan: Map Versioning (SQL+end points for loading/saving versions of maps), DB/ER Diagram, SQL code examples feasability
- Giancarlo: copy&paste, drawing layer, seed overview (edit, delete, ...)
- Yvonne: Drawings, Documentation of structs
- Markus: Documentation
Meeting 2023-04-27 DB
Protocolled by: Gabriel
Attendees
- Luciano
- Markus
- Yvonne
- (everyone on the mailing list is welcomed)
Could not come on short notice:
- Moritz
- Thorben
- Ramzan
Preparations
- add yourself in https://nextcloud.markus-raab.org/nextcloud/index.php/apps/polls/vote/16
- add previous outcomes
- add questions for Luciano
Previous outcomes
- We use KonvaJS as Canvas
- Alterantives would be:
- kepler.gl can use lang/lat coordinate systems
- LeafletJS
- Canvas has cartesian coordinate system
- We use 3D geometry, z-value is 0 if no height given
- The user draws a polygon to define the size of the map
- coordinates in the database
- can use different coordinate systems. but costly
- PostGIS can store raster information in the database
- user can brush to draw raster areas
Please add relevant outcomes (what we already know)
Questions
-
Which coordinate system do we use?
- real-world longitude and latitude?
- what if user does not want to give longitude and latitude?
- how to performantly transform to cartesian coordinate system?
-
How to store coordinates in the database?
- allow different coordinate systems? -> no, we use WGS84
- migration of data, trivial with (startpoint, endpoint)
- store both real-world and cartesian for performance? -> no, it is efficient enough
- 5D mapping? How to efficiently select for time+alternatives?
- geo referencing with ST_SetGeoReference? -> polygon for rastering maybe, it is only for rastering inside the database
- Rastering for rain, sun, etc? -> we won't do, use polygons instead
- Does the size of the map need to be static? -> expanding should be okay, warning for plants that are outside
Please add further questions to Luciano
Example query:
CREATE TABLE geometries (name varchar, geom geometry);
INSERT INTO geometries VALUES ('Point', 'POINT(0 0)'),
('Linestring', 'LINESTRING(0 0, 1 1, 2 1, 2 2)'),
('Polygon', 'POLYGON((0 0, 1 0, 1 1, 0 1, 0 0))'),
('PolygonWithHole', 'POLYGON((0 0, 10 0, 10 10, 0 10, 0 0),(1 1, 1 2, 2 2, 2 1, 1 1))'),
('Collection', 'GEOMETRYCOLLECTION(POINT(2 0),POLYGON((0 0, 1 0, 1 1, 0 1, 0 0)))');
SELECT name, ST_AsText(geom) FROM geometries;
Agenda
- 13:00 start
- protocol
- welcome ☺️
- maybe Moritz shows current status?
- DB Design
- answer/discuss questions
- who wants to work on which task?
Tasks
- Luciano: real-world example for (inserting) DB (for people that don't have/want to use real location), including transformation to cartesian coordinate system, boundary polygon (ST_SetGeoReference?), relationship of elements to boundary, PostGIS computation/algorithms for the use cases, smoothing of polygons
Notes
Currently we use cartesian coordinates with pixels representing x,y coordinates. Switch? Use lat,long. If users have privacy concerns (don't want to give their coords use 0,0 for lower left).
Coord Sys: WGS84 code: EPSG 4326
How to store coords in database? store real coords in database translate to the ones used by the frontend when querying? see tasks
Asking users for coords: Allow for inprecise input? How to change coords
Don't allow different coordinate systems
5D mapping: Luciano looks into it, prob just timestamp
Rastering requires some thinking
Meeting 2023-05-02
Protocolled by: Samuel
Attendees
- Ramzan (Best PermaplanT Companion KW17)
- Gabriel (Best PermaplanT Companion KW16)
- Moritz (Best PermaplanT Companion KW15)
- Samuel (Best PermaplanT Companion KW14)
- Thorben
- Lukas
- Markus
- Yvonne
Unfortunately cannot attend:
- Paul
- Giancarlo (Best PermaplanT Companion KW11)
Buddies
- Giancarlo & Moritz
- Lukas & Gabriel
- Ramzan & Thorben
- Samuel & Paul
Tasks for Everyone
To be done until 28.4.2023 (KW17):
- Speak to your buddy about contributions
- Finish/integrate your implementation of use case(s) as assigned in /doc/usecases.
- Write Forschungstagebuch
- Push at least a very short Changelog and Progress Report to the branch meeting_notes/02.05.2023
- Update sprint plan
- Do at least 8 reviews of other PRs in this week in main repo and submissions
- Thesis: add (potential) contributions
- Create issues of favorite things you would like to do
Individual Tasks
To be done until 28.4.2023 (KW17):
- Paul: frontend architecture, timeline
- Giancarlo: copy&paste, plants layer drag&drop
- Ramzan: Post GIS
- Samuel: UI for plant use case (toolbar), frontend auth, layer enable
- Gabriel: auth, testing strategy, new unit tests
- Thorben: map creation with versions full stack (UI, end point, database)
- Moritz: base layer, DB review
- Yvonne: Drawings, https://tablericons.com
- Markus: PRs mergen
Agenda
-
09:00 welcome
-
protocol: Samuel
-
switch to German spoken
-
game: true/false question
-
which task do you postpone most?
- cron deletion
- writing on the thesis
- search feature
-
- fixed coordinate system: WGS84
- we are expecting postGIS examples (usecases implemented in SQL)
-
Review Process
- create issues shortly explaining what you want to do (before Friday!)
- create PR, assign two persons for review
- incorporate feedback and assign @markus2330 for review (before Friday!)
- if there are at least two "approved" and no "requested changes", everyone except the PR author can merge
- in case of doubt, let @markus2330 merge
-
server:
- local checkout of Nextcloud
- keycloak shared or for testing? -> mutliple realms managed, in .env URL+realm
-
fixed hours of work
-
brainstorming about end-user documentation (https://github.com/ElektraInitiative/PermaplanT/issues/328)
-
gamification
-
hover tooltip/title (makes most sense)
-
chatGPT/GPT4 in combination with a vector DB -> generate answers for questions
-
tourguide/tutorial
-
faq/handbook (probably a lot of effort)
-
notes/hints during loading times
-
videos
-
-
sprint plan: Planning for next iteration. done: - unit tests (backend and frontend) - entity documentation
-
backlog:
- importance of progress reports/questions/decisions
- documentation for yourself
-
finish second milestone: 5.5.2023
Changelogs
Please push progress important changes devs should know, e.g. decisions, in items below:
Questions
Please push questions in items below:
Progress Reports
Please push a short progress report in items below:
- Samuel: improved toolbar (left bar, introduced dependency react-draggable, placeholder content for left bar, pass content as props), research on oidc client lib
- Gabriel: backend architecture documentation (Review), graceful shutdown (Review), OAuth2 backend (WIP)
- Lukas: Scraper Data in CI
- Thorben: Map overview page and map creation prototype
Outlook
To be done until 5.5.2023 (KW18):
- Merge all PRs for plants use case: integrated UI
- Speak to your buddy about fixed hours
- update your README in submissions: fixed hours, contact data etc.
- Write Forschungstagebuch
- Push at least a very short Changelog and Progress Report to the branch meeting_notes/9.5.2023
- Update sprint plan
- Do at least 8 reviews of other PRs in this week in main repo and submissions
- Thesis: write any page you feel like, Free Writing
- Nominate for “Best PermaplanT Companion”-Awards KW19 (now without Nursultan and Benjamin, we will miss them!)
Meeting 2023-05-09
Protocolled by: Moritz
Attendees
- Gabriel
- Moritz
- Samuel
- Giancarlo
- Thorben
- Lukas
- Paul
- Markus
- Yvonne
Fehlt:
- Ramzan
Buddies
- Giancarlo & Moritz
- Lukas & Gabriel
- Ramzan & Thorben
- Samuel & Paul
Tasks for Everyone
To be done until 5.5.2023 (KW18):
- Get all PRs for plants use case merged, so that we have a integrated UI with all parts
- Speak to your buddy about fixed hours
- update your README in submissions: fixed hours, contact data etc.
- Write Forschungstagebuch
- Push at least a very short Changelog and Progress Report to the branch meeting_notes/9.5.2023
- Update sprint plan
- Do at least 8 reviews of other PRs in this week in main repo and submissions
- Thesis: write any page you feel like, Free Writing
- Nominate for “Best PermaplanT Companion”-Awards KW19 (now without Nursultan and Benjamin, we will miss them!)
Individual Tasks
To be done until 5.5.2023 (KW18):
- Ramzan: Post GIS
- Paul: frontend architecture, timeline
- Giancarlo: copy&paste (nach redo), plants layer drag&drop (offen), seeds edit&delete (nur CI fixen)
- Samuel: state refactoring, frontend auth
- Gabriel: auth, testing strategy, new unit tests
- Thorben: map creation with versions full stack (UI, end point, database)
- Moritz: base layer (SimpleForm offen), DB review
- Lukas: keycloak
- Yvonne: Drawings, https://tablericons.com
- Markus: PRs mergen
Individual Tasks
To be done until 12.5.2023 (KW19):
- Paul: frontend architecture, timeline
- Giancarlo: copy&paste (nach redo), seeds edit&delete (nur CI fixen), plants layer drag&drop (offen)
- Samuel: state refactoring, frontend auth, components documentation
- Gabriel: auth, testing strategy, new integration tests, plant search
- Moritz: base layer (SimpleForm offen), DB review, base layer specific for maps+polygons, integration for plants layer
- Thorben: map creation+alte PRs me, DB, Versioning, save&load, map properties
- Lukas: keycloak, left-over issues
- Yvonne: Pavlo, https://tablericons.com
- Markus: PRs mergen
Agenda
- 09:00 welcome
- protocol
- game: true/false question
- team, team, team
- for benchmarks?
- for user study? (Thorben/Giancarlo)
- https://chrome.google.com/webstore/detail/lighthouse/blipmdconlkpinefehnmjammfjpmpbjk?hl=en
- English&Thesis
- mood changer
- line breaks in text
- avoid modal verbs
- methods: only what is actually used
- large scale programming
- write more assertions
- end-to-end tests summary
- sprint plan
- milestone M2 finished
Changelogs
Please push progress important changes devs should know, e.g. decisions, in items below:
- OAuth2
- decision: 5 sec timeout
- decision: keybindings in JSON files
- companions table
Questions
Please push questions in items below:
Progress Reports
Please push a short progress report in items below:
- Gabriel: documentation of backend architecture (merged), OAuth2 in backend (review)
- Samuel: finished toolbar (#315, #189), toolbar integration ready for review after #244 and #306 are merged, WIP: frontend auth
- Moritz: finish base layer PR (update from review needed)
Outlook
- finish M2: plant UI, auth, maps DB, user-specific seeds
- talk to (non-)buddies: collaboration for benchmark/user study
- Push at least a very short Changelog and Progress Report to the branch meeting_notes/16.5.2023
- Update sprint plan
- Do at least 8 reviews of other PRs in this week in main repo and submissions
- Thesis: Write Refinement of Methods (Reviews Next week)
- Update doc/authors.md (May)
- Create PR improving design by contract/assertions
Meeting Notes
- Small warm up game.
- Teams for evaluation
- BSc. students performing a user study or a benchmark should get toghether and unify their processes.
- This might reduce the time to perform benchmarks for multiple componenets.
- Gabriel: consider using Lighthouse for frontend evaluation
- English in context of BSc. thesis. and reviews.
- mood changers (but, however, ...):
- Can be left out entirely and replaced by paragraphs
- However is a bit complicated to use. E.g. don't use at the end of a sentence.
- Phrases should not be changed.
- Line break after each sentence
- Modal verbs (can, might, may, ...). Should be used to communicate probailities in technical contexts. Its best to avoid them throughout the thesis.
- Methodology section
- Should only contain methodologies that are actually used.
- Progress reports
- Communicate changes of scope early (e.g. something can not be done within a week).
- More feedback (especially until friday).
- Be open about mistakes.
- Put weekly changes into progress report so that other team members get an overview of what changed.
- Pablo sent a comprehensive companion list
- Update/Cleanup of issue board
- We need to make sure that debugging does not become to cumbersome.
- Design by contract should be used internally to avoid mistakes.
- Should be enforced using assertions.
- How and where this will be used still needs to be figured out.
Meeting 2023-05-16
Protocolled by: Felix
Attendees
- Gabriel (Protocol)
- Moritz (Protocol)
- Lukas (Protocol)
- Samuel (Protocol)
- Paul (Protocol)
- Felix
- Markus
- Yvonne
Cannot attend:
- Thorben (Protocol)
- Giancarlo
- Ramzan
Buddies
- Giancarlo & Moritz
- Lukas & Gabriel & Felix
- Ramzan & Thorben
- Samuel & Paul
Tasks for Everyone
To be done until 12.5.2023 (KW19):
- https://nextcloud.markus-raab.org/nextcloud/index.php/apps/polls/vote/17
- talk to (non-)buddies: collaboration for benchmark/user study
- Push at least a very short Changelog and Progress Report to the branch meeting_notes/16.5.2023
- Update sprint plan
- Do at least 8 reviews of other PRs in this week in main repo and submissions
- Thesis: Write Refinement of Methods (Reviews Next week)
- Update doc/authors.md (May)
- Create PR improving design by contract/assertions
- finish or report all tasks related to M2: plant UI, auth, maps DB, user-specific seeds
Individual Tasks
To be done until 12.5.2023 (KW19):
- Paul: UC timeline
- Gabriel: UC plant search, (log)
- Samuel: frontend auth, state refactoring, (components documentation), UC auth
- Moritz: base layer UC with fixed scale, DB review, (postgis?)
- Giancarlo: copy&paste (nach redo), drawing layer integrate, seeds edit&delete (nur CI fixen), plants layer drag&drop (offen)
- Thorben: map creation+alte PRs me, DB, Versioning, save&load, map properties
- Ramzan: PostGIS
- Lukas: PR permaplant, auth docu, (cargo)
- Felix: pre-commit, (priority, emails)
- Yvonne: Pavlo, https://tablericons.com
- Markus: use cases restructure
Agenda
- 09:00 welcome
- protocol
- Welcome Felix (help with CI)
- Introduction game
- progress: - strict deadline for small tasks (e.g. voting) - best-effort for larger tasks (e.g. implementing features): immediate states before review is possible etc. ok
- Definition of Done (of a use case) - documentation: clear for others how changes/extensions should be done - integration tests: demonstrate what works - issues closed: moved to Done in https://github.com/orgs/ElektraInitiative/projects/4/views/1 - mark as "Done" in use case + changed if necessary - write Changelog for meeting
- sprint plan
- Retrospective first Half
- progress M2: - layers/base_layer.md - polygon of border - layers/plants_layer.md - plant plants
- Tools - https://unlighthouse.dev/ - https://github.com/flamegraph-rs/flamegraph - valgrind
- conclusion: faults of the month
Changelogs
Please push progress important changes devs should know, e.g. decisions, in items below:
- auth
- frontend integration
- architecture: https://github.com/ElektraInitiative/PermaplanT/pull/352
Progress Reports
Please push a short progress report in items below:
- Giancarlo
- Adding plant from toolbar
- And Copy & Paste of shapes
Outlook
To be done until 19.5.2023:
- talk to (non-)buddies: tooling for benchmarks etc.
- Push at least a very short Changelog to the branch meeting_notes/23.5.2023
- Update sprint plan
- Do at least 8 reviews of other PRs in this week in main repo and submissions
- Thesis: create PR with one two sentences till tomorrow, review
Meeting Notes
Allgemein
- Deadlines bis Freitag (kleine Tasks)
- Dokumentation/Reviews wichtig
- Test
- Issues schließen
- usecases auch updaten
- Changelog nicht unbedingt, sondern in Meeting-Notes
Sprint
- nc integration noch offen (Lukas)
- frontend arch. Issue kleine Problem (Paul)
- Base Layer (unused import) (Moritz)
- frontend arch. alle anschauen
- Dokumentation hinzufügen (Samuel)
- Merge bald wie möglich
- PostGIS-Diesel-PlugIn problem; manuell lösbar (Moritz)
Meeting 2023-05-23
Protocolled by: Moritz
Attendees
- Moritz (Protokoll)
- Gabriel
- Samuel
- Paul
- Lukas
- Felix
- Thorben
- Markus
- Yvonne
Nicht da:
- Giancarlo
- Ramzan
Buddies
- Giancarlo & Moritz
- Lukas & Felix
- Gabriel & Thorben
- Samuel & Paul
Tasks for Everyone
To be done until 26.5.2023 (except of text):
- Talk to buddies: tooling for benchmarks etc.
- Push at least a very short Changelog to the branch meeting_notes/23.05.2023
- Update sprint plan
- Do at least 8 reviews of other PRs in this week in main repo and submissions
- create PR in submissions with one two sentences of any text until 17.05.2023
- review 2 other thesis by writing at least following 3 points:
- shortly say what you think that the author wanted to say
- which sentence was the most difficult one to read
- which are the (main) terms and are they used consistently
Individual Tasks
To be done until 26.5.2023:
- Paul: UC timeline
- Gabriel: UC plant search, (log)
- Samuel: UC auth, frontend auth, state refactoring, (components documentation)
- Moritz: UC base layer with fixed scale, DB review, (postgis?)
- Giancarlo: UC plants, copy&paste (nach redo), drawing layer integrate, seeds edit&delete (nur CI fixen), plants layer drag&drop (offen)
- Thorben: UC map creation, map properties
- Ramzan: PostGIS
- Lukas: PR permaplant, auth docu, (cargo)
- Felix: pre-commit, (priority, emails)
- Yvonne: Pavlo, https://tablericons.com
- Markus: use cases restructure
UC refers to a use case should be ddone within this sprint.
Agenda
- 09:00 welcome
- permaculture principles
- protocol: Moritz
- buddy talk: toolings
- Changelogs
- sprint plan
- reporting CI issues:
- retrigger, see doc/ci.md
- create issue with error message
- on urgent cases contact Lukas or Felix
- last decisions https://github.com/ElektraInitiative/PermaplanT/issues/2
- improve use cases https://github.com/ElektraInitiative/PermaplanT/pull/366
- immediately fix CI problems/reviews in your PRs (as you want fast CI times/reviews)
- how to review
Changelogs
Please push progress important changes devs should know, e.g. decisions, in items below:
- Markus:
- improve use cases: https://github.com/ElektraInitiative/PermaplanT/pull/366
- Paul:
- architecture: https://github.com/ElektraInitiative/PermaplanT/pull/352
- Gabriel:
- backend auth: https://github.com/ElektraInitiative/PermaplanT/pull/330 (merged into frontend auth, see Samuel's comment below)
- plants full-text search: https://github.com/ElektraInitiative/PermaplanT/pull/367
- more integration tests: https://github.com/ElektraInitiative/PermaplanT/pull/354
- Samuel:
- frontend auth: https://github.com/ElektraInitiative/PermaplanT/pull/351
- axios configuration wrapper in 'frontend/src/axios'
import and call createAPI() for requests to the backend and createNextcloudAPI() for requests to Nextcloud
example:
import { createAPI } from "@/config/axios"; const http = createAPI(); try { await http.post<SeedDto>("/api/seeds", seed); } catch (error) { throw error as Error; }
- axios configuration wrapper in 'frontend/src/axios'
import and call createAPI() for requests to the backend and createNextcloudAPI() for requests to Nextcloud
example:
- frontend auth: https://github.com/ElektraInitiative/PermaplanT/pull/351
- Moritz:
- base layer:
- Implement feedback on base layer PR
- Get PostGIS to work (somewhat)
- Discuss goals for this feature
Outlook
-
Talk to buddies: tooling for benchmarks etc.
-
Push at least a very short Changelog to the branch meeting_notes/30.05.2023
-
Update sprint plan
-
Do at least 8 reviews of other PRs in this week in main repo and submissions
-
create PR in submissions with one two sentences of any text until 17.05.2023
-
review 2 other thesis by writing at least following 3 points:
- shortly say what you think that the author wanted to say
- which sentence was the most difficult one to read
- which are the (main) terms and are they used consistently
Outlook Tasks
-
Moritz: UC base layer with fixed scale, DB review https://github.com/ElektraInitiative/PermaplanT/pull/287, (postgis?)
-
Paul: UC timeline, offline
-
Gabriel: UC plant search, decision, (log)
-
Samuel: UC auth, frontend auth, state refactoring, (components documentation)
-
Thorben: UC map creation, map properties, membership application
-
Giancarlo: UC plants, copy&paste (nach redo), drawing layer integrate, seeds edit&delete (nur CI fixen), plants layer drag&drop (offen)
-
Ramzan: PostGIS
-
Lukas: auth ansible, (cargo)
-
Felix: pre-commit, priority, (emails)
-
Yvonne: Plant Relations
-
Markus: use cases mergen, nextcloud migration
UC refers to a use case should be done within this sprint.
Meeting Notes
- Warmup Game: Permaculture principles
- Buddies
- Some restructuring
- Ramzan is no longer part of PermaplanT
- Gabriel and Thorben are in a group
- Lukas and Felix are in a group
- Tooling:
- Paul and Samuel:
- React Dev Tools and Chromium Lighthouse seem to be handy for evaluating frontend performance
- Change log:
- Should also contain changes that are not reflected in GitHub PRs (e.g. changes to Dockerfiles)
- Toolbar integration:
- There are two slots per component in BaseStage where configurations can be added.
- In the left toolbar: just hook into the button events
- Details will be added Samuel
- Error messages:
- Make it hard to do things wrong and if thats not possible provide descriptive error messages
- Progress reports:
- Client Authentication: If the backend is not reachable, the website should still function.
- Base Layer: goes back to in Progress to integrate with new layers toolbars
- DB Schema: more reviews required
- Testing strategy: merge auth change before this PR
- Use cases have been restructured:
- Organized into folders akin to our Kanban board
- Usecases should be moved as required
- Status in Summary has been removed
- If build fails:
- Retrigger build according to documentation
- If that fails, open an isse
- Lukas/Felix will be responsible to fix said issue
- Decisions:
- News: research how to implement RSS feed
- Paul shold research offline vs collaborative undo/redo
- Membership onboarding should be done via keycloak
- Thorben volunteered to look at onboarding in keycloak
- Gabriel was assigned to look at SMTP integration
- Thesis Reviews
- More reviews wuld be great
Meeting 2023-05-26 Architecture
Participants
- Paul
- Thorben
- Moritz
- Samuel
- Lukas (Zuhörer)
Questions
The main architectural questions are:
-
current state? (layers state+backend)
- array, actions
-
lock
-
When to submit data to the backend?
-
multi-player?
-
SSE
-
How to send data to the backend?
- array von actions
-
How to get updates from the changes of other users?
-
Scope of versions, undo/redo
- tracked/untracked history
-
how separated are layers
-
Collaborative vs. Offline
-
Locking of layers
-
undo/redo
-
removing versions?
-
timeline (createdAt, deletedAt) -> many year span not considered yet
-
actions associated with layer
-
map owner can remove locks
-
without lock offline: read-only state
-
lösung:
-
backend always up-to-date
-
collaborativ: see what others are doing
-
only conflicts in most recent actions
-
undo/redo history gets purged on movement
-
lazy loading of layers (not years)
-
we need reverse actions
-
separated from it then IS-state (not initial)
-
begin, end date different to delete!
-
coordinates: konva coordinate CSS pixel = 1cm
-
objects: x,y,scale,color, shape, ID, rotation
-
per layer API calls
-
plant API calls:
- search (text) -> list of plants
- plant_info () -> info, list plant_ID of relations, array of 1m raster, maybe picture/heat map
- place_plant (plant_ID, pos, date)
-
map versions löschen
-
remember which objects are loaded?
-
elemente in DB store
-
outcome:
- moritz: auth, image, pixels docu
- paul: lazy loading, state management
- samuel: NC, state
- Thorben: remove versioning, map duplication
We would then have to keep track of the undo/redo history for each user on the backend as well. -> we don't do The read-only users should only have the latest version of the data + their local changes in the history. Without keeping track of the undo/redo history on the backend, sending a new version to the backend at a fast pace would clutter it.
Please also read (with my comments): https://github.com/ElektraInitiative/PermaplanT/pull/382/files
Meeting Notes
-
Undo/Redo
-
Current plan:
- base state + actions taken until now
- synchronize with backend via version creation, backend takes actions and builds new base state
- proposition: save actions in backend to restore lost sessions
- could cause synchronization problems with offline functionality
- implement locks on layers to reduce synchronization conflicts
- problem: what happens if user loses lock while offline and then comes online again
- "multiplayer" szenario: every user tracks only their own history
- how does undo/redo interact with very old changes (e.g. 10 years ago)
- do not load every data, only when needed (lazy loading)
- remove local history of one layer if another user made changes on it
-
new plan:
- directly push changes to backend
- every layer has its own endpoints
- history holds undo actions
-
Frontend map store
- tracked and untracked states
- tracked: affected by undo/redo
- untracked: configurations (e.g. layer opacity)
- layer independent store => to be used by all layers
-
Backend interaction with offline use case
- lock backend writes on map when going offline
- offline capability as a grantable permission for collaboration
- map owner should be able to revoke write lock in case of an abuse of offline mode
- as a first step no write lock, instead read only when offline
-
Save creation and disable dates for every element, "deleting" a plant sets it disabled to still be able to view it in the timeline
-
Position of elements will not be saved for the timeline and instead gets overwritten with every coordinate change
Meeting 2023-05-30
Protocolled by: Gabriel
Attendees
- Gabriel (Protokoll)
- Moritz (Protokoll done)
- Paul
- Felix
- Thorben
- Markus
- Yvonne
- Samuel (later)
Not here:
- Giancarlo
Cannot attend:
- Lukas
Buddies
- Giancarlo & Moritz
- Lukas & Felix
- Gabriel & Thorben
- Samuel & Paul
Tasks for Everyone
To be done until 26.5.2023 (except of reviews):
- Get your use case (UC) done
- Self-register in keycloak (https://auth.perma.health)
- Talk to buddies: Talk about what you would like to read in Changelogs
- Push at least a very short Changelog to the branch meeting_notes/30.05.2023
- Update sprint plan
- Create PR in submissions with the introduction of your thesis
- Do at least 8 reviews of other PRs
- Review 2 other thesis (in submission) by writing at least following 3 points:
- shortly say what you think that the author wanted to say
- which sentence was the most difficult one to read
- which are the (main) terms and are they used consistently
Individual Tasks
To be done until 26.5.2023:
-
Samuel: UC auth, state refactoring, NC photos, components documentation
-
Paul: UC timeline, offline architecture/decisions
-
Thorben: UC map creation, map properties, membership application
-
Moritz: UC base layer with fixed scale
-
Gabriel: UC map search, API for plants, decision, (log)
-
Felix: pre-commit, priority, (emails)
-
Giancarlo: UC plants, copy&paste, drawing layer integrate, seeds edit&delete (nur CI fixen), plants layer drag&drop (offen)
-
Lukas: auth ansible, (cargo)
-
Yvonne: Plant Relations
-
Markus: Nextcloud migration
Agenda
- 09:00 welcome
- protocol: Gabriel
- permaculture principles part II
- Changelogs
- sprint plan
- finalize architecture https://github.com/ElektraInitiative/PermaplanT/pull/385
- please read
- strategy: database and state always contains the latest data (server-sent events)
- observer pattern in backend?
- calculations done in backend
- layer implementations separated but with shared implementation
- low memory consumption: lazy-loading and offloading (only keep used layers in memory)
- development:
- please make sure that documentation gets improved in every PR
- PRs are often a very inefficient way to clarify objectives
- follow-up issues
- guidelines
- If not yet part of master, Changelogs should contain refs to issues, PRs
- pump npm version (current: v19.4.0 the default npm version is v9.2.0)
- UI guidelines
- outlook
Changelogs
Please push progress important changes devs should know, e.g. decisions, in items with syntax - change _(Your Name)_ below:
Auth:
- now active, requires either a user on https://auth.perma.health/ (can be aquired by visiting https://pr.permaplant.net/, clicking login and register) or a local setup of Keycloak (see readme in backend)
- doc on how to obtain tokens for local development is still missing (e.g. OAuth2 via Postman or curl) #392
- local swagger doc broken (tracked by #383)
Nextcloud:
- introduced webdav library
- introduced utility functions for fetching and uploading images to Nextcloud as well as a webdav test component (webdav-test.tsx) for testing this functionality. It is currently available at /webdav
- disable CORS in your browser for Nextcloud feature development:
e.g.
google-chrome --disable-web-securityorchromium --disable-web-securityThis is needed to allow requests which are not under the some origin. More info about Nextcloud setup in /doc/setups/nextcloud/README.md
map state management:
The state is now split in two parts namely tracked and untracked map store. More info about the state management of layers in the map editor is available in /doc/architecture/frontend.md
general:
- finish last decisions https://github.com/ElektraInitiative/PermaplanT/issues/2
- RSS and email libs found
- use cases improved https://github.com/ElektraInitiative/PermaplanT/pull/366
Outlook
To be done until 2.6.2023:
- Vote for date https://nextcloud.markus-raab.org/nextcloud/index.php/apps/polls/vote/18
- Get your use case (UC) done
- Talk to buddy: permaculture principles
- update authors.md for last month
- add related work/introduction for your thesis in submissions
- Push at least a very short Changelog to the branch meeting_notes/7.6.2023
- Update sprint plan
- Do at least 8 reviews of other PRs
Individual Tasks
To be done until 2.6.2023:
- Moritz: UC base layer with fixed scale in frontend, with NC images, plant/seed/(map) search, UC plant search
- Samuel: NC photos: for maps+base layer, components documentation, NC strukturen (circles, gruppen), landing page: (1) 2x chat msg, (2) chat window (3) gallery
- Paul: tracer bullet architektur, offline architecture/decisions, SSE offline?
- Thorben: UC map creation, maps+layer API, membership application: user in our DB
- Gabriel: API for plants, UC auth, (UC map search, decision, log), API plant/base layer
- Felix: pre-commit, priority, emails
- Giancarlo: UC plants, copy&paste, drawing layer integrate, seeds edit&delete (nur CI fixen), plants layer drag&drop (offen)
- Lukas: auth ansible, (cargo)
- Yvonne: Plant Relations
- Markus: API
Meeting Notes
Allgemein:
- Talk with buddy about how to integrate 'Observe and interact' and 'Apply self-regulation and acept feedback' in thesis
- more documentation, write where problems are (Are they in implementation, decision or use-case?)
Sprint:
- fetch images from Nextcloud with Webdav (Samuel)
- undo/redo via SSE (Paul)
- unique constraint af map name (Thorben)
- layer impl in frontend (Moritz)
- auth (Samuel, Gabriel)
- more integration tests (Gabriel)
- mail client/rss generator decision (Gabriel)
- plants full-text search (WIP; Gabriel)
- architecture doc (WIP; Markus)
Meeting 2023-06-06
Protocolled by: Samuel
Attendees
- Christoph
- Samuel (Protokoll)
- Gabriel (Protokoll done)
- Moritz (Protokoll done)
- Paul
- Felix
- Thorben
- Lukas
- Markus
- Yvonne
Nicht da:
- Giancarlo
Buddies
- Lukas & Felix & Christoph
- Giancarlo & Moritz
- Gabriel & Thorben
- Samuel & Paul
Tasks for Everyone
To be done until 2.6.2023:
- Vote for date https://nextcloud.markus-raab.org/nextcloud/index.php/apps/polls/vote/18
- Get at least one use case (UC) done
- Talk to buddy: permaculture principles
- update authors.md for last month (June)
- add related work/introduction for your thesis in submissions
- Push at least a short Changelog to the branch meeting_notes/06.06.2023 (new syntax, see below)
- Update sprint plan
- Do at least 8 reviews of other PRs in main repo or submissions
- Read architecture (already merged) available as mdbook, see main README.md Part I
Individual Tasks
To be done until 2.6.2023, ordered by priority:
- Moritz: finish UC plant search, UC base layer with fixed scale in frontend with NC images, seed/(map) search in frontend
- Samuel: NC photos: for maps+base layer, components documentation, NC strukturen (circles, gruppen), landing page: (1) 2x chat msg, (2) chat window (3) gallery
- Paul: tracer bullet architektur, offline architecture/decisions, SEE offline? etc.
- Thorben: UC map creation, maps+layer API, membership application: user in our DB
- Gabriel: API for plants, UC auth, (UC map search, decision, log), API plant/base layer
- Felix: pre-commit, priority, emails
- Giancarlo: UC plants, copy&paste, drawing layer integrate, seeds edit&delete (nur CI fixen), plants layer drag&drop (offen)
- Lukas: Nextcloud, auth ansible, (cargo
Agenda
- 09:00 welcome
- welcome Christoph (DB, Nextcloud, Security)
- permaculture principles part III
- protocol: Samuel
- FLOSS
- tutor
- issues
- issues which are handled by students in the next semester (should be simple and concise)
- excellent specification is valued as almost done
- good first issue label (will be renamed to FLOSS)
- break
- coordination
- responsibility to implement use cases fully (or ask if you think implementation needs intermediate steps)
- pulling in of libs (zod): write about it in decisions or in solution
- problems with typeshare: no validation -> zod as validation library to solve this
- no error when types are mismatching
- write a few sentences in solutions for the use cases of zod
- grading:
- 10, 20, 70
- 10: thesis is smallest task but has to be done
- 20: review and help the team
- 70: implementation / individual work for the project
- quality before quantity
- important and urgent tasks
- self-written/initial use cases/goals are not important
- use cases update
try the best to finish the thesis until end of june, in the worst case it can take a little longer
- DB layout
- if (and when) it was fully done no responsible person until now -> Christophs topic now
- 18.6. live meeting
- open questions
- icons
- avoiding float: roundig? could lead to visual glitches. We would prefer integers
- state: year->objects idea: group objects acording to visible and invisible and return both from the api. the visibility is calculated using the start_date and end_date of the elements. same calculation happens when the timeline is used in the frontend
- Changelogs
- sprint plan
- outlook
Changelogs
Please push progress important changes devs should know, e.g. decisions, in items with syntax - change _(Your Name)_ below:
db schemata are merged but might have to be reworked when implementing the gamification use cases
plant search fixes: - no results when clicking search fixed - search was too sensitive - search splits query in substrings and ranks the results given substring matches
new documentation for full text search
use case for full text search should be changed according to current implementation
missing german names: good example of first issue
use priority sorter in jenkins
documentation of architecture
new Nextcloud instance is done
Outlook
- Focus Meetings https://nextcloud.markus-raab.org/nextcloud/index.php/apps/polls/vote/20
- Vote for live meeting https://nextcloud.markus-raab.org/nextcloud/index.php/apps/polls/vote/21
- Get current use case (UC) done
- Talk to buddy: live meeting ride sharing
- Add some text for your thesis in submissions
- Push at least a short Changelog to the branch meeting_notes/13.06.2023 (new syntax, see below)
- FLOSS issues
- Update sprint plan
- Do at least 8 reviews of other PRs in main repo or submissions
- Read architecture (already merged) available as mdbook, see main README.md Part II
- Nextcloud testing
Next Tasks
- Felix: emails, cargo, (mdbook deployment, pre-commit)
- Moritz: UC plant search, UC base layer with fixed scale in frontend with NC images, seed/map search in frontend
- Gabriel: API+DB for plants, UC auth, UC map search, Plant layer: relations
- Lukas: keycloak broken, PostGIS, docu infrastructure
- Thorben: API+DB for plants+maps, UC map creation, membership application
- Samuel: landing page: (1) 2x chat msg, (2) chat window (3) gallery, components documentation, NC strukturen (circles, gruppen)
- Christoph: review DB
- Paul: collaborate, plant UC, (time line UC)
- Yvonne: Plant Relations
- Markus: end-user docu
Individual Tasks
Gabriel, Christoph, Thorben and Paul: discuss and implement Pauls proposal for PlantLayer API
Felix: - setup smtp - improve pipeline efficiency Moritz: - finish plant search - finish base layer: - database integration - scale - borders - include heatmap Gabriel: - PlantLayer API - BaseLayerAPI? Thorben: - small fixes in Map creation - finalize DB schema for BaseLayer - finalize DB schema for PlantLayer - continue Membership use case Samuel: - finish Nextcloud utils - split component documentation: - merge part of it - implement Photo Layer - disable pages when not logged in - lock Layers - keybindings Christoph: - review DB - concrete suggestions - read architecture Paul: - Planting Frontend - Collaboration PR - finish Plants Layer use case (without timeline)
Meeting Notes
mdbook on public url some time soon
base layer API: rotation, height + width, image url, borders?, heatmap?, scale?
Meeting 2023-06-13
Protocol by: Christoph
Attendees
- Christoph
- Samuel (Protokoll done)
- Gabriel (Protokoll done)
- Moritz (Protokoll done)
- Thorben
- Paul
- Felix
- Lukas
- Giancarlo
- Markus
- Yvonne
Buddies
- Lukas & Felix & Christoph
- Giancarlo & Moritz
- Gabriel & Thorben
- Samuel & Paul
Tasks for Everyone
To be done until Friday 9.6.2023:
- Focus Meetings https://nextcloud.markus-raab.org/nextcloud/index.php/apps/polls/vote/20
- Vote for live meeting https://nextcloud.markus-raab.org/nextcloud/index.php/apps/polls/vote/21
- Get current use case (UC) done
- Talk to buddy: live meeting ride sharing
- Add some text for your thesis in submissions
- Push at least a short Changelog to the branch meeting_notes/13.06.2023
- Create FLOSS issues (label: FLOSS)
- Update sprint plan
- Do at least 8 reviews of other PRs in main repo or submissions
- Read architecture (already merged) available as mdbook, see main README.md Part II
- Nextcloud testing
Previous Tasks
To be done until Friday 9.6.2023:
- Thorben: API+DB for plants+maps, loading of map, membership application, UC Map creation done
- Gabriel: API+DB for plants, UC auth, UC map search, (Plant layer: relations)
- Samuel: landing page: (1) 2x chat msg, (2) chat window (3) gallery, components documentation, NC strukturen (circles, gruppen)
- Felix: emails, cargo faster, (mdbook deployment, pre-commit)
- Moritz: UC plant search, UC base layer with fixed scale in frontend with NC images, seed/map search in frontend
- Lukas: keycloak broken, PostGIS, docu infrastructure, cache invalidation (service worker)
- Christoph: review DB, read architecture, rework dev setup, docker compose cleanup
- Paul: collaborate done, UC plant layer in progress, (time line UC)
- Yvonne: Plant Relations
- Markus: architecture part III
Agenda
- 09:00 welcome
- protokoll: Christoph
- take a step forward
- live event
- goal for Sunday: planting with seeds and relations
- Changelogs
- dev:
- branch off from latest master
- daily pushes/progress reports on issues
- draft PR review
- weekly report in ChangeLogs
- create follow-up issues about obvious problems before requesting my review
package-lock.json
- documentation first
- have a look through architecture
- keycloak data
- focus meetings: DB/API Thursday 15; Thursday 9:30
- sprint plan
- outlook
Changelogs
Please push progress important changes devs should know, e.g. decisions, in items with syntax - change _(Your Name)_ below:
- KeyCloak: users with name
test*removed, please use same nickname as in Nextcloud (Markus Raab) - Clarification: Polygon relates to map, even if it is shown in base layer. (Markus Raab)
- Problem with Nextcloud CORS configuration: Nextcloud has no options to configure the allowed origins for CORS requests. There is a plugin to circumvent this problem for some APIs but this plugins is considered unsecure by a Nextcloud Spreed team member. It also doesn't work with the Nextcloud Spreed APIs. My suggestion is to implement a proxy for setting the correct CORS headers in our backend. (Samuel Daurer)
- Items can now only be selected on their corresponding layers. (Samuel Daurer)
- Basic chat utils for Nextcloud are introduced in PR #428 in
/features/nextcloud_integration/api/chat.ts(NOTE: not working in production due to CORS issues) (Samuel Daurer) - Nextcloud image utils not working in production due to CORS issues right now (Samuel Daurer)
- Map Creation now includes description, privacy settings and selecting a geographical location. (Thorben Staufer)
- A new map will automatically store the creator as its owner through the user data provided by the Keycloak token (in PR #449). (Thorben Staufer)
- The map overview page only shows maps created by the currently logged-in user (in PR #449). (Thorben Staufer)
- Proposed a DB design for simple layers (layers that either place objects or contain a map-wide configuration) with the plants layer as an example (in PR #427). (Gabriel Kitzberger & Thorben Staufer)
- Documentation about backend now in mdbook including auth and how to obtain tokens (PR #412) (Gabriel Kitzberger)
- Allow for searching maps by name (PR #414) (Gabriel Kitzberger)
- Send changes to the map to other connected clients via Server-Sent Events (PR #404) (Paul Buschmann & Gabriel Kitzberger)
Outlook: Tasks for Everyone
To be done until Friday 16.6.2023:
- Create a PR that improves error handling (or adds assertions)
- Get current use case (UC) done
- Break "Talk to buddy" and "Submissions"
- Push at least a short Changelog to the branch meeting_notes/20.06.2023
- Update sprint plan
- Do at least 8 reviews of other PRs in main repo or submissions
- Read architecture available as mdbook, see main README.md Part III
- Nextcloud testing and report to #422
Outlook: Next Tasks
To be done until Friday 16.6.2023:
- Felix: cargo faster, make doc, (mdbook deployment, pre-commit, emails)
- Gabriel: API+DB for plants (Tuesday), UC auth, UC map search, Plant layer: relations (API)
- Christoph: docmentation regarding PermaplanT setup, import of relations (in scraper), review DB
- Samuel: NC images: proxy&error handling, decision, (heatmap frontend), (landing page: (1) 2x chat msg, (2) chat window (3) gallery, components documentation, NC strukturen (circles, gruppen))
- Moritz: UC plant search, UC base layer with fixed scale in frontend with NC images, seed/map search in frontend
- Lukas: keycloak broken, PostGIS, docu infrastructure
- Thorben: map loading map.tsx, API+DB for plants+maps docu, UC map creation done, (membership application)
- Paul: UC plant layer, time line UC
- Markus: end-user docu
Meeting Notes
-
Besprechung Live Treffen, Informationen in LivePermaplanTreffen.pdf
-
Portable Device mitnehmen, damit wir uns Permaplant in der Praxis anschauen können.
-
Handgroßen flachen Stein mitnehmen, falls jemand einen hat.
-
Ziel bis Sonntag 18.6.2023: Seedplanting umgesetzt damit wir die ersten Pflanzen platzieren können.
-
Besprechung Sprint
-
Thorben: Map creation Frontend->Backend funktioniert, Backend->Frontend fehlt noch.
-
Samuel: Basic Component documentation, hat dokumentiert womit er sich zurechtgefunden hat. Einige sind noch offen.
-
Felix: CI, trotz erwarteter Verbesserungen keine Veränderungen in den Laufzeiten festgestellt wurden. Ein Problem besteht darin, dass Cargo Daten erneut herunterlädt. Gabriel erklärte, dass dies bei Rust üblich ist, wenn man in Release baut, da es immer alles neu baut. Als Lösungsvorschlag wurde vorgeschlagen, PRs im Debug-Modus zu bauen und nur den Master im Release-Modus zu bauen. Der gesamte CI-Zyklus dauert derzeit 30 Minuten. Gabriel plant, sich das genauer anzusehen, befürchtet jedoch, dass beim Bauen im Release-Modus keine großen Verbesserungen möglich sind, möglicherweise könnte Caching helfen.
-
Lukas: Keylock, braucht hilfe wegen eines caching problems vom Frontendteam, Markus sagt wir sollten uns erst später damit beschäftigen, erst wenn wir eine stabile release haben, da noch nicht klar ist was die requirments sind.
-
Christoph: plan doc/backend/01setup.md issue fertig machen. Setup Script is outofScope, Leute sollen das system selbst aufsetzen.
-
Markus ist aufgefallen: Bei einen PR das man den letzten Master nimmt. Darauf achten das "The PR is rebased with current master." gilt. Draft PR sind ein Draft, wenn Markus um info gefragt wird, bitte genaue Frage stellen.
-
Hinweiß: Immer ganz schnell issues erzeugen, es ist verwirrend wenn etwas übrig ist. Herauszufinden wie es geht kostet viel Zeit. Klare Kommunikation was da ist, ist wichtig. Wenn es Probleme gibt, erstellt Issues.
-
Pause 10:05-10:10
-
Architecure Guidlines beachten, keine Workarounds. Bei Problemen issues erstellen.
-
Wir implementieren gerade 06runtime.html->planting. Toll wenn das bis Sonntag 18.6.2023 funktioniert.
-
Christoph soll Guidlines->Database überarbeiten.
-
Wie gehts weiter. Am Do können wir uns treffen wo es um DB+API geht.
-
Bei Terminumfragen sollen bitte alle Antworten.
-
Error Handling beachten, es soll keine "Silent Errors" mehr geben. User sollen wissen, wenn etwas nicht funktioniert hat, und warum. (Siehe UI guidlines)
-
Wegen LiveMeeting machen wir eine Woche Pause mit Buddy-System und Submissions.
-
Architekture ganz durchlesen für alle.
-
Starker Fokus auf Use Cases. Am Sonntag wollen wir pflanzen platzieren beim Live Treffen.
-
Solange wir das nicht haben, ist es schwierig weitere UseCases zu finden.
-
Felix: Schnellere Deployments wären hilfreich.
-
Gabriel: Plantlayer API+DB fertigbekommen, Heatmap gleicher PR?
-
Christoph: Scrapper DB Relations, import of relation in scrapper. RUST Code nachschauen für entites, Documentation Database schema aktuallsieren. Review machen wo änderungen sind.
-
Samuel: Nextcloud requests sollen in Production funktioneren. Fehler sollen angezeigt werden.
-
Moritz: Base Layer und Plant Search fertig machen. Ziel bis Freitag fertig machen. Es sind primär noch Detailfragen zu klären.
-
Thorben: Fokus: Laden der Map/Maploading.
Meeting 2023-06-20
Tasks for Everyone
To be done until Friday 16.6.2023:
- Create a PR that improves error handling (or adds assertions)
- Get current use case (UC) done
- Break "Talk to buddy" and "Submissions"
- Push at least a short Changelog to the branch meeting_notes/20.06.2023
- Update sprint plan
- Do at least 8 reviews of other PRs in main repo or submissions
- Read already-merged architecture available as mdbook, see main README.md
- Nextcloud testing and report to #422
Individual Tasks
To be done until Friday 16.6.2023:
- Felix: cargo faster, make doc, (mdbook deployment, pre-commit, emails)
- Gabriel: API+DB for plants (Tuesday), UC auth, UC map search, Plant layer: relations (API)
- Christoph: documentation regarding PermaplanT setup, import of relations (in scraper), review DB
- Samuel: NC images: proxy&error handling, NC file picker, NC decision, (landing page: (1) 2x chat msg, (2) chat window (3) gallery)
- Moritz: UC plant search, UC base layer with fixed scale in frontend with NC images, seed/map search in frontend
- Lukas: documentation of infrastructure
- Thorben: map loading map.tsx, API+DB for plants+maps docu, UC map creation done, (membership application)
- Paul: UC plant layer, time line UC
- Markus: end-user docu
Attendees
- Thorben
- Christoph (Protokoll done)
- Samuel (Protokoll done)
- Gabriel (Protokoll done)
- Moritz (Protokoll done)
- Paul
- Lukas
- Markus
- Yvonne
Did not attend
- Felix
- Giancarlo
Buddies
- Lukas & Felix & Christoph
- Giancarlo & Moritz
- Gabriel & Thorben
- Samuel & Paul
Agenda
- 09:00 welcome
- protokoll: Thorben
- welcome game: meeting, most annoying in UI?
- UI:
- plants are all round
- dev:
package-lock.jsonworkflow- documentation first
- several (UI) fixes in one PR
- best time for reviews
- npm version v19.4.0 #395
- increment version numbers #164
- architecture:
- no submit buttons -> debounce
- no 32 bit for increasing tables
- uuid for maps
- focus meeting: DB/API Thursday 15; Thursday 9:30
- sprint plan
- outlook
Changelogs
Please push progress important changes devs should know, e.g. decisions, in items with syntax - change _(Your Name)_ below:
- Moritz
- Plant Layer is ready to be Merged
- Helped Samuel Factor out Nextcloud image loading from base layer
- Thorben
- Location picker in map creation only loads on button press. User can enter geo data manually without location picker.
- Map overview page navigates to map editor.
- Paul
- Available seasonal seed suggestions.
- Placement of plants.
- Gabriel
- Plantings + Plants Layer API (without heatmap)
Outlook: Tasks for Everyone
To be done until Friday 23.6.2023:
- Get current use cases (UC) done
- Talk to buddy about UI improvements
- Submissions: abstract (4 sentences: context, problem, method, results) & conclusion
- Push at least a short Changelog to the branch meeting_notes/27.06.2023
- Update sprint plan
- Do at least 8 reviews of other PRs in main repo or submissions
- Read architecture part IV available as mdbook, see main README.md
- add photos from meeting to Nextcloud Photos/20230618_Live_meeting
Outlook: Individual Tasks
- use layer IDs
- preview eher nicht
- icons ein/ausblenden
- layers ordnen
- touch screen: on-click
- text weg
- on-hover
- "planting" box besser high-lighten
- redraw
To be done until Friday 23.6.2023:
-
Lukas: documentation of infrastructure, nextcloud fix, review felix, Keycloak SMTP (password reset)
-
Felix: cargo faster, make doc, (mdbook deployment, pre-commit, emails)
-
Gabriel: API+DB for plants finish, UC map search, Plant layer: relations (API), heat map, map polygon
-
Christoph: review DB, documentation regarding PermaplanT setup, import of relations (in scraper), import von sizes
-
Samuel: keybindings, NC file picker, NC decision, NC hierarchy, bug fixes pair programming, UI fixes mit Paul
-
Paul: UC plant layer, time line UC
-
Moritz: UC plant search, UC base layer with fixed scale in frontend with NC images, seed/map search in frontend
-
Thorben: UC map creation done, (membership application)
-
Markus: end-user docu
Meeting Notes
-
Recap of first in person meeting
-
Usability improvements for first beta/usability test:
-
hide unused toolbar icons
-
round icons for plants (SVG over raster image)
-
change order of layers in list (#478)
-
show all editable plant attributes (#476)
-
format of english/german name of plants in search
-
show preview of plant and relations while placing (icon moves with cursor on canvas and connecting lines are shown)
-
Toast messages show success but errors more rarely
-
Typical editor keybindings
-
touch screen improvements
-
title attributes on toolbar icons
-
highlight plant placement mode with color
-
-
Plants areas as one entity on canvas
-
Scaling vs area of plants
-
Potential low performance of SSE with many users
-
Sprint plan:
Done:
-
Maps connected to owning user through authentication token
-
Plant API reworked and uses layer id instead of map id
-
fixed a rounding error in planting coordinates while moving
Next Steps:
-
Complete fix for CORS issues
-
Keycloak mailing
-
Documentation of infrastructure (variables, services, timeoutes)
-
Complete plant/map search
-
Implement relations and fill with curated data
-
API for plant heatmap
-
Reduce DB model to only used columns
-
Automatic NC directories for maps and layers
-
Improve UI and app usability
-
Complete base layer
-
Map edit/duplicate
-
Implement Blossoms
-
-
Only push package-lock.json on deliberate package updates/additions
-
Increment version number on deliberate changes of package-lock.json
-
Edit fields should push changes seamlessly with debounce instead of submit button
Meeting 2023-06-27
Tasks for Everyone
To be done until Friday 23.6.2023:
- Get current use cases (UC) done
- Talk to buddy about UI improvements and look together to dev.permaplant.net
- Submissions: abstract (4 sentences: context, problem, method, results) & conclusion
- Push at least a short Changelog to the branch meeting_notes/27.06.2023
- Update sprint plan
- Do at least 8 reviews of other PRs in main repo or submissions (abstract)
- Read already merged architecture part IV available as mdbook, see main README.md to build
- add photos you have from meeting to Nextcloud Photos/20230618_Live_meeting
Bug squashing
Please help fixing known bugs and UI issues until Friday 23.6.2023, e.g.:
- use layer IDs
- preview eher nicht
- icons ein/ausblenden
- layers ordnen
- touch screen: on-click
- text weg
- on-hover
- "planting" box better highlighting
- redraw on resizing
A big thanks to Samuel&Paul for being behind this! Please join the effort!
Individual Tasks
To be done until Friday 23.6.2023:
- Lukas: documentation of infrastructure, nextcloud base URL frontend fix, review felix PR, Keycloak SMTP (password reset)
- Felix: cargo faster, make doc, mdbook deployment, pre-commit, emails
- Gabriel: API+DB for plants finish, UC map search, Plant layer: relations (API), heat map, map polygon API
- Christoph: review DB, documentation regarding PermaplanT setup, import of relations (in scraper), import of "sizes"
- Samuel: keybindings, NC file picker, NC decision, NC hierarchy, bug fixes pair programming, Bug squashing with Paul
- Paul: UC plant layer, time line UC, Bug squashing with Samuel
- Moritz: UC plant search, UC base layer with fixed scale in frontend with NC images, seed/map search in frontend
- Thorben: UC map creation done, UC gain blossoms, (membership application)
- Markus: end-user docu
Attendees
- Paul
- Christoph (Protokoll done)
- Samuel (Protokoll done)
- Gabriel (Protokoll done)
- Moritz (Protokoll done)
- Thorben (Protokoll done)
- Adi
- Felix
- Giancarlo
- Markus
- Yvonne
not here:
- Lukas
Buddies
- Lukas & Felix & Adi
- Moritz & Christoph
- Gabriel & Thorben
- Samuel & Paul
Agenda
- 09:00 welcome
- protocol: Paul
- welcome Adi
- buddy talk: UI improvements
- deadlines, create individual deadlines for you in README.md:
- maximum to August
- other remaining tasks
- issues (simply assign and link to assigned issues)
- UC
- text writing: introduction+goals
- fixing bugs
- update authors.md
- abstract (4 sentences: context, problem, method, results) & conclusion
- architecture:
- minimal packages
- npm packages for testing?
- ids vs. text
- performance: avoid polling
- show/increment version number: #510 daily micro-releases
- new deployment www.permaplant.net
- sprint plan
- outlook
Outlook: Tasks for Everyone
To be done until Friday 30.6.2023:
- Get current use cases (UC) done
- Submissions: abstract (4 sentences: context, problem, method, results) & conclusion
- Push at least a short Changelog to the branch meeting_notes/04.07.2023
- Update sprint plan
- create PR in submissions updating README.md with deadlines and all remaining tasks
- create PR updating authors.md
- Do at least 8 reviews of other PRs in main repo and submissions
- Read already merged architecture part V available as mdbook, see main README.md to build
Outlook: Bug Squashing
Please help fixing known bugs and UI issues until Friday 30.6.2023
- use icons for plants
- use layer IDs
- icons
- layers order
- touch screen: on-click
- remove left-overs
- on-hover texts
- "planting" box better highlighting
- redraw on resizing
In same PR:
- also remove pan
- tooltip not an selected plant and partly not visible and too small
New issues needed:
- "hello" appears quite often -> Paul
- texts: remove "Edit attributes", "Drag and drop" -> Pflanzen/Planting, "Layers" -> Ebenen; -> Moritz
- layer tutorial -> Thorben
Already existing issues:
- edit props -> Moritz
- order of layers -> done master
Outlook: Individual Tasks
To be done until Friday 30.6.2023:
- Thorben: UC map creation done, UC gain blossoms
- Moritz: UC plant search, UC base layer with fixed scale in frontend with NC images, seed/map search in frontend, UC shade layer, grid
- Paul: UC plant layer, time line UC
- Samuel: UC photo layer, keybindings, NC file picker, NC decision, NC hierarchy, bug fixes pair programming, Bug squashing with Paul
- Christoph: review DB, documentation regarding PermaplanT setup, import of relations (in scraper), import of "sizes" (alternatives UC)
- Gabriel: business logic: plant relations, API+DB for plants finish, UC map search, Plant layer: relations (API), heat map, map polygon API
- Adi: npm doc, mdbook deployment, (versioning)
- Felix: pre-commit, emails
- Markus: release
- Lukas: documentation of infrastructure
Changelogs
Please push progress important changes devs should know, e.g. decisions, in items with syntax - change _(Your Name)_ below:
Moved to doc/CHANGELOG.md
Meeting Notes
-
short game with statements about other team members
-
thesis should be done at the latest until August (end of term)
-
UI improvements:
-
tooltip should be bigger and not overlap the mouse cursor (ideally -> scale dependent)
-
tooltip does not work if plant is selected
-
icons for plants
-
debug grid (every 10 cm a point or fine line)
-
change plant default size (30 cm)
-
slider handle maybe more prominent? (vertical dots)
-
Adi will look at the test strategy
-
important use cases should be tested end-to-end (move plant, add plant, ...)
-
first e2e test (plant search and check results)
-
thesis: free writing: write per hand what comes into mind -> refactor
-
changelog:
-
in its own file? -> yes (commit together with the PR)
-
readme in submissions:
-
specify final deadline (latest 31 august)
-
list all tasks to finish thesis
Meeting 2023-07-04
Tasks for Everyone
To be done until Friday 30.6.2023:
- Get current use cases (UC) done
- Submissions submit&2x review: abstract (4 sentences: context, problem, method, results) & conclusion (or TISS abstract)
- Update sprint plan
- Create PR in submissions updating README.md with deadlines and all remaining tasks
- Create PR updating doc/authors.md
- Do at least 6 reviews of other PRs in main repo
- Read already-merged architecture part V available as mdbook, see main README.md to build
Bug Squashing
Please help fixing known bugs and UI issues until Friday 30.6.2023
In same PR:
- also remove pan
- tooltip not an selected plant and partly not visible and too small
New issues needed:
- "hello" appears quite often -> Paul
- texts: remove "Edit attributes", "Drag and drop" -> Pflanzen/Planting, "Layers" -> Ebenen; -> Moritz
- layer tutorial -> Thorben
Individual Tasks
To be done until Friday 30.6.2023:
- Thorben: UC map creation done, UC gain blossoms
- Paul: UC plant layer, UC time line
- Samuel: NC file picker, NC decision, NC hierarchy, UC photo layer
- Lukas: documentation of infrastructure
- Adi: npm doc, mdbook deployment, (versioning)
- Felix:
- Markus: release
- Christoph: review DB, documentation regarding PermaplanT setup, import of relations (in scraper), import of "sizes" (alternatives UC)
- Gabriel: business logic: heat map, plant relations, API+DB for plants finish, UC map search, Plant layer: relations (API), map polygon API
- Moritz: edit plant properties, grid 10Pixel/10cm, finish UC plant search, UC base layer with fixed scale in frontend with NC images, seed/map search in frontend, UC shade layer
Attendees
- Felix
- Paul (Protokoll done)
- Samuel (Protokoll done)
- Thorben (Protokoll done)
- Adi
- Giancarlo
- Markus
- Yvonne
- Lukas
Cannot come:
- Gabriel (Protokoll done)
- Moritz (Protokoll done)
- Christoph (Protokoll done)
Buddies
- Lukas & Felix & Adi
- Moritz & Christoph
- Gabriel & Thorben
- Samuel & Paul
Agenda
- 09:00 welcome
- protocol: Felix
- Elevator Pitch what you do
- case study: use real data: base map, plantings, ...
- technicalities:
- matrix vs. image II (we use PNG)
- versioning
- test strategy: test protocol for getting UC done
- dev workflow, self-reflection: get more efficient
- Docker compose?
- use random lines in Changelog
- sprint plan
- outlook
- netidee
Outlook: Tasks for Everyone
To be done until Friday 7.7.2023:
- Get current use cases (UC) done
- Submissions submit&2x review: intro & transitions
- buddy talk: case study
- Update sprint plan
- Do at least 6 reviews of other PRs in main repo
- Read Test Strategy and update of DoD
Outlook: User Study
Please help fixing known bugs and blocking issues for user study until Friday 7.7.2023
https://github.com/ElektraInitiative/PermaplanT/milestone/4
- #151 Personifying Error Messages -> Thorben
- #570 improve texts (remove "Edit attributes", "Drag and drop" -> Pflanzen/Planting, "Layers" -> Ebenen) -> Thorben
- #547 Edit Planting's Dates in Sidebar
- #541 plant icons shine through
- plantings: mouse partially over tooltip -> Paul
- labels for active layer via toolbar, "tags" icon -> Samuel
- eraser/trash -> Samuel
- nicht proportionales resize verbieten
Outlook: Individual Tasks
To be done until Friday 7.7.2023:
- Thorben: UC map creation done, UC gain blossoms
- Paul: UC time line, UC plant layer (relations&heatmap)
- Samuel: base layer persist, NC file picker, NC hierarchy, UC photo layer, CORS
- Adi: #504 frontend BASE_URL, cargo build, (versioning)
- Felix:
- Markus: netidee
- Lukas: documentation of infrastructure, CORS
- Gabriel: business logic: heat map, plant relations, API+DB for plants finish, UC map search, Plant layer: relations (API), map polygon API
- Christoph: review DB, documentation regarding PermaplanT setup, import of relations (in scraper), import of "sizes" (alternatives UC)
- Moritz: edit plant properties, grid 10Pixel/10cm, finish UC plant search, UC base layer with fixed scale in frontend with NC images, seed/map search in frontend, UC shade layer
Protocol:
-show us of programmed code, with real data -shared dir 'Biology/Template_Map.jpg' for example with real data -everyone build own map in PermaplanT -Thorben check text in PermaplanT -Samuel change icons of plants
-protocl for tests of implementations -thesis focus on question, not technical implementation
Meeting 2023-07-11
Tasks for Everyone
To be done until Friday 7.7.2023:
- Read Test Strategy and update of DoD
- Get current use cases (UC) done
- Submit&2x review Submissions : intro & transitions
- Buddy talk: case study
- Update sprint plan
- Do at least 6 reviews of other PRs in main repo
User Study
Please help fixing known bugs and blocking issues for user study until Friday 7.7.2023
https://github.com/ElektraInitiative/PermaplanT/milestone/4
- #151 Personifying Error Messages -> Thorben
- #570 improve texts (remove "Edit attributes", "Drag and drop" -> Pflanzen/Planting, "Layers" -> Ebenen) -> Thorben
- #547 Edit Planting's Dates in Sidebar
- #541 plant icons shine through
- plantings: mouse partially over tooltip -> Paul
- labels for active layer via toolbar, "tags" icon -> Samuel
- eraser/trash -> Samuel
- disallow non-proportional resize -> Paul
Individual Tasks
To be done until Friday 7.7.2023:
- Thorben: UC map creation done, UC gain blossoms
- Paul: UC time line, UC plant layer (relations&heatmap)
- Samuel: base layer persistency, CORS, NC file picker, NC hierarchy, (UC photo layer)
- Adi: #504 frontend BASE_URL, cargo build, (versioning), various tasks
- Lukas: documentation of infrastructure, CORS
- Gabriel: base map API, heat map API, plant relations, API+DB for plants finish, UC map search, Plant layer: relations (API), map polygon API
- Christoph: review DB, documentation regarding PermaplanT setup, import of relations (in scraper), import of "sizes" (alternatives UC)
- Moritz: edit plant properties, grid 10Pixel/10cm, finish UC plant search, UC base layer with fixed scale in frontend with NC images, seed/map search in frontend, UC shade layer
- Markus: netidee
- Yvonne: netidee
Attendees
- Adi
- Paul (Protokoll ok)
- Thorben (Protokoll ok)
- Gabriel (Protokoll ok)
- Moritz (Protokoll ok)
- Christoph (Protokoll ok)
- Markus
- Yvonne
Holidays:
- Samuel (Protokoll ok)
Not here:
- Lukas
- Felix (Protokoll ok)
- Giancarlo
Buddies
- Lukas & Felix
- Moritz & Christoph
- Gabriel & Thorben
- Adi & Paul
Agenda
PermaplanT
- 09:00 welcome
- protocol: Adi
- tell someone how to improve and what was done great
- weekend goal: do case study
- Samuel Holidays Buddies
- weekly releases
- weekly submissions
- sprint plan
- milestone plan
- outlook
Outlook: Tasks for Everyone
To be done until Friday 18.7.2023:
- Fix remaining problems in https://github.com/ElektraInitiative/PermaplanT/milestone/4
- Do Case Study with PermaplanT
- Write in submissions about your case study (as contribution, with screenshot)
- For extra meetings in July: https://nextcloud.markus-raab.org/nextcloud/index.php/apps/polls/vote/22
- Get current use cases (UC) done
- Buddy talk: case study
- Update sprint plan
- Do at least 8 reviews of PRs in main repo or submissions
Outlook: Individual Tasks
To be done until Friday 18.7.2023:
-
Thorben: UC gain blossoms done
-
Paul: UC time line done, UC plant layer done relations, edit plant properties (heatmap)
-
Moritz: UC base layer with manual fixed scale in frontend with NC images, NC file picker, grid 10pixel/10cm (UC shade layer)
-
Gabriel: base map API, API+DB for plants finish, UC map search, Plant layer: relations (API), map polygon API, Lukas Doku?
-
Lukas: documentation of infrastructure
-
Adi: improve CI, smoke test
-
Christoph: review DB, import of relations (in scraper), documentation regarding PermaplanT setup, (import of "sizes") (alternatives UC), (squashing)
-
Markus: release
-
Yvonne: case study
Holidays:
- Samuel: NC hierarchy, (UC photo layer)
Meeting Notes
Feedbackrunde: Gabriel: Lob an Paul, gute Ideen im Frontend und Backend(SSE). Paul: Feedback an Thorben, gute Arbeit im Frontend. Thorben: Feedback an Adi, schnell eingelebt. Adi: Lob an Moritz für das Testprotokoll. Moritz: Positives Feedback an Christoph.
Neue Buddies: Paul & Adi Dieses Wochende letzten fixes. PR's im Wochentakt mergen. Nicht zu lang offen lassen. Christoph & Adi wöchentlich was schreiben (Case study).
Weekly Recap: Markus viel mit Netidee beschäftigt. Moritz war auf Urlaub und krank :/. Thorben UI/UX arbeiten (hover tooltip, duplicate button, User sichtbare texte, Toast messages vereinheitlicht) Paul UI improvements und bug fixes. Konva performance probleme. Graue Linien entfernen, könnte die Performance verbessern. Gabriel: Version, cronjobs(cascade delete?), heatmap. Adi: Version, cargo build beschäftigt, kleine Pipeline improvements. Christoph: Datenbank layout, ER diagramm.
Fokus: Thorben -> Blossoms Paul -> Timeline, Plant layer Moritz -> Offene PR's abschließen. Grid->Layer scaling Paul -> Heatmap < Plant picker Gabriel -> Alles durchtesten, abschließen bis 16.07, CRUD interface baselayer + Protokoll Adi -> Tests und buildtime improvement Christoph -> DB tables, plant name formatting, plant labels.
Meeting 2023-07-18
Tasks for Everyone
To be done until Friday 14.7.2023:
- Fix remaining problems in https://github.com/ElektraInitiative/PermaplanT/milestone/4
- Rebase PRs due to 0.2.2 release, see Changelog
- Do Case Study with PermaplanT
- Write in submissions about your case study (as contribution, with screenshot)
- Vote for extra meetings in July: https://nextcloud.markus-raab.org/nextcloud/index.php/apps/polls/vote/22
- Get current use cases (UC) done
- Buddy talk: case study
- Update sprint plan
- Do at least 8 reviews of PRs in main repo or submissions
- Add your holidays in "PermaplanT" calendar (Nextcloud)
Individual Tasks
To be done until Friday 14.7.2023:
- Thorben: UC gain blossoms done
- Paul: UC time line done, UC plant layer done relations, edit plant properties, (heatmap)
- Moritz: UC base layer with manual fixed scale in frontend with NC images, NC file picker, grid 10pixel/10cm (UC shade layer: frontend)
- Gabriel: shade+base layer endpoints, cleanup/tests: base map API, API+DB for plants finish, UC map search, Plant layer: relations (API), map polygon API, Lukas Doku?
- Lukas: documentation of infrastructure especially PermaplanT setup
- Adi: improve CI, decision of E2E, smoke test
- Christoph: review DB, import of relations (in scraper), various PRs+issues, including documentation regarding PermaplanT setup, (import of "sizes") (alternatives UC), (squashing)
- Markus: release
- Yvonne: case study
Holidays:
- Samuel: NC hierarchy, (UC photo layer)
Attendees
- Gabriel (Protokoll)
- Paul
- Thorben
- Adi
- Moritz
- Christoph
- Markus
- Yvonne
Holidays:
- Samuel (Protokoll ok)
- Lukas
- Giancarlo
Buddies
- Lukas & Felix
- Moritz & Christoph
- Gabriel & Thorben
- Adi & Paul
Agenda
PermaplanT
- 09:00 welcome
- protocol: Lukas
- carry-on PermaplanT
- case study
- user study
- DoD UC
- Test Protocol
- get all PRs merged
- weekly releases: 0.2.2 released, see Changelog
- sprint plan
- milestone plan
- outlook
Outlook: Tasks for Everyone
To be done until Friday 21.7.2023:
- Manual testing for done UC
- Fix left-overs in https://github.com/ElektraInitiative/PermaplanT/milestone/4 and get current use cases (UC) done
- Write in submissions about your case study (as contribution, with screenshot)
- Update sprint plan
- Do at least 8 reviews of PRs in main repo or submissions
Outlook: Individual Tasks
To be done until Friday 21.7.2023:
- Thorben: UC gain blossoms done, User Study Preparations (privacy page: data usage+gets lost)
- Paul: UC time line done, UC plant layer done relations, read-only, Arbeit schreiben
- Moritz: UC base layer, NC file picker, grid, debouncing, open PRs merging
- Gabriel:Lukas Logging Doku, preparation for squash, shade layer, docu+testprotocol for heatmap
- Lukas: documentation of infrastructure especially PermaplanT setup
- Adi: improve CI, decision of E2E, smoke test, help for release
- Christoph: labels+formatting of plant names, import of relations (in scraper), squashing (with import of "sizes"), review DB
- Markus: release
- Yvonne: case study
Holidays:
- Samuel: NC hierarchy, (UC photo layer)
Meeting Notes
Thorben User-Study:
- Introduction
- Explain Layers
-
Base Layer
-
Plant Layer (including explanation of seeds, maybe undo-redo, maybe toolbar instead)
-
Read doc/usecases/README.md.
- Usecase is done iff it includes documentation, closed issues, changelog, test protocol (with links from usecase to testprotocol), moved to 'done'
Testing protocol
- New tests should be added to
doc/tests/manual/protocol.md - Tests in
protocol.mdshould be simple and short - When tests are executed (e.g before release) create a new report in
doc/tests/manual/reports - Write a report (in
manual/reports) about your test cases. - Reports can include more detailed explanations
Meeting 2023-07-25
Tasks for Everyone
To be done until Friday 21.7.2023:
- Manual testing for done UCs
- Fix left-overs in https://github.com/ElektraInitiative/PermaplanT/milestone/4 and get current use cases (UC) done
- Write in submissions about your case study
- Update sprint plan
- Do at least 8 reviews of PRs in main repo or submissions
Individual Tasks
To be done until Friday 21.7.2023:
- Thorben: UC gain blossoms done, User Study Preparations (privacy page)
- Paul: UC time line done, UC plant layer done relations, read-only, Arbeit schreiben
- Moritz: UC base layer, NC file picker, grid, debouncing, open PRs prepare for merging
- Gabriel: Lukas Logging Doku, preparation for squash, shade layer, docu+testprotocol for heatmap
- Lukas: documentation of infrastructure especially PermaplanT setup
- Adi: improve CI, decision of E2E, smoke test, help for release
- Christoph: labels+formatting of plant names, import of relations (in scraper), squashing (with import of "sizes"), review DB
- Markus: release
- Yvonne: case study
- (Samuel: NC hierarchy, UC photo layer)
Attendees
- Gabriel (Protokoll done)
- Thorben
- Adi
- Moritz
- Christoph
- Markus
- Yvonne
Cannot attend:
- Paul
Holidays:
- Samuel
- Lukas
- Giancarlo
Buddies
- Moritz & Christoph
- Gabriel & Thorben
- Adi & Paul
Agenda
PermaplanT
- 09:00 welcome
- protocol: Thorben
- submissions:
- review more texts
- self-merge PRs
- American English vs. British English
- related work: "uniqueness", compare with others
- Entwicklung:
- richtige Einstellung: keine Arbeit als lästig deklarieren
- richtige Anstrengung: nicht zu viel (anspannung), aber auch nicht zu wenig (täglich weitermachen)
- further points to consider for every PR:
- migrations should not remove any data and should be compatible from now on
- introduction tour might need updates
- Abschluss Code Reading
- case study
- user study
- weekly releases: 0.3.0 released, see Changelog
- sprint plan
- milestone plan
- outlook
- warm shower
Outlook: Tasks for Everyone
To be done until Friday 28.7.2023:
- Fix left-overs in https://github.com/ElektraInitiative/PermaplanT/milestone/4 and get current use cases (UC) done
- Write one page in submissions
- Update sprint plan
- Do at least 8 reviews of PRs in main repo or submissions
Outlook: Individual Tasks
To be done until Friday 28.7.2023:
-
entf, labels?
-
Adi: manual tests, help for release
-
Thorben: intro tour done, User Study Preparations
-
Paul: read-only, Arbeit schreiben
-
Moritz: various fixes, debouncing, documentation, (open PRs prepare for merging)
-
Gabriel: preparation for squash, shade layer, docu+testprotocol for heatmap
-
Markus: release
-
Yvonne: sizes of plants
-
Lukas: documentation of infrastructure especially PermaplanT setup
-
(Christoph: sizes of plants, review DB)
-
(Samuel: NC hierarchy, UC photo layer)
Meeting Notes
-
Thesis:
-
British or American english, not mixed (American preferred)
-
Related work should showcase differences/what you did different
-
-
Release of 3.0 (hopefully) today
-
data should be persistent going forward
-
Heatmap and Introduction Tour kept as WiP
-
-
Final talk with code reading before graduation
-
Changelog:
-
map editor has now a grid layer
-
Base Layer connected to backend
-
file picker for background image on Base Layer
-
migrations are squashed and sanitized
-
various documentation improvements and bug fixes
-
Meeting 2023-07-31
Tasks for Everyone
To be done until Monday 31.7.2023:
- Please vote https://nextcloud.markus-raab.org/nextcloud/index.php/apps/polls/vote/24
- Help with release 0.3.1 https://github.com/ElektraInitiative/PermaplanT/issues/740
- Fix left-overs https://github.com/ElektraInitiative/PermaplanT/milestone/4
To be done until Friday 28.7.2023:
- Get current use cases (UC) done
- Write one page in submissions
- Update sprint plan
- Do at least 8 reviews of PRs in main repo or submissions
Individual Tasks
To be done until Friday 28.7.2023:
- Adi: manual+automatic tests
- Thorben: intro tour done, User Study done
- Gabriel: shade layer, docu+testprotocol for heatmap
- Paul: read-only, Arbeit schreiben
- Moritz: various fixes, debouncing, documentation, (open PRs prepare for merging)
- Markus: release
- Yvonne: sizes of plants
- Lukas: documentation of infrastructure especially PermaplanT setup
- (Christoph: review DB, sizes of plants)
- (Samuel: NC hierarchy, UC photo layer)
Attendees
- Paul
- Adi
- Moritz
- Christoph
- Markus
- Yvonne
Holidays:
- Samuel
- Giancarlo
Buddies
- Adi & Paul
- Moritz & Christoph
Agenda
PermaplanT
- 09:00 welcome
- protocol: Paul
- Wo stecke ich gerade?
- separates Treffen: Biologie
- Schreibtreffen
- thesis anschauen?
- Abschluss:
- thesis (matrnr, study code, title+abstract EN+DE)
- Code Reading
- community: reviews, documentation, helped others
- case study
- user study
- lessions learned of release & manual testing
- release process
- testing process
- security process
- regression tests
- git repo für scraper/data
- file per use case for testing?
- downtime of build server and www.permaplant.net on Thursday, 3rd of August, 19:00-20:00.
- projects
- 185.A28 PR Project in Computer Science 1 4.0h, 6.0EC
- 185.A29 PR Project in Computer Science 2 4.0h, 6.0EC
- unify debouncing
- update release todos
- 0.3.0 released, see Changelog
- weekly releases: 0.3.1 to be released today 31.07.2023
- sprint plan
- outlook
Outlook: Tasks for Everyone
To be done until Wednesday 2.8.2023:
- Please vote https://nextcloud.markus-raab.org/nextcloud/index.php/apps/polls/vote/24
- Help with release 0.3.1 https://github.com/ElektraInitiative/PermaplanT/issues/740
- Fix left-overs https://github.com/ElektraInitiative/PermaplanT/milestone/4
To be done until Friday 4.8.2023:
- Get current use cases (UC) done
- Write one page in submissions
- Update sprint plan
- Do at least 8 reviews of PRs in main repo or submissions
Individual Tasks
To be done until Friday 4.8.2023:
- Paul: read-only, Arbeit schreiben
- Adi: manual+automatic tests
- Moritz: heatmap, documentation
- Thorben: intro tour done, User Study done
- Lukas: unify PermaplanT setup
- Gabriel: shade layer, docu+testprotocol for heatmap
- Christoph: DB docu update, improve scraper, deutsche Namen, hierarchy
- Samuel: NC hierarchy, share base layer
- Markus: release
- Yvonne:
Meeting Notes
Größte Schwierigkeiten zur Zeit: Thorben: Einführungs-Tour Samuel: Will mit schriftlicher Arbeit fertig werden Paul: schriftliche Arbeit, offline mode Christoph: Hierachie der Daten, biologische Seite besser verstehen Adi: frontend testing, keine größeren Schwierigkeiten
Related Work: verallgemeinern wenn zu speziellem thema wenig literatur vorhanden ist.
unison file synchronizer (phd thesis)
Thesis struktur: case study vielleicht in intro nach art der benchmarks aufteilen
- methode
- resultat
- diskussion
user study: 2 teilnehmer bis jetzt ablauf: - karte erstellen - tour durchgehen (tour wird gerne unabsichtlich abgebrochen) - 20 minuten freestyle positives feedback
mehr regession tests vlt e2e tests auf jeden fall test protokoll
Meeting 2023-08-08
Tasks for Everyone
To be done until Wednesday 2.8.2023:
- Help with release 0.3.1 https://github.com/ElektraInitiative/PermaplanT/issues/740
- Fix left-overs https://github.com/ElektraInitiative/PermaplanT/milestone/4
- Please vote for code readings etc. https://nextcloud.markus-raab.org/nextcloud/index.php/apps/polls/vote/24
- Write if interested in projects:
- projekt neu 194.145 and 194.146
- 185.A28 PR Project in Computer Science 1 4.0h, 6.0EC
- 185.A29 PR Project in Computer Science 2 4.0h, 6.0EC
To be done until Friday 4.8.2023:
- Get current use cases (UC) done
- Write at least one page in submissions
- Update sprint plan
- Do at least 8 reviews of PRs in main repo or submissions
Individual Tasks
To be done until Friday 4.8.2023:
- Paul: read-only, Arbeit schreiben
- Adi: manual+automatic tests
- Moritz: heatmap, documentation
- Thorben: intro tour done, User Study done
- Lukas: unify PermaplanT setup
- Gabriel: shade layer, case study+docu+testprotocol for heatmap
- Christoph: DB docu update, improve scraper, deutsche Namen, hierarchy
- Samuel: NC hierarchy, (share) base layer
- Markus: release
- Yvonne:
Attendees
- Samuel (Protocol done)
- Adi
- Moritz
- Christoph
- Markus
Buddies
- Adi & Samuel (NC fixes)
- Moritz & Christoph (security/performance testing strategy)
Agenda
PermaplanT
- 09:00 welcome
- protocol: Samuel
- feedback/lessions learned
- duplicates
- bureaucracy
- Gabriel fertig
- case study
- projekt neu 194.145 and 194.146
- Mo vs Di Treffen?
- code quality within PRs, identified features and usability improvements in follow-up issues
- always write/update/ask implementation issues before starting working on them
- update release todos
- 0.3.1 and 0.3.2 released, see Changelog
- sprint plan
- outlook
Outlook: Tasks for Everyone
To be done until Friday 11.8.2023:
- Get current use cases (UC) done
- Write at least one page in submissions
- Update doc/authors.md and avatar in NC nextcloud/Public/Avatars/
- Write if interested in projects:
- projekt neu 194.145 and 194.146
- 185.A28 PR Project in Computer Science 1 4.0h, 6.0EC
- 185.A29 PR Project in Computer Science 2 4.0h, 6.0EC
- Update sprint plan
- Do in total ~80 reviews of PRs in main repo or submissions
Outlook: Individual Tasks
To be done until Friday 11.8.2023:
- Adi: NC config, finish Makefile, modularization, create/cleanup/prior CI issues
- Moritz: documentation, seeds, shade, polygon, (base layer)
- Christoph: plants hierarchy+overrides, security/keycloak roles strategy
- Samuel: NC hierarchy, (share) base layer, cleanup issues/PRs
Meeting Notes
Feedback: - same/conflicting information at different locations
Project: Look at new PR courses: 194.145 and 194.146 Project is work hour focused
What should be in PR what in follow up issues: - code quality issues or missing documentation in PR - functional extensions can be in follow up issues Guideline: repository should be in a better state after each PR
Write issues with specification before starting to work on it. Update issue description and ask if it is still correct/relevant before starting to work on it.
Hierarchy Implementation Proposal accepted.
Hierarchy extension: Plant icon name in database for different hierarchy levels. Frontend gets the icon name it should request from Nextcloud.
Meeting 2023-08-15
Tasks for Everyone
To be done until Friday 11.8.2023:
- Get current use cases (UC) done
- Write at least one page in submissions
- Update doc/authors.md and avatar in NC nextcloud/Public/Avatars/
- Write to Markus if interested in projects:
- projekt neu 194.145 and 194.146
- alt: 185.A28 PR Project in Computer Science 1 4.0h, 6.0EC
- alt: 185.A29 PR Project in Computer Science 2 4.0h, 6.0EC
- Update sprint plan
- Do in total ~80 reviews of PRs in main repo or submissions
Individual Tasks
To be done until Friday 11.8.2023:
- Adi: NC config, finish Makefile, modularization, create/cleanup/prior CI issues
- Samuel: NC hierarchy, (share) base layer, cleanup issues/PRs
- Moritz: documentation, seeds, shade, polygon, (base layer)
- Christoph: plants hierarchy+overrides, security/keycloak roles strategy
Attendees
- Samuel (Protocol done)
- Adi
- Moritz
- Christoph K. (Chris)
- Markus
- Yvonne
- Jannis
- Christoph N.
Buddies
- Adi & Samuel (NC fixes)
- Moritz & Christoph (security/performance testing strategy)
- Jannis & Christoph
Agenda
PermaplanT
- 09:00 welcome Jannis und Christoph N.
- plant hierarchy
- protocol: Adi
- expectations on thesis and teamwork
- Progress, Weekly Tasks & Surprises (Delay&Be faster)
- Quality&Code&Teamwork matters most
- Paper: less is more
- how to finish thesis:
- do all your tasks in good quality (don't create a personal backlog)
- create issues etc. early, think ahead of next tasks (critical chain)
- be a team-player, review others work, document for others and yourself (including Forschungstagebuch)
- and never forget your health comes first
- how to write a paper
- RQs
- related work
- define terms (first in glossary)
- English scientific technical text:
- avoid synonyms
- active voice (We..)
- short sentences
- avoid modal verbs (can, may, might), for probability see https://github.com/zonination/perceptions
- sprint plan
- outlook
Outlook: Tasks for Everyone
To be done until Friday 18.8.2023:
- Get current use cases (UC) done
- Update submission repo to be like described in submissions' README.md using PRs for reviewable parts (push moving of files etc.)
- Update doc/authors.md and avatar in NC nextcloud/Public/Avatars/
- Update sprint plan
- Do reviews of PRs in main repo and submissions
Outlook: Individual Tasks
To be done until Friday 18.8.2023:
-
Jannis: opensesame read from chat
-
Felix: opensesame get it running & case study
-
Adi: (starting with project) NC config, E2E coding guidelines, finish Makefile, create/cleanup/prior CI issues
-
Moritz: UC done (grid), seeds UC done, (polygon, base layer, shade)
-
Chris: plants hierarchy+overrides, (security/keycloak roles)
-
Samuel: PDF, UC done (visibility, login), NC hierarchy, (share) base layer, cleanup issues/PRs
-
Thorben: final submission thesis
-
Christoph: various small usability issues, copy&paste UC
Meeting Notes
Hierachy implementation
- Namen von Pflanzen
- Genus Species Varity Cultivar
- Brassica oleracea alba 'Filderkraut'
- Genus Species Cultivar
- Cucumis sativus 'Qualitas'
- Genus Species
- Vaccinium Patriot
For the new Hierachy implementation, a plant can be saved in any of these tables: species, variety and cultivar. It depends on their name. To determine the entry for the species, variety, we perform a majority analysis of our data to identify the most common data entries.
Bachelorarbeit - Critical Chains
Kurzes Paper, Qualität und Code sind wichtiger (auch Teamwork/Reviews). Critical Chain -> Vorausplanen. Sie sind unvermeidbar und müssen anfangen zu laufen, denn sie benötigen fixe Zeit. Christoph Kraus: Research Question, Security Strategie Moritz: Implementierung Samuel: Kleine rust critical chain Felix: Hardware, Feasibility statt Benchmark
How to Bachelorarbeit
Die Research Questions zu beantworten ist das Ziel des Papers. Introduction/Related work sind Nebenschauplätze. See https://github.com/ElektraInitiative/submissions/blob/master/unterlagen/recommended_writing_order.md
Terminologie wichtig einzuhalten und zu definieren. Im Rahmen einer Bachelorarbeit eher restriktiv. Kritisch: Research Questions -> Method -> Result Unkritisch: Abstract | Introduction | Conclusion |
Objektives und Subjektives klar trennen.
Scientific:
- Methode -> Algorithmus, wie sieht die Vorgehensweise der Arbeit aus. Wie werden Resultate generiert
- Results -> objektive beschreibungen, keine analyse, keine schlussfolgerung. Nur blanke daten, die von anderen reproduzierbar/beobachtbar sind.
- Conclusion/Discussion -> Eigene Meinung
Technical
- Eindeutig, klar und pregnant ausdrücken.
- Keine Synonyme, klare Terminologie.
- Meistens Hauptwörter.
- Active Voice "we".
- Kurze Sätze, keine modalen Wörter (U
cansee, U see).
Teamwork (20%)
- Dokumentation für andere (auch Vorteil für einen selber später)
- Reviews schreiben
Forschungstagebuch effektiv für das Schreiben der Arbeit. Gesundheit > Forschen
Weekly Recap
- Adi: CI/Testing - E2E Dokus
- Samuel: (verpasst, war am schreiben)
- Moritz: Älteres Feature fertig gemacht (Seeds edit/löschen)
- Christoph Kraus: Scraper/Datenbank/Security(Keycloak)
Meeting 2023-08-22
Tasks for Everyone
To be done until Friday 18.8.2023:
- Get current use cases (UC) done
- Update submission repo to be like described in submissions' README.md using PRs for reviewable parts (push moving of files etc.)
- Update doc/authors.md and avatar in NC nextcloud/Public/Avatars/
- Update sprint plan
- Do reviews of PRs in main repo and submissions
Individual Tasks
To be done until Friday 18.8.2023:
- Jannis: opensesame read from chat
- Felix: opensesame get it running & case study
- Adi: (starting with project) NC config, E2E coding guidelines, finish Makefile, create/cleanup/prior CI issues
- Moritz: UC done (grid), seeds UC done, (polygon, base layer, shade)
- Chris: plants hierarchy+overrides, (security/keycloak roles)
- Christoph: fix various small usability issues, copy&paste UC
- Samuel: (share) base layer, cleanup issues/PRs
- Thorben: final submission thesis, UC done, NC folder with user study data
- Paul: final submission thesis, read-only offline PR
Attendees
- Adi (Protocol done)
- Moritz
- Christoph K. (Chris)
- Christoph N.
- Jannis
- Markus
- Yvonne
Buddies
- Moritz & Chris
- Jannis & Christoph
- Adi & Felix
Agenda
PermaplanT
- 09:00 welcome
- buddy talk
- Protocol: Moritz
- Paul, Thorben, Samuel and Adi finished their thesis!
- English text:
- moodchanger
- FLOSS https://www.gnu.org/philosophy/floss-and-foss.en.html
- introduce terms (italics)
- project<->initiative
- Chapter~X
- do more reviews, that way you learn much more ways to express yourself
- outlook is commitment every week:
- your promise to be done
- must be clear to us both
- so that you don't delay your finish
- about 8 reviews
- daily pushes/issues/...
- opensesame:
- deb from build server
- async refactor
- more testing:
- scenarios in Gherkin
- start with writing scenarios
- integration tests (using https://mswjs.io/), e.g. writing a debounce test
snapshould test whole layers+pages (not individual components)- E2E tests
- Release:
- ready to merge
- rc-blocker issues
- release will be done by Adi
- guidelines:
- use tailwind CSS linter (extension)
- only use toasts for errors
- sprint plan
- outlook
Outlook: Tasks for Everyone
To be done until Friday 25.8.2023:
- Please vote in https://nextcloud.markus-raab.org/nextcloud/index.php/apps/polls/vote/25
- Buddy talk: Talk about your research questions
- Create a PR with tests
- Get current use cases (UC) done
- Update sprint plan
- Do reviews of PRs in main repo and submissions
Outlook: Individual Tasks
To be done until Friday 25.8.2023:
- Jannis: refactor framework, opensesame read from chat, issue erstellen setup
- Felix: opensesame get it running & case study
- Chris: scaper fertig, plants hierarchy+relations
- Moritz: selection, seeds UC done, polygon, page test, UC done (grid)
- Adi: (starting with project) E2E coding guidelines, finish Makefile, Lukas Agenda
- Lukas: NC (config), mdbook deployment
- Christoph: fix various small usability issues, copy&paste UC
Meeting Notes
Four team members finished their thesis.
Topic for buddies this week: research questions. Common mistakes in English text: mood changers: "on the other hand" is only used in whole phrases i.e. "on the one hand -> on the other hand". Use "But", "However" or paragraphs to indicate mood changes.
Open Source and Free Software is not quite the same:
- Free Software has its focus on free as-in-speech software+development (see FSF/Richard Stallman).
- Open-Source Software has its focus on practical utility and advantages of free licenses in software+development (see OSI).
- FLOSS, which contains both Free Software and Open-Source Software in its name, is the preferred term in scientific texts.
Shorthands: spell out the first time it is used e.g.: Free Software Foundation (FSF).
Project/Initiative: Project has a deadline, Initiatives do not.
"Figure~X" is always spelled with an Initial capital letter when it used for referencing a specific figure "X".
Meeting 2023-08-28
The meeting will be on Monday 9:00.
Tasks for Everyone
To be done until Friday 25.8.2023:
- Please give your vote in https://nextcloud.markus-raab.org/nextcloud/index.php/apps/polls/vote/25
- Buddy talk: Talk about your research questions
- Create a PR with tests (unit, integration or E2E)
- Get current use cases (UC) done
- Update sprint plan
- Do reviews of PRs in main repo and submissions
Individual Tasks
To be done until Friday 25.8.2023:
- Jannis: refactor framework, opensesame read from chat, issue erstellen setup
- Felix: opensesame get it running & case study
- Chris: scaper fertig, plants hierarchy+relations
- Moritz: selection, seeds UC done, polygon, page test, UC done (grid)
- Adi: (starting with project) E2E coding guidelines, finish Makefile, Lukas Agenda
- Lukas: NC (config), mdbook deployment
- Christoph: fix various small usability issues, copy&paste UC
Attendees
- Christoph N.
- Jannis
- Felix
- Markus
- Yvonne
War nicht da:
- Christoph K. (Chris)
- Adi (Protocol done)
- Moritz (Protocol done)
Buddies
- Moritz & Chris
- Jannis & Christoph
- Adi & Felix
Agenda
- 09:00 welcome
- Protocol: Christoph
- buddy talk
- Nextcloud app
- computer/hardware
- case study
- read guidelines, check them in code reviews
- cleanup branches or use separate repository
- free writing: choose a topic, write for at least fixed 10-20 minutes.
- hand stays in movement, no deletion
- don't worry about spelling or grammar
- look forward to next time
- testing decisions and strategy
- first define behavior using Gherkin
- 3.3 release
- sprint plan
- outlook
Outlook: Tasks for Everyone
To be done until Wednesday 30.8.2023:
- register in keycloak
- submit/finalize TISS.txt (Jannis, Christoph N., evtl. Felix)
- milestone update
To be done until Friday 1.9.2023:
- mind. 10min free writing
- Buddy talk: Talk about your case study
- Get current issues, PRs and use cases (UC) done
- Update sprint plan
- Do reviews of PRs in main repo and submissions
Outlook: Individual Tasks
To be done until Friday 1.9.2023:
-
Jannis&Felix: Schnittstellenbeschreibung, refactor framework für Wetterstation+sensors+buttons, opensesame read from chat, issue erstellen setup
-
Christoph: fix various small usability issues, copy&paste UC
-
Adi: E2E tests seeds, 3.3 release, finish Makefile, Lukas Agenda, Dockerfiles vereinheitlichen
-
Chris: scaper fertig, plants hierarchy+relations
-
Moritz: selection, seeds UC done, polygon, page test, UC done (grid)
-
Lukas: NC (config), mdbook deployment
Meeting Notes
-
buddy-meeting regarding RQs
-
communication via Nextcloud (markus and yvonne are there) or via discord who wants to
-
case study: mention in the contributions that we actually used the software for something real (e.g. a plant bed in case of PermaplanT) and not just used it randomly "for fun"
-
updated changelog.md now has to be part of every PR
-
Felix: use a picture of the set-up hardware and add it to the thesis
-
Christoph: add decision regarding test strategy for the frontend, especially integration testing
-
Jannis: keycloak registration (with real name)
-
Christoph+Jannis: add title and working abstract for TISS
-
OpenSesame: things that are not statically testable have to be reviewed and manually checked
How to get text to paper
Use Free Writing as a method
-
write by hand
-
reserve a timeslot (like 10-20min) and set a countdown
-
most important thing is to continuously write during this period and to not delete (strike-through) anything, just continue to write
-
usually trying to write grammatically correct sentences is often hindering and can anyway be done afterwards (also automatically by tools)
-
do not write result-oriented; usually a few ideas exist afterwards anyway, though that's not the main goal of this method
-
this is a technique purely to get text to paper and not to find a research question
-
Task till next meeting: try out "Free Writing" and talk about it
Meeting 2023-09-04
Tasks for Everyone
To be done until Friday 1.9.2023:
- Do minimum 10min free writing
- Buddy talk: Talk about your case study
- Get current issues, PRs and use cases (UC) done
- Update sprint plan
- Do reviews of PRs in main repo and submissions
Individual Tasks
To be done until Friday 1.9.2023:
- Jannis&Felix: Schnittstellenbeschreibung, refactor framework für Wetterstation+sensors+buttons, issue erstellen setup, (opensesame read from chat)
- Christoph: fix various small usability issues, copy&paste UC
- Adi: E2E tests seeds, 3.3 release, finish Makefile, split pre-commit for CI, Lukas Agenda, unify Dockerfiles
- Chris: scaper fertig, plants hierarchy+relations
- Moritz: selection, seeds UC done, polygon, page test, UC done (grid)
To be done for Jannis and Christoph N. until Wednesday 30.8.2023:
- submit/finalize TISS.txt
- register in keycloak
- Milestone plan update
Attendees
- Chris K.
- Jannis
- Felix
- Christoph N. (Protocol done)
- Adi (Protocol done)
- Moritz (Protocol done)
- Markus
- Yvonne
Buddies
- Moritz & Chris
- Jannis & Christoph
- Adi & Felix
Agenda
- 09:00 welcome
- welcome game
- Protocol: Chris K.
- buddy talk: case study
- frontend:
- discuss usability concepts (copy&paste, multi-selection, tablet, timeline, plant relation, ...)
- locators
- report about free writing
- Clustering/Mindmapping
- Format: Markdown/LaTeX
- task issues:
- should anticipate implementation challenges
- scope/further work should be clear
- "definition of done" for UC part of task
- specify backend tasks for Jannis
- progress visible only if tasks are also done
- create enough tasks to have regular progress and
- enough outlook (but not too much to not overwhelm you)
- 70/20/10 rule
- Socrates Questioning, see
unterlagen/socratic_questioning.md - 3.3 release
- sprint plan
- outlook
Outlook: Tasks for Everyone
To be done until Friday 8.9.2023:
- Submit RQs and do Socrates Questioning on your own and other RQs, see
unterlagen/socratic_questioning.md - Buddy talk: Talk about your methodolgy
- Get current issues, PRs and use cases (UC) done
- Create/update issues as needed for future tasks
- Update sprint plan
- Do reviews of PRs in main repo and submissions
Outlook: Individual Tasks
To be done until Friday 8.9.2023:
- Jannis&Felix: Schnittstellenbeschreibung, Ablauf bei Initialisierung und Fehler, refactor framework für buttons+Wetterstation+sensors, issue erstellen setup, opensesame read from chat
- Moritz: UC done (grid), seeds UC done, seeds page test, (polygon)
- Christoph: fix various small usability issues, copy&paste UC
- Jannis: backend tasks durchschauen
- Chris: scaper fertig, plants hierarchy+relations
- Adi: E2E tests seeds, 3.3 release, finish Makefile, Lukas Agenda
Meeting Notes
Wie ist es mit unseren Buddy Talk gegangen? Buddy Talks haben nicht stattgefunden. Wir sollen uns 10 Minuten einplanen für Free Writing zur Übung. Termin ausmachen zwischen Christoph, Markus und Yvonne wegen Usability.
Weitere Methoden statt freewriting: Mindmapping Clustering
Hilfreich um relation in seinem Thema zu finden.
Arbeit in Markdown(oder anderen Tools) schreiben ist auch okay, es muss nur ein pdf für TISS sein. Siehe die Arbeit von Nursultan als Beispiel.
Erstellung von Tasks rennt noch nicht so gut. Immer bevor wir implementierungs Tasks angehen, sollen wir ein Issue erstellen, welches beschreibt wie wir es angehen wollen. Die Hauptimplementation Challenges sollen beschrieben werden. Es sollen keine zusätzlichen Sachen eingefügt werden, die nicht besprochen wurden. In-Scope bleiben, wenn notwendig eigene Issues anlegen. Gäniges Problem, sachen werden nicht ganz zu Ende gemacht, einzelne Sachen von Implementierungen fehlen noch. Man soll ein Issue mit abschließenden Tasks dazu erstellen, falls es dazu kommt. Gegenseitig Issues erstellen kann vorteilhaft sein.
Research Questions, falls wir keine haben, sollen wir uns noch überlegen. Von Sokrates gibt es eine Methode, im Submission repo (/unterlagen) gibt es dazu eine Erklärung. PRs von anderen Leuten kontrollieren und RQ evaluieren.
Bei RQ ist es wichrtig das es nicht nur eine Ja/Nein Antwort darauf gibt (offene Frage), und das es eine Methodik gibt, die diese Frage beantwortet. Mit welcher Software, mit welchen Schritten habe ich meine RQ analysiert und beantwortet. Statt einer RQ kann man auch eine Hypothese aufstellen. RQ haben sich mittlerweile etabliert. Pause für openseasam 9:51-10:05
Meeting 2023-09-11
Tasks for Everyone
To be done until Friday 8.9.2023:
- Submit RQs and do Socrates Questioning on your own and other RQs, see
unterlagen/socratic_questioning.md - Buddy talk: Talk about your methodology
- Get current issues, PRs and use cases (UC) done
- Create/update issues as needed for future tasks
- Update sprint plan
- Do reviews of PRs in main repo and submissions
Individual Tasks
To be done until Friday 8.9.2023:
- Jannis&Felix: Schnittstellenbeschreibung, Ablauf bei Initialisierung und Fehler, refactor framework für buttons+Wetterstation+sensors, issue erstellen setup, opensesame read from chat
- Moritz: UC done (grid), seeds UC done, seeds page test, (polygon)
- Christoph: fix various small usability issues, copy&paste UC
- Jannis: backend tasks durchschauen
- Chris: scaper fertig, plants hierarchy+relations
- Adi: E2E tests seeds, 3.3 release, finish Makefile, Lukas Agenda
Attendees
- Jannis
- Christoph N. (Protocol done)
- Adi (Protocol done)
- Moritz (Protocol done)
- Markus
- Yvonne
Did not attend:
- Chris K. (Protocol done)
Buddies
- Moritz & Chris
- Jannis & Christoph
- Adi & Felix
Agenda
- 09:00 welcome
- word game
- Protocol: Jannis
- 3.3 release: seeds
- Buddy talk: methodology
- PRs:
- quickly review+quickly fix changes
- resolve done review points
- put all reviews together in one commit
- rerequest reviews on fixes
- add
#to changelog
- Socrates Questioning, see
unterlagen/socratic_questioning.md - use cases, behavior driven, implementation issues
- sprint plan
- Mon&Tue Markus not available
- then a bit refactoring
- outlook
Outlook: Tasks for Everyone
To be done until Friday 15.9.2023:
- cloud.perma.health migration: copy data to keycloak auth cloud.perma.health account
- Submit RQs and do Socrates Questioning on your own and other RQs, see
unterlagen/socratic_questioning.md - Buddy talk: Talk about Reviews/PRs
- Get current issues, PRs and use cases (UC) done
- Create/update issues (behavior driven) as needed for future tasks
- Update sprint plan
- Do reviews of PRs in main repo and submissions
Outlook: Individual Tasks
To be done until Friday 15.9.2023:
- Jannis&Felix: Schnittstellenbeschreibung, Ablauf bei Initialisierung und Fehler, refactor framework für buttons+Wetterstation+sensors, issue erstellen setup, opensesame read from chat
- Christoph: visibilty bug, multi-select, copy&paste UC preparations
- Moritz: seeds UC done, seeds page test, finish grid UC
- Chris: scaper fertig, plants hierarchy+relations
- Adi: E2E seeds tests, 3.3 release, finish Makefile
refactoring
Meeting Notes
-
Search does not work with full names => currently not urgent
-
difference between method and methodology not relevant for us
-
PR should be short-lived because they affect others, timeframe of one week, bundle suggestions logically or by reviewer
-
feature requests / new ideas in PRs:
- userstory / idea not clear before implementations
- not every question in a request for the current PR
- bigger changes in follow-up PR
-
Use Socratic Questioning to improve research questions
-
selection vastly improved
-
pending: 3 different assets folders in frontend
-
buddy talk: Review PR together, talk about PR experience
-
Make behaviour driven issues
-
Opensesame: bring async refactor to an exceptable state until next week, difficulties:
-
libmobus / config are not sendable between threads
-
signals are not implemented in tokio
-
ssh needs to be tested
-
-
Either copy-paste and multiselect is needed.
-
Release today if no critical bug
Meeting 2023-09-18
Attendees
- Adi
- Moritz
- Felix
- Jannis
- Christoph N.
- Markus
- Yvonne
Could not attend:
- Giancarlo
- Chris K.
Buddies
- Moritz & Chris
- Jannis & Christoph
- Adi & Felix
Agenda
-
09:00 welcome
-
Permaculture Principles Part I
-
Protocol: Adi
-
Buddy talk, was methodology, will be "problem is the solution"
-
3.3 release done: seeds
-
finalize seed use case:
- seed search
- additional name everywhere
-
create PRs earlier to clarify updates to UC etc.
-
outlook
Tasks for Everyone
To be done until Friday 22.9.2023:
- Get current issues, PRs and use cases (UC) done
- Buddy talk: Talk about permaculture principle "problem is the solution"
- Create/update issues (behavior driven) as needed for future tasks
- submit one page of text, maybe from free writing
- Update sprint plan
- Do reviews of PRs in main repo and submissions
Individual Tasks
To be done until Friday 22.9.2023:
- Felix: (1) Module, Initialisierung, Sender+Receiver, Schnittstellenbeschreibung ohne Fehler, Trait Send impl, method for testing (2) Shutdown&Watchdog&Fehler&Pipes overruns, finish refactor
- Christoph: search improvements, multi-select UC erstellen, copy&paste UC split, usability guidelines, restore-viewing-state UC (decision: Zustand persist)
- Moritz: seeds search, seeed UC done, seeds page test
- Adi: E2E seeds tests, finish Makefile
- Chris: scraper fertig, plants hierarchy+relations
Meeting Notes
Buddy Talk
Talk about "Problem is the Solution"
Next Goals
- Connect seeds (better) with map page
- Remove seeds fold
- Two search functions (one for plants, one for seeds)
- Complete + additional names as search result for seeds
- Hover -> Complete + additional name
- Left Bar -> Complete + additional name
Continuous Integration
- Push/Commit frequently so you can get feedback
- Small PR's (Test-driven or Document-driven)
- Request feedback from buddies
Opensesame
- Modularization(all modules) + event-driven
- Testing is not complete yet
- What happens if the buffer/queue is full and the receiver is offline?
- Name collision
send
Has been done
Christoph
- Search function + Frontend tests
- Selection bug fixes
- Copy & Paste usecase -> to doc/research
- Zustand library
persist
Moritz
- Seed overview + bugfixes
- Sqlviews in rust (Collaborate with Christoph)
- Diesel queries
Adi
- Release
To be done
Everyone
- Thesis: One page free writing -> but submit in reworked (not free written) form
Christoph
- Write use cases
- Seed search functionality on plant layer (remove folding) #913
Moritz
- Seed search
- Search results sort by dates
Adi
- Finish Seed tests
- Finish makefile
Meeting 2023-09-25
Attendees
- Markus
- Yvonne
- Daniel
- Adi (protocol done)
- Moritz (protocol done)
Did not attend:
- Christoph N.
- Chris K.
- Jannis
- Felix
Buddies
- Moritz & Chris
- Adi & Felix
- Jannis & Christoph
- Daniel & Adi (Beginn)
Agenda
- 09:00 welcome
- Buddy talk, was "Problem is the Solution"
- Permaculture Principles Part II
- Protocol: Moritz
- 3.4 release, finalize seed use case:
- seed search
- additional name everywhere
- sprint plan
- outlook
Upcoming Meetings
Infrastructure Meetings:
- 26.9.2023 15:00, with Adi and Lukas
- 24.10.2023 15:00, additionally with Daniel and Chris
Tasks for Everyone
To be done until Friday 29.9.2023:
- Get current issues, PRs and use cases (UC) done
- Buddy talk: milestones, intro in PermaplanT/Submission
- Create/update issues (behavior driven) as needed for future tasks
- submit one page of text, maybe from free writing
- Update sprint plan
- Do reviews of PRs in main repo and submissions
Individual Tasks
To be done until Friday 29.9.2023:
-
Daniel: intro tasks, submissions, use cases
-
Adi: E2E seeds tests
-
Moritz: seeds search, seed UC done, seeds page test
-
Felix: (1) Module, Initialisierung, Sender+Receiver, Schnittstellenbeschreibung ohne Fehler, Trait Send impl, method for testing (2) Shutdown&Watchdog&Fehler&Pipes overruns, finish refactor
-
Christoph: search improvements, multi-select UC erstellen, copy&paste UC split, usability guidelines, restore-viewing-state UC (decision: Zustand persist)
-
Chris: scraper fertig, plants hierarchy+relations
Meeting Notes
Goal for this week: Finish and Release Seed use case. What was done last week: Christoph managed to fix a tricky Bug regarding search fields being cleared implicitly. Adi improved makefile dependencies. Moritz worked on various bugs and improvements on the seeds page.
Meeting 2023-10-02
Attendees
- Markus
- Yvonne
- Daniel (protocol done)
- Adi (protocol done)
- Moritz (protocol done)
- Jannis
- Felix
Could not attend:
- Christoph N.
- Chris K.
Buddies
- Moritz & Chris
- Adi & Felix
- Jannis & Christoph
- Daniel & Jannis (Milestone)
- Moritz & Adi (Locators)
Agenda
- 09:00 welcome: thumbs up/down
- Protokol: Daniel
- Buddy talk, was "milestones"
- 3.4 release, finalize seed use case:
- seed search
- additional name everywhere
- sprint plan
- outlook
Tasks for Everyone
To be done until Friday 06.10.2023:
- Get current issues, PRs and use cases (UC) done
- Write or implement together with buddy
- Create/update issues (behavior driven) as needed for future tasks
- Update sprint plan
- Do reviews of PRs in main repo and submissions
Individual Tasks
To be done until Friday 06.10.2023:
- Felix: Modul Dokumentation, Fehler, Schnittstellenbeschreibung mit Fehler, Shutdown&Watchdog Beschreibung, issues für sonstige Probleme
- Moritz: additional name fix, seeds search, seed UC done, (refactoring)
- Daniel: intro tasks, submissions, use cases, 4 issues
- Adi: fix master, (E2E seeds/concurrency tests, locator guidelines)
- Jannis: milestone plan, Dockerfile neues Rust, 2 first PermaplanT issues
- Christoph: search improvements, multi-select UC erstellen, copy&paste UC split, usability guidelines, restore-viewing-state UC (decision: Zustand persist)
- Chris: scraper fertig, plants hierarchy+relations
Meeting Notes
Milestone plans:
- Daniel: has to write milestone plan for implementation and thesis
- Felix: case study has to be written, everything is tested, close to finish
- Jannis: wants to start with PermaplanT
- Moritz: make plan for further tasks and milestones
- Jannis & Daniel: will meet to talk about organisation and milestones
Tasks:
- Jannis: will test new rust version, language bug for plant search
- Moritz: fix names of plants, seed search
- Daniel: analyse timeline usecases and refine, tasks from Github
- Adi: e2e test strategy for database cleanup
Meeting 2023-10-09
Attendees
- Markus
- Yvonne
- Daniel (protocol done)
- Adi (protocol done)
- Moritz (protocol done)
- Christoph N.
- Chris K.
- Felix
Cannot attend:
- Jannis
Buddies
- Moritz & Chris
- Adi & Felix
- Jannis & Christoph
- Daniel & Jannis (Milestone)
- Moritz & Adi (Locators)
Agenda
- 09:00 welcome
- case study
- Protocol: Christoph N.
- Buddy coding/writing sessions?
- I added unterlagen/english.md for you
- planning:
- How to write a milestone plan: Granularity, Realism
- also plan for unexpected: helping others, urgent tasks (broken master etc.)
- weekly tasks should be detailed
- important: regular submissions, stay on track
- submissions: always create PRs, close them soon
- architecture, decisions
- Priorities:
- urgent/release critical tasks
- get PRs merged
- finish UC
- start new tasks/UC
- 3.4 release, finalize seed use case:
- fix plant search
- release
- refactor
- sprint plan
- outlook
Tasks for Everyone
To be done until Friday 13.10.2023:
- Read unterlagen/english.md and submit a (short) text
- buddy talk: case study
- Get current issues, PRs and use cases (UC) done
- Create/update issues/tests (behavior driven) as needed for future tasks
- Update sprint plan
- Do reviews of PRs in main repo and submissions
Individual Tasks
To be done until Friday 13.10.2023:
- Felix: Modul Dokumentation, Fehler, Schnittstellenbeschreibung mit Fehler, Shutdown&Watchdog Beschreibung/Drop, issues für sonstige Probleme
- Moritz: additional name fix, seeds search, seed UC done, refactoring, issue seeds on the map
- Daniel: create issues (backend, sql query), keybinding+notes decisions/concept, impl notes?
- Christoph: UC merge, usability guidelines, PR seed search?, submission repo
- Adi: help fix master, release, (E2E seeds/concurrency tests, locator guidelines)
- Chris: scraper fertig, plants hierarchy+relations
- Jannis: milestone plan, Dockerfile neues Rust, 2 first PermaplanT issues
Meeting Notes
- Typical erros when writing the thesis are summarized in unterlagen/english.md
Milestones
- should be different from the weekly plan
- cornerstones should be listed like results and methods
- consider a buffer due to occurences of unexpected problems
- less milestones preferable
- adi's experience: biggest effort was in the beginning finding the RQs and in the end revising the whole thesis
- most important thing is to regularly be busy with the thesis and implementation
- closing PRs is always very important
- creating new leftovers from existing PRs (instead of squeezing it in) helps to finish existing PRs
Architecture and Decisions
- important to identify the main components of an application/system and differentiate from details like interfaces
- decisions regarding architecture are essential
- solutions and guidelines is something which needs constant adaptations
General
- Release critical issues and PRs have highest priority
- General guideline is to first finish things instead of opening new stuff
Current issues
Frontend Restructuring
- try to move svg's into src/icons folder and see how it goes
- in case there is a location problem with e.g. the favicon, it is okay to have single icons in the public folder
Seed Search
- (markus + yvonne) discuss and find a solution on how to best present and potentially combine the plant- and seed-search
- seeds have no physical size, can be a literal seed but also a full plant; seeds simply resemble the genetical material of a plant
Meeting 2023-10-16
Attendees
- Markus
- Yvonne
- Daniel
- Adi
- Moritz
- Christoph N.
- Chris K.
- Jannis
- Felix
Buddies
- Moritz & Chris K.
- Jannis & Christoph N.
- Adi & Daniel
Agenda
- 09:00 welcome, high-five
- Felix nearly done
- Protocol: Jannis
- buddy talk: case study
- PermaplanT 1.0
- no tablet support but multi-browser
- no offline support but collaboration
- no range selection but timeline
- no alternatives but creation of layers
- reduce to essential layers
- PermaplanT 0.3.5
- fix planting of seeds (mark with envelope in common search)
- usability improvements (multi-select, sizes of plants)
- sprint plan
- estimation of use case complexity
- outlook
Tasks for Everyone
To be done until Friday 20.10.2023:
- submit a (short) text in submissions
- buddy talk
- Get current issues, PRs and use cases (UC) done
- Create/update issues/tests (behavior driven) as needed for future tasks
- Update sprint plan
- Do reviews of PRs in main repo and submissions
Individual Tasks
To be done until Friday 20.10.2023:
- Felix: Modul Dokumentation, Schnittstellenbeschreibung mit Fehler, Shutdown&Watchdog Beschreibung/Drop, fix issues
- Jannis: finish NC chat+online status, milestone plan, Dockerfile neues Rust, 2 first PermaplanT issues
- Moritz: seeds search, seed UC done, issue seeds on the map, (base layer auto?)
- Daniel: keybinding+timeline decisions/concept, impl notes?
- Christoph: UC merge, usability guidelines, (PR seed search), ctrl+shift als issue, issues
- Adi: nur E2E: seeds tests, exceptions, concurrency
- Chris: scraper fertig, plants hierarchy+relations
Meeting Notes
Layer state management is the most complex aspect of the PermaPlanT frontend right now due to the collaboration feature.
Copy&Paste collaboration feature is too complex as just another use case => needs to be split up.
Number of layers restricted by library konva, they recommend only a few (4-5) layers. This is a problem before we add more layers. Konva does offer groups with simillar API to layers. Issue #952
Judge complexity in fibonachi number story points. Story points are not mapp
Meeting 2023-10-23
Attendees
- Markus
- Yvonne
- Adi
- Moritz
- Christoph N.
- Daniel (Protocol done)
- Jannis (Protocol done)
Not here:
- Chris K.
Buddies
- Moritz & Chris K.
- Jannis & Christoph N.
- Adi & Daniel
Agenda
-
09:00 permaculture principles
-
Protocol: Daniel
-
Felix finished!
-
praise:
- great questions by everyone
- excellent reviews by Christoph
-
empty plant menus:
- Do we wanna inform the user when he has no seeds, as we do now (in prod)?
- Do we wanna offer him the possibility, via some action link, to go directly to the seeds page to create some, as we do now (in prod)?
-
improving communication: issues describing what you want to do
-
event handling:
- Where to bind keylisteners (especially for konva layers)?
-
framework scope
-
focus -> standard
-
forms?
- Should we type available keys and actions (enums?, constants?)?
- Do we want to use https://www.npmjs.com/package/react-hotkeys-hook? -> rather not, concept first
-
reihenfolge: #1000 merge?
-
nicht zu sehr auf esc
-
PermaplanT 0.3.5
- fix planting of seeds
- usability improvements (multi-select, sizes of plants)
-
outlook
Tasks for Everyone
To be done until Friday 27.10.2023:
- submit a (short) text in submissions
- buddy talk
- Get current issues, PRs and use cases (UC) done
- Create/update issues/tests (behavior driven) as needed for future tasks
- Update sprint plan
- Do reviews of PRs in main repo and submissions
Individual Tasks
To be done until Friday 27.10.2023:
-
Felix: fertig
-
Jannis: finish NC chat, milestone plan, Dockerfile neues Rust, 2 first PermaplanT issues
-
Moritz: layers vs. groups, issue seeds on the map, base layer auto, (snap tests)
-
Christoph: usability guidelines, multi-select UC, issues von user studie erstellen
-
Daniel: keybinding+timeline decisions/concept, notes+prototyping, refactoring
-
Adi: PRs abschließen, E2E merge: seeds tests, exceptions, concurrency
-
Chris: scraper fertig, plants hierarchy+relations
Meeting Notes
permaculture principles examples: - Yvonne: composting can be accelerated by higher temperature; efficient distances - Markus: speak about details to define clear issues; use time and personal energy efficiently - Adi: automation (pipelines, tests) - Christoph: push every day - Moritz: keep on working every day
event handling discussion - we use one single json (source of truth) for keybindings (Actions as key and shortcuts as value) - in keyhandlers for konva it has to be checked if corresponding layer is active - html element should be passed to hook - Daniel will update decision
layers vs groups - nothing done yet
design guidlines
- if rules are broken a comment should be added that explains de decision
Meeting 2023-10-30
Attendees
- Markus
- Yvonne
- Moritz
- Samuel
- Christoph N. (3x Protocol done)
- Daniel (Protocol done)
- Jannis (Protocol done)
Not here:
- Adi
- Chris K.
Buddies
- Moritz & Chris K. & Samuel
- Jannis & Christoph N.
- Adi & Daniel
Agenda
- 09:00 welcome, introduce each other
- Protocol: Christoph N.
- PermaplanT 0.3.5
- fix planting of seeds
- usability improvements (multi-select, sizes of plants)
- Conclusions/current state of:
- UI guidelines
- listeners
- key bindings
- layers vs. groups -> change to groups
- sprint plan
- outlook
Tasks for Everyone
To be done until Friday 3.11.2023:
- PRs review and merge
- review of guidelines
- buddy talk about guidelines
- get current issues, PRs and use cases (UC) done
- create/update issues/tests (behavior driven) as needed for future tasks
- update sprint plan
- do reviews of PRs in main repo and submissions
- Submit a (short) text in submissions
Individual Tasks
To be done until Friday 3.11.2023:
- Moritz: issue seeds on the map, naming, groups PR, base layer auto, snap tests
- Christoph: multi-select extensions (ctrl/shift), area of plants, issues von user studie erstellen
- Jannis: finish NC chat, milestone plan, Dockerfile neues Rust, mehrjährige pflanzen, remove variety
- Daniel: keybinding+timeline decisions/concept, notes+prototyping, refactoring
- Samuel: review UI guidelines&PRs, landing page for mobile
Not here:
- Chris: scraper fertig, plants hierarchy+relations
- Adi: PRs abschließen, E2E merge: seeds tests, exceptions, concurrency
Meeting Notes
TODOs for upcoming release
- Fix plant naming
- Various usability improvements
Misc
-
UI/Usability guideline:
- reviews
- guidelines not set in stone
- need to be constantly adapted and enhanced
-
Keybindings:
- try to reduce to 2 layers max: top level (global, layers, etc.) and second level (actions)
- developer info section (top level) for shortcuts which should never be customized
-
Layers vs Groups:
- performance-wise no difference at page load (a few milliseconds)
- tested with a few thousands nodes
- tendentially better performance with groups (~50ms)
- functionality still working
- future plan: test with many more layers
- conclusion: (more than likely) go with groups
Meeting 2023-11-06
Attendees
- Markus
- Yvonne
- Moritz
- Daniel (Protocol done)
- Adi
Not here:
- Samuel
- Jannis (Protocol done)
Buddies
- Moritz & Samuel
- Jannis & Christoph N.
- Adi & Daniel
Agenda
- 09:00 welcome, mood
- Christoph N. nearly finished
- buddy talk
- Protocol: Moritz
- PermaplanT 0.3.5
- fix planting of seeds
- usability improvements and multi-select
- Conclusions/current state of:
- UI guidelines (reviews missing)
- key bindings
- layers vs. groups -> change to groups
- PRs review and merge
- sprint plan
- outlook
Tasks for Everyone
To be done until Friday 10.11.2023:
- vote for https://nextcloud.markus-raab.org/nextcloud/index.php/apps/polls/vote/27
- review of guidelines
- get current issues, PRs and use cases (UC) done
- create/update issues/tests (behavior driven) as needed for future tasks
- do/update sprint plan
- do reviews of PRs in main repo and submissions
- submit a (short) text in submissions
Individual Tasks
To be done until Friday 10.11.2023:
-
Daniel: keybinding decisions/concept+refactoring, refactoring, plant notes, prepare timeline for feedback
-
Moritz: finish PRs snap tests #1038, base layer finish (scaling, polygon)
-
Adi: master fix, timeline fix, Release Prep, E2E merge: seeds test
Not here:
- Jannis: finish NC chat, milestone plan, Dockerfile neues Rust, mehrjährige pflanzen, remove variety
- Samuel: reviews, landing page for mobile
- Chris: scraper fertig, plants hierarchy+relations
Meeting Notes
Regarding the next release:
The following PRs should be included:
421 Keybinding refactoring.
Markdown editor in seeds page.
Base Layer auto scaling
Usability guideline; it has to be reviewed by all team members before merging.
The following major PRs/issues have been completed:
Seeds can now be planted on the map.
Usability improvements by Christoph
There are still a few open PRs assigned to Christoph.
These should be fixed by the remaining team.
Layers or the map planning system should be refactored to be more testable.
Meeting 2023-11-13
Attendees
- Markus
- Yvonne
- Moritz (Protocol done)
- Daniel (Protocol done)
- Adi
- Samuel
Not here:
- Jannis (Protocol done)
Buddies
- Moritz & Samuel
- Adi & Daniel & Jannis
Agenda
- 09:00 welcome, mood
- Christoph N. finished
- buddy talk
- Protocol: Adi
- questions:
- did scaling change?
- timeline:
- presentation
- feedback
- workflow for reviews
- PermaplanT 0.3.5 released!
- please rebase PRs
- weekly tasks:
- always review meeting notes afterwards
- https://nextcloud.markus-raab.org/nextcloud/index.php/apps/polls/vote/27
- Conclusions/current state of:
- UI guidelines (reviews missing)
- key bindings
- layers vs. groups -> change to groups
- PRs review and merge
- sprint plan
- outlook
Tasks for Everyone
To be done until Friday 17.11.2023:
- vote for https://nextcloud.markus-raab.org/nextcloud/index.php/apps/polls/vote/27
- buddy topic: guidelines
- review of meeting PR
- get current issues, PRs and use cases (UC) done
- create/update issues/tests (behavior driven) as needed for future tasks
- do/update sprint plan
- do reviews of PRs in main repo and submissions
- submit a (short) text in submissions
Individual Tasks
To be done until Friday 17.11.2023:
- Daniel: refactoring merge, plant notes (guideline), timeline, warning, issues update
- Moritz: finish PRs snap tests #1038, base layer finish (scaling, polygon)
- Adi: E2E merge: seeds test, flaky test, Release Prep
- Samuel: reviews, landing page for mobile
Not here:
- Jannis: finish NC chat, milestone plan, Dockerfile neues Rust, mehrjährige pflanzen, remove variety
- Chris: scraper fertig, plants hierarchy+relations
Meeting Notes
Timeline
- problem with notes in multiselect, needs visual representation&warning if data differs
- add two more icon state for debouncing indicator:
- yellow triangle as warning if changes might have unwanted effects
- red cross if query failed
- jumping from 30/31th to february and then back, what happens? should pick last day
- set back to normal opacity so charts can be seen better
- maybe collapsable timeline? -> generally liked, but is a new feature
- maybe have a select box to disable the diagrams -> rather not
Tasks done
- Adi:
- 0.3.5 released
- E2E disabled on master
- Daniel:
- Keybindings: different modifiers (alt, shift, ctrl)
- Moritz:
- repeated error toasts
- plants connected with seeds
To do
(Also see above in "Individual Tasks" and issue tracker)
- Daniel:
- finish timeline first usecase
- backend issue for timeline
- write guideline on how to properly do the multiselect
- layer warning (bad neighbours)
- Moritz:
- conva max layers
- snaptests polygon
- additional name (bug) when planting from inventory
- Adi:
- Finish seed tests
- Close open PR's
- Eventually release at the end of the week
- Samuel:
- Reviews
- Fix slider bug
- Grabbing cursor
Meeting 2023-11-20
Attendees
- Markus
- Yvonne
- Moritz (Protocol done)
- Adi (Protocol done)
- Jannis (Protocol done)
- Samuel
Not here:
- Daniel (Protocol done)
Buddies
- Moritz & Samuel
- Adi & Daniel & Jannis
Agenda
- 09:00 welcome, mood
- buddy talk
- Protocol: Samuel
- Reinsaat.at, Paul
- 0.3.6 release today?
- terminology for UI:
- left, right top/down toolbar (context)
- toasts
- status panel
- no title attributes? #1061
- Navigation Bar
- tailwind CSS linter
- write good code comments:
- small functions
- functions with design by contract
- assertions
- nicely written comments
- rationale (Konva)
- weekly tasks:
- always review meeting notes afterwards
- https://nextcloud.markus-raab.org/nextcloud/index.php/apps/polls/vote/27
- sprint plan
- outlook
Tasks for Everyone
To be done until Friday 24.11.2023:
- vote for https://nextcloud.markus-raab.org/nextcloud/index.php/apps/polls/vote/27
- buddy topic: code improvements, comments
- do/update sprint plan
- tailwind CSS linter (frontend) #1073
If possible/needed, do:
- create/update issues/tests (behavior driven) as needed for future tasks
- get current issues, PRs and use cases (UC) done
- review of meeting PR https://github.com/ElektraInitiative/PermaplanT/pull/1072/files
- do reviews of PRs in main repo and submissions
- submit a (short) text in submissions
Individual Tasks
To be done until Friday 24.11.2023:
- Jannis: push draft NC chat, PermaplanT: de+en plant names, (mehrjährige pflanzen, remove variety)
- Samuel: reviews, help others, ranking/language/tooltips
- Moritz: polygon, snap tests with Samuel
- Adi: flaky tests, release
Not here:
- Daniel: prepare for merges (timeline etc.), issues updates
- Chris: scraper fertig, plants hierarchy+relations
Meeting Notes
release talk
Adi review of moritz PR for release merge tests and then 'Fix full plant name not shown. #1063'
Naming
- Status Panel - Timeline
Linting have a look at tailwindcss eslint plugin and tailwindcss intellisense for VSCode
Code Comments
Sometimes useful to add rationales and link issues of external repos if that is the reason for a workaround.
Weekly tasks
Try to do all of the weekly tasks each week! Always look in meeting protocol what the tasks are.
What happened this week
Samuel: full page navbar for mobile, plant icon at cursor while planting (almost done), slider bugfix. Moritz: refactored/reworked base layer form Adi: some E2E seed tests implemented some are left for upcoming week
Meeting 2023-11-27
Attendees
- Markus
- Yvonne
- Jannis
- Daniel
- Adi
- Moritz
- Samuel
Buddies
- Moritz & Samuel
- Adi & Daniel & Jannis
Agenda
- 09:00 welcome, mood
- Protocol: Jannis
- Paul
- 0.3.7 release
- buddy talk code comments
- tailwind CSS linter
- weekly tasks:
- always review meeting notes afterwards
- sprint plan
- outlook
Tasks for Everyone
To be done until Friday 1.12.2023:
- buddy talk topic: How are you?
- do/update sprint plan
- approve meeting notes, check for requested reviews https://github.com/ElektraInitiative/PermaplanT/pulls?q=is%3Apr+is%3Aopen+user-review-requested%3A%40me
If possible/needed, do:
- create/update issues/tests (behavior driven) as needed for future tasks
- get current issues, PRs and use cases (UC) done
- review of meeting PR https://github.com/ElektraInitiative/PermaplanT/pull/1072/files
- do reviews of PRs in main repo and submissions
- submit a (short) text in submissions
Individual Tasks
To be done until Friday 1.12.2023:
- Daniel: timeline mergen, UC issues weiter
- Jannis: push draft NC chat, PermaplanT: de+en plant names, (mehrjährige pflanzen, remove variety)
- Samuel: reviews, help others, ranking/language/tooltips, docu tests
- Moritz: polygon, snap tests with Samuel, broadcasting issue für Paul, (group instead of layers)
- Adi: e2e with Samuel
Not here:
- Chris: scraper fertig, plants hierarchy+relations
Meeting Notes
- Plants with is_tree should get a different icon (wavy lines).
- CSS tailwind parser needs more time for conclusion.
- changing to new test framework, Samuel should document outcome.
- Zoom in map editor should be different maybe faster steps per zoom as easiest solution.
Meeting 2023-12-04
Attendees
- Markus
- Yvonne
- Daniel
- Moritz
- Samuel
Not here:
- Jannis (Protocol done)
Buddies
- Moritz & Samuel
- Daniel & Jannis
Agenda
- 09:00 welcome, associations
- Protocol: Daniel
- buddy talk "How are you"
- tailwind CSS linter v2
- ! we update to rust 1.74, do
rustup update - more consolidated REST APIs
- weekly tasks:
- always review meeting notes afterwards
- sprint plan
- outlook
Tasks for Everyone
To be done until Friday 8.12.2023:
- buddy talk topic: reviews+get PRs merged
- do/update sprint plan
- approve meeting notes, check for requested reviews https://github.com/ElektraInitiative/PermaplanT/pulls?q=is%3Apr+is%3Aopen+user-review-requested%3A%40me
If possible/needed, do:
- create/update issues/tests (behavior driven) as needed for future tasks
- get current issues, PRs and use cases (UC) done
- review of meeting PR https://github.com/ElektraInitiative/PermaplanT/pull/1072/files
- do reviews of PRs in main repo and submissions
- submit a (short) text in submissions
Individual Tasks
To be done until Friday 8.12.2023:
- Daniel: timeline mergen, REST APIs def, UC issues weiter, review polygon
- Samuel: reviews, help others, ranking/language/tooltips, documentation of unit tests
- Moritz: polygon, snap tests with Samuel, group instead of layers
- Jannis: push draft NC chat, PermaplanT: de+en plant names, (mehrjährige pflanzen, remove variety)
Meeting Notes
- warnings layer: backend implementation will be done first, warnings are generated in backend. Issue for backend is to be created.
- labels should always be shown in forms
- planting: it would be nice if planted plant could be resized before next plant is planted in planting mode. If this is not possible, selection is not necessary at all.
- polygons: feature looks great, should be reused for drawing layer
- tailwind linter won't be added to CI for now. However, frontend devs should install it locally.
- Rust version has to be updated locally
- There seems to be a problem with our react hooks so that calls are done too often. We will investigate this if performace issues occur. New code should already be written with more care.
Meeting 2023-12-11
Attendees
- Markus
- Yvonne
- Moritz
- Daniel (Protocol done)
Not here:
- Samuel
- Jannis (Protocol done)
Buddies
- Daniel & Moritz
- Moritz & Samuel
- Daniel & Jannis
Agenda
- 09:00 welcome, advices
- (no protocol necessary)
- buddy talk "reviews+get PRs merged"
- Adi will continue doing releases
- new redirects git.permaplant.net issues.permaplant.net pulls.permaplant.net pull.permaplant.net boards.permaplant.net tree.permaplant.net blob.permaplant.net milestone.permaplant.net (see below how to use them)
- methodology in benchmarks (median, statistics, improvements)
- tailwind CSS linter v3
- always review meeting notes afterwards
- sprint plan
Tasks for Everyone
To be done until Friday 15.12.2023:
- buddy talk topic: methodology (Daniel & Moritz)
- do/update sprint plan
- approve meeting PR #1116, check for requested reviews
If possible/needed, do:
- create/update issues/tests (behavior driven) as needed for future tasks
- get current issues, PRs and use cases (UC) done
- do reviews of PRs in main repo and submissions
- submit a (short) text in submissions
Individual Tasks
To be done until Friday 15.12.2023:
- Daniel: timeline mergen, UC issues! weiter drawing layer
- Moritz: group instead of layers, heat map, (snap tests with Samuel)
One week break:
- Jannis: push draft NC chat, PermaplanT: de+en plant names, (mehrjährige pflanzen, remove variety)
- Samuel: reviews, help others, ranking/language/tooltips, documentation of unit tests
Meeting Notes
Meeting 2023-12-18
Attendees
- Markus
- Yvonne
- Moritz
- Daniel (Protocol done)
- Samuel
- Christoph
Break:
- Jannis (Protocol done)
Buddies
- Moritz & Samuel
- Daniel & Christoph
Agenda
- 09:00 welcome, advices
- Protocol: Christoph
- Next two weeks:
- (26ter 15:00 Chris)
- 27th December 9:00 Chris, Daniel, Moritz?
- 2nd January 9:00 Chris, Daniel
- migrate to
vitest, done in #1120, #1038 closed - test strategy to be udpated
- sprint plan
Tasks for Everyone
To be done until Friday 22.12.2023:
- buddy talk topic: any topic as needed
- do/update sprint plan
- approve meeting PR #1129, check for requested reviews
If possible/needed, do:
- create/update issues/tests (behavior driven) as needed for future tasks
- get current issues, PRs and use cases (UC) done
- do reviews of PRs in main repo and submissions
- submit a (short) text in submissions
Individual Tasks
To be done until Friday 22.12.2023:
- Samuel: reviews, help others, documentation of unit tests
- Daniel: timeline next PR, continue drawing layer frontend
- Moritz: create shade layer UC issues, group instead of layers, heat map, write about performance tests
- Christoph: finish scraper, plants hierarchy+relations
Break:
- Jannis: push draft NC chat, PermaplanT: de+en plant names
Meeting Notes
- new teammember Daniel - Christoph is back!
- please review #1087
- change in test strategy, no testing of whole pages as too much effort for too little outcome
Meeting 2023-12-27
Attendees
- Markus
- Yvonne
- Daniel (Protocol done)
Break:
- Samuel
- Jannis (Protocol done)
- Christoph (Protocol done)
- Moritz
Buddies
- Moritz & Samuel
- Daniel & Christoph & Jannis
Agenda
- 09:00 welcome
- Protocol: Daniel
- Next meeting 2nd January 9:00 Chris, Daniel
- sprint plan
Tasks for Everyone
To be done until Sunday 31.12.2023:
- buddy talk topic: improvement of documentation
- do/update sprint plan
- approve meeting PR #1129, check for requested reviews
If possible/needed, do:
- create/update issues/tests (behavior driven) as needed for future tasks
- get current issues, PRs and use cases (UC) done
- do reviews of PRs in main repo and submissions
- submit a (short) text in submissions
Individual Tasks
To be done until Sunday 31.12.2023:
- Daniel: PRs finish, continue drawing layer frontend, create drawing layer backend issue, check events performance, create layers and label layer issues
Break:
- Christoph: finish docu&scraper, plants hierarchy+relations
- Moritz (?): create shade layer UC issues, group instead of layers, heat map, write about performance tests
- Samuel: reviews, help others, documentation of unit tests
- Jannis: push draft NC chat, PermaplanT: de+en plant names
Meeting notes
- Polygons can be closed by clicking on start point
- bezier anchors should always be shown when in editing mode of polygon
- lines should be stored relative to starting point so that moving of elements can be done equally for each element
- all error toasts should be automatically closed
README
2024 Meetings
Meeting 2024-01-02
Attendees
- Markus
- Yvonne
- Daniel (Protocol done)
Break:
- Samuel
- Jannis (Protocol done)
- Christoph (Protocol done)
- Moritz
Buddies
- Moritz & Samuel
- Daniel & Christoph & Jannis
Agenda
- 09:00 welcome
- Protocol: Daniel
- sprint plan
Tasks for Everyone
To be done until Friday 05.01.2024:
- buddy talk topic: improvement of documentation
- do/update sprint plan
- approve meeting PR #1129, check for requested reviews
If possible/needed, do:
- create/update issues/tests (behavior driven) as needed for future tasks
- get current issues, PRs and use cases (UC) done
- do reviews of PRs in main repo and submissions
- submit a (short) text in submissions
Individual Tasks
To be done until Friday 05.01.2024:
- Daniel: PRs finish, continue drawing layer frontend, create drawing layer backend issue, check events performance, create layers and label layer issues
Break:
- Christoph: finish docu&scraper, plants hierarchy+relations
- Moritz (?): create shade layer UC issues, group instead of layers, heat map, write about performance tests
- Samuel: reviews, help others, documentation of unit tests
- Jannis: push draft NC chat, PermaplanT: de+en plant names
Meeting notes
- new layer: - modal with name and type (only drawing and labels) - new layer will be placed after enabled one - new layer is visible with 100% opacity
- drawing: - arrows should be available
Meeting 2024-01-08
Attendees
- Markus
- Yvonne
- Daniel (Protocol done)
- Jannis (Protocol done)
- Christoph
- Moritz
Nicht da:
- Samuel
Buddies
- Moritz & Samuel
- Daniel & Jannis & Christoph
Agenda
- 09:00 3 questions for year 2024
- welcome: Christoph
- Protocol: Christoph
- Diagrams in Bachelor Thesis
- sprint plan
Tasks for Everyone
To be done until Friday 12.01.2024:
- buddy talk topic: improvement of documentation
- do/update sprint plan
- approve meeting PR #1129, check for requested reviews
If possible/needed do:
- create/update issues/tests (behavior driven) as needed for future tasks
- get current issues, PRs and use cases (UC) done
- do reviews of PRs in main repo and submissions
- submit a (short) text in submissions
Individual Tasks
To be done until Friday 12.01.2024:
- Daniel: drawing layer backend, create layers and label layer issues
- Moritz: create shade layer UC issues (8-edges, size selectable, overlap), (group instead of layers)
- Jannis: review heatmap, notes+drawing layer
- Christoph: architektur, review heatmap+db docu
- Samuel: reviews, help others, documentation of unit tests
Meeting notes
- Drawing Layer: Double click to finish bezier/polygon
- Überlegungen über Refactoring der gemeinsamen Fähigkeiten der Layer
- Koordination mit Backend: Evtl. alles als Geometry/Polygon speichern, jedenfalls keine neuen Textrepräsentationen erfinden
- Moritz: Shading Layer, Diskussion über Brush vs. Polygon
- Jannis, Christoph: Heatmap PR reviewen
Meeting 2024-01-15
Attendees
- Markus
- Yvonne
- Daniel (Protocol done)
- Jannis (Protocol done)
- Christoph (Protocol done)
- Moritz
Buddies
- Moritz & Christoph
- Daniel & Jannis
Agenda
- 09:00 Kennenlernen+Checkin
- Protocol: Moritz
- shadings tests
- release
- Samuel
- please do "Tasks for Everyone" and individual tasks
- get PRs and UCs done
- please meet deadlines, so that reviews etc. can be done
- API documentation
- median
- sprint plan
Tasks for Everyone
To be done until Friday 19.01.2024:
- buddy talk topic: improvement of (API) documentation
- do/update sprint plan
- approve meeting PR #1157, check for requested reviews
If possible/needed do:
- create/update issues/tests (behavior driven) as needed for future tasks
- get current issues, PRs and use cases (UC) done
- do reviews of PRs in main repo and submissions
- submit a (short) text in submissions
Individual Tasks
To be done until Friday 19.01.2024:
- Daniel: endpoint requirements, notes
- Jannis:notes, API refactoring, doc/decisions/backend_orm_crate.md, (timeline)
- Christoph: landingpage, spread&height, review heatmap+db docu
- Moritz: group instead of layers, create shade layer UC issues (8-edges, size selectable, overlap)
- Yvonne: Shading Testen
- Markus: Release
Meeting Notes
Raw SQL queries should be preferred over typed queries for increased developer ergonomics. The next release should focus on minor bug fixes and frontpage updates. Samuel will no longer be able to work for PermaplanT due to personal reasons.
Plants should not be mapped into three size categories, but use a simple size field instead.
Every team member is reminded to keep up with their weekly tasks, especially with reviewing the weekly meeting notes PR. Tasks should be done as soon as possible after the weekly meeting on monday.
Backend tasks should be done primarily by our dedicated Backend-Devs. Frontend teammembers should submit requests for required APIs as prose text. Swagger APIs docs need to be reworked for a large portion of APIs.
Meeting 2024-01-22
Attendees
- Markus
- Yvonne
- Daniel
- Jannis
- Christoph
- Moritz
Buddies
- Moritz & Christoph
- Daniel & Jannis
Agenda
- 09:00 start
- Protocol: Daniel
- Permakultur Prinzipien
- buddy talk topic
- last week: improvement of (API) documentation
- this week: Permakultur Prinzipien
- shadings tests
- plants should be on top of heatmap
- make shades snap to grid/pixels -> eher nicht
- yellow/red colors (Christoph)
- permanent deep shade probably not need (will be clarified by Yvonne)
-
legend inconsistent to
backend/src/model/entity.rs
- simplify non-semantic layers
- landscape, fertilize is only a renamed drawing layer with different icons
- release preparation ongoing (testing)
- bad availability from Wednesday
- architecture:
- docu and code should always fit together! enum descriptions etc.
- security guidelines
- modification, creation (all elements)
- thx for doing "Tasks for Everyone"
- clarify as much as possible in advance using issues
- split issues frontend/backend
- reviews check requirements and check what is tested
- sprint plan
Tasks for Everyone
To be done until Friday 26.01.2024:
- buddy talk topic: Permakultur Prinzipien
- do/update sprint plan
- approve meeting PR #1157, check for requested reviews
If possible/needed do:
- create/update issues/tests (behavior driven) as needed for future tasks
- get current issues, PRs and use cases (UC) done
- do reviews of PRs in main repo and submissions
- submit a (short) text in submissions
Individual Tasks
To be done until Friday 26.01.2024:
- Daniel: notes
- Jannis: timeline, 2 small issues,
- Christoph: landingpage, spread&height, db docu, heatmap
- Moritz: finish shade layer PR
- Yvonne: Testen, check Shading
- Markus:
Meeting Notes
Principles:
- "Get a yield": extract positives for oneself
- "Design form patterns to details": start in general and focus on details later
- Daniel: Minimal Viable Product: product with enough features to attract early-adopter customers and validate a product idea early in the product development cycle
- Christoph: told example that he focused on font size in ER diagrams to much and lost focus on the whole.
- Jannis: found solution to implement transactions in Diesel -> a great yield
Technical Part:
- Jannis finished planting note PR
- we should try to create small PRs
- Markus creates security guidelines that have to be reviewed after completion.
- In reviews, we should write down what we focused on.
Meeting 2024-01-29
Attendees
- Markus
- Yvonne
- Jannis
- Christoph
- Moritz
Ill:
- Daniel (Protocol done)
Buddies
- Moritz & Christoph
- Daniel & Jannis
Agenda
- 09:00 start
- (Yvonne) Permakultur Prinzipien
- Protocol: Jannis
- focus groups
- e2e (with Adi, maybe Moritz in the beginning)
- gis (with Karsten)
- buddy talk topic
- last week: Permakultur Prinzipien
- next week: SQL decision
- shadings issues to be created:
- plants should be on top of heatmap
- yellow/red colors (Christoph)
- PermanenT deep shade probably not need
-
legend inconsistent to
backend/src/model/entity.rs - correct positioning of heatmap
- sprint plan
- 80/20 rule for thesis
- raw SQL decision:
- formatting -> sqlfluff?
- testing of SQL?
- squash migrations before releases?
- improvement of (API) documentation
- architecture:
- security guidelines
- modification, creation (all elements)
- (again) bad availability on Wednesday
Tasks for Everyone
To be done until Friday 2.2.2024:
- vote for meeting https://nextcloud.markus-raab.org/nextcloud/index.php/apps/polls/vote/29
- buddy talk topic: SQL decision
- do/update sprint plan
- approve meeting PR #1157, check for requested reviews
If possible/needed do:
- create/update issues/tests (behavior driven) as needed for future tasks
- get current issues, PRs and use cases (UC) done
- do reviews of PRs in main repo and submissions
- submit a (short) text in submissions
Individual Tasks
To be done until Friday 2.2.2024:
- Daniel: notes
- Jannis: timeline, drawing layer, tutorial for layer creation (creation/update metadata + what interface should any layer have)
- Christoph: db docu, heatmap, meeting
- Moritz: finish shade layer PR, grid, (label sizes)
- Yvonne: Testen, check Shading
- Markus:
Meeting Notes
- Karsten - new potential PermaplanT developer who is an expert in PostGIS.
- Topic specific focus group meetings with select members (selected by topic).
- Buddy talks are meant to encourage engagement in the group. The weekly meeting shouldn't be the only contact between PermaplanT members.
- Guideline to prefer batch operations (like in plantings) for Atomic map operations e.g for drawings. We need guidelines for what a new layer API should always include: (cration/update metadata, needed CRUD endpoints).
- Frontend renders some components (like timeline) very slowly (unnecessary work by component), in the case of the timeline this will be fixed, other issues need further investigations.
- breaks should be 13-15minutes
Meeting 2024-02-05
Attendees
- Markus
- Yvonne
- Daniel (Protocol done, cannot come 12.2)
- Jannis (Protocol done)
- Christoph
Not here:
- Moritz
Buddies
- Moritz & Christoph
- Daniel & Jannis: timeline
- Jannis & Christoph: review backend, who will focus on what?
Agenda
- 09:00 start
- Protocol: Christoph
- report from focus group GIS (with Karsten)
- going forward with brushes
- buddy talk topic
- last week: SQL decision
- next week: choose your own
- focus group today 17:00 e2e (with Adi, maybe Moritz in the beginning)
- shadings issues to be created:
- coding quality
- plants should be on top of heatmap
- yellow/red colors (Christoph)
- PermanenT deep shade probably not need
-
legend inconsistent to
backend/src/model/entity.rs - correct positioning of heatmap
- experimental setups
- DB documentation
- cleanup branches
- 1168-test
- raw SQL decision:
- formatting -> sqlfluff?
- testing of SQL?
- squash migrations before releases?
- layers vs. groups performance
- sprint plan
Tasks for Everyone
To be done until Friday 9.2.2024:
- buddy talk topic: see above
- do/update sprint plan
- approve meeting PR #1157, check for requested reviews
If possible/needed do:
- create/update issues/tests (behavior driven) as needed for future tasks
- get current issues, PRs and use cases (UC) done
- do reviews of PRs in main repo and submissions
- submit a (short) text in submissions
Individual Tasks
To be done until Friday 9.2.2024:
- Jannis: finish timeline, (drawing layer), tutorial for layer creation (creation/update metadata + what interface should any layer have)
- Daniel: notes, finish timeline, polygon libraries/algorithms
- Christoph: scraper, db docu (+issue db comments), heatmap benchmark+color scale, meeting
- Moritz: finish shade layer PR, grid, (label sizes)
- Yvonne: heatmap concept
- Markus:
Meeting Notes
Report from focus group GISCall with Karsten, a highly-experienced GIS expert. Suggested raster files but had concerns in the same time. General GIS approach: Open layers or similar for frontend, map server for backend. Karsten is willing to answer further questions concerning GIS and PostGIS.
Brushes: Vorab auswählen welcher Brush verwendet wird. Überlappende Polygone vom gleichen Typ sollen sich vereinen. Zeichnet man mit einem Brush von einem anderen Typ, überzeichnet man alte Polygone. Ein bestehendes Polygon muss selektiert werden um es erweitern zu können. Ob und in welcher Auflösung gezeichnete Polygone geglättet werden, hängt von den verwendeten Libraries/Funktionen ab (Entscheidung aufgeschoben). Performantester Algorithmus soll genommen werden. Aktueller Ansatz: Wir bleiben dabei Polygone ans Backend zu schicken. Zwei zusätzliche Endpoints: Polygone addieren (union); Polygone subtrahieren (set difference)
Daniel und Jannis reden im Buddy Talk über die Timeline Jannis und Christoph reden im Buddy Talk über Aufgabenverteilung/Fokus im Backend
Christoph: Überprüfe Performance der Heatmap mit ~10.000 gut platzierten Shadings
Mit anderen Communities im Kontakt bleiben: Fragen stellen / Probleme melden (konva.js; diesel)
Meeting 2024-02-12
Attendees
- Markus
- Yvonne
- Christoph
Not here:
- Moritz
- Daniel
- Jannis
Buddies
- Moritz & Christoph
- Daniel & Jannis: timeline
- Jannis & Christoph: review backend, who will focus on what?
Agenda
- 09:00 start
- Protocol: Christoph
- buddy talk
- feedback
- new pictures Yvonne
- integer for plant spread
- move away from utopia
- minimal env vars for backend
- DB documentation
- sprint plan
Open Points
- what to write in release notes (migrations, new scraper data)
- layers vs. groups performance
- raw SQL decision:
- formatting -> sqlfluff?
- testing of SQL?
- squash migrations before releases?
- cleanup branches
- 1168-test
- shadings issues to be created:
- coding quality
- plants should be on top of heatmap
- yellow/red colors (Christoph)
- PermanenT deep shade probably not need
-
legend inconsistent to
backend/src/model/entity.rs - correct positioning of heatmap
- heatmap shown as layer?
Tasks for Everyone
To be done until Friday 16.2.2024:
- buddy talk topic: see above
- do/update sprint plan
- approve meeting PR #1187, check for requested reviews
If possible/needed do:
- create/update issues/tests (behavior driven) as needed for future tasks
- get current issues, PRs and use cases (UC) done
- do reviews of PRs in main repo and submissions
- submit a (short) text in submissions
Individual Tasks
To be done until Friday 16.2.2024:
- Jannis: finish timeline, (drawing layer), tutorial for layer creation (creation/update metadata + what interface should any layer have)
- Christoph: scraper overrides+German names, heatmap benchmark, how to add entry
- Yvonne: heatmap concept
- Markus:
not here:
- Daniel: notes, finish timeline, polygon libraries/algorithms
- Moritz: finish shade layer PR, grid, (label sizes)
Meeting Notes
DB Docu: Zumindest eine Entity ausprobieren; Migration etc. erstellen; eventuell alles in eine Migration Tutorial um eine Spalte hinzuzufügen (welche Stellen müssen angepasst werden) Guidelines für DB Documentation
Update validation guidelines: Wo sollen welche Checks / Validations durchgeführt werden (Rust vs Database Constraints)
Meeting 2024-02-19
Next Meeting 11.3.2024
Attendees
- Markus
- Christoph (protocol done)
- Daniel
- Jannis
- Moritz
Holiday:
- Yvonne
Buddies
- Daniel & Jannis: timeline
- Jannis & Christoph: review backend, who will focus on what?
- Daniel & Christoph: evtl. e2e tests
Agenda
- 09:00 start
- buddy talks
- Tip
- Protocol: Daniel
- Polygons
- change in env vars for backend
- decisions:
- Daniel: konva support lib, best hull algorithm
- Jannis: move away from utopia
- Christoph+Jannis: DB documentation, verlinkung
- Jannis: raw SQL
- get PRs closed
- first steps in written thesis/TISS
- meeting every 3 weeks
- sprint plan
- next time: efficient way to not forget anything in sprint
Tasks for Everyone
To be done until Friday 23.2.2024:
- buddy talk
- approve meeting PR #1190
- create decision PRs to start discussion
- submit a (short) text in submissions
To be done until Friday 1.3.2024:
- buddy talk
- check for requested reviews
- review 2x (short) text in submissions
To be done until Friday 8.3.2024:
- buddy talk
- fix reviews and re-request review
- benchmarks
- all PRs from before 20.2.2023 are merged
- create new issues for next spring
- do/update sprint plan
Individual Tasks
To be done until Friday 8.3.2024 (step by step, start early!):
- Daniel: notes, finish timeline, drawing layer first version, polygon libraries/algorithms benchmarks, RQ, keybinding konzept
- Jannis: TISS Text, merge open prs, drawing layer, tutorial for layer creation (creation/update metadata + what interface should any layer have), DB Doku
- Christoph: TISS Text, scraper overrides+German names, Gabriel, SQL heatmap benchmark, how to add column in tables
Meeting Notes
- Daniel should look for libraries for polygon operations
- hull.js currently seems to be the best solution for calculation hull
- we have to check performance if many free lines are drawn
- we have to define our research questions
- we have to write missing TISS texts
Meeting 2024-03-11
next meeting 25.3.2024
Attendees
- Markus
- Daniel (protocol done)
- Jannis
- Yvonne
- Moritz
Excused:
- Christoph (protocol done)
Buddies
- Jannis & Christoph: review backend, who will focus on what?
- Daniel & Christoph & Moritz: fix/add e2e tests
Agenda
- 09:00 start
- welcome: "Mein Erfolg"
- Protocol: Jannis
- buddy talks
- new members
- rework notification system (Jannis)
- decisions:
- Daniel: konva support lib, best hull algorithm
- Jannis: move away from utopia
- Christoph+Jannis: DB documentation, verlinkung
- Jannis: raw SQL
- English
- its
- Initiative
- FLOSS
- general tasks:
- more reviews needed
- get PRs closed
- add more (manual) e2e tests
efficient way to not forget anything in sprint(not discussed, as we will improve sprint planning)- first steps in written thesis/TISS
- sprint plan
- 10:30 end
Tasks for Everyone
To be done until Friday 15.3.2024:
- buddy talk
- approve meeting PR #1204
- create decision PRs to start discussion
- check for requested reviews
To be done until Friday 22.3.2024:
- buddy talk
- create new issues for next sprint
- review at least 1 PRs per created PR
- do/update sprint plan
Individual Tasks
To be done until Friday 22.3.2024 (step by step, start early!):
- Daniel: notes, finish timeline, drawing layer first version, polygon libraries/algorithms benchmarks, RQ, keybinding konzept
- Jannis: TISS Text, merge open prs, drawing layer, tutorial for layer creation (creation/update metadata + what interface should any layer have), DB Doku, notification profilen
- Moritz: group vs. layer durchdenken und PR (5 layer, mit ein paar gruppen), alte branches durchschauen
Excused:
- Christoph: TISS Text, scraper overrides+German names, Gabriel, SQL heatmap benchmark, how to add column in tables
Meeting Notes
- Notification system to be expanded/improved
- All clients get all messages at the moment, not yet filtered
- Message performance+authentication+filtering topic for Jannis
- Moritz: React state management is tricky, we have frequent rendering bugs. Now: Apart from memory our performance is ok.
- Often network problems during building, you need to trigger CI manually in PRs.
Meeting 25.03.2024
next meeting 2.4.2024 9:00 (without Jannis)
Attendees
- Markus
- Daniel (protocol done)
- Jannis (protocol done)
- Christoph (protocol done)
- Moritz
- Andrei
- Lukas
- Yvonne
Buddies
- Daniel & Andrei
- Moritz & Christoph
- Jannis & Lukas
Agenda
- 09:00 start
- new members
- welcome
- buddy talks: first contact
- protocol: Moritz
- create issues: Andrei
- new issues use cases
- heatmap as normal layer (Moritz)
- heatmap and relation layer has same content (Daniel&Andrei)
- (bi)annual plants
- additional layer concept (Daniel)
- read-only non-member (Andrei)
- no plant data should leak to non-member
- GitHub vs. GitLab
- decisions:
- rework notification system (Jannis+Andrei)
- Jannis: move away from utopia
- Christoph+Jannis: DB documentation, verlinkung
- Jannis: raw SQL
- TISS texts review
- Scrum:
- reviews
- PRs closed
- (manual) e2e tests
- better diffs: https://difftastic.wilfred.me.uk/
- sprint plan
Tasks for Everyone
To be done until Friday 29.03.2024:
- buddy talk: first contact, dev setup
- approve meeting PR #1220
- create decision PRs to start discussion
- 2x review requested reviews
- do/update sprint plan
Individual Tasks
To be done until Friday 29.03.2024:
- Andrei: copy&paste issues, scrum
- Daniel: finish timeline, drawing layer first version, finish keybinding
- Jannis: creation times reviews missing, drawing layer, tutorial for layer creation (creation/update metadata + what interface should any layer have), review DB Doku from Christoph, notification profilen, TISS Text
- Moritz: group vs. layer new PR
- Christoph: TISS Text, scraper overrides+German names, Gabriel Thesis, SQL heatmap benchmark, how to add column in tables
- Lukas: crop rotation design, review PRs, fix first issue (assigned)
Meeting Notes
Andrei will help to improve our workflows. He has experience in SCRUM-teams and relevant certifications.
A poll was held to decide whether the Project should migrate to Gitlab over Github. The results were inconclusive, most teammembers voted "both are fine". Next steps are on technical feasibility.
Heatmap should be exposed as a "normal layer" (2nd position after plant). Other Positions are to be decided.
An extra meeting is needed for the "relation-layer". It will show additional textual information related to plant relations, that is not covered by the heat map (Daniel & Andre will be assigned). An incomplete use case already exists.
The choice of important libraries, that are not easily replaced, should be justified in a decision document.
The words "model" and "entity" have been used to refer to the same concept. "Entity" should be added to glossary and from now on only "entity" should be used.
Meeting 02.04.2024
next meeting 8.4.2024 9:00
Attendees
- Markus
- Yvonne
- Daniel (protocol done)
- Christoph (protocol done)
- Moritz (protocol done)
- Lukas
- Andrei (Scrum Master)
- Filip
Could not come:
- Jannis (protocol done)
Buddies
- Daniel & Andrei
- Moritz & Christoph
- Jannis & Lukas
Agenda
- 09:00 start
- welcome Filip (CI)
- protocol: Lukas
- GitLab Tuwien migration
- upcoming next release (Filip+Adi)
- content:
- drawing layer names (several ones): https://pull.permaplant.net/1236/files
- scrum with Andrei:
- issues
- reviews -> later
- (manual) e2e tests -> later Christoph+Filip
- last sprint before release
- create issues:
- rework notification system (Jannis+Andrei)
- Jannis: raw SQL
- TISS texts second round later
- sprint plan
Tasks for Everyone
To be done until Friday 05.04.2024:
- buddy talk: dev setup+docu
- GitLab Tuwien migration: do a login via SSO on https://git.tuwien.ac.at
- approve meeting PR #1233
- request and approve for requested reviews requested reviews
- do/update sprint plan
Individual Tasks
To be done until Friday 05.04.2024:
- Filip: first issue: deploy docu, test migrations
- Andrei: create issues, write about dates for scrum meeting
- Daniel: finish timeline, meeting refactor layers
- Jannis: creation times reviews missing, tutorial for layer creation (creation/update metadata + what interface should any layer have), review DB Doku from Christoph, notification profilen, TISS Text
- Moritz: investigate how many layers?, group vs. layer new PR, meeting refactoring
- Christoph: TISS Text, SQL heatmap benchmark, how to add column in tables, hierarchy, documentation decision update
- Lukas: review PRs, fix first issue (assigned)
- Yvonne: find manually inserted data in CSV
Meeting Notes
Filip maybe does not need to attend the meeting every week. This is to be decided on with him.
The repository will be migrated to the TU Wien Gitlab, which is unfortunately private, and later maybe to a self hosted instance which then also can be public.
The release should be done soon it is already overdue. Filip should be a part of it to get a first insight in the procedure.
Andrei will be starting creating issues from this meeting and from use cases.
The reviewing of PRs will be staying the same for another week before a new process is established. I.e. please review other PRs by yourself and invite buddies and others to review PRs.
To be able to add other layers backend migration needs to be done once the frontend supports it.
The bug that causes the timeline not to be selected in the centered element after resizing the y-axis on the map page is not release critical but would be nice-to have, also to complete the whole timeline use case.
The heatmap can not be merged to master yet because it is semantically incorrect but the refactoring can more easily be done after merging the heatmap into master.
Some PRs grew too big in the past which came from bad issue management and problems in communication (e.g. not talking about blockers!). Issues need to be broken down so small to be solvable in one week.
Investigation should be done by Moritz to find out what should stay as layer and what should become a group.
A separate meeting will be held to discuss:
- crop rotation implementations and research (with Lukas), and
- new development processes (with Andrei).
Meeting 04.04.2024 - Scrum Processes
Participants
- Markus
- Andrei
- Yvonne
Questions
The main questions to answer:
- How can we improve the way we create and work on issues?
- How can we improve the way we deal with reviews of PRs?
Takeaways:
- Every 3 weeks, include a 30min retro in the meeting by Andrei
- After releases, we have small demo so team is up to date with what's new.
- Explore how GitLab can help us structure issues around Use Cases/Features
- Try to have only issues that have an estimation of one week (can be done in the scope of one "sprint") - If they are too big, they should be broken down into sub-tasks
- Reviews should be more structured - what type of review is it? (what should be checked - code/documentation/testing etc.), what issue is it relating to
- Submissions README.md as source of "expertise" - reviewers that match the expertise needed
- Look into having separate "Master" and "Dev" Branches
Meeting Notes
General points brought up and short discussion on each:
- Timeboxes from Scrum
- Don't fully make sense in the scope of the project, sprints can't be longer than 1 week if there are no other regular touchpoints (e.g Daily Scrum)
- Retro/Review
- Might be interesting to try and integrate those concepts in our current meeting flow
- From Use Cases to Issues to Pull Requests
- We need a better structure, like the concept of "Epic"s or "Feature"s to categorize the issues. This might be better supported by moving to GitLab
- What kind of info should an issue contain? From Use Cases to everything needed for implementation - currently, details might be missing that we only become aware of later
- PRs and Reviews
- Important to have a clear linking between the PR and the task it relates to, clear indication of what the Scope of the PR is, try not to combine multiple issues into one PR
- Who should review? - we can use information from the submissions readme and have some rules of assigning reviews based on expertise - who can most help you review the part of the application you changed
- PRs should not stay open for too long, to keep the Branches more stable and avoid conflicts
- We should clean the older/"orphaned" PRs
- Task Estimation
- In the past, explicit estimation did not work well for the structure of the project. Try to stick to Issue size that is managable in the "sprint" time of one week
Meeting 08.04.2024
Attendees
- Markus
- Yvonne
- Daniel (protocol done)
- Christoph (protocol done)
- Moritz (protocol done)
- Jannis (protocol done)
- Lukas (protocol done)
- Filip
- Andrei (Scrum Master)
Buddies
- Daniel & Andrei
- Moritz & Christoph
- Jannis & Lukas
Agenda
- 09:00 start
- protocol: Filip
- netidee.at
- GitLab Tuwien migration
- next release
- very well-written backend issues:
- local backend tests
- compilation times #1210 (please create issues first)
- content:
- drawing layer names (several ones): https://pull.permaplant.net/1236/files
- docu available https://doc.permaplant.net/dev/
- branches:
- new dev branch
- rename to mr.permaplant.net
- dev.permaplant.net rename to master.permaplant.net
- scrum with Andrei:
- issues
- reviews -> later
- (manual) e2e tests -> later Christoph+Filip
- last sprint before release
- create issues:
- rework notification system (Jannis+Andrei)
- Jannis: raw SQL
- sprint plan
Tasks for Everyone
To be done until Friday 12.04.2024:
- update your README.md in submissions repo
- buddy talk: documentation improvements
- approve meeting PR #1254
- request and approve for requested reviews requested reviews
- do/update sprint plan
Individual Tasks
To be done until Friday 12.04.2024:
-
Daniel: finish timeline, drawing, meeting refactor layers
-
Filip: GitLab, network problem
-
Jannis: creation times, how to name branches, tutorial for layer creation (creation/update metadata + what interface should any layer have), review DB Doku from Christoph, notification profilen
-
Moritz: meeting refactoring, heatmap rebase, issues restructure, write if all stale branches can be removed
-
Christoph: german name issue, SQL heatmap benchmark, hierarchy PR
-
Lukas: documenting how to create+test layers, investigate panning performance
-
Andrei: create issues
-
Yvonne: find manually inserted data in CSV
Meeting Notes
We will apply for netidee funding. If interested write an email to Markus&Yvonne. If necessary, we will have a meeting to further discuss details. Needed for application is a 15 second video per person, to see each team member in the team.
Migration to GitLab: everyone can log in and play around already. This week are all Issues & PRs still in Github.
Release: only small bugs missing.
In future we will have two main branches:
master: stable branch for releases (mostly bug fixes)dev: development branch (bigger features, most things)
The small feature branches stay the same and usually have the dev branch as target
- When creating PRs: Link to issue and add small summaries to PRs to help Reviewers
- When doing reviews: mention what you did as reviewer.
Individual tasks (also see above):
- Andrei: part of the meetings for Reviews to make working together more efficient in near future.
- Lukas proposition: clean up the branches, that are stale and not of use anymore.
- Layers: Small refactorings and features can be done in parallel, and refactoring and doc is positive. Daniel organizes meeting about this.
Tasks for everyone (see above):
- Fill up submission repository.
- For this week do README.md.
- Next week TISS.txt.
Meeting 15.04.2024
Attendees
- Markus
- Yvonne
- Christoph
- Moritz
- Lukas
- Daniel
- Jannis
Not here:
- Filip
Sick:
- Andrei (Scrum Master)
Buddies
- Daniel & Andrei
- Moritz & Christoph
- Jannis & Lukas
Agenda
- 09:00 start
- protocol: Daniel
- release v0.4.0 done
- GitLab Tuwien migration
- https://github.com/supabase/index_advisor
- scrum with Andrei:
- issues
- reviews -> later
- (manual) e2e tests -> later Christoph+Filip
- create issues:
- rework notification system (Jannis+Andrei)
- Jannis: raw SQL
- sprint plan
Tasks for Everyone
To be done until Friday 19.04.2024:
- create or update TISS.txt in submissions repo
- buddy talk: scoping with mistakes
- approve meeting PR
- request and approve for requested reviews requested reviews
- do/update sprint plan
Individual Tasks
To be done until Friday 19.04.2024:
- Daniel: finish timeline, drawing
- Filip: GitLab migration
- Jannis: creation times, create issues: (1) tutorial for layer creation (creation/update metadata + (2) what interface should any layer have), (3) notification profilen (4) drawing layer db design, (5) unify layer design
- Christoph: SQL heatmap benchmark, hierarchy PR
- Lukas: documenting how to create+test layers, create issues: investigate performance (profile)
- Moritz: heatmap rebase, meeting refactoring, issues restructure, write if all stale branches can be removed
- Andrei: create issues
Meeting Notes
- great job with release, please rebase your PRs
- christoph asked if properties should be able to get overwritten in child ranks of plants -> will be discussed in separate meeting. Christoph and Lukas should attend.
- automatic hierarchy based on unique name
- usually no new properties or plants (apart from adding to CSV)
- drawing layer PR will be created so that handling can be tested
- groupfolder for nextcloud images has to be implemented, so that images on one map can be shared between different users
- we shouldn't have to many different tasks in progress but always enough issues created to always have enough for next sprints
Meeting 22.04.2024
Next meeting 6.5.2024 with presentation from Andrei about GitLab/Scrum
Attendees
- Markus
- Yvonne
- Christoph
- Moritz
- Lukas
- Jannis
- Daniel (Protocol done)
- Andrei (Scrum Master)
Buddies
- Daniel & Andrei
- Moritz & Christoph
- Jannis & Lukas
Agenda
- 09:00 start
- protocol: Christoph
- next meeting in 2 weeks
- next release in 3 weeks
- Köln Vortrag
- tasks for everyone:
- TISS
- short mid-term presentation (Moritz already done)
- case study
- use cases: relations&heatmap
- environmental factors
- TUgitLab migration
- scrum with Andrei next week:
- issues
- reviews
- (manual) e2e tests
- sprint plan
- (after general meeting): redesign frontend&store
- 3 categories []
- sub-objects #1304
Tasks for Everyone
To be done until Tuesday 23.04.2024:
- approve meeting PR
- TUgitLab "Profile": set Avatar picture
- TUgitLab set "Emails -> Add new email" with the public email address you used on GitHub and confirm that email
- TUgitLab set "Notifications -> Global notification level" to watch, so that you will get emails in future from activity
- TUgitLab "SSH Keys": add ssh key
- tick yourself in #1295
- update/clarify your issues
Break for any GitHub activity to migrate to GitLab starts: Wednesday 24.04.2024 14:00. From 25.04.2024 on we use GitLab.
To be done until Friday 26.05.2024:
- create first research question with intro in submissions repo (in GitLab)
- get used to GitLab (video tutorials etc.)
To be done until Friday 03.05.2024:
- buddy talk: presentation topic
- get PRs done
- socratic questioning with at least two questions for research questions, see unterlagen/socratic_questioning.md
- cleanup/clarification of all currently assigned issues
- request and approve for requested reviews requested reviews
- do/update sprint plan
Individual Tasks
To be done until Friday 03.05.2024:
- Filip: GitLab migration
- Daniel: finish timeline, drawing, create new layer
- Jannis: creating layers, create issues: (1) tutorial for layer creation (creation/update metadata + (2) what interface should any layer have), (3) notification profilen (4) drawing layer db design, (5) unify layer design
- Christoph: SQL heatmap optimization, hierarchy, delete plants, subtyping
- Lukas: use cases, create issues: investigate performance (profile)
- Andrei: categorize and improve issues, copy&paste use case
- Moritz: refactoring
- Christoph: heatmap questions
Meeting Notes
- Next meeting in 2 weeks
- Next release in 3 weeks
- Andrei will give his presentation in 2 weeks
Markus did a short presentation about his current research topic 'configuration', also in the context of Elektra and PermaplanT. It's important for presentations and our thesis to present a domain specific question in the context of our scientific topic.
Everyone should do a short presentation (2-3min, 2-3 slides) to introduce themselves and show the others what they are working on. Topics could be about e.g. about your research questions, some code, some tooling, the case study or a benchmark. Furthermore, everyone should use PermaplanT for your use case, e.g. plan your garden.
It would be great if everyone could give demos from time to time.
Relation layer and heatmap show environmental constraints. Considering other plants and environmental factors (hydrology, soil, etc.). icons and text will describe relations in the relation layer, e.g. "Spinach should not be planted after spinach" (crop rotation).
Socratic questioning: While reviewing the research question PRs for each review take at least two socratic questions (see unterlagen/socratic_questioning.md).
Lukas talked about the Brush feature. The brush drawing might need pixels to make it work like in paint. But we could use the border around these pixels to have the polygon we need.
Bug fixes should target master other developer should target the dev branch. In the future this should also be indicated by labels in issues.
Meeting 06.05.2024
Attendees
- Markus
- Yvonne
- Moritz
- Lukas
- Daniel (Protocol done)
- Andrei (Scrum Master)
Came late:
- Jannis
Not here:
- Christoph (Protocol done)
Buddies
- Daniel & Andrei
- Moritz & Christoph
- Jannis & Lukas
Agenda
- 09:00 start
- protocol: Lukas
- short mid-term presentation (Andrei)
- Product Owner: Yvonne&Markus
- Scrum Master: Andrei&Markus
- TUgitLab migration
- BBB: everyone is admin now
- demos from Daniel
- brushes
- creation of layers
- which (docker) dev setups are used?
- 2x dev container (or more?)
- 2x docker+backend/frontend local
- 1x pure local (no docu needed?)
- next presentation: Daniel
- scrum with Andrei next week:
- 45 issues in progress?
- reviews
- new burndown chart
- refactoring frontend&store (conclusion was written down in issue)
- next release (postponed)
- (manual) e2e tests (postponed)
Tasks for Everyone
To be done until Friday 10.05.2024:
- buddy talk: presentation topic
- approve meeting PR
- get MRs done
- cleanup/clarification of all currently assigned issues
- request and approve for requested reviews
- add tasks to burndown chart
Individual Tasks
To be done until Friday 10.05.2024:
- Lukas: issues hydrology, toolbar refactoring (dev), merge master into dev, hydrology
- Daniel: finish timeline, drawing, create new layer, (brushes)
- Jannis: postponed deletion layers+map, create issues: (1) tutorial for layer creation (creation/update metadata + (2) what interface should any layer have), (3) unify layer design
- Andrei: categorize and improve issues, remembering viewing state (copy&paste)
- Moritz: grid UC finish, base layer image offset, avatar GitLab, (map deletion), selection+deselection refactoring
Not here:
- Christoph: SQL heatmap optimization, hierarchy, delete plants, subtyping
Meeting Notes
Andrei presented a software development process: Agile is a mindset for software developement and Scrum is the framework implementing it. It defines at least three roles (Product Owner, Scrum Master, Devs), three Artifacts (Product Backlog, Sprint Backlog, Increment) and five events (Sprint, Sprint Planning, Daily Scrum, Sprint Review, Sprint Retro. MRs, issues and requested reviews should always be assigned to someone to then see the todos at the top left in Gitlab. Labels should also always be set at issues & MRs for everyone getting a good overview.
Iterations are set as a property and when an issue is not done the iteration automatically increases at the end. Sprints and dailies are mixed in PermaplanT because of only weekly meetings. Big issues describing big parts of use cases can be used to organize and link together small issues which should be easily done in one week and actually describe/represent the work to be done.
The migration to GitLab worked out quite smoothly issues in the pipeline are discussed which were mostly already existed in the past but not visible due to missing or bad error handling. Some changes in the submissions repo were lost but everyone can push them again because they should exist locally.
Daniel presents the current state of the brush feature as a demo. It is already possible to mark/create areas using the brush in the draft. Together with Jannis he also demoed the creation of new layers which is already possible for drawing layers in their draft.
Refactoring and implementations about environmental factors should be merged to dev and everything else should be merged to master. Master is merged into dev weekly. (Lukas for upcoming week)
Everyone should create issues for himself before the weekly meeting which represent upcoming work. Andrei is always creating issues after the weekly meetings for everyone for things discussed in the meeting.
Meeting 13.05.2024
Attendees
- Markus
- Yvonne
- Jannis
- Moritz
- Lukas (Protocol done)
- Daniel (Protocol done)
- Andrei (Scrum Master)
Cannot come:
- Christoph (Protocol done)
Buddies
- Daniel & Andrei
- Moritz & Christoph
- Jannis & Lukas
Agenda
- 09:00 start
- protocol: Jannis
- presentation next week: Jannis
- CI
- Cannot create maps on mr.permaplant.net
- CI sometimes rerun
- mdbook crashes? network problems?
- Daniel Presentation
- Selectable, resizeable, disturbable (canBeDistorted) and rotatable
- scrum with Andrei:
- issues
- reviews
- Task Board
- next meeting: 20th of May (Pfingsmontag)
Not Yet Discussed
- refactoring frontend&store (conclusion was written down in issue)
- next release
- JSON in database
- GitLab "please merge" only if:
- 2 reviewers
- all threads solved
- add more manual and automatic e2e tests
Tasks for Everyone
To be done until Friday 17.05.2024:
- buddy talk: use case
- approve meeting MR
- get MRs done
- request and approve for requested reviews
- create/update issues for yourself and assign to next iteration
Individual Tasks
To be done until Friday 17.05.2024:
- Moritz: base layer image offset, avatar GitLab, postponed map deletion (frontend), selection+deselection refactoring
- Jannis: postponed deletion layers+map (backend), create issues: (1) tutorial for layer creation (creation/update metadata + (2) what interface should any layer have), (3) unify layer design, presentation
- Lukas: toolbar refactoring (dev), merge master into dev, hydrology clarification+issues
- Daniel: finish drawing UC (tests etc.), create new layer, brushes
- Andrei: categorize and improve issues, remembering viewing state (copy&paste)
Cannot come:
- Christoph: SQL heatmap optimization, hierarchy, delete plants, subtyping
Meeting Notes
- Database logging improvements needs to improve to help debug the MR server.
- Some DB errors seem to be swallowed.
- Jannis+Filip will work on this.
- Daniel held a presentation on Konva and the refactoring of selection elements on our map.
- We might have a performance problem with 10.000 elements in the editor, Konva is not the bottleneck.
- We need further profile the code to find out if more finegrained control over the rerendering of components in the map is needed. It may be necessary to rewrite the map in a more imperative style.
- Jannis presents next week (20.5) about performance of SEE focusing on the profiling setup.
Meeting 20.05.2024
Attendees
- Markus
- Yvonne
- Moritz
- Jannis (Protocol done)
- Lukas (Protocol done)
- Daniel (Protocol done, Presentation done)
- Andrei (Scrum Master, Presentation done)
- Christoph (Protocol done)
Only in the beginning:
- Filip
Buddies
- Daniel & Andrei
- Moritz & Christoph
- Jannis & Lukas
Agenda
- 09:00 start
- protocol: Moritz
- CI dev issues (Filip)
- next release (Filip)
- presentation: Jannis
- next presentation: Christoph
- finish line: Daniel & Moritz
- GitLab "please merge" only if:
- 2 reviewers
- all threads solved
- add more manual and automatic e2e tests
- scrum with Andrei:
- issues
- reviews
- Task Board
- refactoring frontend&store:
- Lukas refactors side bar
- Daniel does other refactorings
Not Yet Discussed
- JSON in database
Tasks for Everyone
To be done until Friday 24.05.2024:
- buddy talk: logical architecture
- approve meeting MR
- get MRs done
- request and approve for requested reviews
- create/update issues for yourself and assign to next iteration
Individual Tasks
To be done until Friday 24.05.2024:
- Jannis: create issues: (1) tutorial for layer creation (creation/update metadata + (2) what interface should any layer have), (3) unify layer design, presentation
- Moritz: base layer image offset, finish PRs: group vs. layers
- Lukas: toolbar refactoring (dev), clarification+issues
- Christoph: SQL heatmap optimization, hierarchy, delete plants, subtyping, presentation
- Daniel: finish drawing UC (tests etc.), create new layer, brushes
- Andrei: categorize and improve issues, remembering viewing state (copy&paste), merge master to dev
Meeting Notes
More E2E tests should be implemented for existing as well as new features. If this is not possible, describing a manual test is also a viable alternative. Add manual tests to doc/tests/manual/protocol.md
There are subtle differences between the done and closed issue status. Usually issues should be closed once the corresponding PR is merged.
Blocked issues are either marked with links (preferred) or the scoped label blocked (if it is blocked because of e.g. waiting for input which is not reflected as an issue).
Meeting 27.05.2024
Attendees
- Markus
- Yvonne
- Daniel (Presentation done)
- Andrei (Presentation done)
- Jannis (Presentation done)
- Christoph
- Lukas
Came later:
- Moritz (Presentation done)
Only in the beginning:
- Filip
Buddies
- Daniel & Andrei
- Moritz & Christoph
- Jannis & Lukas
Agenda
- 09:00 start
- presentation: Christoph
- protocol: Daniel
- CI dev issues (Filip)
- next release
- next presentation: Lukas
- add more manual and automatic e2e tests
- JSON in database
- scrum with Andrei:
- issues
- reviews
- Task Board
- refactoring frontend&store:
- Lukas refactors side bar
- Daniel does other refactorings
- Moritz layers -> groups
Tasks for Everyone
To be done until Friday 31.05.2024:
- buddy talk: logical architecture
- approve meeting MR
- get MRs done
- request and approve for requested reviews
- create/update issues for yourself and assign to next iteration
Individual Tasks
To be done until Friday 31.05.2024:
- Moritz: base layer image offset, finish PRs: group vs. layers
- Christoph: SQL heatmap optimization, hierarchy, delete plants, subtyping
- Daniel: create new layer, brushes, refactoring, cleanup issues and UC (tests)
- Jannis: layer management, notes, offset, create issues: (1) tutorial for layer creation (creation/update metadata + (2) what interface should any layer have), (3) unify layer design, merge master to dev
- Lukas: refactoring (dev), clarification+issues
- Andrei: categorize and improve issues, remembering viewing state (copy&paste)
Meeting Notes
- Christoph presented
- how to investigate performance issues via profiling
- how he was able to improve the heatmap algorithm
- there are few open issues that should be done until tomorrows release
- we should disable flipping of plants. should be possible by using "flipEnabled" flag supported by konva transformer
- pipeline of "LayerManagement" is failing constantly. Daniel and Jannis will fix it and also test functionality of feature.
- Lukas will do presentation about profiling with Firefox next week
Meeting 03.06.2024
Attendees
- Markus
- Yvonne
- Jannis (Presentation done)
- Moritz (Presentation done)
- Christoph (Presentation done)
Cannot come:
- Lukas
- Daniel (Protocol done, Presentation done)
Did not come:
- Andrei (Presentation done)
Only in the beginning:
- Filip
Buddies
- Daniel & Andrei
- Moritz & Christoph
- Jannis & Lukas
Agenda
- 09:00 start
- CI dev issues (Filip)
- check-in
- protocol: Jannis
- release done!
- dev branch revisited
- master -> dev no stable migrations
- get dev merged soon (June?)
- documentation can always be improved (any PR)
- all questions in GitLab should've been answered (2.6.2024)
- 060.030 How to Bachelor- und Masterarbeiten
- Life Meeting July/August?
- next presentation: Lukas (Filip)
- Task Board
Tasks for Everyone
To be done until Friday 07.06.2024:
- buddy talk: status? support? ("Wo stehst du gerade? Wie kann ich dich unterstützen?)
- approve meeting MR
- get MRs done
- request and approve for requested reviews
- create/update issues for yourself and assign to next iteration
Individual Tasks
To be done until Friday 07.06.2024:
- Daniel: brushes, refactoring, cleanup issues and UC (tests)
- Jannis: offset, create issues: (1) tutorial for layer creation (creation/update metadata), (2) what interface should any layer have), (3) unify layer design
- Christoph: SQL heatmap optimization, hierarchy, delete plants, subtyping
- Moritz: base layer image offset, finish PRs: group vs. layers
- Lukas: clarification+issues
- Andrei: categorize and improve issues, remembering viewing state
Meeting Notes
- Dev branch exists because heatmap is not done and cannot be merged into master yet. Christoph brought the performance to an acceptable level already (0.5s). Juni/july dev branch should be done.
- Dev into Master: Open MR of branch originating from dev, which merges master into dev.
- Backend has been merged by Jannis frontend has conflicts. Lukas will fix it.
- Get together in summer, poll about who/when/details follow.
Meeting 10.06.2024
Attendees
- Markus
- Yvonne
- Jannis (Protocol done, Presentation done)
- Moritz (Presentation done)
- Andrei (Presentation done)
- Lukas
Not here:
- Christoph (Presentation done)
- Daniel (Protocol done, Presentation done)
Only in the beginning:
- Filip (cannot come next time)
Buddies
- Daniel & Andrei
- Moritz & Christoph
- Jannis & Lukas
Agenda
- 09:00 start
- CI dev issues (Filip)
- Perma.Fest: dev und master branch
- https://www.permakultur-austria-akademie.at/permakultur-austria-feiert/
- availability Markus: from Thursday on
- protocol: Moritz
- next presentation (in two weeks): Filip
- presentation: Lukas
- create issues
- upload presentation
- Life Meeting July/August?
- thesis
- terminology
- acronyms
- abstract should consist of: context, problem, methods, and results
- method/results
- dev branch revisited
- minimalize merges targeting master
- refactoring only in dev
- reformatting on both
- Moritz fragen
- UI guidelines
- rightclick for paths
- documentation can always be improved (any PR)
- buddy talk: status? support? ("Wo stehst du gerade? Wie kann ich dich unterstützen?)
- Task Board
Tasks for Everyone
To be done until Friday 14.06.2024:
- please upload portraits for landingpage
- buddy talk: Review https://survey.permaplant.net/ together (Please review early: Survey already starts this iteration!)
- approve meeting MR
- get MRs done
- request and approve for requested reviews
- create/update issues for yourself and assign to next iteration
Individual Tasks
To be done until Friday 14.06.2024:
- Daniel: brushes, refactoring, cleanup issues and UC (tests)
- Jannis: offset, create issues: (1) tutorial for layer creation (creation/update metadata), (2) what interface should any layer have), (3) unify layer design
- Moritz: base layer image offset, finish PRs: group vs. layers, get UC done, test cases
- Lukas: clarification+issues, methodology, prepare sending out+stat analysis
- Andrei: categorize and improve issues, remembering viewing state
Cannot come:
- Christoph: SQL heatmap optimization, hierarchy, delete plants, subtyping
Meeting Notes
Permaplant will be presented at a permaculture convention in Vienna this Sunday June 16. The heatmap should be in working order at this date and all Permaplant devs are invited to join the event (https://www.permakultur-austria-akademie.at/permakultur-austria-feiert/).
The Permaplant devs are invited to an in person meeting at Yvonnes and Markus' property in Burgenland.
Meeting 17.06.2024
Attendees
- Markus
- Yvonne
- Moritz (Protocol done, Presentation done)
- Lukas (Presentation done)
- Christoph (Presentation done)
- Daniel (Protocol done, Presentation done)
Not here:
- Andrei (Presentation done)
Cannot come:
- Jannis (Protocol done, Presentation done)
- Filip
Buddies
- Daniel & Andrei
- Moritz & Christoph
- Jannis & Lukas
Agenda
- 09:00 start
- welcome
- protocol: Christoph
- next presentation (in July): Filip
- Perma.Fest: news
- https://www.permakultur-austria-akademie.at/permakultur-austria-feiert/
- survey: please share, forward
- all MRs to dev branch
- use case clarification, DOD, e2e test cases
- Task Board
Tasks for Everyone
To be done until Friday 21.06.2024:
- buddy talk: choose your topic
- approve meeting MR
- get MRs done
- request and approve for requested reviews
- create/update issues for yourself and assign to next iteration
Individual Tasks
To be done until Friday 21.06.2024:
- Daniel: UC done (tests)
- Moritz: base layer image offset, finish PRs: group vs. layers, get UC done, test cases
- Christoph: SQL heatmap fixes+optimization
- Lukas: clarification+issues, reminding survey, stat analysis
Was not here:
- Andrei: categorize and improve issues, remembering viewing state
Cannot come:
- Jannis: offset, create issues: (1) tutorial for layer creation (creation/update metadata), (2) what interface should any layer have), (3) unify layer design
Meeting Notes
There was great interest and positive feedback about PermaplanT at Perma.Fest. Everybody should please fill out the survey at https://survey.permaplant.net/ and also share it with other people. There is a checklist in doc/usecases/README.md that should be used to decide whether a use case is completed. Everybody should plan their issues in advance, so they always have unblocked issues to work on.
Meeting 24.06.2024
Next meeting 15.07.2024.
Attendees
- Markus
- Yvonne
- Christoph
- Lukas
- Andrei
- Moritz
- Filip
Not here:
- Jannis
Cannot come:
- Daniel
Buddies
- Daniel & Andrei
- Moritz & Christoph
- Jannis & Lukas
After one week, new buddies:
- Andrei & Christoph
- Jannis & Lukas
Agenda
- 09:00 start
- welcome
- protocol: Moritz (last protocol)
- this time: 3 weeks iteration until 15.07.2024
- next meeting (short check-in) with Yvonne on 01.07.2024
- last presentation (22.July): Filip
- version upgrades July (Debian, Rust?, nodejs?)
- buddy talk?
- structure of thesis
- console.log
- ReinSaat
- survey: please share, forward
- SQL constants?
- push to submissions should work now
- dev:
- all MRs to dev branch
- dev branch migrations
- reset dev database if migrations are incompatible
- architecture/split stores?
- tasks for anyone
- Task Board
- Thursday 14:00 heatmap meeting (Lukas until 15:30)
Tasks for Everyone
To be done until Thursday 27.06.2024:
- approve meeting MR
- review architecture
- do reviews, especially for Moritz and Daniel
To be done until Friday 12.07.2024:
- buddy talk: choose your topic
- get MRs done
- request and approve for requested reviews
- create/update issues for yourself and assign to next iteration
Individual Tasks
To be done until Friday 12.07.2024:
- Moritz: finished (base layer image offset, finish PRs: group vs. layers, test cases, get UC done)
- Christoph: hierarchy
- Lukas: clarification of issues, stat analysis, crop rotation
- Andrei: categorize and improve issues, remembering viewing state, (maybe afterwards copy&paste)
- Yvonne: issue about avatars
Was not here:
- Jannis: offset, go through issues, create issues: (1) tutorial for layer creation (creation/update metadata), (2) what interface should any layer have), (3) unify layer design
Cannot come:
- Daniel: finished (UC done, tests)
Meeting Notes
This weeks iteration will span 3 weeks. Major upgrades to the infrastructure, specifically to our infrastructure, such as CI Runners are planned. Upgrades to Rust and NodeJS are unclear.
A few notes on the structure of the thesis:
Either do Background OR do related work. Both are usually not necessary, since they both accomplish more or less the same goals in a slightly different manner. Generally, related work should be used for most thesies (Lukas' probably being the only exception).
Cleanly separate Methodology, Results and Interpretation/own opinions.
You may use the official TU-Wien Informatics Thesis-Template, but it is not strictly necessary.
Please don't open merge requests in the thesis-repo for uninteresting changes (e.g. adding the thesis template files). Push those directly to master instead.
Yvonne and Markus met up with the CEO of Reinsaat (the biggest Organic seed Producer in AT) to show the current progress on PermaplanT. They were asked to forward the survey to their customers.
Since we already have all plants from Reinsaat in the DB, the idea is that in the long term PermaplanT users should be able to directly order Reinsaat-seeds from the app.
Reinssat also considered using Permaplant for their internal garden planning tasks.
All PermaplanT members are asked to forward the survery to as many people as possible.
Merge requests should target dev by default. Merging to master should only happen in rare exceptions.
Meeting 27.06.2024 - Heatmap
Attendees
- Markus
- Yvonne
- Lukas
- Christoph (protocol)
Agenda
- Heatmap rework (traffic light system)
- Heatmap layers
Meeting notes
General
The heatmap visuals will be changed from a red to green color gradient to a traffic light system (red, orange, green). Each cell has an opacity level between 0% and 80%, with following cases:
- A cell should be 0% opaque (no color) if there is no data for it.
- Red means the cell is completely unsuitable for a plant.
- Orange means the spot is not ideal according the available data.
- Green indicates a favorable space.
- Black indicates a space occupied in the future, see #1472
The opacity depends on the environmental factor. The rules for combining several environmental factors are:
- The worst color grade is taken.
- Opacity should be increased for each factor present in the same space.
Examples:
- If one layer is orange with 60% opacity and another is red with 50% opacity then the cell should be red with about 70% opacity
- If two layers are red with 50% opacity then the cell should be red with about 70% opacity
(Actual math of opacity is to be discussed)
Example scenarios for colors:
- Red is caused by the shading being off by 2 or more levels or the moisture class being wrong
- Orange is caused by an antagonistic spatial relationship, the shading being off by 1 level or being negatively affected by previously planted crops (crop rotation)
All mentioned values should be configurable via a database table. Even the colors should be configurable for accessibility.
Shade layer
- 'Permanent deep shade' should be removed.
- If there is no shading drawn in a cell it should count as 'no shade' (full sun).
- Shading calculation should consider a plant's
light_requirementand shade - For the shading calculation a cell being darker than the
light_requirementis always worse, but it being lighter is fine - Influence of shadings should drop of a bit at the edges (the edges should have lower opacity)
Hydrology layer (= moisture layer)
- If there is no moisture specified for a cell, it should not be considered in the heatmap
Plant spatial relations
- Currently the influence starts to drop off at the 'edge' of the plant
- There has been some discussion that the influence should start dropping off a little earlier
- Currently only spatial relationships are considered for the planting date (while planting)
- In the future there will be a new (optional) column
time_to_harvest, which will determine when the plant will be removed (which is additional tolife_cycle, to be used when notime_to_harvestis available). Theremoved_ondate will be set by adding a plantstime_to_harvestto itsadded_ondate after planting a plant. - When planting a new plant, the whole interval from
added_ontoremoved_onshould be considered, not justadded_on - If no
removed_ondate can be determined then only theadded_ondate is considered (this is the case for 'endless' plants or trees)
Crop rotation
- Crop rotation doesn't have influence over a distance, only spatial relation has influence over a distance.
Meeting 15.07.2024
Attendees
- Markus
- Yvonne
- Lukas
- Christoph
- Stefanie
- Jannis
Missing:
- Andrei
Planned Holidays:
- Filip
Goodbye:
- Moritz
- Daniel
Buddies
- Stefanie & Christoph & Andrei
- Jannis & Lukas
Agenda
- 09:00 start
- welcome Stefanie
- goodbye Moritz and Daniel
- protocol: Lukas
- live meeting poll
-
- / 11.8.
-
- / 18..8.
-
- / 25.8.
-
- short report from heatmap meeting
- If you are shooting yourselves in the foot constantly, fix the gun
- version upgrades July (Debian, Rust?, nodejs?)
- buddy talk?
- thesis
- dev:
- all MRs to dev branch
- dev branch migrations
- reset dev database if migrations are incompatible
- Task Board
- last presentation (22.July): Filip
Tasks for Everyone
To be done until Friday 19.07.2024:
- live meeting Umfrage abstimmen
- approve meeting MR
- buddy talk: choose your topic
- get MRs done
- request and approve for requested reviews
- create/update issues for yourself and assign to next iteration
Individual Tasks
To be done until Friday 19.07.2024:
- Stefanie: onboarding
- Jannis: complete MRs, go through issues, create issues: (1) tutorial for layer creation (creation/update metadata), (2) what interface should any layer have), (3) unify layer design
- Christoph: hierarchy
- Lukas: stat analysis, crop rotation
Was not here:
- Andrei: categorize and improve issues, remembering viewing state, (maybe afterwards copy&paste)
Meeting Notes
We welcomed Stefanie.
Moritz and Daniel were given a warm shower in their last meeting for PermaplanT.
The date for the Live Meeting will be decided via a poll. Arriving with public transport would be preferred, pickup from nearby places (Weppersdorf) is possible.
There was a heatmap meeting and there are meeting notes for it.
For the plant hierarchy implementation Christoph will write a concept and based on that a follow-up meeting will be held.
Dev Setup MR should be done before Stefanie starts with her onboarding. Jannis will assist Stefanie with her setup.
Stefanie will be buddy of Christoph and Andrei and can contact everyone for questions.
Meeting 22.07.2024
Attendees
- Markus
- Lukas (Protocol done)
- Christoph
- Stefanie
- Filip
- Andrei
Sick:
- Yvonne
- Jannis
Buddies
- Stefanie & Christoph & Andrei
- Jannis & Lukas
Agenda
- 09:00 start
- presentation Filip
- protocol: Christoph
- technical texts:
- explain step by step (maybe backtracking from goal)
- clear terminology, don't use words you don't need (e.g. latency, ...)
- focus on one thing and explain that properly
- explain data
- fundamentals of science:
- method (reproducible or at least clear what was done)
- results (from method, without opinion)
- findings
- standards for scientific texts:
- related work should compare
- make "Why?" clear
- advertise your contributions
- write about future work
- improvements of UX (focus group)
- issue:MR should be 1:1 and always connected
- Task Board
Tasks for Everyone
To be done until Friday 26.07.2024:
- last chance, please vote for live meeting
- create a MR on submissions with a (short) technical text (review next week)
- approve meeting MR
- buddy talk: technical text
- get MRs done
- request and approve for requested reviews
- create/update issues for yourself and assign to next iteration
Individual Tasks
To be done until Friday 26.07.2024:
- Stefanie: rework usecases
- Christoph: hierarchy
- Lukas: crop rotation
- Andrei: categorize and improve issues, remembering viewing state
Sick:
- Jannis: complete MRs, go through issues, create issues: (1) tutorial for layer creation (creation/update metadata), (2) what interface should any layer have), (3) unify layer design
Meeting Notes
Filip held a presentation about PermaplanT CI explaining the overall architecture and how Jenkins, Docker and Ansible are used.
Thesis
Your thesis should include both a technical text as well as a scientific text.
Technical text
Say one thing as clearly as possible. Every technical person with computer science background should be able to understand it. It might help to backtrack: "What do you have to explain to come to this point?". Then write the minimum amount of text to arrive at your point. First explain the most basic parts and then continue building upon it. You can assume the reader has the general knowledge of someone who studied IT, e.g., you don't have to explain HTML and Javascript but you should explain Konva (if it is relevant). The terminology should be as clear as possible and consistent to the PermaplanT glossary. Always use the same words, don't use synonyms. One trick is to write a technical text and then come back to it weeks later to check if it's still understandable. Alternatively have someone review it.
Scientific text
Explain your method and results, optionally present your findings. Your method should be reproducible. The minimum standard of methodology is that other people understand what you did. For reproducability document your test environment, including version numbers of used software. Findings are the objective result of applying the described method. Other people should be able to come to the same conclusion based on your findings.
For related work do a technical comparison.
Your contributions should only be mentioned in the introduction (not in methodology and results).
It is very important to be consistent with your terminology.
Meeting 29.07.2024
Attendees
- Markus
- Lukas (Protocol done)
- Christoph (Protocol done)
- Stefanie
- Filip
- Andrei
- Jannis
- Yvonne
Buddies
- Stefanie & Christoph & Andrei
- Jannis & Lukas
Agenda
- 09:00 start
- welcome round: super power
- protocol: Stefanie
- nodejs version upgrades (20.16)
- quality goals
- changelog keywords
- review round technical texts:
- review list
- reverse engineering of text
- next release
- new news
- make news scrollable
- yearly tasks: change 2023 -> 2024
- shadings coordinations
- live meeting probably 25.08.
- improvements of UX (focus group) -> meeting with Stefanie
- Task Board
Tasks for Everyone
To be done until Friday 02.08.2024:
- review MRs on submissions (see unterlagen/review_checklist.txt in submissions)
- buddy talk: technical text (review)
- update to nodejs 20.16 on your machine
- approve meeting MR
- request and approve for requested reviews
- get MRs done
- create/update issues for yourself and assign to next iteration
Individual Tasks
To be done until Friday 02.08.2024:
- Filip: do release
- Jannis: complete MRs, hydrology&soil type backend implementation
- Stefanie: UI testing master+dev, meeting end of week
- Christoph: finish heatmap (handover to Lukas)
- Lukas: implement attributes
- Andrei: categorize and improve issues, remembering viewing state
Meeting Notes
Default Branch Changed to dev
So that the auto-close issue works for most cases, dev is now the default branch.
"Boring" technical stuff
Nodejs version update coming. Update your dev env with version 20 this week.
Quality goals
- We can always change endpoints as needed.
- Goals have different priorities. Only when you can achieve one goal on the top, go to the next. Prioritize usability a little more :)
- Added new keywords for the changelog.md for specific changes (migration, scraperdata, endpoint, CI).
Review round - Technical text
Today every technical text should be ready. Undraft the current MRs. This week we will review these texts to help and improve your own writing as well. There is a review checklist to go over to check quality. Circle terms and then make arrows indicating 'dependencies' in the text to make clear which parts are wrong order or are not defined. You don't need to explain terms commonly known in computer science, but you have to explain the context in which you're using it. Everyone needs to read all of the technical texts.
You can update your MRs after every review as needed to get several useful reviews.
Release this week
If you want your image to be on the landing page, send it to Yvonne. A new news entry will be added, news section needs to be a little more space-efficient -> Slider. Master needs to be manually tested before the release.
Shading
Christoph and Lukas are collaborating on this issue. Christoph does the starting work and Lukas is gonna finish it.
Hydrology and soil type are gonna be added as new layers. Soil type is going to be part of the heatmap concept.
Meeting 05.08.2024
Attendees
- Markus
- Christoph (Protocol done)
- Stefanie (Protocol done)
- Andrei
- Filip
- Yvonne
- Jannis
needed to go earlier:
- Lukas (Protocol done)
Buddies
- Stefanie & Christoph & Andrei
- Jannis & Lukas
Agenda
- 09:00 start
- welcome round: Permaculture Principles
- protocol: Andrei
- 0.4.2. release
- successfully done
- thanks for everyone involved
- nodejs version upgrades (20.16)
- fix dev
- review round technical texts:
- review list
- reverse engineering of text
- Front Page Updates
- connect "Apply" button with KeyCloak?
- live meeting 25.08.
- Task Board
Tasks for Everyone
Review MRs on submissions until Monday 05.08.2024
To be done until Friday 09.08.2024:
- buddy talk: discuss and apply Permaculture Principles
- update to nodejs 20.16 on your machine
- approve meeting MR
- request and approve for requested reviews
- get MRs done
- create/update issues for yourself and assign to next iteration
Individual Tasks
To be done until Friday 09.08.2024:
- Filip: fix dev branch, test maps, collect data (2000 concurrent users, why is image loading so slow?)
- Lukas: Shading fixes, mockup for shading&moisture&soil
- Jannis: complete MRs, hydrology&soil type backend implementation, fixes
- Stefanie: e2e UI testing dev+groups, estimations
- Christoph: continue hierarchy
- Andrei: categorize and improve issues, remembering viewing state
Meeting Notes
Release 0.4.2:
- Everything is good, thanks to everyone involved
- Many features in dev are not yet ready for release, fixing them is our next goal
- We also need to fix infrastructure (upgrading to Devuan stable)
Updating Frontend packages:
- MR is ready to be reviewed by people, upgrading to Node version 20 does not have side effects. It should be merged into dev, master stays with old versions for now. Reviewers should test if things are working normally.
Dev fixes from Filip:
- still needs to be looked into a bit, should be resolved this week
- report if there are other issues with the pipeline and support Filip in fixing it if possible
Regressions in dev:
- Christoph and Stefanie tested and opened some new issues, some more to come (from test report)
Technical texts:
- Review all texts and approve the MRs (by end-of-day)
Proposal for new landing page:
- little tweaks to improve the design of the landing page
- Andrei: looks good
- Christoph: dark blue on dark background might be a bit too dark overall ('fruitful' in the banner)
- Filip: really like the picture in the "hero"-banner
- Jannis: image looks good, maybe a different color for 'fruitful'
- Lukas: Membership cards look modern
Lukas tasks:
- too many issues, maybe some should be moved to next iteration
- hydrology can be moved as backend is not ready
- maybe make mock-up on how the layers should look
- Legend - remove from the current location as users would not read it there, instead integrate the colors into the buttons, maybe text as tooltip, or when the button is selected the legend shows up under the buttons.
- Crop rotation: some leftover issues regarding the heatmap backend code (traffic lights)
- start with "fix shadings calculations"
Filip tasks:
- Fixing dev
- Test Maps
- Start collecting the data
Requesting membership on front page:
- Current button with "mailto" is not a very good solution, we should replace it with something else
- It needs to be investigated if a solution which directly creates users in keycloak is possible
- An alternative would be database entries or an email service from the backend
Live meeting:
- most likely date: 25th of August
- Christoph will ask Daniel :-)
Jannis tasks:
- hydrology and soil layer task
- Docker setup improved documentation -> wait for the frontend packages update
- migrations -- to be reviewed by Christoph
Stefanie tasks:
- test cases -- they tested locally for now
- another test run after frontend packages MR and group instead of layers MR are merged to dev
- e2e testing - meet with Christoph and look into adding test cases for performance
- write new issues about problems with seeds
- please provide estimates for issues
Christoph tasks:
- write rules about traffic light system
- write the questions in the follow-up issue so they don't get lost in the MR
- continue with hierarchy
Andrei tasks:
- first merge "master into dev" before the FE package update
- continue work on remember view state
- check what else can be done, provide estimates
Meeting 12.08.2024
Attendees
- Markus
- Stefanie (Protocol done)
- Jannis
- Yvonne
not here:
- Andrei (Protocol done)
cannot come:
- Christoph (Protocol done)
- Lukas (Protocol done)
- Filip
Buddies
- Stefanie & Christoph & Andrei
- Jannis & Lukas
Agenda
- 09:00 start
- Archilles tendon
- protocol: Jannis
- holiday 28.8. -> 5.9., no regular meeting 2.9.
- fix dev
- diversity improvement in search
- review round technical texts:
- short, clear sentences
- strong verb as early as possible
- small submissions without clutter (template etc.)
- usage of code, formulas, diagrams, ...
- upgrades
- NodeJS 20
- PostgreSQL 15
- live meeting 25.08.
- Task Board
Tasks for Everyone
To be done until Friday 16.08.2024:
- submit a page of text in submissions
- buddy talk: discuss and apply Permaculture Principles
- update to nodejs 20.16 on your machine
- upgrade to PostgreSQL 15
- approve meeting MR
- request and approve for requested reviews
- get MRs done
- create/update issues for yourself and assign to next iteration
Individual Tasks
To be done until Friday 16.08.2024:
- Stefanie: RQs, look into tools, bug fixing
- Jannis: complete MRs, hydrology&soil type backend implementation, fixes, write methods, klarheit über issues
Was not here:
- Filip: fix dev branch, test maps, collect data (2000 concurrent users, why is image loading so slow?)
- Lukas: Shading fixes, mockup for shading&moisture&soil
- Christoph: continue hierarchy
- Andrei: categorize and improve issues, remembering viewing state
Meeting Notes
Discussed: It would be benefitial to seperate NewPlantingDto (post) from PlantingDto (get) but as this is not urgend => work around it for now and not do any seperation.
live meeting on 2024-08-25.
Meeting 19.08.2024
Attendees
- Markus
- Stefanie
- Andrei
- Christoph
- Filip
Only listen:
- Lukas
Cannot come:
- Yvonne
- Jannis
Buddies
- Stefanie & Christoph & Andrei
- Jannis & Lukas
Agenda
- 09:00 welcome
- protocol: Christoph
- holiday 28.8. -> 5.9., no regular meeting 2.9.
- all CI pipelines green again
- all MRs now on dev, except:
- landing page updates
- CI fixes not specific to dev (keep Jenkinsfile consistent)
- PermaplanT Fest
- 25.08.
- Anreisemöglichkeiten Wien Hbf -> Deutschkreutz um 08:23 -> 09:47 oder 09:23 -> 10:47
- Car Sharing?
- Any questions?
- colors
- heatmap:
- check on every date too resource intensive?
- entity.rs:
- Christoph: family?
- Task Board
Left for next time:
- branch names:
- keep default of GitLab?
- don't use special characters like
#!
- brushing layer architecture (enum?)
- crop rotation
- Lukas: drought tolerance
Tasks for Everyone
To be done until Friday 23.08.2024:
- buddy writing (Schreibtreffen)
- submit a page of text in submissions
- approve meeting MR
- request and approve for requested reviews
- get MRs done
- create/update issues for yourself and assign to next iteration
Individual Tasks
To be done until Friday 23.08.2024:
- Filip: test maps, collect data (2000 concurrent users, why is image loading so slow?)
- Christoph: RQs, continue hierarchy
- Andrei: RQs, categorize and improve issues, remembering viewing state
- Stefanie: RQs, look into tools, bug fixing
Only listen:
- Lukas: Shading fixes, mockup for shading&moisture&soil
Not here:
- Jannis: complete MRs, hydrology&soil type backend implementation, fixes, write methods, klarheit über issues
Meeting Notes
No meeting on 02.09.2024
Filip included a test map on https://mr.permaplant.net, further maps to come.
From now on everything will target dev except landing page updates and CI fixes.
Heatmap colors to be decided after color settings table issue is done. #1525
We shouldn't use special characters like '#' in branch names.
We'll leave the family field in the plants entity in entity.rs to be used later with the hierarchy rework.
If it's clear how to incorporate feedback you can merge directly but if it is a bigger change / refactor you can make a new submission of the corrections. The submission should be focused on one chapter (e.g. introduction, methods, ...).
Take small steps, e.g. for finding a research question:
- Brainstorming
- Deciding on the RQ
- Refining the RQ
- Deciding on tools
This is not necessarily in these steps and sometimes also iterations are needed.
Meeting 26.08.2024
next meeting 9.9.2024
Attendees
- Yvonne
- Markus
- Stefanie
- Jannis
- Lukas
Not here:
- Christoph (protocol done)
- Andrei
- Filip
Buddies
- Stefanie & Christoph & Andrei
- Jannis & Lukas
Agenda
- 09:00 welcome
- minimize collaboration feature? (Lukas)
- holiday 28.8. -> 5.9., no regular meeting 2.9.
- protocol: Stefanie
- buddy writing (Schreibtreffen)?
- easiest solution for gender-neutral writing: use plural "we"
- https://en.wikipedia.org/wiki/Singular_they
- colors revisited
- branch names:
- brushing layer architecture (enum?)
- Lukas: drought tolerance, not relevant for moisture
- Task Board
not discussed:
- CI: add maps
Tasks for Everyone
To be done until Friday 06.09.2024:
- buddy writing (Schreibtreffen)
- submit a page of text in submissions (first week)
- review of text in submissions
- approve meeting MR
- request and approve for requested reviews
- get MRs done
- create/update issues for yourself and assign to next iteration
Individual Tasks
To be done until Friday 06.09.2024:
- Yvonne: reproduce bugs, help others
- Lukas: Shading layer, new brushing layers
- Jannis: complete MRs, hydrology&soil type backend implementation, fixes, write methods, klarheit über issues, docu
- Stefanie: RQs, look into tools, bug fixing, more estimations
not here:
- Filip: test maps, collect data (2000 concurrent users, why is image loading so slow?)
- Christoph: RQs, contiunue hierarchy
- Andrei: RQs, categorize and improve issues, remembering viewing state (UC extended)
Meeting Notes
- Review of live meeting and photos
- No meeting next week
- Until next meeting: write a page of text and get in touch with your buddy or someone to review each other and give feedback
- Set a date and time to write together
- Docs should be gender-neutral, use "we" or singular "they", use strong verbs and no passive writing
- Color palette concept: new colors for shadings, moisture, soil texture and zones that match the current colors
- Branch naming convention: add username to give more overview, check if this could be automated, clean up unused branches
- Discuss additional layers pattern, we want to avoid duplicates, either we refactor the code to still use multiple instances of the brushing layer, but minimize duplicates or we reduce it to only one brushing layer
- Decision: implemented as several layers, and individual solutions for code duplication, ideally across all layers, are searched
Meeting 09.09.2024
Attendees
- Yvonne
- Markus
- Lukas
- Filip
Not Here:
- Jannis
- Andrei
Planned Holidays:
- Christoph (protocol done)
- Stefanie (protocol done)
Buddies
- Stefanie & Christoph & Andrei
- Jannis & Lukas
Agenda
- 09:00 start
- welcome game
- protocol: Filip/Lukas
- proof-reading, paragraph length
- buddy writing ("Schreibtreffen")?
- cloud.permaplanT migration
- CI broken
- CI: add maps on mr+dev
- GitLab: image upload works again, GitLab was upgraded
- (Filip disconnect)
- Lukas report from Karsten Treffen
- Task Board
- 11:00 finish
Not discussed (Jannis needed):
- brushing layer architecture (enum?)
- new branch names schema, username needs to be replaced with a name chosen by you, which you don't change
- supported browsers
- branch names
Tasks for Everyone
To be done until Friday 13.09.2024:
- cloud.permaplant: sync to markus-raab.org, make backup of your maps etc.
- update to Rust 1.81
- approve requested MRs, including meeting MR
- create/update issues for yourself and assign to next iteration
Do as needed:
- request reviews
- buddy writing (Schreibtreffen)
- submit a page of text in submissions
- get MRs done
Individual Tasks
To be done until Friday 13.09.2024:
- Filip: NC update, add maps, collect data (3000 users, why is image loading so slow?)
- Lukas: get UC shading layer done
Not Here:
- Jannis: complete MRs, plant attributes, hydrology&soil type backend implementation
- Andrei: RQs, categorize and improve issues (collaboration), remembering viewing state (UC extended)
Planned Holidays:
- Christoph: RQs, continue hierarchy
- Stefanie: RQs, look into tools, bug fixing, more estimations
Meeting Notes
Thesis
proof reading reviews, submissions review checklist, tips are in submissions repo (folder unterlagen)
tips: no mood changer (but, however, ...) between paragraphs, new paragraph implies this, intro and outro of paragraph can explain the thought process behind paragraph; comments about lines in latex, already proofread?; pause between writing and proof reading; normally too many commas, than too less; pair working for thesis
markus-raab.permaplant.net migrates to cloud.perma.health. Make sure important data (like uploaded base maps) is synced (available at both places).
load tests for PermaplanT -> for 1000 users to landing page, 500 plants, 1 map creation, 1 upload of background image, a few times opening maps
Lukas will be meeting with Christoph to fix problems in heatmap (spatial & temporal relations bugs) if possible
There is a seperate issue for adding the meeting protocol from the meeting between Lukas and Karsten to this protocol
Next week's meeting will include a poll for which browsers are used
Meeting between Lukas & Karsten about heatmap and POSTGIS
Karsten mentioned that the srid and therefore the coordinate system we currently use is unnecessary This is the case because we do not need any conversions from/into other systems and only have own values Additionally the problem with the coordinate system currently used is its big scale which leads to small values and maybe lower precision We currently leave the coordinate system as it is
Karsten suggested using debbuging in PLSQL with RAISE NOTICE commands These messages are currently not shown, maybe Christoph knows something about it?
For visualisation and isolated testing he suggested using PGADMIN and QGIS He also demoed these two applications and their ability to visualize points on a real map They are not really needed for us, as we have the map editor
Meeting 16.09.2024
Attendees
- Yvonne
- Markus
- Lukas (protocol done)
- Filip (protocol done)
- Stefanie (protocol done)
- Jannis
Unclear:
- Andrei
Planned Holidays:
- Christoph (protocol done)
Buddies
- Stefanie & Christoph & Andrei
- Jannis & Lukas
Agenda
- 09:00 start
- protocol: Jannis
- welcome game: survey browsers and social media
- when to do and incorporate reviews
- cloud.permaplanT migration: markus-raab.org accounts might be removed
- CI issues
- (Filip disconnect)
- focus: dev branch
- Lukas: Christoph Meeting, document debugging aids
- Task Board
- 11:00 finish
Still open:
- new branch names schema, username needs to be replaced with a name chosen by you, which you don't change
- branch names
- brushing layer architecture (enum?) -> Jannis will talk with Daniel
Tasks for Everyone
To be done until Friday 20.09.2024:
- markus-raab.org: make sure no left-over data is there
- approve requested MRs, including meeting MR
- create/update issues for yourself and assign to next iteration
Do as needed:
- request reviews
- buddy writing (Schreibtreffen)
- submit a page of text in submissions
- get MRs done
Individual Tasks
To be done until Friday 20.09.2024:
- Filip: fix NC base layer image, add maps, collect data (3000 users, why is image loading so slow?)
- Lukas: get UC shading layer done, crop rotation
- Stefanie: RQs, look into tools, bug fixing, more estimations
- Jannis: complete last issues+MRs
Unclear:
- Andrei: RQs, categorize and improve issues (collaboration), remembering viewing state (UC extended)
Planned Holidays:
- Christoph: RQs, continue hierarchy
Meeting Notes
For supported browsers we asked used browsers in the team:
Chrome/Chromium 60% Firefox 40% Safari/Edge 0% for us (but we suspect many users) Vivaldi
Social Media:
X/Twitter Mastodon (von Jannis verwendet) Discord (laut Filip+Jannis gut geeignet, laut Lukas eher nicht) Instagram (auch viel genutzt, statt FB) Nextcloud (eher nur wenn integriert in PermaplanT) Signal (Liebling von Jannis, nicht relevant laut Lukas) TikTok (für hypes) YouTube (relevant) Reddit WhatsApp (wg. andere, sehr relevant) Facebook (wg. andere, evtl. schon für Ü40 relevant) Telegram (wg. andere) Bluesky (auch neu) Threads (nicht wichtig, nur nachher erwähnt)
Dev-Branch - Features sollten in nächsten 2 Wochen fertig sein, dann fixes
Meeting 23.09.2024
Attendees
- Yvonne
- Markus
- Lukas
- Filip
- Stefanie
- Jannis
Planned Holidays:
- Andrei
- Christoph
Buddies
- Stefanie & Christoph & Andrei
- Jannis & Lukas
Agenda
- 09:00 start
- welcome game: mood check
- protocol: Lukas
- when to do and incorporate reviews
- don't neglect documentation
- release of new landing page + fix of share ID
- methodology
- more structure
- reproducibility, be detailed in what was done/happens on the computer
- avoid general statements, write how you will do it.
- Concerns/problems of methods should be separated (usually called "Threats to Validity")
- ! Overview first (who is involved, which machines, which components, ...)
- new branch names schema, username needs to be replaced with a name chosen by you, which you don't change
- branch names
- brushing layer architecture (enum?) -> Jannis will talk with Daniel
- Nextcloud Upgrade:
- neuer Kalender
- read-only PermaplanTDev access tbd
- next two weeks limited time
- CI issues
- (Filip disconnect)
- focus: dev branch
- Task Board
- 11:00 finish
Next time:
- Iterations until Thursday
- Issues <-> MR relations
Tasks for Everyone
To be done until Thursday 26.09.2024:
- bring README.md in submission up to date (please with non-uni e-mail adr and telefone number)
- approve requested MRs, including meeting MR
- create/update issues for yourself and assign to next iteration
Do as needed:
- request reviews
- buddy writing (Schreibtreffen)
- submit a page of text in submissions
- get MRs done
Individual Tasks
To be done until Thursday 26.09.2024:
- Filip: add maps, methods collect data (3000 users, why is image loading so slow?)
- Lukas: get UC shading layer done
- Stefanie: RQs, look into tools, bug fixing, more estimations
- Jannis: complete last issues+MRs
Planned Holidays:
- Andrei: RQs, categorize and improve issues (collaboration), remembering viewing state (UC extended)
- Christoph: RQs, continue hierarchy
Meeting Notes
Code reviews improved over the last week but need to be done even more frequently (rule of thumbs: two for every MR). The quality of reviews should be improved by communicating what parts were reviewed. Assignees should tell reviewers which parts they each should focus on based on their expertise. Writing documentation should not be neglected and is part of the thesis without it being included in the actual thesis text. Documentation like Thesis should be worked on regularly. To stay productive one should reflect on personal preferences and keep in sync with the own biorhythm.
The next release should be done with minimal changes which will include landing page updates and changes to Nextcloud.
Instead of writing complicated sentences we should structure information using elements such as enumerate or itemize. This makes it clear for the reader at first sight and is also easier to write. Methodology should explain everything that is needed to answer the research questions and nothing else. It should specifically not include justifications, recommendations and comparisons. It should be started with an overview and then go into more detail. More general statements should be avoided.
Meeting 30.09.2024
Attendees
- Yvonne
- Markus
- Lukas (Protocol done)
- Jannis
- Filip
- Stefanie
- Andrei
- Christoph
Buddies
- Stefanie & Christoph & Andrei
- Jannis & Lukas
Agenda
- 09:00 start
- welcome game: wind
- protocol: Jannis
- keycloak groups
- be clear about backend vs. frontend: default value
- release of new landing page + fix of share ID
- Stef Präsentation: performance tooling
- terminology:
- everything what you measure
- basically every word of RQ
- central words and what is in the title
- more structure!
- brushing layer architecture (enum?) -> Jannis will talk with Daniel
- Nextcloud Upgrade:
- neuer Kalender
- read-only PermaplanTDev access tbd
- this week limited time
- CI issues
- Iterations until Thursday
- Issues <-> MR relations
- (Filip disconnect)
- focus: dev branch, heatmap
- time to harvest
- Task Board
- 11:00 finish
Tasks for Everyone
To be done until Thursday 03.10.2024:
- bring README.md in submission up to date (please with non-uni e-mail adr and telephone number)
- approve requested MRs, including meeting MR
- create/update issues for yourself and assign to next iteration
Do as needed:
- request reviews
- buddy writing (Schreibtreffen)
- submit a page of text in submissions
- get MRs done
Individual Tasks
To be done until Thursday 03.10.2024:
- Filip: add maps, methods collect data (3000 users, why is image loading so slow?)
- Lukas: get UC shading layer done
- Stefanie: RQs, look into tools (presentation), bug fixing, more estimations
- Jannis: complete last issues+MRs
- Andrei: RQs, categorize and improve issues (collaboration), remembering viewing state (UC extended)
- Christoph: RQs, continue hierarchy proposals
Meeting Notes
Find a good name for Keycloak groups. Groups for dev and testing may be needed? Issues should be clearly separated into frontend/backend scoped. No release this week. Stef presentation next week on tooling.
Clarifying terminology:
- term: should be properly introduced related to research question, like measured like "cpu cycle", "delay", units, and words that a central to work,
- common words, not central to your work: are not introduced, don't need to be explained
Formatting can eliminate text that explains structure.
Pipeline works on master/dev. Please report pipeline errors and rebase MR branches to dev or master. All issues in the iteration should be worked on.
Meeting 07.10.2024
Attendees
- Markus
- Lukas (Protocol done)
- Stefanie
- Andrei
- Christoph
- Filip
Probably won't come:
- Jannis (Protocol done)
- Yvonne
Buddies
- Stefanie & Christoph & Andrei
- Jannis & Lukas
Agenda
- 09:00 start
- Stefanie: presentation performance tooling
- protocol: Christoph
- standard maps
- thesis:
- avoid forward references
- number of citations
- latest peer-reviewed papers
- TU Wien (CD)
- emphasize/bold
- Nextcloud Upgrade:
- calender
- read-only PermaplanTDev access TBD soon
- Iterations until Thursday
- (Filip disconnect)
- Task Board
- 11:00 finish
Another Time
- standard maps issues (Filip)
- result of areas over areas (Jannis)
- brushing layer architecture (enum?) -> Jannis will talk with Daniel
- keycloak groups
- units for forms
Tasks for Everyone
To be done until Thursday 10.10.2024:
- approve requested MRs, including meeting MR
- create/update issues for yourself and assign to next iteration
Do as needed:
- request reviews
- buddy writing (Schreibtreffen)
- submit a page of text in submissions
- get MRs done
Individual Tasks
To be done until Thursday 10.10.2024:
- Filip: add maps, methods collect data (3000 users, why is image loading so slow?)
- Christoph: RQs, continue hierarchy proposals
- Andrei: RQs, categorize and improve issues, collaboration
- Stefanie: RQs, bug fixing, methods, last estimations
- Lukas: heatmap
Not here:
- Jannis: complete last issues+MRs(collaboration), remembering viewing state (UC extended)
Meeting Notes
Stefanie gave a presentation about the tools she uses to measure frontend performance. She showed the performance tools built into Chrome as well as the React Dev Tools extension.
The Loase map and two other test maps are now available on mr.permaplant.net.
When writing the thesis, forward references indicate that the flow of your thesis is not yet good. Define terms before you use them. The absolute minimum is five citations in the field of computer science. They should be of high quality (e.g. from a peer-reviewed journal or conference). Remember that you can also find related papers by looking for papers that have cited a particular paper. For emphasis, use italics (LaTeX emph) rather than bold and be consistent. Newly introduced terms can be written in bold (by default in LaTeX definition or theorem).
Meeting 14.10.2024
Attendees
- Markus
- Lukas (Protocol done)
- Jannis (Protocol done)
- Stefanie
- Filip
Wasn't there:
- Andrei
Sick:
- Christoph
Buddies
- Stefanie & Christoph & Andrei
- Jannis & Lukas
Agenda
- 09:00 start
- protocol: Filip/Stef
- current status (where stuck, where is help needed)
- keycloak documentation
- occupied space debugging
- standard maps done, feedback?
- Iterations until Thursday done
- licensing:
- probably AGPL, see LICENSE
- REUSE.toml
- too large images, Stef
- release
- (Filip disconnect, Stef continues)
- (Lukas 9:50 disconnect)
- Jannis Korrektheit von SSE updates
- use case updates
- result of areas over areas (Jannis)
- brushing layer architecture (enum?)
- Task Board
- 11:00 finish
Later
- units for forms
- documentation:
- guidelines
- architecture
- tutorials
- working with MRs:
- do reviews every iteration
- check if all threads are resolved
- GitLab submitting MRs problem
Tasks for Everyone
To be done until Thursday 17.10.2024:
- approve requested MRs, including meeting MR
- create/update issues for yourself and assign to next iteration
Do as needed:
- request reviews
- buddy writing (Schreibtreffen)
- submit a page of text in submissions
- get MRs done
Individual Tasks
To be done until Thursday 17.10.2024:
- Filip: do experiment (Tuesday)
- Stefanie: RQs, methods, last estimations
- Lukas: heatmap
- Jannis: complete last issues+MRs(collaboration)
Not here:
- Andrei: RQs, categorize and improve issues, collaboration
Sick:
- Christoph: RQs, continue hierarchy proposals
Meeting Notes
Occupied space debugging: bug in CI that it runs through, despite failing migrations.
Status update, who is blocked by what?
- Stefanie: what topic to choose for thesis for performance improvements
- Filip: load testing, blocked now by large download of landing page pictures
- Lukas: migration failing on MR-1514
Map of plants, drawings, shadings on 1ha finished. Plants should have "removed-at" date on test map. (To be fixed by Jannis in backend.)
Make pictures smaller on landing page for Filip's load test.
Not all images loaded in landing page. Cache error? To be investigated after Stephanie resized images.
Open: Fix Master pipeline (rust)
Overlapping shade layers: should maybe be fixed in the backend, would need a new actions and frontend updates OR make the shadings not transparent, but only the layer as a whole.
Meeting 21.10.2024
Attendees
- Markus
- Lukas
- Stefanie
- Filip
- Johannes
- Andrei
Came late:
- Jannis
Cannot come (sick):
- Christoph
Buddies
- Stefanie & Christoph & Andrei
- Jannis & Lukas
- Filip & Johannes
Agenda
- 09:00 start
- protocol: Andrei
- Welcome Johannes!
- E2E
- CI/Infrastructure
- wissenschaftliche zitate (citations):
- direct, ideas or intro citation vs. citation of core
- literature review
- related work vs. background work
- several experiments for one research question
- show that specific workloads scale well
- then these workloads can be excluded from other experiment
- such experiments are usually already done in advance, to exclude boring stuff
- they only need to be present in your paper, if they are very relevant to the research question or realistic work load
- issues
- first month where we closed more issues than we opened!
- also write e2e when fixing bugs (extra issues)
- put a scope (and of course status) to the issues
- everything now handled in issues
- nextcloud:
- permaplant: group (with a group folder PermaplanT soon) and circle
- permaplantdev: group (with shared folder PermaplanTDev)
- chat and calender
- documentation:
doc/setupsneeded?- guidelines
- architecture
- tutorials
- free/buddy writing (Schreibtreffen)
- working with MRs:
- simply restart pipelines if you think it might fix a problem
- do reviews every iteration (new issue)
- check if all threads are resolved
- everything via MRs (no push to master/dev, only in yourname/ branches)
- first ask for other reviewers, when you have two, ask me (Markus Raab) to review (and merge)
- occupied space debugging (Lukas)
- standard maps revisited (Filip)
- improve images (Stef)
- upcoming release (Filip and Johannes)
- Filip and Johannes disconnect
- use case updates
- brushing layer architecture (enum?)
- Task Board
- 11:00 finish
Next Time
- Jannis presentation of debugging
- restructure of manual test cases
- result of areas over areas (Jannis)
- guidelines: units for forms
Tasks
To be done until Thursday 24.10.2024:
- complete your issues or state in the issue any block
- approve requested MRs, including meeting MR
- create/update issues for yourself and assign to next iteration
Do as needed:
- request reviews
- submit a page of text in submissions
- get MRs done
Meeting Notes
- Welcome Johannes
- Introduction round, what we are each work on
- Citations:
- '5 citations': Cite the main thing that other 5 papers (on a connected topic) are about. Best to do it in the related work: compare your thesis with their methodology and results.
- 'Literature review' papers (different than 'research' papers), could be something you can cite in the introduction or in the background.
- In some cases it makes sense to relate to other papers using a similar methodology (when your paper uses a complicated method).
- In others, you can relate to other papers on the same domain as yours.
- Experiments:
- don't shy from trying small experiments, to get used of science
- good in refining the methodology of your research, it could also exclude scenarios from the experiments that will be then relevant for your paper
- Issue scope separation: if a task involves more changes in several scopes, make an issue per scope, as also different people might end up working on them (and you can link/relate the issues together in GitLab)
- Nextcloud separation between PermaplanT / PermaplanTDev groups: everything should work again, please report if not
- Documentation - if we notice things that are missing or wrong, please make issues about it
- Branch protection - it might make sense if it happens again, good to have the option to push small things directly when need to fix broken branches
- Default maps in MR - only Loase for now, more gets added later
- Gallery images - files smaller and load is now faster
- Release - only small things left: 'webp images' should be retargeted to master, 'share token' needs to be merged, 'zoom in' should be retargeted to master
Individual Tasks (now also fully in issues):
- Stef - make MR in submission repo with the RQs
- Jannis - to present next week how to use the SSE 'tool' to see all the messages that are sent from the BE
- Andrei - Make MR pipelines pass
- Lukas - Make manual tests for everything in the Heatmap, and write as note if and where Rust test cases already exist
Meeting 28.10.2024
Attendees
- Markus
- Andrei (protocol done)
- Filip
- Jannis
- Johannes
- Lukas
- Stefanie
Cannot come (Sick):
- Christoph
Buddies
- Stefanie & Christoph & Andrei
- Jannis & Lukas
- Filip & Johannes
Agenda
- 09:00 start
- protocol: Lukas
- Jannis presentation of debugging
- mark old Nextcloud accounts with TOREMOVE in name
- remove your old branches
- biology
- dev needed in afternoon (don't rebuild dev)
- dev build broken -> fixed
- release next week, this week:
- Diesel update
- landing page fixes
- more reviews:
- testing
- code
- guidelines update
- Filip and Johannes disconnect
- restructure of manual test cases
- reduce issues by alternative fixes, e.g. Löschpinsel
- use case updates
- brushing layer architecture (enum?)
- result of areas over areas (Jannis)
- guidelines: units for forms -> to be decided by Markus
- Task Board
- 11:00 finish
Tasks
To be done until Thursday 31.10.2024:
- remove your old branches (or write in issue)
- mark duplicates of Nextcloud accounts (or write in issue)
- complete your issues or state in the issue any block/alternative
- approve requested MRs, including meeting MR
- create/update issues for yourself and assign to next iteration
Do as needed:
- request reviews
- submit a page of text in submissions
- get MRs done
Meeting Notes
Jannis presented his Python-script for debugging broadcasting (remote) actions. The script can be found in the benchmark folder of the PermaplanT repository. When the script is running and the frontend is used the script observes and visualizes all remote actions being sent by the frontend.
Comment in the issue for removing old branches if investigation for one's old branches is done and those were removed.
Also write to Nextcloud issue, if you have duplicate accounts.
If a code review is not possible by reviewing the code itself, testing the user functionality of the MR is sufficient.
The need for different new E2E tests was discussed.
The expertise of a person with biological knowledge input was discussed. This person should be able to write manual test cases and be consistent with the database. This person should also be able to give inputs for improving the search for the focus on biodiversity.
A solution for overlapping areas needs to be figured out. Lukas and Jannis should think about possible solutions for this to discuss this in the future.
Meeting 04.11.2024
Attendees
- Markus
- Andrei (protocol done)
- Lukas (protocol done)
- Stefanie
- Jannis (until 10:00)
- Johannes
- Filip
Sick:
- Christoph
Buddies
- Stefanie & Christoph & Andrei
- Jannis & Lukas
- Filip & Johannes
Agenda
- 09:00 start
- protocol: Stefanie
- thanks for branches and marking Nextcloud accounts
- questions from Johannes
- creation of issues
- pumping versions
- Rust, Diesel, nodejs update in dev, minor upgrades !1548
- Postgresql: 15
- Rust 1.82
- NodeJS 20.18
- heatmap SQL:
- reset DB
- split several file
- restructure migrations, sql code
- halt of CI for demos or benchmarks
- release this week (Johannes):
- landing page fixes
- changelogs master/dev
- roadmap:
- release master
- release dev
- collaboration
- Filip: throughput instead of Resource improvements
- English text:
- cannot immediately reread text (2-3 weeks break)
- usage of "this"
- Gedankenstriche, Hyphen ---
- technical text:
- give names to everything: the approach, the scripts, the method, ...
- scientific text:
- how to cite
- exactly what was done, what your scripts do, not how they could be used
- report also absolute numbers, not only percentages
- benchmarks
- use odd median number, e.g. 11 or 13 test runs
- memory
- !1552
.dockerneeded?- DEV entry
- Filip and Johannes disconnect
- result of areas over areas
- Task Board
- 11:00 finish
Tasks
To be done until Thursday 07.11.2024:
- complete your issues or state in the issue any block/alternative
- approve requested MRs, including meeting MR
- create/update issues for yourself and assign to next iteration
Do as needed:
- request reviews
- submit a page of text in submissions
- get MRs done
Meeting Notes
Questions from Johannes:
- Version mismatches in dev and prod, should be updated? -> yes
- Container failed due to migrations -> Create issues when running into problems
- Apache open file limits -> try with script from Jannis
- Update rust and nodejs everywhere -> +docu how to do bump
Heatmap algorithm:
- move the algorithm into separate files, makes it easier to change
We upgrade to:
- Rust 1.82
- NodeJS 20.18
Release:
- release master for now and next goal would be to publish dev
Thesis tips:
- if you use percentages, often absolute number are needed to make it easier to read
- Don't be afraid of repetition, the main message needs to be repeated throughout
- "This, those, these" refers to close objects in sentences, but using names is more clear
- In English, sentences should not be that long (that's a very German thing to do :)), use different ways to terminate or pause sentences
- For methodology: write exactly what happened and what you did, don't talk about what could or should be
- For summarizing numbers: use median instead of arithmetic mean as the median gets rid of outliers
Meeting 11.11.2024
Next meeting is 23.11.2024 09:00-11:00.
Attendees
- Markus
- Lukas (short for goodbye)
- Stefanie (protocol done)
- Jannis
- Johannes
- Filip
- Yvonne
- Christoph
Cannot come:
- Andrei (protocol done)
Buddies
- Stefanie & Christoph & Andrei
- Jannis & Lukas
- Filip & Johannes
Agenda
- 09:00 start
- protocol: Jannis
- please vote for regular PermaplanT meeting 21/22/23 instead of 18 and 25 also other meetings, if needed, are possible there, maybe infrastructure?
- !1552
.dockerneeded?- DEV entry
- Rust, Diesel, nodejs update in dev, upgrades !1548
- Rust 1.82:
rustup update - Diesel:
cargo update && cargo install diesel_cli@2.2.4 --no-default-features --features postgres && cargo install typeshare-cli - Postgresql: 15
- NodeJS 20.18
- Rust 1.82:
- SQL user settings:
- intro tour
- release this week (Johannes):
- landing page fixes
- changelogs master/dev
- Nextcloud Images
- Terms:
- initiative vs. project
- FLOSS vs. free software vs. open source
- sequence in a benchmark:
- precondition: everything working correctly
- observe without interpretations
- find the bottleneck (calculations, interpretations etc. might be needed)
- create issues for potential improvements
- how to get MRs done
- CI should pass (don't let humans check what a machine can do)
- check for all points done (docu, ...)
- invite for reviews (label please review)
- resolve all threads (label please merge)
- Warme dusche: Lukas
- heatmap project: Lukas&Jannis
- Goal: reduce effort for Christoph
- unknown options
- result of areas over areas
- split into several file
- restructure migrations, sql code
- too many arguments fix
- Lukas disconnect
- Filip and Johannes disconnect
- Task Board
- 11:00 finish 11.11 :-)
Tasks
To be done until Wednesday 20.11.2024 23:59:
- write one page of scientific text (depending on your progress)
- update of rust, diesel, nodejs
- please vote for regular PermaplanT meeting 21/22/23 instead of 18 and 25
- complete your issues or state in the issue any block/alternative
- approve requested MRs, including meeting MR
- create/update issues for yourself and assign to next iteration
Do as needed:
- request reviews
- submit a page of text in submissions
- get MRs done
Meeting Notes
Question to everyone: is .docker folder needed still? => YES; so .docker folder will be kept because 3 people use it.
Diesel in production among other versions will be pinned (same as dev version)
Reset Guided Tour in SQL:
delete from guided_tours where user_id='?';
Word "Project" is used in FLOSS circles very often. Project has a fixed end date, however, so initiative is more correct
Regarding benchmarks:
- Preconditions, prepare: the thing needs to be correct.
- Observe as long as possible, don't jump to conclusion
- Strictly separate Observation from Interpretation/conclusion.
PRs please make sure CI runs through otherwise people give trivial comments like: "fix CI by adding release note". This wastes their time and less useful comments are given.
Meeting 23.11.2024
Next meeting is again on the regular spot 2.12.2024
Attendees
- Markus
- Andrei (protocol done)
- Christoph
- Johannes
Not here:
- Filip
Cannot come:
- Stefanie (protocol done)
- Jannis (protocol done)
Buddies
- Stefanie & Christoph
- Jannis & Andrei
- Filip & Johannes (Infrastructure)
- Lukas & Jannis (Project)
Agenda
- 09:00 start
- protocol: Christoph
- Collaboration Uni Graz via Kerstin Kainz
- new Buddy assignment
- welcome round:
- what is holding you back in writing
- what needs to change that you could write something?
- importance of weekly writing submissions:
- to learn writing step by step
- to not fall into blockages
- regular (re)writing recommended by basically every writing book I know
- Rust, Diesel, nodejs update in dev, upgrades !1548
- Rust 1.82:
rustup update - Diesel:
cargo update && cargo install diesel_cli@2.2.4 --no-default-features --features postgres && cargo install typeshare-cli - Postgresql: 15
- NodeJS 20.18
- Rust 1.82:
- release:
- landing page fixes pending
- warning for wrong browsers !1506
- nice small MRs
- Licensing cleanup
- REUSE.toml
- planning
- new issues: status:refine,ready,current sprint
- labels: triage needed, estimation needed
- e2e tests: start with UC and where the problems are
- heatmap project: Lukas&Jannis
- Johannes disconnect
- Task Board
- 11:00 finish
Tasks
To be done until Thursday 28.11.2024 23:59:
- write one page of scientific text (content depending on your progress, but not the length)
- update of rust, diesel, nodejs
- please vote for regular PermaplanT meeting 21/22/23 instead of 18 and 25
- complete your issues or state in the issue any block/alternative
- approve requested MRs, including meeting MR
- create/update issues for yourself and assign to next iteration
Do as needed:
- request reviews
- submit a page of text in submissions
- get MRs done
Meeting Notes
We are collaborating with Uni Graz. Kerstin Kainz will start asking students if they want to join the initiative to improve biological databases from Dezember.
Don't get into too much pressure that you have to present a finished idea when writing text for your thesis. New ideas are formed and clarified during writing and reviewing of text. When you are having trouble to start writing try to set a time for 15 minutes each day where you write using the free flow writing method without the goal (and stress) to finish the text that session. Reviewing the text of others also helps you to improve your own text.
We have a GitLab issue board for issue refinement. Issues which are not clear yet start there and are moved to the regular issue board when they are ready for development. We should use the issue status "triage needed" and "estimation needed" more if applicable, to make clear if an implementation within one week is already feasible.
Meeting 02.12.2024
Attendees
- Markus
- Andrei (protocol done)
- Johannes
- Filip
- Stefanie (protocol done)
Later/Earlier:
- Jannis (protocol done)
Not here:
- Christoph (protocol done)
Buddies
- Stefanie & Christoph
- Jannis & Andrei
- Filip & Johannes (Infrastructure)
- Lukas & Jannis (Project)
Agenda
- 09:00 start
- we did already 7777 commits!
- welcome round:
- what are you proud of
- protocol: Filip
- GitLab
- make sure you see notifications
- please reply to questions within a week
- I don't want to assign you too much (just for an answer)
- how to finish a thesis
- stay on it, relax
- balance reviews, practical work and writing
- good organization with issues
- start writing early, regular submissions
- Filip last issues (data+infrastructure)
- submission of related work
- learning from others
- writing thesis (Filip corrections/lessons learned)
- be courageous in removing text
- "in this thesis" not needed
- always use references if possible (Tables, Listings, ...)
- avoid modal verbs like can
- use GitLab CI/Bots (Johannes)
- Release:
- warning for wrong/mobile browsers !1506
- e2e next steps
- make more stable and user friendly
- update Chrome Headless?
- more tests
- optimize
- check load
- regressions on sizes, CPU, mem, ...
- Outlook:
- Filip Warme Dusche
- Licensing cleanup
- buddy
- Johannes&Filip disconnect
- Task Board
- 10:30 finish
Tasks
To be done until Thursday 05.12.2024 23:59:
- write related work
- approve requested MRs, including meeting MR
- complete your issues or state in the issue any block/alternative
- create/update issues for yourself and assign to next iteration
Do as needed:
- request reviews
- submit a page of text in submissions
- get MRs done
Meeting Notes
- going through Filip thesis
- how to write an abstract: 4 sentences: context, problem, method, result
- looking up related works, 5 works
- Gitlab CI discussion about small pipelines
- we don't plan to use Bots for now
- update Chrome Headless?
- done on dev
- tbd on master
- Spurious errors in backend compilation
- Stef cannot compile backend
- maybe because of Rust update?
- Release:
- mobile will be added
- version check for e2e readded
Meeting 09.12.2024
Attendees
- Markus
- Filip (protocol done)
- Johannes
- Stefanie (protocol done)
- Christoph (protocol done)
- Andrei (protocol done)
Cannot come:
- Jannis (protocol done)
Buddies
- Stefanie & Christoph
- Jannis & Andrei
- Filip & Johannes (Infrastructure)
- Lukas & Jannis (Project)
Agenda
- 09:00 start
- Warme Dusche: Filip ist fertig!
- protocol: Johannes
- documentation updates in this MR
- links: blob.permaplant.net etc.
- use cases
- licensing:
- main repo: BSD but AGPL actual
- design decision for new libs
- scraper data: recreated repo
- excellent thesis:
- theorems (RQs, definitions, ...)
- examples
- other pragmatic thesis tricks:
- one sentence per line
- reviews per paragraph
- GitLab emergency rescue, thanks to Johannes
- timeline:
- December last master release
- January dev release
- Blumenschmuck Steiermark im September
- new features "only" (create use cases):
- highlighting plants
- all attributes
- search icons
- others?
- buddy task:
- review of related work
- Release:
- warning for wrong/mobile browsers !1506
- e2e next steps
- together with Daniel
- make more stable and user friendly
- update Chrome Headless?
- more tests
- optimize
- check load
- regressions on sizes, CPU, mem, ...
- Johannes&Filip disconnect
- Task Board
- 10:30 finish
Tasks
To be done until Thursday 12.12.2024 23:59:
- buddy task: review related work
- approve requested MRs, including meeting MR
- complete your issues or state in the issue any block/alternative
- create/update issues for yourself and assign to next iteration
Do as needed:
- request reviews
- submit a page of text in submissions
- get MRs done
Meeting Notes
- documentation guidelines
- for links within the repo, only internal links or blob.permaplant.net etc. should be used
- remove broken links before releasing
- quality goals etc.
- focus on usable UI, privacy and low ressource usage
- collaboration is not in focus: removed
- use cases need updates #1 is reopened
- TanStack should be upgraded: 3 voted for it
- pipeline was broken due to december bug: same fix will be added for master
- Contact you buddy to review related work
Meeting 16.12.2024
Attendees
- Markus
- Jannis
- Stefanie (approved MR)
- Filip
- Johannes
- Andrei
Not here:
- Christoph (approved MR)
Buddies
- Stefanie & Christoph
- Jannis & Andrei
- Filip & Johannes (Infrastructure)
- Lukas & Jannis (Project)
Agenda
- 09:00 start
- protocol: Jannis
- buddy task:
- review of related work
- which of the next dates are wanted?
- 23.12.2024
- 30.12.2024
- 6.1.2024
- result: meet 1 or 2 times: Vote for next dates
- review-friendly MRs
- Johannes: question about scraper
- Filip disconnect
- progress measured by agreed tasks done
- NOT by pages of thesis, number of experiments done etc.
- always use best way of documentation: code comments, assert, test cases, tutorial, guidelines, thesis, ...
- Paper to cite https://www.dhbw-stuttgart.de/forschung-transfer/technik/schriftenreihe-insights/
- e2e next steps (updated)
- make more stable and user friendly (tickets are assigned)
- more tests
- optimize
- Johannes disconnect
- updates in this MR
- Inserting Relations
- Task Board
- 10:30 finish
Tasks
To be done until Thursday 19.12.2024 23:59:
- vote for next dates
- buddy task: review related work
- approve requested MRs, including meeting MR
- complete your issues or state in the issue any block/alternative
- create/update issues for yourself and assign to next iteration
Do as needed:
- request reviews
- submit a page of text in submissions
- get MRs done
Meeting Notes
Survey: One or two meeting for the next three weeks, vote for date.
For reviews: always copy out the checklist.
Documentation is everything that helps the reviewer understand what's happening without changing the functionality. This also included code comments, documents (even thesis), assertions, test cases, names,identifier names, formatting and many more. Progress of the thesis is measured on number of agreed tasks.
Paper on PermaplanT has been published and can be cited in the thesis.
For collecting papers - we can also only submit Latex bib file for reviews. Google scholar bib files are often wrong and need some fixing.
README
2025 Meetings
Meeting 13.1.2025
Attendees
- Markus
- Jannis (Meeting Notes done)
- Stefanie
- Filip
- Johannes
- Christoph
Not here:
- Andrei
Buddies
- Stefanie & Christoph
- Jannis & Andrei
- Filip & Johannes (Infrastructure)
- Lukas & Jannis (Project)
Agenda
- 09:00 start
- Meeting Notes: Stefanie
- buddy talks?
- Infrastructure: Fr 17. 16:00 oder Sa. 18. 10:00
- emergencies: cannot move plants
- smoke e2e tests also against productive (with removal of maps)
- h1 bring back
- only Stefanie and Christoph approved
- Bachelor Arbeit 2025
- write about any use of AI within written text
- split approach/impl
- Jürgen Cito als betreuer, mich als co
- Focus: Evaluation, data handling
- references
- AI: impl code?
- AI: overleaf
- get MRs ready to merge
- reviews!
- scraper MRs merge order?
- coding
- more regression testing
- keep code stupid
- revisit dependencies
- logging/telemetry
- access control, read-only
- avoid useEffect in hooks
- Brainstorming: which new thesis?
- collaboration: usability: anderen cursor sehen
- UI cleaner (Stef)
- AI?
- constraint solver plant placement? auto-suggestions
- elastic search? saisonal passende
- JS size?
- website upgrading? (black page)
- GIS operations
- optimierungen
- plant diversity
- auth/access control
- offline
- mobile -> tablet
- CORS
- copy and paste? or remembering viewing state?
- gamification (permacoins, publish via SSE)
- Permakultur Magazin Artikel
- buddy task:
- review of related work
- Johannes&Filip disconnect
- Task Board
Tasks
To be done until Thursday 16.12.2024 23:59:
- buddy task: review related work
- review requested MRs, including meeting MR
- complete your issues or state in the issue any block/alternative
- create/update issues for yourself
Do as needed:
- request reviews
- submit a page of text in submissions
- get MRs done
Meeting Notes
- 09:00 start
- Protocol: Stefanie
- from now we write more details in the meeting notes
- we copy all Agenda down initially
- buddy talks?
- Christoph and Stef have a meeting to write together at 11 every friday, feel free to join :)
- We're ready to get back into working.
- Infrastructure Meeting will be on Sa. 18. 10:00
- emergencies: cannot move plants, probably needs dev->master merge
- smoke e2e tests also against productive (with removal of maps)
- h1 bring back pipeline can get cancelled, investigate why that happens
- only Stefanie and Christoph approved
- Bachelor Arbeit 2025
- write about any use of AI within written text where exactly does that start? Just reformed text? What about code that was created with the help of AI?
- split approach/impl
- Jürgen Cito als betreuer, mich als co
- Focus: Evaluation, data handling
- references
- get MRs ready to merge
- reviews!
- scraper MRs merge order?
- coding
- more regression testing
- keep code stupid writing code is way easier than debugging it, so try to keep it as simple as possible!
- revisit dependencies
- logging/telemetry
- access control, read-only
- avoid useEffect in hooks
- Brainstorming: which new thesis?
- refactor?
- AI?
- constraint solver plant placement?
- elastic search?
- JS size?
- website upgrading? (black page)
- GIS idempotent API? -> no, better fix with locks
- optimierungen
- plant diversity
- auth/access control
- offline
- mobile
- CORS
- copy and paste? or remembering viewing state?
- gamification (permacoins, publish via SSE)
- Permakultur Magazin Artikel
- buddy task:
- review of related work
- Johannes&Filip disconnect
- Task Board
Meeting 20.1.2025
Attendees
- Markus
- Stefanie (Meeting Notes done)
- Andrei
- Johannes
- Christoph
- Jannis (Meeting Notes done)
Was not here:
- Filip
Buddies
- Stefanie & Christoph
- Jannis & Andrei
- Filip & Johannes (Infrastructure)
- Lukas & Jannis (Project)
Agenda
- 09:00 start
- Meeting Notes: Andrei
- status, blockages
- tips for 40h, worksday
- (manual) test cases
- at least for every regression/bug report
- brainstorming: smaller and cross-cutting issues where help is needed?
- telemetry
- logging
- i18n
- caching
- CORS
- security
- unassigned issues
- next time/buddy talk: amazing tools and skills we have
- Infrastructure: Sa. 18. 10:00
- Johannes&Filip disconnect
- Development Board
Not Discussed
- CI (Filip)
- login fixes
- dev green again+new map
- (manual) test cases
- prioritize
Tasks
To be done until Thursday 23.01.2025 23:59:
- buddy task: review related work
- review requested MRs, including meeting MR
- complete your issues or state in the issue any block/alternative
- create/update issues for yourself
Do as needed:
- request reviews
- submit a page of text in submissions
- get MRs done
Meeting Notes
- 09:00 start
- Meeting Notes: Andrei
- status, blockages
- Andrei:
- Progress with tasks
- Remember view state MR pipeline failing, some investigation done and issue potentially narrowed down, still some debugging needed to see what goes wrong (page not loading)
- Christoph:
- last week not much progress
- updated scraper data issue
- submitted some text to submissions
- Johannes:
- build server issues
- adding e2e tests
- Stefanie:
- Investigating JS Bundle size
- Image retrieval optimisation
- Andrei:
- Tips for how to balance full-time job and PermaplanT
- Andrei:
- context-switching is a big hurdle, need some in-between activity to take my mind off work and give space for PermaplanT, easy/early wins
- tasks that can be done with quickly that then give more motivation to continue
- Christoph: have days fully focused on PermaplanT, not mix them, also don't check work-related stuff while working on PermaplanT
- Johannes: for now did not find the balance and how to disconnect from work, or disconnect from the thesis work when not working on it
- Stefanie: dedicated time-slot for PermaplanT work, mixing everything did not work as time is not the only resource
- Andrei:
- CI (Filip)
- login fixes
- dev green again+new map
- (manual) test cases
- for every regression
- prioritize
- brainstorming: smaller and cross-cutting issues where help is needed?
- key bindings -> not a concern, Andrei already working on it
- unit testing -> some additional work could be useful addition to e2e
- separate pipeline for some sort of monitoring tests/smoke tests - Johannes could do this
- telemetry
- logging - could be improved, maybe some combined logging Frontend/Backend
- i18n - status is found okay
- caching
- CORS
- security
- unassigned issues
- intro to submissions was closed: everyone has the template set up already
- next time/buddy talk: amazing tools and skills we have
- Infrastructure meeting with Filip: Sa. 18. 10:00
- Johannes disconnect
- Development Board
- Andrei
- need to write more (RQ/methods + related work) -> stick to a time limit and finish in that time
- Collaboration UC -> triage 'view-only' mode -> will be assigned to someone else
- triage for keybinding tasks
- 'build error' and 'plant attributes...' will be solved
- continue investigation on 'Remember view state' issue
- Christoph
- Scraper - priority on hierarchy access (for Lukas) and roadmap creation
- Submission text review (also for others' texts), write related work
- Jannis
- wrote some text for the thesis, need reviews
- still to reproduce running test script on our server infrastructure
- some issues still open in the issue board
- First fix ordering of actions and
- finalize benchmarking tool, then
- rerun tests on our server infrastructure
- Stefanie
- merge MR in submissions
- clarify future issues, pick what to do next or what should be un-assigned
- test credentials needed for Bug Report (React DevTools)
- Andrei
- final general remarks:
- for any open tasks, always write if there is progress or investigation
- merge MRs in submission if happy with the reviews, better to then open a new one for new text
Meeting 27.1.2025
Attendees
- Markus
- Stefanie (Meeting Notes done)
- Andrei (Meeting Notes done)
- Johannes (Meeting MR not approved)
- Jannis (Meeting Notes done, Last time)
- Filip
Cannot come:
- Christoph
Buddies
- Stefanie & Christoph
- Jannis & Andrei
- Filip & Johannes (Infrastructure)
- Lukas & Jannis (Project)
Agenda
- 09:00 start
- Meeting Notes: Jannis
- buddy talk? amazing tools and skills we have
- Warme Dusche: Jannis
- documentation/testing first
- cleanup migrations !1580
- PermaplanT goes Africa
- CI
- NC/login fixes
- dev green again+new map
- Maintenance Time Slots?
- (manual) test cases
- prioritize
- 09:30 short break
- buddy talk next week:
- amazing tools and skills we have
- Extra Meetings February?
- Project
- Infrastructure
- retrospective
- Answers to AI Questions:
- Using of AI for code not to be mentioned in bachelor thesis (but might be relevant for license)
- You don't need to mention autocorrections/reformulations like Grammarly or Overleaf. If you want, you can mention it with one sentence.
- Filip Idea: theming of NC
- https://docs.nextcloud.com/server/latest/admin_manual/configuration_server/theming.html
- Johannes&Filip disconnect
- 10:00 longer break
- validation (see other changes in MR)
- Development Board
Tasks
To be done until Thursday 30.01.2025 23:59:
- send date suggestions (at least two in February) for infrastructure and project
- buddy talk: amazing tools and skills we have
- review requested MRs, including meeting MR
- complete your issues or state in the issue any block/alternative
- create/update issues for yourself
Do as needed:
- request reviews
- submit a page of text in submissions
- get MRs done
Meeting Notes
Tool to see rendering changes in react: https://github.com/aidenybai/react-scan
Test-Driven Development:
- Define the behaviour of the "end user" which can be an API, user input...
- Define big picture first
- Difficult to start with but can be worthwhile!
Nextcloud color theme could be changed.
Write things that don't make it into thesis into the doc/research/ folder
Meeting 03.02.2025
Attendees
- Markus
- Stefanie
- Andrei
Did not come:
- Filip
Cannot come:
- Johannes
- Christoph
Buddies
- Stefanie & Christoph & Andrei
- Filip & Johannes (Infrastructure)
- Lukas & Jannis (Project)
Agenda
- 09:00 start
- Meeting Notes: Stefanie
- buddy talk: amazing tools and skills we have
- MR Reviews
- report from project
- Scientific English
- CI report
- buddy talk next time: strength+support
- validation
- Development Board
Outlook: Next Meeting
- buddy talk: strength+support
- Retrospective
Open Topics
- mark if there are notes in the plant label?
- customizable plant label
Tasks
To be done until Thursday 06.02.2025 23:59:
- buddy talk: strength+support
- review requested MRs, including meeting MR
- complete your issues or state in the issue any block/alternative
- create/update issues for yourself
Do as needed:
- request reviews
- submit a page of text in submissions
- get MRs done
Meeting Notes
- 09:00 start
- Meeting Notes: Stefanie
- buddy talk: report from amazing tools and skills we have:
- trying out copilot integration, https://coolors.co for generating color palettes
- note that trying out tools, also takes time
- MR Reviews
- don't invite everyone
- instead specific invitation, with specific checks
- describe which manual tests you already did
- project:
- board was added on https://boards.permaplant.net (for Lukas & Jannis)
- first issue: working on access control
- backend should return 404 for maps with no access, so it should be handled as a map not existing
- Scientific English:
- simple rule: ' only for possessive, so it can only be "its"
- Methods should not have anything about approach or implementation
- answer only one RQ (sub-RQs are okay)
- approach vs. methodology: approach is about how how the software does something, methodology is just how you run and measure the software
- CI
- next meeting?
- build errors
- make dev green again+new map 1
- Maintenance Time Slots?
- 09:30 short break
- Extra Meetings February?
- Project: done
- Infrastructure: open
- Retrospective: next week (see Outlook above)
- buddy talk next time: strength+support
- where lie your strengths? where do you need support?
- 10:00 break
- validation documentation:
- rust vs ts: for rust null is an empty value, TS does prefer undefined for optional values (.? operator)
- but in other cases, null gets passed through
- so we need to adapt documentation of architecture again
Meeting 10.02.2025
Attendees
- Markus
- Stefanie
- Andrei
- Johannes
- Christoph
Was not here:
- Filip
Buddies
- Stefanie & Christoph & Andrei
- Filip & Johannes (Infrastructure)
- Lukas & Jannis (Project)
Agenda
- 09:00 start
- Meeting Notes: Johannes
- retrospective with Andrei
- What is a Retro, why are they useful?
- Mad/Sad/Glad
- KALM
- Takeaways
- next self-study: how to relax best (see below in Tasks)
- buddy talk: strength+support
- report from ecolodgy meeting:
- get old MRs done
- Christoph: hierarchy API, coordination Lukas
- Development Board
Tasks
To be done until Thursday 13.02.2025 23:59:
- buddy talk: how to integrate takeaways of retrospective
- self study: how to relax, try:
- sport (running on spot etc.)
- what you enjoy (showering etc.)
- meditate (observe breath/body scan etc.)
- doing nothing
- review requested MRs, including meeting MR
- complete your issues or state in the issue any block/alternative
- create/update issues for yourself
Do as needed:
- request reviews
- submit a page of text in submissions
- get MRs done
To be done until Thursday 20.02.2025 23:59:
- update README.md of submissions repo
- buddy talk: how to relax (experiences from self study)
Meeting Notes
- retrospective with Andrei
- What is a Retro, why are they useful?
- All about reflection on processes, not tasks.
- Focus on how it was done not what was done.
- Mad/Sad/Glad
- reflect on last month
- KALM
- Keep:
- Fast fixing of CI
- regular meetings and buddy talks
- open communication on issues
- Add:
- update docu/tests
- regular checkins meetings
- clear task descriptions
- common working hours? -> update ReadME in submissions
- Less:
- spending much time on thigs that can't be satisfactory
- discuss facts in meetings that should be in tastks/issues
- too many changes in one MR
- More:
- proactively check for MRs to review
- update of issues/creatingg follow-up issues / bug reports
- communication of missing on meetings/you are stuck somehow
- use merge template suggestions/tasks
- Keep:
- Takeaways
- update docu/tests on each MR (Definition of Done on MRs)
- project updates (Lukas/Jannis)
- better description of bugs (use template)
- update README.md with times in submissions repo
- seperate must-have (core)/nice-to-have issues
- be less shy on reviews and adding to issues :-)
- What is a Retro, why are they useful?
- next retrospective: April
- Andrei uploaded slides to NextcloudDev/Presentations/PermaplanT Retro 10.02.2025.pdf screenshots are in the subfolder
- self study and buddy talk to be done this week (see above in Tasks)
- buddy talk: strength+support
- next buddy talk: how to relax
- report from ecolodgy meeting:
- bad Internet connection
- have 3ha, 10.000 plants
- would like to have automatic base maps with Grundstücksgrenzen, but usually not available (e.g. from openstreetmap)
- get old MRs done
- Christoph: hierarchy API, coordination Lukas
- better Christoph works on the hierarchy alone
- Development Board
Meeting 17.02.2025
Attendees
- Markus
- Stefanie
- Johannes
- Filip
Could not come:
- Christoph
- Andrei
Buddies
- Stefanie & Christoph & Andrei
- Filip & Johannes (Infrastructure)
- Lukas & Jannis (Project)
Agenda
- 09:00 start
- Meeting Notes: Stefanie
- buddy talk: strength+support
- retrospective:
- next buddy talk: how to relax best
- also approve even if you wrote meeting notes
- Tasks for Everyone
- update README.md of submissions
- Shared Calender?
- reminder für NC termine 2 tage davor
- Filip+Johannes bye
- pictures of plants, NC pictures/icons, performance?
- Konva Warning
- Development Board
Tasks for Everyone
To be done until Thursday 20.02.2025 23:59:
- create MR that updates README.md of submissions repo
- contact data
- nextcloud login name (is a long hexcode for keycloak accounts)
- hour when you usually work (for your commitment!)
- buddy talk: how to relax (experiences from self study):
- sport (running on spot etc.)
- what you enjoy (showering etc.)
- meditate (observe breath/body scan etc.)
- doing nothing
- review requested MRs, including meeting MR
- complete your issues or state in the issue any block/alternative
- create/update issues for yourself
Do as needed:
- request reviews
- submit a page of text in submissions
- get MRs done
Important
- migrations get frozen:
- last MR that changes existing migrations is !1500
Meeting Notes
- buddy talk strength+support:
- better issues: write to issues which are unclear to you
- review check for documentation
- much other overhead
- retrospective:
- if you notice, that something is more complicated than it should be, please say it!
- maybe shorter notes?
- terminumfrage+
- next buddy talk: how to relax best: do a self study how to 'switch modes', try exercising, shaking, something you enjoy, meditate, etc., set a timer for 10-15min
- also approve even if you wrote meeting notes
- Tasks for Everyone (see above)
- Shared Calender?
- will be discussed next week
- update README.md of submissions: (see above)
- Johannes+Filip bye
- pictures of plants, NC pictures/icons, performance?
- glossary: images (instead of pictures or images)
- we stay with Nextcloud also for icons, performance is okay
- Konva Warning
- Stef will have a look
Meeting 24.02.2025
Attendees
- Markus
- Stefanie
- Andrei (did not approve)
Sick:
- Christoph (did not approve)
Could not come:
- Johannes (did not approve)
- Filip
Buddies
- Stefanie & Christoph & Andrei
- Filip & Johannes (Infrastructure)
- Lukas & Jannis (Project)
Agenda
- 09:00 start
- Meeting Notes: Andrei
- buddy talk: how to relax best
- next buddy talk: how to relax best
- when next meeting?
- Content of Approach
- hopefully last time: merge master into dev
- colors
- short break
- weird errors
- error loading pictures
- Konva Warning
- create MR update README.md of submissions
- Tasks for Everyone
- Development Board
Tasks for Everyone
To be done until Thursday 27.02.2025 23:59:
- create MR that updates README.md of submissions repo
- contact data
- nextcloud login name (is a long hexcode for keycloak accounts)
- hour when you usually work (for your commitment!)
- review requested MRs, including meeting MR
- complete your issues or state in the issue any block/alternative
- create/update issues for yourself
Do as needed:
- request reviews
- submit a page of text in submissions
- get MRs done
Meeting Notes
- buddy talk: how to relax best
- We'll keep the topic one more time: with one relaxation technique/meditation and then talk about that
- keep the call for next week, maybe again just with Andrei and Stef
- Content of Approach:
- first establish context (what are we talking about)
- then establish terms (what is needed to explain)
- a big struggle: what is necessary to mention and what is just too much detail
- maybe say what you will say soon
- explain the approach (algorithm, state diagram, ...)
- should be an 'abstraction' of the implementation and not the 'code' implementation itself
- important to establish terminology (for example 'lazy loading' -> what is 'lazy'? )
- maybe conclude what was just said
- stats
- documentation is praised
- over 1000 issues already
- dev/master branch:
- get master MRs ready (there is none!)
- merge master into dev
- merging Master -> Dev can be done already, the remaining issues and MRs need to be retargeted to Dev
- We will work only on Dev until it's ready to be merged into Master
- CORS issues: don't use same browser to look at dev and mr
- colors:
- we liked stef colors
- some fine-tuning with duplicated gray and brown
- maybe blue <-> yellow for moisture
- maybe red for sealed soil (as it is always red on the heatmap, too)
- error handling:
- error loading pictures
- error handling for why autoscaling is not working
- make new issue for errors regarding loading pictures
- Andrei will investigate
- Konva Warning: was not discussed)
- Stef will investigate
- create MR update README.md of submissions
- Tasks for Everyone
- Development Board
Meeting 03.03.2025
Attendees
- Markus
- Stefanie
- Andrei
- Christoph
- Johannes
- Filip
Buddies
- Stefanie & Christoph & Andrei
- Filip & Johannes (Infrastructure)
- Lukas & Jannis (Project)
Agenda
- 09:00 start
- Meeting Notes: Christoph
- buddy talk: how to relax best
- div. GitLab features "Add a to do"
- Infrastructure:
- full disk https://gitlab.tuwien.ac.at/infrastructure/infrastructure/-/issues/285
- success log https://gitlab.tuwien.ac.at/permaplant/PermaplanT/-/issues/1787#note_228742
- finalize migrations (filip will contact Jannis)
- test strategy too general
- break, bye to Infrastructure
- Tasks for Everyone
- create MR update README.md of submissions
- Development Board
Open Points
Working hours for Infrastructure
Tasks for Everyone
To be done until Thursday 06.03.2025 23:59:
- create MR that updates README.md of submissions repo
- contact data
- nextcloud login name as shown in
View profile(is a long hexcode for keycloak accounts) - hour when you usually work (for your commitment!)
- review requested MRs, including meeting MR
- complete your issues or state in the issue any block/alternative
- create/update issues for yourself
Do as needed:
- request reviews
- submit a page of text in submissions
- get MRs done
Meeting Notes
The Gitlab To-Do list can be useful if you use it regularly, but can become really cluttered if you let it build up.
Filip and Johannes are still working with Jannis on running the migrations on production data.
Johannes suggested to improve tests so that they don't overlap as much and make E2E tests more focused on the user workflows. We also now have different test users (also replacing the Adi E2E test user) for the different keycloak groups (member, contributing, etc.).
If there is something in an MR that everybody should know / acknowledge then we should invite everybody to for a review. Otherwise only invite two specific persons for review.
Meeting 10.03.2025
Attendees
- Markus
- Stefanie
- Johannes
- Filip
- Moritz
- Richard
Was not here:
- Andrei
Sick:
- Christoph
Buddies
- Moritz & Richard
- Stefanie & Christoph & Andrei
- Filip & Johannes & Richard (Infrastructure)
- Lukas & Jannis (Project)
Agenda
- 09:00 start
- Meeting Notes: Johannes
- Welcome Moritz and Richard
- positioning in PermaplanT
- positioning in Gardening
- buddy talk: onboarding
- Hot Topics in Infrastructure
- break, bye Filip
- Tasks for Everyone
- create MR update README.md of submissions
- Development Board
Tasks for Everyone
To be done until Thursday 13.03.2025 23:59:
- create MR that updates README.md of submissions repo
- contact data
- nextcloud login name as shown in
View profile(is a long hexcode for keycloak accounts) - hour when you usually work (for your commitment!)
- buddy talk: onboarding
- review requested MRs, including meeting MR
- complete your issues or state in the issue any block/alternative
- create/update issues for yourself
Do as needed:
- request reviews
- submit a page of text in submissions
- get MRs done
Meeting Notes
- Welcome Moritz and Richard
- positioning in PermaplanT:
- Moritz focused on Frontend
- Richard DevOps
- positioning in PermaplanT:
- please resend emails you might have sent Markus on Fr. 7.3.2025
- buddy talk: onboarding
- Moritz and Richard added to our Discord
- submissions will be updated
- Infrastructure:
- Richard joins Infrastructure Meeting 28.3.
- working hours for Infrastructure
- to be talked about in next meeting
- in the meantime announce them on Nextcloud talk
- flaky builds https://gitlab.tuwien.ac.at/permaplant/PermaplanT/-/merge_requests/1616#note_230297flaky build:
- network? needs more investigation @Johannes
- finalize migrations: Richard
- test strategy too general: @johannes works on it
Meeting 17.03.2025
Attendees
- Markus
- Stefanie
- Johannes (no approval)
- Moritz
- Richard (no approval)
- Christoph
Not here:
- Filip
- Andrei (no approval)
Buddies
- Moritz & Richard
- Stefanie & Christoph & Andrei
- Filip & Johannes & Richard (Infrastructure)
- Lukas & Jannis (Project)
Agenda
- 09:00 start
- Meeting Notes: Moritz
- buddy talk: decisions
- CI
- PostgreSQL?
- scraper data repo
- methods/results:
- directly consecutive (can even be in same chapter if you have several benchmarks)
- define each setup precisely (e.g. git SHA), give them a name
- don't use words with special mathematical meaning unless meant that way, e.g. significantly
- no drama; it can be in intro or conclusion, though
- everything with opinion must go to discussion/conclusion
- rounding
- consider using for LaTeX:
- obviously TU Wien latex template
- theorems (with restatable) for RQs
- theorems or glossaries (if needed with glossaries-extra) for terms (e.g. see Jannis thesis)
- siunitx for percent etc.
- cleveref (or some other way of consistent naming of labels)
- what you definitely don't need is savetrees as we never print it out anyway :-)
- case study/discussion:
- with garden
- screenshot
- talking about features you added
- Tasks for Everyone
- Development Board
Tasks for Everyone
To be done until Thursday 20.03.2025 23:59:
- buddy talk: decisions
- review requested MRs, including meeting MR
- complete your issues or state in the issue any block/alternative
- create/update issues for yourself
Do as needed:
- request reviews
- submit a page of text in submissions
- get MRs done
Meeting Notes
- CI
- scraper data repo
- updating files in-place as is currently done is not desired
- artefacts should be stored in a separate folder
- still open discussion if artefacts should be checked in or not
- Current Build Issues
- db:5432 - no response
- no updates yet
- scraper data repo
- Bachelor thesis
- The research question is sometimes not the starting point but rather it is derived from other aspects such as hypothesis, the goals or used methodologies.
- Define terms like Konva early and precisely. Latex theorems and glossaries can help with this.
- Methodology and Benchmarks should be tightly coupled, preferably as consecutive chapters.
- As part of the test setup it's important to also document the used software versions.
- The conclusion can also include non-technical observation such as the improved user experience of the application.
Meeting 24.03.2025
Attendees
- Markus
- Stefanie
- Richard
- Maiia
- Andrei
- Moritz
- Johannes
Not here:
- Christoph
- Filip
Buddies
- Moritz & Richard
- Stefanie & Christoph & Andrei & Maiia
- Filip & Johannes & Richard (Infrastructure)
- Lukas & Jannis (Project)
Agenda
- 09:00 start
- Meeting Notes: Richard
- Welcome: Maiia
- duties
- time management:
- shared calender
- break
- focus: release
- Tasks for Everyone
- Development Board
Outlook
- Terms:
- FLOSS vs. OSS vs. Free Software
- Initiative vs. Project
- Markus asked if "Global time tracking report" https://docs.gitlab.com/user/project/time_tracking/ can be turned on
- Moritz not here next week
Tasks for Everyone
To be done until Thursday 27.03.2025 23:59:
- buddy talk: decisions
- review requested MRs, including meeting MR
- complete your issues or state in the issue any block/alternative
- create/update issues for yourself
Do as needed:
- request reviews
- submit a page of text in submissions
- get MRs done
Meeting Notes
- 09:00 start
- Meeting Notes: Richard
- If you are responsible for meeting notes:
- copy agenda to meeting notes in BBB
- edit only meeting notes
- make sure to use proper markdown formatting
- also writer of meeting notes needs to approve
- Welcome: Maiia
- Everyone chooses their color for "PermaplanTeam: a word"
- Everyone writes a word on the slide
- Moritz and Stefanie talk about the differences between Angular and React
- We talk about the words we wrote down
- Markus talks about the problems with AI scrapers to FLOSS Initiatives
- Slide: "Preferences"
- Everyone marks what they prefer on a few different sliders
- Slide: "Technologies and Design"
- Everyone marks what technologies they know best and least
- Slide: "Other Skills"
- Same idea
- duties:
- Q&A UI: Moritz
- Q&A Performance: Johannes
- CI: daily rotation? More on Friday
- update authors Also newcomers should include themselves and their skills.
- time management:
- via GitLab (always push, write to issues or even write time spent), or
- CSVs in submissions repo, or
- diary To keep track of research
- shared calender
- https://cloud.perma.health/remote.php/dav/public-calendars/SH2Ta3qggn7zErkQ?export
- now also shared with
/developer
- BREAK 10 mins until 10:15
- focus: release
- Had some migration problems.
- Feature freeze, focus on small bug fixes. No big new features in MRs, to make testing easier.
- Finalize migrations.
Richard and Christoph did testing on the migrations on prod data. Everything went well apart from the
redo-migrations -acommand - !1500
- https://gitlab.tuwien.ac.at/permaplant/PermaplanT/-/issues/1778#note_232041
- out of scope: scraper data (needs migration plan), new features Not discussed, because Christoph isn't here
- buddy talks?
- Tasks for Everyone
- Deadline until Thursday
- Cleanup authors file
- Decisions folder needs to be updated. Everything should be valid but is not complete yet.
- We need to write decision about migrations.
- Review MRs and check issues
- Development Board
- Discussion about mobile layout use cases and how to implement it.
- Markus explains the onboarding issue
- Issue #1563 will be split into 2 separate issues because there are different causes
- Lazy loading will not make it to the upcoming release
- Plant cursor bug can be reviewed
- Issue #706 should be done this week
Meeting 31.03.2025
Attendees
- Markus
- Stefanie
- Richard
- Maiia
- Andrei
- Christoph Schreiner
- Christoph Kraus (Chris)
- Ben
- Philip
Not here:
- Johannes
Cannot come:
- Moritz (not approved)
Buddies
- Ben & Philip
- Moritz & Richard
- Andrei & Maiia
- Stefanie & Christoph
- Filip & Johannes & Richard (Infrastructure)
- Lukas & Jannis (Project)
Agenda
- 09:00 start
- Meeting Notes: Maiia
- Heartly welcome: Ben, Philip and Christoph Kraus (Chris)
- Terms
- update on weekly iterations
- two approvals before requesting my review
- don't merge yourself
- how to find your research question (RQs)
- a too planned RQ is often boring
- instead simply work on the issues for a month or so and be open where there are interesting results
- Stef experience
- keep it narrow enough, so that it has some depth
- e.g. continuous releases okay for working title but should be refined
- current focus 0.5.0 release:
- migrations
- CI
- one last big MR
- team
- small bug fixes
- steps for finding RQs in a month or so:
- work on several issues for some time
- use some tools, e.g. to benchmark
- do some literature research about what others do
- brain storming of several RQs or hypothesis
- reiterate and refine
- give approach a name
- infrastructure "emergency dienst":
- Johannes: Montag, Freitag
- Filip: Mittwoch
- Richard: Dienstag, Donnerstag
- infrastructure "Wartungsfenster" fixe Zeiten wann upgrades durchführen wo (etwas brechen könnte):
- Freitag früh 08:00-10:00
- break
- Tasks for Everyone
- Development Board
Tasks for Everyone
To be done until Thursday 03.04.2025 23:59:
- buddy talk: welcome&onboarding
- review requested MRs, including meeting MR
- complete your issues or state in the issue any block/alternative
- create/update issues for yourself
Do as needed:
- request reviews
- submit a page of text in submissions
- get MRs done
Meeting Notes
- 09:00 start
- Meeting Notes: Maiia
- Copy agenda to bottom (Meeting Notes)
- Everyone: Approve meeting notes PR once requested for approvals
- Heartly welcome: Ben, Philip and Christoph Kraus (Chris)
(Christoph Kraus (Chris) needs first confirmation from employee, so it is not yet fixed.)
- Ice breaker (preferences in sweets, technologies)
- Markus - initiative's founder, here from the start
- Christoph S., Andrei - also here for a long time
- Terms in scientific text:
- establish them clearly
- refer to our glossary
- FLOSS vs. OSS vs. Free Software
- May use same license
- OSS: "we want best software, open source is best way to achieve it"
- Free Software: "it is morally right to write and use free software"
- FLOSS: the former two put together, abstracts away from ideology & politics
- Initiative vs. Project
- initiative: people working together with a goal
- project: also working together with goal but with a deadline (project end)
- Thesis:
- repeating terms (nouns) is not an issue and might even be necessary - it is important to use exact terms in scientific papers
- careful usage of scientific terms (e.g. statistical significance) - only if they are meant that way
- GitLab Issues:
- for help about GitLab you can ask Andrei
- triage: "technical analysis", e.g. finding out what is the root cause of problem, not yet implementation itself
- in progress: when you start working on an issue, add "status:: in progress" label
- in review: when you have finished all requirements to close an issue, add "status:: in review" label and assign reviewers
- each week do some progress on your issues
- MR (Merge Requests):
- Use MR template
- Review 3 times more MRs than you author
- Two approvals before requesting Markus' review
- Don't merge yourself (Markus is usually responsible for merge)
- how to find your research question (RQs)
- a too planned RQ is often boring
- instead simply work on the issues for a month or so and be open where there are interesting results
- Stef experience: Stef explored different image optimizations approaches and then picked the most promising one to go deeper into it and write about
- keep it narrow enough, so that it has some depth
- e.g. continuous releases okay for working title but should be refined
- steps for finding RQs in a month or so:
- work on several issues for some time
- use some tools, e.g. to benchmark
- do some literature research about what others do
- brain storming of several RQs or hypothesis
- reiterate and refine
- give approach a name
- have a "working title" (e.g. optimizations, continuos releases)
- name your technical approach (e.g. you improve performance with Lazy Loading and name it "VeryLazyLoading")
- specific name makes it easier to refer to your contribution and write about it
- infrastructure "emergency dienst":
- Johannes: Montag, Freitag
- Filip: Mittwoch
- Richard: Dienstag, Donnerstag
- infrastructure "Wartungsfenster" fixe Zeiten wann upgrades durchführen wo (etwas brechen könnte):
- Freitag früh 8:00-10:00
- current focus 0.5.0 release:
- migrations
- CI
- one last big MR
- team
- small bug fixes
- Break 9:55-10:05
- Team's Tech Env:
- VS Code: Andrei, Maiia, Richard, Cristoph S.
- WebStorm: Stefanie
- Linux: Richard
- Windows: Andrei, Maiia (wsl), Cristoph S., Stefanie (wsl)
- MacOs: Cristoph S.
- Tasks for Everyone
- deadline: Thursday midnight
- buddy talk: welcome & onboarding
- review requested MRs, including meeting MR
- complete your issues or state in the issue any block/alternative
- create/update issues for yourself
- Development Board
Meeting 07.04.2025
Attendees
- Markus
- Stefanie
- Richard: did not approve
- Maiia
- Andrei: did not approve
- Christoph Schreiner
- Christoph Kraus (Chris)
- Ben
- Philip: did not approve
- Johannes
- Moritz
Buddies
- Ben & Philip
- Moritz & Richard
- Andrei & Maiia & Chris
- Stefanie & Christoph
- Filip & Johannes & Richard (Infrastructure)
- Lukas & Jannis (Project)
Agenda
- 09:00 start
- Meeting Notes: Ben
- Welcome: Technical skills
- Overall goal of workflow: self-organization instead of micro-management (FLOSS certificate)
- Everything assigned to you and in current iteration should be worked on:
- if you cannot fully do it, you should at least find out if it can be done by you in one week (or help is needed or issue should be split etc.).
- make sure to do 3 reviews (at least comment or approval)
- make sure to not get behind
- always give life signs
- at least weekly
- better after every block of work (fixed working hours)
- at least write: I am stuck here
- to avoid spending lots of time on something that is maybe not so important
- create issues
- left-overs in MRs
- if something is discussed
- if you find something incomplete
- if something violates the guidelines
- then:
- you can assign yourself the issue and put into the next iteration (until Thursday!)
- but don't immediately work on it
- issues should be shortly acknowledged in meeting
- all such issues count to your progress
- already rejected application to have more time for you
- deadline Thursday important for me
- so that I have time to plan/answer
- person who created MR can resolve
- with questions you might also approve
- copy review checklist as needed
- current focus 0.5.0 release:
- migrations (done?)
- security updates
- CI
- rust 1.86 update?
- add yourself to team, mark as "release critical"
- small bug fixes, mark as "release critical"
- break
- release procedure:
- merge of last MRs
- manual tests
- merge dev to master
- release master
- PermaplanT Anzeige Permakultur Magazin
- buddy talk: use cases and issues, collaboration?
- created value, not eagerness, is what counts: ideas how to simplify use cases
- also assign "done" use cases or assign by technical skills?
- Tasks for Everyone
- Development Board
- Andrei
- Ben
- Christoph Kraus (Chris)
- Christoph Schreiner
- Johannes
- Maiia
- Moritz
- Richard
- Stefanie
- Philip
Tasks for Everyone
To be done until Thursday 10.04.2025 23:59:
- write&check use cases
- buddy talk: use cases and issues
- collaboration talk: use cases
- review at least 3 requested MRs, including meeting MR
- complete your issues or state in the issue any block/alternative
- create/update issues for yourself
Do as needed:
- request reviews
- submit a page of text in submissions
- get MRs done
Meeting Notes
- 09:00 start
- Meeting Notes: Ben
- For:
- Christoph Kraus (Chris): CI/CD, Docker, Python
- Philip: svelt, react/vue/angular
- Ben: prettier, tsc, npm, zustand, React Query, React, tailwindcss
- Maiia: React, Typescript, Konva, React Query, Zustand, npm, webpack, SCSS
- Moritz: DB-Migrations (Liquibase, Flyway, SQLite), CI/CD, Openshift, Frontend Stores
- Richard: Docker, Networking, npm/pnpm, Rust, Makefile
- Johannes: IT-Security, Logging and Collection, SIEM Stuff, SoC Stuff, Makefile
- Filip: Did not attend
- Stefanie: prettier, vite, figma
- Andrei: Typescript, npm, prettier
- Christoph Schreiner: Python, npm, Finding bugs
FLOSS workflow:
- Overall goal: self-organization instead of micro-management (FLOSS certificate)
- Everything assigned to you and in current iteration should be worked on:
- if you cannot fully do it, you should at least find out if it can be done by you in one week (or help is needed or issue should be split etc.).
- make sure to do 3 reviews (at least comment or approval)
- make sure to not get behind
- always give life signs
- at least weekly
- better after every block of work (fixed working hours)
- at least write: I am stuck here
- to avoid spending lots of time on something that is maybe not so important
- create issues
- left-overs in MRs
- if something is discussed
- if you find something incomplete
- if something violates the guidelines
- then:
- you can assign yourself the issue and put into the next iteration (until Thursday!)
- but don't immediately work on it
- issues should be shortly acknowledged in meeting
- all such issues count to your progress
- already rejected application to have more time for you
- deadline Thursday important for me
- so that I have time to plan/answer
Notes:
- Give feedback based on what technologies you are comfortable with.
- Question about MR comments from Moritz: Should we close review comments by ourselves or wait for Markus? => resolve comments yourself when done
- Question about MR merging from Ben: Should we merge small merge requests with enough approvals ourselves? => if not critical, wait for Markus
- Comment from Christoph K.: What should we do if review blocks approval? => Approve so it does not hold up the merge request if not critical flaw, should take a look
- person who created MR can resolve comments
- Question from Moritz about docs: should you copy down checklist from review template? => copy as needed
Release and Tasks:
-
current focus 0.5.0 release:
- migrations (done?)
- Status update from Richard: Looking into it, should be working but pipeline still blocking
- security updates
- CI
- one last big MR
- rust 1.86 update? -> no later
- add yourself to team, mark as "release critical"
- small bug fixes, mark as "release critical"
- migrations (done?)
-
release procedure:
- merge of last MRs
- manual tests
- merge dev to master
- release master
-
PermaplanT Anzeige Permakultur Magazin
-
buddy talk: use cases and issues, collaboration?
- created value, not eagerness, is what counts: ideas how to simplify use cases
- also assign "done" use cases or assign by technical skills?
-
break
-
Tasks for Everyone
-
- Andrei
- Ben
- fixed blockers with onboarding on windows setup, nextcloud folder issue
- Christoph Kraus (Chris)
- Christoph Schreiner
- no blockers but open issues to be worked on
- Johannes
- found issue, made some good progress
- Maiia
- working on bug report for typeshare
- discussion about brushes
- Moritz
- working on open issues/use cases, guidelines mostly done, working on mockups
- Philip
- working on onboarding, had some setup issues
- Richard
- Migrations now passing, now in review. looking at CI failure next
- Stefanie
- mockups done, looking at reviews
-
MR about cleanup entity.rs: Unrealistic to fix remaining problems of incomplete APIs, add this to next release
Meeting 14.04.2025
Next meeting easter Monday 21.04.2025 14:00
Attendees
- Lukas
- Filip
- Markus
- Stefanie
- Maiia
- Christoph Schreiner
- Christoph Kraus (Chris)
- Ben (not approved)
- Moritz
Could not Come:
- Andrei
- Richard (not approved)
- Johannes (not approved)
Buddies
- Ben & Chris
- Moritz & Richard
- Andrei & Maiia
- Stefanie & Christoph
- Filip & Johannes & Richard (Infrastructure)
- Lukas & Jannis (Project)
Agenda
- 09:00 start
- Meeting Notes: Stef (hopefully last time)
- Hello to Lukas
- Game:
- Was ist für dich an PermaplanT toll?
- What is the most amazing part of PermaplanT for you?
- 0.5.0 celebration
- 0.6.0 release
- Ben+Lukas: access control
- get MRs merged
- UC collaboration:
- copy&paste: Andrei&Moritz to be clarified
- attributes: Ben
- collaboration: Ben&Richard
- labeling and units: Moritz, with help of Maiia
- break
- FLOSS priorities, always make sure to not stale:
- MRs
- Issues
- use cases
- because of release and other changes, all MRs need to do #1873
- next weeks, present:
- methods paper
- Christoph (next week: 21.04.)
- Stef
- tools:
- Maiia (next week 21.04.)
- methods paper
- now big call for MR cleanup:
- let us get all MRs merged
- review
- search for background/related work
- Tasks for Everyone
- Development Board
- Andrei
- Ben
- Christoph Kraus (Chris)
- Christoph Schreiner
- Johannes
- Maiia
- Moritz
- Richard
- Stefanie
- Philip
Tasks for Everyone
To be done until Thursday 17.04.2025 23:59:
- let us get all MRs merged
- search for background/related work
- review&correct use cases
- tell presentation date
- buddy talk: methods and presentations
- review at least 3 requested MRs, including meeting MR
- complete your issues or state in the issue any block/alternative
- create/update issues for yourself
Do as needed:
- request reviews
- submit a page of text in submissions
- get MRs done
Meeting Notes
- 09:00 start
- Meeting Notes: Stef (hopefully last time)
- Hello to Lukas
- Game "What is the most amazing part of PermaplanT for you?":
- Lukas talks about how we worked on PermaplanT in the frontend, his favorite part is the heatmap.
- Filip did infrastructure, his favorite part is the ansible playbook.
- Christoph (Schreiner) favorite part is the collaboration as he usually works alone.
- Chris says his favorite part is the infrastructure.
- Ben likes that people with not a lot of knowledge can have fun with it and learn new things.
- Maiia likes the decisions folder, because those things are not obvious.
- Moritz likes the fact that its open for change, he enjoyed learning Figma and also likes learning about React.
- Markus likes the rememberance for his own plants, where what is.
- 0.5.0 celebration
- 0.6.0 release:
- Ben+Lukas: access control:
- For inviting new people the access control feature thats very important
- Most of the things in the frontend are already done, backend needs some permission work.
- And of course bug fixing
- Now is good time to merge breaking changes!
- Ben+Lukas: access control:
- get MRs merged
- UC collaboration:
- copy&paste: Andrei&Moritz: Andrei already created some issues, but didn't start working on it yet.
- attributes: Moritz&Maiia: Some attributes are still missing, but most of them are there. Shouldn't be too much work.
- collaboration: Ben&Richard
- What use cases interest you?
- Ben likes to do more frontend, like water+fertilization layers, less backend and infrastructure.
- Chris is responsible for quality assurance, so he basically works on all the use cases.
- Lukas talks about his thesis and methodology, he did a quantitative survey analysis.
- Christoph would prefer to do his use cases alone, fine how it is.
- Filip is open to help and support regarding infrastructure.
- Maiia wants to finish the brushing. Open to work on attributes. Wants to focus on performance optimizations for her thesis.
- Moritz wants to focus on mobile usage, could collaborate with Maiia on that, especially in the design phase. Also open to work on copy and paste.
- break
- FLOSS priorities:
- MRs:
- we shouldn't have so many MRs open
- try to have small MRs
- and get MRs done as fast as possible
- Issues:
- make sure issues are clear to you
- use cases
- if most issues done, create new ones based on the use cases
- MRs:
- because of release and other changes, all MRs need to do #1873
- now big call for MR cleanup:
- let us get all MRs merged
- review
- search for background/related work: background papers are either papers where methodologies are defined (like how to do a benchmark) or someone implemented an algorithm and you want to improve on it. These are referenced early in your thesis.
- next weeks, present:
- methods paper: Christoph next week, Stef the week after
- tools: important to know which tools to use when benchmarking for example, Maiia will present some next week
- Next meeting: Monday 14:00 with Maiia, Moritz, Stefanie, Chris
- Tasks for Everyone
- Development Board
- Andrei
- Ben
- Christoph Kraus (Chris)
- Christoph Schreiner
- Johannes
- Maiia
- Moritz
- Richard
- Stefanie
- Philip
Meeting 21.04.2025
Attendees
- Markus
- Maiia
- Moritz
- Stefanie
- Christoph Kraus (Chris)
- Andrei
- Richard
Didn't come:
- Johannes
Cannot Come:
- Ben
- Christoph Schreiner
Buddies
- Ben & Chris
- Moritz & Richard
- Andrei & Maiia
- Stefanie & Christoph
- Filip & Johannes & Richard (Infrastructure)
- Lukas & Jannis (Project)
Agenda
- 14:00 start (instead of 9:00)
- Meeting Notes: Chris
- Pavlo
- Chris: testing strategy
- testing remember viewing state
- Moritz: Guidelines, map creation
- Maiia shows some React optimization tools
- Andrei+Moritz: copy&paste collaboration
- hull.js update
- break
- next weeks, present:
- methods paper
- Christoph (next week: 21.04.)
- Stef
- tools:
- Maiia (next week 21.04.)
- methods paper
- big call for MR cleanup continued:
- let us get all MRs merged
- review
- search for background/related work
- Tasks for Everyone
- Development Board
- Andrei
- Ben
- Christoph Kraus (Chris)
- Christoph Schreiner
- Johannes
- Maiia
- Moritz
- Richard
- Stefanie
Outlook Next Week
- next week presentation Christoph/Stef
- self-create follow ups
- fix your issues yourself until Thursday, fix:
- iteration
- clarification/questions
- avoids duplicates of issues during meetings
- old mockups
- user/map configuration/view state strategy
- big call for MR cleanup continued:
- let us get all MRs merged
- review
Tasks for Everyone
To be done until Thursday 01.05.2025 23:59:
- let us get all MRs merged: because of release and other changes, all MRs need to do #1873
- create MR with bib/links for background/related work in submission
- tell presentation topic+date via e-mail) to markus.raab@tuwien.ac.at
- buddy talk: methodology+tools
- review at least 3 requested MRs, including meeting MR
- complete your issues or state in the issue any block/alternative
- create/update issues for yourself
Do as needed:
- request reviews
- submit a page of text in submissions
- get MRs done
Meeting Notes
- 14:00 start (instead of 9:00)
- Meeting Notes: Chris
- great news: Pavlo works on CSV files for us
- Maiia shows some tools
- Shows us her new tools today, how to find performance issues in react.
- Tools she showed us: React Profiler, React Developer Tools (Browser Addons).
- With "Highlight updates when components render" it helps finding render performance issues.
- Showed us different techniques how to find performance issues on real-world problems.
- Outcome: We can leave the profiler component in the code base, if build in production, it will be disabled.
- Chris:
- testing strategy -> adds a testing proposal for e2e tests and smoke tests
- testing remember viewing state
- Moritz:
- Guidelines, map creation -> Guidelines for mobile development were updated based on the feedback.
- Guidelines are for things that need to be remembered again and again (in every review), everything PermaplanT-specific potentially wrong in a new implementation should be written into the guidelines.
- hull.js update, sometimes filling hulls is slow for Markus, Maiia didnt notice those.
- Hull.js has issues filling form if Konkavität is not set high enough.
- Most ugly bugs are fixed by Maiia.
- Markus will do more tests to find problematic areas with the paint brushes. Pinselstärke& Konkavität can not be set to lowest or highest level in chrome, it seems stuck. Is is feasable to fix this issues, otherwise we should just keep it.
- next week presentation Christoph/Stef
- break
- big call for MR cleanup continued:
- let us get all MRs merged
- review
- search for background/related work
- Tasks for Everyone
- Development Board
- Andrei -> Broke down the use case into different tasks and completed some preliminary work for a discussion. Will discuss it with Moritz. Is still looking for a Methodology.
- Ben
- Christoph Kraus (Chris) -> is looking for papers for e2e optimization. Will show something next week
- Christoph Schreiner
- Johannes
- Maiia -> did not look for background papers yet.
- Moritz -> Found some papers but hasn't finished reading them yet. Wants to classify the first batch.
- Richard -> Wasn't there last weekend. We should write a bit about the papers related to our research question and submit it to the submissions repository.
- Stefanie -> found 2 papers using the same metric she wants to do, she wants to use them. She also has papers for lazy loading.
It is much better to do a minimal submission then doing non at all.
No Buddy talks last week, talk about papers with other people to help you with your ideas. Speaking only once about these topics per week is too little, so really go for buddy talks.
Meeting 28.04.2025
Attendees
- Markus
- Maiia
- Richard
- Johannes
- Christoph Kraus (Chris) (not approved)
- Andrei
- Ben
- Christoph Schreiner (not approved)
- Moritz
Cannot come:
- Stefanie
Buddies
- Ben & Chris
- Moritz & Richard
- Andrei & Maiia
- Stefanie & Christoph
- Filip & Johannes & Richard (Infrastructure)
- Lukas & Jannis (Project)
Agenda
- 09:00 start
- method papers/tools: Christoph
- buddy talk
- Meeting Notes: Christoph
- Blog Article about PermaplanT
- 0.6 release
- new scraper data
- access control
- cache busting (PWA fixes)
- bug fixes
- Biology:
- first steps with Pavlo
- collaboration with Monika Egerer
- documentation and continuous improvements
- learn from MRs
- scraper data definitions in README in scraper data
- always also improve documentation
- self-create follow ups
- Johannes not shown in reviewer list?
- fix your issues yourself until Thursday, fix:
- iteration
- clarification/questions
- avoids duplicates of issues during meetings
- old mockups, mobile strategy
- break
- big call for MR cleanup continued:
- let us get all MRs merged
- review
- search for background/related work
- Tasks for Everyone
- Development Board
- Andrei
- Ben
- Christoph Kraus (Chris)
- Christoph Schreiner
- Johannes
- Maiia
- Moritz
- Richard
- Stefanie
Outlook Next Week
- retrospective by Andrei
- user/map configuration/view state strategy
- Stef: Methods+Tools
- Johannes: Opentelemetry (in two weeks)
Tasks for Everyone
To be done until Thursday 01.05.2025 23:59:
- let us get all MRs merged: because of release and other changes, all MRs need to do #1873
- create MR with bib/links for background/related work in submission
- tell presentation topic+date via e-mail) to markus.raab@tuwien.ac.at
- buddy talk: methods papers+tools
- review at least 3 requested MRs, including meeting MR
- complete your issues or state in the issue any block/alternative
- create/update issues for yourself
Do as needed:
- request reviews
- submit a page of text in submissions
- get MRs done
Meeting Notes
- 09:00 start
- method papers/tools: Christoph Christoph showed the methods Gabriel used in his paper and compared them to his own.
- Insights from other people:
- Andrei: talked with Maiia about how to reliably compare (not possible with manual clicking)
- ChrisK: looked into optimizations to speed up e2e (Markus: first more e2e tests should be written, so that we optimize the right thing)
- Johannes:
- Maiia: It would be better if measurements would happen in an automated way and not have to be done by hand.
- Markus: Other students have done this in the past (playwright, SSE via Jannis script:
benchmarks/sse_benchmark/make_request.py). - Moritz wants to measure usability. He was looking into content/page overflow and issues not covered by end to end tests.
- Meeting Notes: Christoph
- Blog Article about PermaplanT
- Biology:
- first steps with Pavlo Pavlo reworked companions/antagonist relationship files. He also reworked crop rotation and also added positive crop rotation relationships
- collaboration with Monika Egerer
- 0.6 release
- new scraper data
- access control
- cache busting (PWA fixes)
- bug fixes
- documentation and continuous improvements
- learn from MRs
- scraper data definitions in README in scraper data
- always also immediately improve documentation
- self-create follow ups
- Johannes not shown in reviewer list? Maybe we can fix it with approval rules combined with a group for "active developers". https://docs.gitlab.com/user/project/merge_requests/reviews/#find-reviewers-who-fulfill-approval-rules https://docs.gitlab.com/user/project/merge_requests/approvals/#configure-approval-rules https://docs.gitlab.com/user/project/merge_requests/approvals/rules/
- buddy talk
- fix your issues yourself until Thursday, fix:
- iteration
- clarification/questions
- avoids duplicates of issues during meetings
- old mockups, mobile strategy
- Moritz suggested combining the select-plants-button and the move-plants-button.
- Maiia mentioned that
- we should not hide functionality behind hover and
- it might be important to have too many clicks.
- break
- big call for MR cleanup continued:
- let us get all MRs merged
- review
- search for background/related work Make MR in submissions for a background paper or related work. Give a little bit of context how it is related to your work, it does not have to be perfect. There should at least be a markdown file with one link.
- Andrei will prepare a retrospective next meeting
- Johannes will show OpenTelemetry in two weeks
- Tasks for Everyone
- Development Board
- Andrei
- Ben
- Christoph Kraus (Chris)
- Christoph Schreiner
- Johannes
- Maiia
- Moritz
- Richard
- Stefanie
Meeting 05.05.2025
Attendees
- Markus
- Maiia
- Richard
- Johannes
- Christoph Kraus (Chris) (no approval)
- Stefanie
- Andrei (no approval)
- Ben
- Moritz
Cannot come:
- Christoph Schreiner
Buddies
- Ben & Chris
- Moritz & Richard
- Andrei & Maiia
- Stefanie & Christoph
- Filip & Johannes & Richard (Infrastructure)
- Lukas & Jannis (Project)
Agenda
- 09:00 start
- Meeting Notes: Johannes
- efficient working together:
- minimize notifications, but daily notifications, especially if stuck
- when creating issues: estimation, implementing, manual tests, move use case to done, ...
- retrospective by Andrei
- break
- Biology: progress with Pavlo
- collaboration with Monika Egerer demonstration 15.05.
- 0.6 release (for demo)
- new scraper data
- remember view state
- bug fixes
- cache busting: fix or turn off PWA
- 0.7 release (public)
- access control
- Verein: Perma, PermakurS etc., Domains
- please give feedback what domains to register
- buddy talk
- Tasks for Everyone
- review of submissions
- Development Board
- Andrei
- Ben
- Christoph Kraus (Chris)
- Christoph Schreiner
- Johannes
- Maiia
- Moritz
- Richard
- Stefanie
Outlook Next Week
Presentations:
- Stef: Methods+Tools
- Johannes: Opentelemetry
Agenda:
- new feature idea PermaplanTasks: toggle states (protection against freezing, remove it again)
- working together for e2e tests? Chris push fixes?
- user/map configuration/view state strategy
- reconstruct text (nouns, verbs)
- code
- always use typeshare if possible
- link to code if possible
Tasks for Everyone
To be done until Thursday 08.05.2025 23:59:
- review 2x MR with bib/links for background/related work in submission
- buddy talk: latest papers (methods)
- review at least 3 requested MRs, including meeting MR
- complete your issues or state in the issue any block/alternative
- create/update issues for yourself
Do as needed:
- request reviews
- submit a page of text in submissions
- get MRs done
Meeting Notes
Goods/and things that could be better:
- lots of progress in MRs
- great reviews
- great discussions
- too many notifications (better bundle actions like adding reviewers, replies in MRs)
- create issues next time:
- test strategy
- establish workflow for e2e tests
Retrospective:
Mad/Sad/Glad
- Mad:
- devcontainer setup not working
- old fixed errors pop up again, even though fixed (probably PWA)
- Sad:
- Unreliable e2e tests
- quite many regressions
- runtime of pre-commit hooks (+1)
- flaky pipeline (+1)
- Glad:
- release!
- collaboration with Biologists
- good decision making
- extend of automatization & documentation
- fast responses
- good review guidelines for MRs
- great working together in MRs, on guidelines etc.
- Devcontainer
- Working on new features
- Getting to know some new technologies
- Getting some older MRs through
KALM
- Keep:
- update issues
- meetings as short as needed/efficient
- doing great reviews
- buddy talks
- fast fixes/responses of e.g. CI/E2E problems (+1)
- Add:
- E2E Tests for different screen sizes/devices (+1)
- get UC done, with E2E tests etc.
- automatic deployment pf scraper-data
- document (& support) setup on Windows (WSL and .devcontainer)
- Writing tests for fixed bugs (+1)
- Less:
- Redundant Notifications
- maybe not supporting too many setups?
- regressions ;) maybe reduce some features?
- More:
- E2E tests to avoid regressions
- releases for fixes etc.
- a clearer release schedule
- instructions on what to look at in MRs
- guidelines? E.g for typeshare etc.
Takeaways:
-
Devcontainer/setup
- Windows with WSL
- better documentation of preconditions (Network? Memory? Space?)
- Document fixes for the issues we faced
-
E2E Tests
- Reliability
- Coverage
- Local setup
-
Unit Tests/ regression tests
- We should find better ways how tests are written
-
Release process will be updated
-
cache busting seems to be done, but PWA service workers seems to cause problems
Verein news:
-
Name would be Perma
-
domainnames common mistypes feedback wanted
-
- Andrei
- Ben
- Christoph Kraus (Chris)
- Christoph Schreiner (was not here)
- Johannes
- Maiia
- Moritz
- Richard
- Stefanie
Meeting 12.05.2025
Attendees
- Markus
- Maiia (not approved)
- Richard (not approved)
- Johannes
- Christoph Kraus (Chris) (not approved)
- Stefanie
- Ben (not approved)
- Moritz
Missing:
- Christoph Schreiner
Cannot come:
- Andrei (not approved)
Buddies
- Ben & Chris
- Moritz & Richard
- Andrei & Maiia
- Stefanie & Christoph
- Filip & Johannes & Richard (Infrastructure)
- Lukas & Jannis (Project)
Agenda
- 09:00 start
- Meeting Notes: Moritz
- buddy talk: latest papers
- Stef: Methods+Tools (Abschluss-talk)
- Johannes: Opentelemetry
- collaboration with Monika Egerer demonstration 15.05.
- 0.6 release (for demo)
- manual tests (Chris: 15:00)
- new scraper data, verify if it works (Christoph)
- bug fixes (@everyone: please review)
- cache busting: turn off PWA (Richard)
- scraper data pipeline (Johannes)
- release meeting(s): Richard (17:00), Johannes (Tuesday)
- more than 1000 issues closed
- technicalities:
- new react guidelines
- Keycloak: get user name
- always use typeshare for communication with the backend
- link to code if possible
- what makes a good RQ?
- how to write an abstract?
- meeting for release with Richard and Johannes
- next talks
- Tasks for Everyone
- review of submissions
- Development Board
- Andrei
- Ben
- Christoph Kraus (Chris)
- Christoph Schreiner
- Johannes
- Maiia
- Moritz
- Richard
- Stefanie (last tasks?)
- Tasks for everyone
Outlook Next Week
- Meeting Notes: Andrei
- Chris will start Testing Strategy
- keycloak docu?
- warme Dusche Stef in two weeks
- working together for e2e tests? Chris push fixes?
- testing strategy
- new feature idea PermaplanTasks: toggle states (protection against freezing, remove it again)
- user/map configuration/view state strategy
- reconstruct text (nouns, verbs)
- submissions repository:
unterlagen/review_checklist.txt - Maiia: cannot come in two weeks
Tasks for Everyone
To be done asap:
To be done until Thursday 15.05.2025 23:59:
- create MR with research question or hypothesis with context (background+method)
- buddy talk: research question
- review at least 3 requested MRs, including meeting MR
- complete your issues or state in the issue any block/alternative
- create/update issues for yourself
Do as needed:
- request reviews
- submit a page of text in submissions
- get MRs done
Meeting Notes
- 09:00 start
- Meeting Notes: Moritz
- buddy talk: latest papers
- Stef: Methods+Tools (Abschluss-talk)
- implemented lazy loading for plants
- used Chrome Dev Tools
- measured FPS and Heap size
- used custom script to periodically measure FPS and Heap size as well as the average values over time
- Johannes: Opentelemetry
- goals: debug, metrics, CI integration? reverse engineering
- unclear where low-hanging fruits are: frontend, nextcloud, database
- ask in community
- regressions/warnings below thresholds possible
- how efficient? overhead auto-instrumentation?
- document decision: signoz and alternatives
- optional? only for mr/dev?
- Open source Observability framework and toolkit
- Uses Traces, Metrics and Logs. Calls them Signals.
- Traces = represents the full path a request takes in your application
- Metrics = a measurement of a service captured at runtime
- Logs = text record either structured or unstructured
- widely used, actively developed and de factor standard
- Signoz is one possible Observability backend
- Can be used to observe frontend and backend. Even if Opentelemetry is not directly included in the app itself.
- Offline use is most likely not supported currently
- collaboration with Monika Egerer demonstration 15.05.
- 0.6 release (for demo)
- manual tests (Chris)
- new scraper data, verify if it works (Christoph)
- bug fixes (@everyone: please review)
- cache busting: turn off PWA (Richard)
- scraper data pipeline (Johannes)
- also on master (Richard)
- release meeting(s): Richard, Johannes
- already today (12.05) 5 - 6 pm
- more than 1000 issues closed
- technicalities:
- new react guidelines
- Keycloak: get user name, probably only possible via backend as the APIs are only available for admins
- potentially similar to collaborators list in frontend
- not possible to retrieve this in the frontend as the information is not publicly available
- link to code if possible
- always use typeshare for communication with the backend
- what makes a good RQ?
- possible within time frame, narrows down
- several outcomes possible (>>3)
- relevance within PermaplanT
- how to write an abstract?
- one sentence for each: context, problem, methods, and results
- except the first sentence, no further context should be needed
- should not contain anything, not also written in the thesis
- break until 10:20
- meeting for release with Richard and Johannes
- Tasks for Everyone
- review of submissions
- review tasks marked as release critical as soon as possible
- Development Board
- Andrei
- Ben
- Christoph Kraus (Chris)
- Christoph Schreiner
- Johannes
- Maiia
- Moritz
- Richard
- Stefanie (last tasks?)
Meeting 19.05.2025
Attendees
- Markus
- Maiia
- Christoph Kraus (Chris)
- Ben
- Moritz
- Christoph Schreiner
Sick:
- Richard (not approved)
Not here:
- Andrei
- Johannes (not approved)
Cannot come:
- Stefanie
Buddies
- Ben & Chris
- Moritz & Richard
- Andrei & Maiia
- Stefanie & Christoph
- Filip & Johannes & Richard (Infrastructure)
- Lukas & Jannis (Project)
Agenda
- 09:00 start
- design questions:
- markers
- visualization lines
- new topics:
- traceability
- scraping
- irregular polyculture area of plantings
- Meeting Notes: Chris
- how to review
- submissions repository:
unterlagen/review_checklist.txt
- submissions repository:
- report of collaboration with Monika Egerer demonstration 15.05.
- report Pflanzen im Mai
- celebration of 0.6 release
- next talks:
- Chris next week
- Ben in two weeks
- Moritz, maybe about mobility
- Christoph Schreiner
- Richard
- Tasks for Everyone
- review of submissions
- Development Board
- Andrei
- Ben
- Christoph Kraus (Chris)
- Christoph Schreiner
- Johannes
- Maiia
- Moritz
- Richard
- Stefanie (last tasks?)
Tasks for Everyone
To be done until Thursday 22.05.2025 23:59:
- rebase/merge dev after e2e is fixed
-
update README.md in submissions:
document your setup (OS, editor) - review 2x MRs in submission (background+method)
- buddy talk: review of research question, feedback of review
- review at least 3 requested MRs, including meeting MR
- complete your issues or state in the issue any block/alternative
- create/update issues for yourself
Do as needed:
- request reviews
- submit a page of text in submissions
- get MRs done
Meeting Outcomes
- wait for Chris e2e fixes and then rebase/merge from dev (this should also fix the problem with old changes of changelog)
- we again write manual tests for all MRs
- only copy agenda to meeting notes
Meeting Notes
- 09:00 start
- design concept of markers and visualization lines will be done by Maiia
- new topics:
- traceability
- scraping
- irregular polyculture area of plantings
- Meeting Notes: Chris
- how to review
- went through first points of
unterlagen/review_checklist.txt
- went through first points of
- report of collaboration with Monika Egerer demonstration 15.05 Was a successful demonstration, they liked it a lot. Further collaboration might be possible.
- report Pflanzen im Mai: first crop rotation with Spinach
- celebration of 0.6 release
- new scraper data (Christoph)
- many bug fixes, also last minute fixes by Maiia and Moritz
- turn off PWA (Richard)
- scraper data pipeline (Johannes)
- release meeting(s): Richard+Chris
- next talks:
- Chris Test strategy 26.5.2025
- Ben in 2 weeks
- Christoph Schreiner
- Moritz
- Richard
- People should write manual tests cases as preparation for E2E test cases.
- More about test strategy next week.
- Tasks for Everyone
- review of submissions
- Development Board
- Andrei
- Ben -> still has issues setting up, will do reviews and try to set it up.
- Christoph Kraus (Chris)
- fixes e2e tests so pipeline is green again, all other should rebase them.
- Then prepare presentation so team has an overview for the testing strategy.
- Test data to be discussed later.
- Christoph Schreiner -> keeps going with attributes, Master needs some config changes, we will deploy it again to fix it.
- Johannes
- Maiia -> keeps working on her issues, she will not be there next week, so iteration is 2 weeks. Offered help with workaround for typeshare bug.
- Moritz -> will work on various issues.
- Richard
- Stefanie (last tasks?)
Outlook Next Week
- Meeting Notes: Andrei
- focus testing:
- strategy (Chris)
- extra plant test data? (Chris)
- blank pages (Richard)
- working together: manual tests or Chris push fixes/e2e
- estimations of recurrence of regressions
- warme Dusche Stef next week
- keycloak docu?
- new feature idea PermaplanTasks:
- toggle states (protection against freezing, remove it again)
- user/map configuration/view state strategy
- highlight elements with open tasks
- make updates of width/height/positions also as (removable) events?
- reconstruct text (nouns, verbs)
- Maiia: cannot come next week
- CI improvements:
- regular checks for CI pipeline
- after CI problems: trigger scan to rebuild everything
Meeting 26.05.2025
Attendees
- Markus
- Christoph Kraus (Chris) (not approved)
- Ben
- Moritz
- Christoph Schreiner
- Richard
- Andrei
- Johannes (not approved)
- Stefanie
Cannot come:
- Maiia (not approved)
Buddies
- Ben & Chris
- Moritz & Richard
- Andrei & Maiia
- (Stefanie) & Christoph & Lukas
- (Filip) & Johannes & Richard (Infrastructure)
Agenda
- 09:00 start
- Meeting Notes: Andrei
- buddy talk: review of research question, feedback of review
- requirements for test maps?
- a bit of everything
- also one of everything? -> not needed
- also get the dump
- requirements for WSL?
- warme Dusche Stef
- review her thesis
- goodbye
- focus testing:
- strategy (Chris)
- extra plant test data? (Chris)
- blank pages (Richard)
- working together: manual tests or Chris push fixes/e2e
- estimations of recurrence of regressions
- break
- Tasks for Everyone
- decisions
- what they are for
- for all libs
- CI improvements:
- regular checks for CI pipeline
- after CI problems: trigger scan to rebuild everything
- check if CI also fails if it should
- review of submissions
- Development Board
- Andrei
- Ben
- Christoph Kraus (Chris)
- Christoph Schreiner
- Johannes
- Maiia (not here)
- Moritz
- Richard
- Stefanie (last tasks)
Tasks for Everyone
To be done until Thursday 29.05.2025 23:59:
- rebase/merge dev after e2e is fixed
-
update README.md in submissions:
document your setup (OS, editor) - review 2x MRs in submission (background+method)
- buddy talk: important decisions?
- review at least 3 requested MRs, including meeting MR
- complete your issues or state in the issue any block/alternative
- create/update issues for yourself
Do as needed:
- request reviews
- submit a page of text in submissions
- get MRs done
Outlook Next Week
- next talks:
- Ben next week about a new react tool
- Moritz, maybe about usability
- Christoph Schreiner
- Richard
- new feature idea PermaplanTasks:
- toggle states (protection against freezing, remove it again)
- user/map configuration/view state strategy
- highlight elements with open tasks
- make updates of width/height/positions/notes also as (removable) events or as version history?
- attributes splitup? (like drawing)
- added/removed/notes/created/..
- plant info (not editable data)
- changeable data (width, height)
- version history
- PermaplanTasks
- reconstruct text (nouns, verbs)
Meeting Notes
- 09:00 start
- Meeting Notes: Andrei
- buddy talk: review of research question, feedback of review
- Andrei, Ben - did not manage to do this
- Chris - found some papers for e2e but not specifically for the topic he wanted
- Christoph - could not find good papers, either too broad or not related to my topic
- Johannes - only a few papers related to opentelemetry, but good start
- Moritz - read through submissions, had feedback for Stef. Did not get to talk to Richard
- Richard - sick, did not manage to do it and hopes to catch up
- Stef - MRs from submission done, still to look into her open MRs in the main app
- requirements for test maps?
- how should maps look like? What are bottlnecks to test?
- Maybe have one more 'realistic' map besides Loase, to get a feel on how a user would use a map
- Map with one of every brush layer
- Would be good to have access to existing test maps to use them on local environment (topic taken to infrastructure meeting next week)
- requirements for WSL? (Stefanie?)
- there is existing documentation, but it has gaps or parts where it's not specific enough
- document what WSL version, what setup we use etc - Andrei
- warme Dusche Stef
- review her thesis
- goodbye
- focus testing:
- strategy (Chris)
- backend tests fail - could be because of not clean db
- mdbook tests fail - there issue for it
- e2e tests vs unit tests
- write the easier tests first
- unit tests are good at finding where the issue is
- important to have use cases covered somehow
- e2e tests are harder to write/ takes longer to get a proper coverage and feedback to devs is poor (manual tests even more so)
- extra plant test data? (Chris)
- blank pages (Richard)
- working together: manual tests or Chris push fixes/e2e
- estimations of recurrence of regressions
- decisions
- what they are for
- for all libs to be introduced there must be a decision
- CI improvements:
- regular checks for CI pipeline
- after CI problems: trigger scan to rebuild everything
- check if CI also fails if it should
- Tasks for Everyone
- review of submissions
- Development Board
- Andrei
- Ben
- Christoph Kraus (Chris)
- Christoph Schreiner
- Johannes
- Maiia (not here)
- Moritz
- Richard
- Stefanie (last tasks)
Meeting 02.06.2025
Attendees
- Markus
- Ben
- Moritz
- Richard
- Andrei
- Johannes
- Maiia (not approved)
- Filip (last time)
Cannot come:
- Chris(toph) Kraus (unexcused)
- Christoph Schreiner
Buddies
- Ben & Chris
- Moritz & Richard
- Andrei & Maiia
- Christoph & Lukas
- Johannes & Richard (Infrastructure)
Agenda
- 09:00 start
- Warme Dusche Filip
- new maps
- goodbye
- Meeting Notes: Ben
- React Tool from Ben
- buddy talk: important decisions
- releases:
- finish 0.6.0
- do 0.6.1 release next week
- call for bug fixes
- PermaplanTreffen?
- Medi-Camp?
- tech talk:
- copy&paste behavior
- ready to merge requirements:
- 2 reviewers
- all threads resolved
- release planning+release
- break
- Tasks for Everyone
- Moritz Talk: Usability&Responsiveness for anyone
- answer all questions in issues added
- Development Board
- Andrei
- Ben
- Christoph Kraus (Chris) (not here)
- Christoph Schreiner (not here)
- Johannes
- Maiia
- Moritz
- Richard
Tasks for Everyone
All to be done until latest Thursday 05.06.2025 23:59.
Tasks:
- Bitte Feedback-Bogen ausfüllen: https://cloud.perma.health/index.php/apps/forms/s/QocjpHFWfzttNAiB6Zdc5576 (unfortunately only in German)
- buddy talk: important decisions?
- review at least 3 requested MRs, including meeting MR
- complete your issues or state in the issue any block/alternative/progress
- create/update issues for yourself
- answer all questions in issues
Old tasks (if you didn't already do last time):
- review 2x MRs in submissions
-
update README.md in submissions:
document your setup (OS, editor)
Do as needed:
- request reviews
- submit a page of text in submissions
- get MRs done
Outlook Next Week
- next talks:
- next week: Moritz (visual testing)
- Christoph Schreiner
- Richard
- new plant icons
- is_tree?
- new feature idea PermaplanTasks:
- toggle states (protection against freezing, remove it again)
- user/map configuration/view state strategy
- highlight elements with open tasks
- make updates of width/height/positions/notes also as (removable) events or as version history?
- attributes splitup? (like drawing)
- added/removed/notes/created/..
- plant info (not editable data)
- changeable data (width, height)
- version history
- PermaplanTasks
- reconstruct text (nouns, verbs)
- Andrei not here 2 weeks
- Richard not here 1 week
Meeting Notes
- 09:00 start
- Warme Dusche Filip
- showcase and feedback for map feature filip worked on
- discussion about how to deploy it to production
- new maps
- goodbye to Filip
- Meeting Notes: Ben
- react scan (talk by Ben)
- tool that allows to detect performance issues in react
- can easily be added via script tag during development
- is free and open source
- can be used to measure performance improvements (via measuring re-renders of components which are consistent and reproducable)
- buddy talk: important decisions
- andrei & maiia: could not do the buddy talk last week
- ben & chris: could not do the buddy talk last week
- johannes: casual buddy talk a week ago, no decisions for opentelemetry yet
- maiia: talking about decision for typeshare
- moritz: talking about research question, did not get to decisions
- richard: started writing on nextcloud decision
- releases:
- finish 0.6.0 this week
- do 0.6.1 release next week
- call for bug fixes for upcoming release
- PermaplanTreffen? -> asked in Feedback
- Medi-Camp?
- write to Markus you are interested
- tech talk:
- copy&paste behavior
- moritz gives update for decisions about copy paste (e.g. last click not being indicated not being intuitive), comparison to figma/draw.io
- paste at cursor
- issues with selecting nodes
- programmatically, could be solved by pasting at cursor position
- priority for implementing copy/paste for different layers
- ready to merge requirements:
- 2 reviewers
- all threads resolved
- release planning+release
- break
- Tasks for Everyone
- Moritz Talk: Usability&Responsiveness for anyone
- answer all questions in issues added
- Development Board
- Andrei
- worked on wsl documentation
- Ben
- completed documentation tasks as comments for now as setup did not work
- Johannes
- documenting decisions
- Maiia
- worked on typeshare issue, null/undefined rules resolved as eslint rule using non-strict checks for null/undefined
- markus suggests to change eslint rule to be shown as a error instead (so that CI fails when it is introduced accidentally)
- discussion about new plant highlight feature
- maybe add animation or border to selections to make it more obvious of an indicator that all of the same plant type is highlighted (on top of = symbol as marker)
- Moritz
- finished his tasks and waiting for reviews from more people
- working on quality goals for mobile usability
- copy & paste: working on base implementation and looking further into it
- area of plantings: needs backend implementation
- Richard
- blank pages should be fixed with next release/deployment, documentation will be done
- last steps of release tbd, including merging MRs with "MRs::needs update"
- decision to use "MRs::needs update" label to indicate which MRs need an update
- Andrei
- working on finishing up last release next
- ask for reviews: good numbers is 3-5 people to get 2 reviews
- text of thesis is not going to be perfect first try, just start and create merge request
Meeting 09.06.2025
Attendees
- Markus
- Ben (no submission)
- Moritz
- Chris(toph) Kraus (not approved, no submission)
Did not come:
- Johannes (unexcused, not approved)
- Christoph Schreiner (unexcused, not approved, no submission)
- Andrei (not approved, no submission)
- Maiia
- Richard (not approved, no submission)
Buddies
- Ben & Chris
- Moritz & Richard
- Andrei & Maiia
- Christoph & Lukas
- Johannes & Richard (Infrastructure)
Agenda
- 09:00 start
- Meeting Notes: Moritz
- buddy talk: important decisions
- Moritz Talk:
- small intro in visual testing
- writing techniques:
- freewriting
- reconstruct text (nouns, verbs)
- icons
- format (webp but also svg)
- resolution (original)
- is_tree (Christoph)
- 2FA, apps/extension in browser?
- comments on feedback:
- smaller MRs
- visual indications in issues (how to do screencasts?)
- AI
- unit test strategy
- windows/mac support non-goal
- enforce task for everyone non-goal but I'll start marking public
- break
- make updates of width/height/positions/notes also as (removable) events or as version history? -> no, first only manual
- attributes splitup? (like in drawing) -> no, better collapsible regions
- added/removed/notes/created/..
- plant info (not editable data)
- changeable data (width, height)
- PermaplanTasks
- action history
- 0.7.0 release prep
- highlights: lazy loading, copy&paste
- access control?
- get MRs done
- Tasks for Everyone
- Development Board
- Andrei (not here)
- Ben
- Chris(toph) Kraus
- Christoph Schreiner
- Johannes
- Maiia (not here)
- Moritz
- Richard (not here)
Tasks for Everyone
All to be done until latest Thursday 12.06.2025 23:59.
Tasks:
- buddy talk: hypothesis
- review at least 3 requested MRs, including meeting MR
- complete your issues or state in the issue any block/alternative/progress
- create/update issues for yourself
- answer all questions in issues
Do as needed:
- request reviews
- submit a page of text in submissions
- get MRs done
Outlook Next Week
- how to do screencasts?
- next talks:
- Christoph Schreiner
- Richard
- Andrei not here next weeks
Meeting Notes
- 09:00 start
- Meeting Notes: Moritz
- Moritz Talk: visual testing
- testing focus on the look and feel of the application
- more visual testing tools developed in recent years
- manual testing
- Does not scale well and is often inconsistent
- snapshot testing (i.e. Playwright)
- Hard to maintain and debug
- rule-based testing (i.e. Galen Framework)
- Harder to develop but may offer greater accuracy than Snapshot Testing
- AI-supported testing (i.e. Applitools)
- Similar to rule-based visual testing but greater ease of use due to AI support
- writing techniques:
- freewriting
- Just writing anything for x minutes/hours/...
- to break writers block
- no expectations about quality & quantity
- quite a bit of literature
- reconstruct text
- as opposed to rewrite text
- detect dependencies of terms, paragraphs
- highlighting terms and drawing arrows from definition to usage
- icons
- format
- webp for plant icons, svg for button icons
- resolution
- is_tree
- 2FA, apps/extension in browser?
- buddy talk: important decisions
- Ben and Chris did not have time to meet
- Ben managed to fix his local setup and push his first MR
- Chris had some issues with the pipline
- comments on feedback:
- smaller MRs
- visual indications in issues
- AI: currently only partially possible as many biological aspects are still unclear/not sufficiently explored
- unit test strategy
- windows/mac support -> non-goal
- enforce task for everyone non-goal but Markus will start marking in meeting MRs (together with Unexcused not coming)
- break until 10:10
- make updates of width/height/positions/notes also as (removable) events or as version history?
- Flatten Drawing layer toolbar content
- not yet clear which actions we want to track
- actions could definitely offer some benefit for the user
- for now we will keep it manual (PermaplanTasks)
- attributes splitup? (like in drawing)
- no, better collapsible
- 0.7.0 release prep
- highlights: lazy loading, copy&paste
- access control?
- no progress here yet
- will be moved to the next release
- get MRs done
- Tasks for Everyone
- Development Board
- Andrei (not here)
- Ben
- Chris(toph) Kraus
- Christoph Schreiner
- Johannes
- Maiia (not here)
- Moritz
- Richard (not here)
Meeting 16.06.2025
Attendees
- Markus
- Ben
- Moritz
- Johannes (sick during approval time)
- Christoph Schreiner
- Maiia
- Richard (not approved)
Not here:
- Chris(toph) Kraus (unexcused)
Cannot come:
- Andrei (holiday during approval time)
Buddies
- Ben & Chris
- Moritz & Richard
- Andrei & Maiia
- Christoph & Lukas
- Johannes & Richard (Infrastructure)
Agenda
- 09:00 start
- Meeting Notes: Maiia
- mistake of the week
- news:
- PermaplanTreffen in Summer, please vote: https://cloud.perma.health/index.php/apps/polls/s/jXi8NQAW
- new test maps 2, 3, 4 and 5 deployed
- maps also available locally in maps repo
- tips:
- pair programming/pair writing
- everything relevant for Markus till Thursday
- do reviews and ask for reviews
- self-merge submissions and create new MRs
- daily breaks, self-care etc.
- unit test strategy updates: MR template, code guidelines
- steps: (1) unit tests (2) refactor first (3) actions
- coverage as rough guideline
- further tests:
- if there is way to trigger some functionality (UI)
- buttons big enough?
- linters:
- vs. guidelines
- goals:
- 150 line length? 200, 100-120, 120, configure prettier
- 150 function length? https://gitlab.tuwien.ac.at/permaplant/PermaplanT/-/merge_requests/1745
- template literals or string concat or backslash (and not cn)?
- add more rules
- SonarQube
- further brainstorming:
- dev tips:
- install Tailwind CSS IntelliSense
- install SolarCube
- screen recs
- atomic MRs:
- no bugs/inconsistencies
- add docu/tests
- buddy talk
- break
- icons (Christoph)
- is_tree
- reproducibility
- 0.7.0 release next week
- fix regressions (collaboration, add test cases)
- highlights: lazy loading, copy&paste
- add manual tests for collaboration
- get MRs done
- Tasks for Everyone
- Development Board
- Andrei (not here)
- Ben
- Chris(toph) Kraus (not here)
- Christoph Schreiner
- Johannes
- Maiia
- Moritz
- Richard
- Tasks for Everyone
- Maiia+Moritz again
Tasks for Everyone
All to be done until latest Thursday 19.06.2025 23:59.
Tasks:
- please vote for date: https://cloud.perma.health/index.php/apps/polls/s/jXi8NQAW (this is not yet a confirmation/Zusage that you will come)
- install plugins: - SonarSource.sonarlint-vscode - bradlc.vscode-tailwindcss
- buddy talk: code quality, live meeting
- submissions: methods
- review at least 3 requested MRs, including meeting MR
- complete your issues or state in the issue any block/alternative/progress
- create/update issues for yourself
- answer all questions in issues
Do as needed:
- request reviews
- submit a page of text in submissions
- get MRs done
Outlook Next Week
- prepare test cases, priority, measure time
- next talks:
- next week: Christoph Schreiner: Useful command line tools
- in two weeks: Richard
- https://gitlab.tuwien.ac.at/dashboard/todos
- further tests:
- if there is way to trigger some functionality (UI)
- buttons big enough?
Meeting Notes
- 09:00 start
- Meeting Notes: Maiia
- mistake of the week
- goal is to be open and grow from our mistakes
- majority of "mistakes" related to writing of the thesis or time management
- suggestion from Christoph to facilitate writing: having online writing sessions
- struggle of finding a research question - RQ does not have to be perfect from the start, it is a work in progress, RQ gets improved as the rest of the work on the thesis improves
- e.g. writing methods also helps with clarification of RQ
- news:
- PermaplanTreffen July
- Need to align on a date in July/August - please vote: https://cloud.perma.health/index.php/apps/polls/s/jXi8NQAW
- new test maps 2, 3, 4 and 5 deployed
- maps also available locally in maps repo
- what to do with the map dumps: psql pipe their content into db (tutorial should be added)
- PermaplanTreffen July
- tips:
- pair programming/pair writing
- a way of knowledge sharing
- either one person types, the other thinks about the problem (pair programming), supports learning
- or both work concurrently (helps to dedicate time slots, similar to going to work)
- prepare test cases, priority, measure time
- everything relevant for Markus till Thursday
- do reviews and ask for reviews
- self-merge submissions and create new MRs
- daily breaks, self-care etc.
- research shows that vacations or holidays have no positive short-term, mid-term or long-term after-effects on well-being (e.g. Bloom et al. in "Effects of vacation from work on health and well-being: Lots of fun, quickly gone")
- however some negative effects (for example in the context of schools, long breaks cause students to have more problems in learning)
- pair programming/pair writing
- prefer multiple small MRs rather than one big
- how to do it:
- before implementation, check if code doesn't need to be refactored first
- unit tests can be separate MR
- how to do it:
- unit test strategy updates: MR template, code guidelines
- steps: (1) unit tests (2) refactor first (3) actions
- coverage as rough guideline
- frontend devs: read doc/tests/frontend
- linters:
- vs. guidelines
- goals:
- 150 line length?
- 150 function length?
- Review the linter rules update MR https://gitlab.tuwien.ac.at/permaplant/PermaplanT/-/merge_requests/1745
- How to shorten the lines?
- template literals or string concat or backslash (and not cn)?
- template literals preferred
- automatic shortening with prettier's printWidth
- add more rules
- SonarQube
- further brainstorming:
- nodejs upgrade (22 vs. 24) https://gitlab.tuwien.ac.at/permaplant/PermaplanT/-/issues/2011 -> we use 24, but no hurry
- editors https://gitlab.tuwien.ac.at/permaplant/PermaplanT/-/issues/2007
- dev tips:
- install Tailwind CSS IntelliSense
- install SonarQube for IDE
- https://gitlab.tuwien.ac.at/dashboard/todos
- screen recs
- for windows e.g.: standard snipping tool (Win+Shift+S)
- atomic MRs:
- no bugs/inconsistencies
- add docu/tests
- break: until 10:10
- buddy talk
- icons
- is_tree (Christoph)
- reproducibility
- break
- 0.7.0 release next week
- fix regressions (collaboration, add test cases)
- highlights: lazy loading, copy&paste
- add manual tests for collaboration
- get MRs done
- Tasks for Everyone
- install plugins
- buddy talk (code quality, live meeting)
- submissions (methods)
- update issues, answer questions, check pipeline status and review comments in MRs
Meeting 23.06.2025
Attendees
- Markus
- Ben
- Moritz
- Christoph Schreiner
- Maiia
- Richard (not approved)
- Chris(toph) Kraus (not approved)
Could not come:
- Johannes (ill)
- Andrei (holiday)
Buddies
- Ben & Chris
- Moritz & Richard
- Andrei & Maiia
- Christoph & Lukas
- Johannes & Richard (Infrastructure)
Agenda
- 09:00 start
- Meeting Notes: Christoph
- Christoph: Useful command line tools
- news:
- PermaplanTreffen not in July/August, maybe September
- more than 2000 issues
- more than 50.000 lines of code:
- 54264 Frontend
- 15616 Backend
- static analysis:
- questions about thesis:
- VPN to https://repositum.tuwien.at/
- Feasibility vs. Benchmarks
- thesis citations: papers and URLs
- technical talk:
- programatic selection? (triage)
- dev tips:
- buddy talk: code quality
- this week Markus is poorly reachable
- further tests:
- if there is way to trigger some functionality (UI)
- buttons big enough?
- break
- Richard Talk?
- 0.7.0 release next week
- fix regressions (collaboration, add test cases)
- highlights: lazy loading, copy&paste
- add manual tests for collaboration
- get MRs done
- Tasks for Everyone
- Development Board
- Andrei
- Ben
- Chris(toph) Kraus
- Christoph Schreiner
- Johannes
- Maiia
- Moritz
- Richard: document map import
- Tasks for Everyone
Tasks for Everyone
All to be done until latest Friday 27.06.2025 23:59.
Tasks:
- buddy talk: methods
- submissions: review methods
- review at least 3 requested MRs, including meeting MR
- complete your issues or state in the issue any block/alternative/progress
- create/update issues for yourself
- answer all questions in issues
Do as needed:
- request reviews
- submit a page of text in submissions
- get MRs done
Meeting Notes
- 09:00 start
- Meeting Notes: Christoph
- Christoph: Useful command line tools. The slides will be uploaded to cloud.perma.health
- news:
- PermaplanTreffen not in July/August, maybe September
- more than 2000 issues
- more than 50.000 lines of code:
- 54264 Frontend
- 15616 Backend
- static analysis:
- technical talk:
- programatic selection? (triage) Not an easy problem. Two types of selection (our way and Konva nodes) are used for different things. Sometimes the selection states get out of sync. Needs more investigation if the problem is in our code or Konva. Markus asked Paul.
- CheckMK Johannes (auth Memory): Johannes fixed the problem shortly after reporting. (Memory was configured too low.)
- questions about thesis:
- Feasibility vs. Benchmarks A feasibility study assumes there is no straightforward solution. Only publishable as scientific work if nobody has figured out yet how to do it. With a benchmark it is assumed that there a solution was implemented.
- thesis citations: papers and URLs For related work it needs to be peer reviewed. URLs don't count as one of the five required references.
- VPN to https://repositum.tuwien.at/
- dev tips:
- https://gitlab.tuwien.ac.at/dashboard/todos
- There will be an issue to add useful commands and workflows to the code base
- buddy talk: code quality
- this week Markus is poorly reachable
- further tests:
- if there is way to trigger some functionality (UI) Maiia: No functionality should be hidden behind actions that can only be done on desktops (hover for tooltip, rightclick)
- buttons big enough? Maiia: Some companies recommend 40x40 pixel as minimum button size. Even if a button is smaller, you can workaround this by make the clickable area bigger than the visual button element.
- break
- 0.7.0 release postponed to next week
- fix regressions (collaboration, add test cases)
- highlights: lazy loading, copy&paste
- add manual tests for collaboration
- get MRs done
- Tasks for Everyone
- Development Board
- Andrei
- Ben
- Chris(toph) Kraus
- Christoph Schreiner
- Johannes
- Maiia
- Moritz
- Richard
- Tasks for Everyone
Outlook
Next week Richard will give a talk with a general overview of how the pipeline is setup and how it works.
Optional Meeting 30.06.2025
Attendees
- Markus
- Moritz
- Maiia
- Richard (not approved)
- Chris(toph) Kraus (not approved)
- Johannes
- Andrei (not approved)
not here:
- Ben (was optional)
- Christoph Schreiner (was optional, not approved)
Buddies
- Ben & Chris
- Moritz & Richard
- Andrei & Maiia
- Christoph & Lukas
- Johannes & Richard (Infrastructure)
Agenda
- 09:00 start
- Meeting Notes: Johannes (Backup: Richard)
- buddy talk/blocks
- login button
- pre-commit broken?
- shorter meeting today
- break
- 0.7.0 release next week
- fix regressions (collaboration, add test cases)
- tailwind CSS v4?
- highlights: lazy loading, copy&paste, markers of same plants
- add manual tests for collaboration
- get MRs done
- Tasks for Everyone
- Development Board
- Andrei
- Ben
- Chris(toph) Kraus
- Christoph Schreiner
- Johannes
- Maiia
- Moritz
- Richard
- Tasks for Everyone
Tasks for Everyone
All to be done until latest Thursday 03.07.2025 23:59.
Same as last week except review of release criticial MRs.
Tasks:
- review release critical MRs
- buddy talk: methods
- submissions: review methods
- review at least 3 requested MRs, including meeting MR
- complete your issues or state in the issue any block/alternative/progress
- create/update issues for yourself
- answer all questions in issues
Do as needed:
- request reviews
- submit a page of text in submissions
- get MRs done
Meeting Notes
- shorter meeting today
- buddy talk/blocks
- login button
- precommit hook?
- review copy paste feature
- checkmk a7 ok?
- login button ok?
- node modules for pre-commit loading is not working sometimes (moritz has workaround)
- break
- 0.7.0 release next week
- fix regressions (collaboration, add test cases)
- tailwind CSS v4? Mmoritz estimates probable problems
- highlights: lazy loading, copy&paste
- add manual tests for collaboration
- get MRs done
- Tasks for Everyone
- Development Board
- Andrei
- Ben
- Chris(toph) Kraus
- Christoph Schreiner
- Johannes
- Maiia
- Moritz
- Richard
- Tasks for Everyone
Meeting 07.07.2025
Attendees
- Markus
- Moritz
- Maiia
- Richard
- Johannes (needs to leave early)
- Andrei (a bit sick)
- Ben
Not here:
- Chris(toph) Kraus (unexcused)
- Christoph Schreiner (unexcused, not approved)
Buddies
- Ben & Chris
- Moritz & Richard
- Andrei & Maiia
- Christoph & Lukas
- Johannes & Richard (Infrastructure)
Agenda
- 09:00 start
- Richard: CI Intro
- Meeting Notes: Richard
- Keycloak upgrade
- merge to dev needed to fix last upgrade (thanks to Moritz!)
- one more upgrade to version 26 be done next week (please look at breaking changes)
- dev tips:
- minimize "in progress" tasks, normally 1
- we are most efficient sequentially
- have clear goal in thesis
- hypothesis
- only one goal
- repeat same message throughout
- buddy talk/blocks
- 0.7.0 release next week
- fix regressions (collaboration, add test cases)
- tailwind CSS v4?
- highlights: lazy loading, copy&paste, markers of same plants
- add manual tests for collaboration
- get MRs done
- break
- Tasks for Everyone
- Development Board
- Andrei
- Ben
- Chris(toph) Kraus (was not here)
- Christoph Schreiner
- Johannes (was not here)
- Maiia
- Moritz
- Richard
- Tasks for Everyone
Tasks for Everyone
All to be done until latest Thursday 10.07.2025 23:59.
Tasks:
-
0.7.0 release next week
- Richard: improve and prepare release procedure
- Chris: improve and prepare test procedure
- review release critical MRs
- buddy talk: goal
- submissions: submit goal (hypothesis, SMART)
- review at least 3 requested MRs, including meeting MR
- complete your issues or state in the issue any block/alternative/progress
- create/update issues for yourself
- answer all questions in issues
Do as needed:
- request reviews
- submit a page of text in submissions
- get MRs done
Meeting Notes
- 09:00 start
- Richard: CI Intro
- Meeting Notes: Richard
- Keycloak upgrade
- merge to dev needed to fix last upgrade (thanks to Moritz!)
- one more upgrade to version 26 be done next week (please look at breaking changes)
- Johannes had to leave early
- dev tips:
- minimize "in progress" tasks, normally 1
- we are most efficient sequentially
- have clear goal in thesis
- hypothesis
- only one goal
- repeat same message throughout
- buddy talk/blocks
- Andrei: Talked about thesis with Maiia. They are clear on what to do, they just need more time
- Ben: Could not arrange a buddy talk. Still unclear about his thesis topic.
- Moritz: Had a buddy talk with Richard. Quite stressful week so not much progress. Needs to focus more on thesis, less on project work
- Richard: Met with Moritz, trying to organize buddy talk with Johannes. Will also focus more on thesis.
- Maiia: Talked with andrei, also submitted 2nd idea for research question, memoization in React.
- 0.7.0 release next week
- fix regressions (collaboration, add test cases)
- tailwind CSS v4? -> not within same MR
- highlights: lazy loading, copy&paste, markers of same plants
- add manual tests for collaboration
- get MRs done
- Richard: Has script to help with writing release notes
- break
- Tasks for Everyone
- Development Board
- Andrei Working on writing use case and looking into race condition but has issues. Race condition reassigned to Ben+Richard.
- Ben Issues in review are done and waiting for merge. Needs help with Rust. Gets briefed on newly reassigned issue.
- Chris(toph) Kraus --- Not here ---
- Christoph Schreiner --- Not here ---
- Johannes --- Not here ---
- Maiia Wanted to include manual tests for new feature. Wants clarification on where to add them.
- Moritz Everything is on track. Currently used techniques are deprecated in new version of tailwind.
- Richard Will work on Login+Rust issues with Ben.
- Tasks for Everyone See above.
Meeting 14.07.2025
Attendees
- Ben
- Chris(toph) Kraus
- Johannes
- Maiia
- Markus
- Moritz
- Richard
Not here:
- Andrei
- Christoph Schreiner
Buddies
- Ben & Chris
- Moritz & Richard
- Andrei & Maiia
- Christoph & Lukas
- Johannes & Richard (Infrastructure)
Agenda
- 09:00 start
- Meeting Notes: Chris
- buddy talk: goals
- Stimmungsbarometer
- Keycloak upgrade
- merge to dev needed to fix last upgrade (thanks to Moritz!)
- one more upgrade to version 26
- be done today Monday (before release, so that we are able to add fixes within release)
- 0.7.0 release this week
- test cases
- for collaboration
- tailwind CSS v4
- highlights: lazy loading, copy&paste, markers (of same plants)
- get MRs done
- test cases
- UI questions about configuration
- collapse
- reorder: with extra button
- dialog for markers
- tech talk
- plant comparison/util functions
- dark mode
- SAST .gitlab CI additionally?
- dev tipps
- don't use old branches
- write to MRs/issues after pushes (with SHA)
- updates/plans:
- archived old-scraper-data, to be removed
- GitLab: rename PermaplanT group to Perma, rename GitLab Project to PlanT
- break
- Tasks for Everyone
- Development Board
- Andrei
- Ben
- Chris(toph) Kraus
- Christoph Schreiner
- Johannes
- Maiia
- Moritz
- Richard
- Tasks for Everyone
Tasks for Everyone
All to be done until latest Thursday 17.07.2025 23:59.
Tasks:
- 0.7.0 release
- review release critical MRs (Mittwoch?)
- Chris: do tests (Donnerstag)
- Richard: do release (Freitag)
- buddy talk: what makes great UX
- submissions: review goals, merge MRs
- review at least 3 requested MRs, including meeting MR
- complete your issues or state in the issue any block/alternative/progress
- create/update issues for yourself
- answer all questions in issues
Do as needed:
- request reviews
- submit a page of text in submissions
- get MRs done
Meeting Notes
- 09:00 start
- Meeting Notes: Chris
- buddy talk: goals
- Stimmungsbarometer
- See Screenshots in ncdev/Presentations
- Keycloak upgrade
Johannes asked if anyone has had problems during Nextcloud/Keycloak login, as he sometimes gets stuck on the login screen.
No one else seemed to have these issues.
- merge to dev needed to fix last upgrade (thanks to Moritz!)
- one more upgrade to version 26
- was done today Monday (before release, so that we are able to add fixes within release)
- @Ben look at breaking changes
- 0.7.0 release next week
- test cases
- for collaboration
- Chris needs to finish the Manual Testing MR so that testing can start on Thursday.
- Everyone should focus on getting "release critical" MRs merged.
- tailwind CSS v4 done
- highlights: lazy loading, copy&paste, markers (of same plants)
- get MRs done
- test cases
- UI questions about configuration
- collapse for attributes
- reorder for upper right toolbar: with extra button for reordering (like for Android home screen)
- Moritz and Maiia provided input: Extending the current buttons with additional functionality would overload the UI. Alternatively, we could manage UI configuration with a settings page, but this would require significant effort since we would need a setting for every UI element we want to control.
- tech talk
- Maiia explained two different meanings of "dark"
- further questions:
- SAST .gitlab CI additionally? -> No reply
- Editor. Moritz: Markdown does not support links natively; we would need to use an editor that supports them. He recommends GitLab and its rich text editor.
- plant comparison via util functions -> Agreement that util functions should be used.
- dev tipps (see updates in doc/contrib.md)
- don't use old branches
- write to MRs/issues after pushes (with SHA)
- updates/plans:
- archived old-scraper-data, to be removed
- GitLab: rename PermaplanT group to Perma, rename GitLab Project to PlanT
- break
- Tasks for Everyone
- Development Board
- Andrei (not here)
- Ben: Help reviews etc.
- Chris(toph) Kraus: Focus on preparing tests for manual testing on Thursday.
- Christoph Schreiner: Not here.
- Johannes: Finish Keycloak update.
- Maiia: Finish release-critical MR.
- Moritz: Finish upgrade to Tailwind CSS v4.
- Richard: Prepare until Friday, release on Friday.
- merge requests
- Tasks for Everyone
Biology Meeting 16.07.2025
Attendees
- Julian
- Markus
- Christoph
Meeting Notes
Welchen Familiennamen sollen wir wählen, bei Familien mit mehreren Bezeichnungen?
- Alliaceae, Liliaceae
- Apiaceae, Umbelliferae
- Arecaceae, Palmae
- Asteraceae, Compositae
- Brassicaceae, Cruciferae
- Fabaceae, Leguminosae
- Lamiaceae, Labiatae
- Piperacae, Pepper re
- Poaceae, Gramineae
- Salicaceae, Flacourtiaceae
Julian: Es gibt generell eine international gültige Klassifizierung, das wären alle Namen die hier in der Liste links stehen. Rechts sind teilweise sehr veraltete Bezeichnungen.
Hybride Pflanzen
- Gibt es ein Standardzeichen um Hybride zu kennzeichnen? × (Multiplikationszeichen) oder x?
Julian: × (Multiplikationszeichen)
- Wie kann man am Besten herausfinden, ob eine Pflanze ein Hybrid ist? Gibt es irgendwo eine Liste oder eine Datenbank?
Wir wollen Hybride gesondert behandeln, aber haben Einträge wie 'Rubus loganobaccus' statt 'Rubus × loganobaccus'
Julian: Unterscheiden ist schon wichtig, weil Hybride nicht samenfest sind. Keine gute Datenbank dafür bekannt.
Markus: Die Info ob samenfest ist tatsächlich sehr relevant, wäre aber vermutlich als Feld in der Datenbank besser aufgehoben.
Attribut Vererbung von höheren zu niedrigeren Rängen:
- Welche Attribute kann man an untere Ränge weitergeben?
- Von welchen Rängen zu welchen Rängen? (wir verwenden Family, Genus, Species, Variety, Cultivar)
- Liste aktuell verwendeter Attribute:
- functions: ja
- shade
- soil_texture
- herbaceous_or_woody
- life_cycle: eventuell genus
- width/height: nein
- has_drought_tolerance: nein
- hardiness_zone
- light_requirement
- water_requirement
- edible: ja
- edible_parts: ja
- spread
- warning: ja, z.b. ob giftig
- sowing_outdoors
- harvest_time
Julian: Von der Species runter auf Cultivars schon eher möglich. Von Familien runter auf untere Ränge eher seltener, aber schon z.B. für Essbarkeit z.B. (fast) alle Brassicaceae essbar.
- Wie groß ca. Gruppen?
Julian: Es gibt Gruppen mit nur einer Pflanze/Untergruppe und Gruppen mit hunderten Pflanzen/Untergruppen.
Attribut Übertragung von niedrigeren zu höheren Rängen:
- Was wären gute Kriterien, mit denen wir auswählen, welche Attribute wir nach oben propagieren?
- Bis zu welchen Rängen macht es Sinn, ein Attribut nach oben zu propagieren?
Julian: Die meisten Attribute sind sehr species spezifisch und können innerhalb einer Gattung sehr variieren. Die allerwenigsten Attribute kann man nach oben propagieren. Bis zur species hinauf aber schon möglich.
Eigentlich ist es auch generell bei kultivierten Pflanzen möglich. Es gibt sogenannte Ellenberg Indicator Values die interessant sein könnten.
Wir werden es nur propagieren, wenn der Großteil ein Attribut hat. (zB zwei Drittel)
Wie nennt man ambiguous relationships (companions und antagonists gleichzeitig)
Julian: Keine Erfahrung damit.
Erfahrungen/Einschätzungen mit folgende Datenbanken?
- https://www.grove.eco/pflanzen/
- https://trefle.io/
- https://www.naturadb.de/
- https://www.permapeople.org/ (gerade down?)
- https://floracodex.com/ -> nix wirklich da?
Gibts andere Datenbanken für Diversität? (Evtl. was auch beim Meeting letztens genannt wurde?)
Meeting 21.07.2025
Attendees
- Ben
- Chris(toph) Kraus
- Johannes
- Markus
- Moritz
- Richard
- Andrei
- Christoph Schreiner
- Liza
Could not come:
- Maiia (excused)
Buddies
- Christoph & Liza
- Ben & Chris
- Moritz & Richard
- Andrei & Maiia
- Johannes & Richard (Infrastructure)
Agenda
- 09:00 start
- Meeting Notes: Ben
- Welcome Round
- Tasks so far
- Skills
- Favorite Plant
- Welcome Liza
- issue management
- release management
- review management
- meetings
- availability/time planning (vacation) CC: Liza
- statistical analysis of project managment
- buddy talk: what makes great UX
- CI speed and reliability
- i7 fixed
- new HDs
- Markus input:
- optimize for throughput, understand delays and blockers, e.g.:
- decisions
- use cases
- reviews
- blockers/help
- Johannes: Frontend and Backend first draft, discussion points, reviews
- documentation:
- arc42
- tutorials
- in case of doubt, ask
- some text is only clear where to put it after I see it
- 0.7.0 release done!
- highlights: lazy loading, copy&paste, markers (of same plants)
- test cases rework (Chris)
- tailwind CSS v4 not included (Stef will review)
- break
- agenda and issues updates
- cleanup week
- brainstorming what to be done
- Moritz: plant cursor
- Tasks for Everyone Thursday
- Talks Topics
- Development Board
- Andrei
- Ben
- Chris(toph) Kraus
- Christoph Schreiner
- Johannes
- Liza
- Maiia
- Moritz
- Richard
- Tasks for Everyone
Outlook Next Week
- Andrei: Retrospective
- tech talk
- terminology: current and planning
Tasks for Everyone
To be done until latest Thursday 24.07.2025 23:59.
Tasks:
- review at least 3 requested MRs, including meeting MR
- buddy talk: cleanup&decisions
- submission of literature review
- after release: update to latest dev and changelog to be in doc/releases/dev.md
- create/update issues for yourself
- in future by Liza
- meet with Liza to clarify your tasks
Do as needed:
- state in the issues any block/alternative/progress
- submit a page of text in submissions
- get MRs done
- request reviews
Meeting Notes
- 09:00 start
- Meeting Notes: Ben
- Welcome Round
- Andrei: Working on frontend (view state, store and smaller improvements), helping with GitLab and scrum too. Favorite plant: succulents
- Ben:
Working on frontend (React, tailwind, etc). Favorite plant: pothos - Chris K:
Working on e2e. Favorite plant: tomatoes - Christoph:
Working on scraper, backend and Javascript. Favorite plant: weeping willow - Johannes:
Infrastructure, working on backend, uses C# at work. Favorite plant: eggplant - Moritz:
Working on frontend. Started out making website more usable on mobile devices, took over copy and paste feature (released already). Experienced with Java/Angular, but working with react and backend technologies, too. Favorite plant: Elderberry - Richard
Working on infrastructure topics and "putting out fires". Favorite plant: potato
- Welcome Liza
- Skills: Backend development (Springboot/Java, php), project management. Favorite plant: mint
- issue management
- release management
- review management
- meetings
- availability/time planning (vacation) CC: Liza
- statistical analysis of project managment
- buddy talk: what makes great UX
- Andrei/Maiia:
were not able to do buddy talk - Ben/Chris:
talked about goals, research questions and project progress. UX: light/dark mode working well, good UX includes things like intuitive design that doesn't require tutorials, everything on mobile should be accessible too, features shouldn't take too many clicks to get to - Christoph:
Didn't have a meeting last week - Johannes:
Didn't manage to meet - Moritz/Richard:
Didn't manage to meet
- Andrei/Maiia:
- CI speed and reliability
- i7 fixed
- new HDs
- v2 improvements
- thinking about buying new SSDs for further speed improvements
- Markus input:
- optimize for throughput, understand delays and blockers, e.g.:
- decisions
- use cases
- reviews (encouraged to always write)
- milestones did not work as well
- work on things that are prone to delays first (e.g. not bug fixes, but bigger features like decisions/use cases)
- not always as easy done as said
- Blockers
- Andrei: not blocked for coding issues, for thesis a blocker is not finding time to put into it.
- Ben: blocked by Rust issue and not having a research question
- Chris: Blocked by testing strategies/manual tests and working on thesis
- Christoph: Doesn't have blockers, good to keep working.
- Johannes: No blockers besides finding time to work.
- Liza: No blockers, just starting out
- Moritz: No major blockers, trying to get big merge requests merged. Thesis: blocked by himself and having difficulty to finalize texts
- Richard: Blocked by thesis and having no topic.
- Markus mentions other techniques similar to freewriting but for the structure of the thesis as a suggestion for Andrei
- Markus mentions techniques for finding research question/methodology etc.
- Markus reiterates that bachelor thesis topics don't have to be massive or novel, better to choose one you feel comfortable with, can describe precisely etc.
- documentation:
- arc42
- tutorials (e.g. "how to implement a new layer")
- in case of doubt, ask
- some text is only clear where to put it after I see it
- break
- cleanup week
- Andreii: Refactoring store structure/types, a lot of long names etc.
- Ben: Can work on frontend refactoring but no specific ideas yet
- Chris: e2e cleanup, wants to extend manual testcases by new field that indicates if theres an e2e test for it already. Use cases should be reflected in e2e tests.
- Christoph: Scraper output, could be improved by using a logging framework to check which levels/runs (probably not realistic to work on right away)
- Moritz: Plant cursor works similar to planting component, has ideas on what to work on to improve this, also for copy and paste. Not happy with relation lines, not consistent/behaves differently depending on use case, but probably too big for a single MR
- Johannes: Some security concerns for packages/upgrades he made, looking into it. Only maintainance upgrades for dependencies, no unnecessary ones we can remove found
- Liza: Needs more data
- Richard: Cleanup and refactoring potential in the pipeline/the jenkins file
- brainstorming what to be done
- 0.7.0 release done!
- highlights: lazy loading, copy&paste, markers (of same plants)
- test cases rework (Chris)
- tailwind CSS v4 not included (Stef will review)
- tech talk
- terminology: current and planning date
- Tasks
- Buddy talk about refactoring/cleanup, decisions and literature review
- Andrei: Retrospective next week
- Development Board
- Andreii: Working on restructure mapstoretypes issue and investigating problems while measurement is active. Reviewing frontend layer refactoring issue
- Ben: landing page fixes merged, acronyms MR almost done except little thing. Investigation for package.json dependency upgrades. Working on TanStack Query upgrade investigation
- Chris: has active tasks that can be worked on, Markus removed a few tasks from the current iteration because there were too many. Moved some tasks to next weeks iteration.
- Christoph: everything is on track
- Johannes: Only a few small things to be done on open telemetry.
- Moritz: This week the descision should be finished. Markus thanks Moritz for his help with the release. Gets 2 new issues. Moritz talks about the tailwind upgrade and asks for reviews.
- Richard: Finish release. Remove disclaimer on all maps except production.
- MR's from before release need to be updated, merge latest dev
- Liza issues not discussed
- Tasks for Everyone discussed (see above)
Meeting 28.07.2025
Attendees
- Chris(toph) Kraus
- Johannes
- Markus
- Moritz
- Richard
- Andrei
- Liza
- Maiia
Cannot come:
- Ben (sick)
Not here:
- Christoph Schreiner (unexcused)
Buddies
- Christoph & Liza
- Ben & Chris
- Moritz & Richard
- Andrei & Maiia
- Johannes & Richard (Infrastructure)
Agenda
- 09:00 start
- Meeting Notes: Moritz
- Andrei: Retrospective
- progress previous and next week
- updates:
- statuten
- tech talk
- login not happening
- 500 kB chunk size warning https://gitlab.tuwien.ac.at/permaplant/PermaplanT/-/issues/2049
- best SSDs?
- https://github.com/wemake-services/kira-stale
- decisions process
- https://basecamp.com/guides/how-we-make-decisions
- terminology: current and planning
- thesis:
- cross-references, "as we will show", ...
- 15min a day dissertation
- scientific thinking
- Aristoteles vs. Socrates
- observing
- break
- buddy talk: cleanup&decisions
- agenda and issues updates
- Tasks for Everyone Thursday
- Talks Topics:
- Liza?
- others?
- Development Board
- Andrei
- Ben
- Chris(toph) Kraus
- Christoph Schreiner
- Johannes
- Liza
- Maiia
- Moritz
- Richard
- Tasks for Everyone
Tasks for Everyone
To be done until latest Thursday 31.07.2025 23:59.
Tasks:
- review at least 3 requested MRs, including meeting MR
- submission of literature review
Do as needed (same deadline):
- state in the issues any block/alternative/progress
- submit a page of text in submissions
- get MRs done
- request reviews
- create/update issues for yourself
To be done before the meeting:
- read socratic questioning
unterlagen/socratic_questioning.mdin submissions repo - buddy talk: socratic questioning
- finish your assigned tasks of the iteration
Outlook Next Week
- timeslots one week in advance
- submissions book-keeping:
- OS+editor
- availability
- blockers/help with issues
- decisions process
- https://basecamp.com/guides/how-we-make-decisions
Meeting Notes
- 09:00 start
- Meeting Notes: Moritz
- Andrei: Retrospective
- What is a Retro? Why to do Retros?
- The Weather Report
- Markus: Great progress. App is in a good state. A little behind on my own tasks for release and project planning.
- Johannes: Struggles to make time for the project. Happy with the small QoL improvements.
- Moritz: Happy about finishing Copy&Paste and the overall state of the App. Progress could be quicker at times.
- Maiia: Inconsistencies week to week in her own contributions.
- Liza: Just starting out.
- Andrei: Simlar to Maiia.
- Richard: Behind on thesis work. Taking some steps towards improving. Struggles with finding time. Progress with finding the topic.
- Chris: Stuck with the E2E pipelines. Struggles with finding time.
- 4Ls
- Liked
- Release
- Implemented simple but new standalone feature with design, impl and draft for test cases
- buddy talk
- Increased focus on refactorings
- Progressing and finishing some older tasks
- Having really fast/good progress on infrastructure tasks
- Learned
- How to draw SVG on Konva canvas
- Narrow down features for next release
- Researching different text editors
- Playwright
- More debug information in E2E
- Lacked
- E2E login error not found
- pipeline consistency
- some MRs lacking reviews
- Longed for
- increase in E2E tests
- better decision/release/iteration process
- Liked
- Takeaways
- Issue to collect reports on pipeline problems
- Improving review process
- Extracting knowledge about E2E debug info into documentation
- progress previous and next week
- enter available hours and document absences in calendar?
- updates:
- statuten
- tech talk
- 500 kB chunk size warning https://gitlab.tuwien.ac.at/permaplant/PermaplanT/-/issues/2049 -> we will increase limit
- best SSDs? -> no expertise in the round
- https://github.com/wemake-services/kira-stale -> open
- decisions process -> moved to next week
- https://basecamp.com/guides/how-we-make-decisions
- terminology: current and planning
- break until 10:16
- thesis:
- cross-references, "as we will show", ...
- 15min a day dissertation
- scientific thinking
- Aristoteles vs. Socrates
- observing an artifact
- socratic questioning
unterlagen/socratic_questioning.mdin submissions
- buddy talk: cleanup&decisions
- Tasks for Everyone until Thursday
- Talks Topics:
- Liza? -> not ready for next week
- others?
- Development Board
- Andrei
- Ben (not here)
- Chris(toph) Kraus
- Christoph Schreiner (not here)
- Johannes (not here)
- Liza
- Maiia
- Moritz
- Richard
- Tasks for Everyone
Meeting 04.08.2025
Attendees
- Markus
- Moritz
- Andrei
- Liza
- Maiia
- Ben
- Christoph Schreiner
- Paul
Left early:
- Chris(toph) Kraus (not approved)
Cannot come:
- Richard (not approved)
- Johannes (through Discord) (not approved)
Buddies
- Christoph & Liza
- Ben & Chris
- Moritz & Paul
- Andrei & Maiia
- Johannes & Richard
Agenda
- 09:00 start
- Meeting Notes: Maiia
- buddy talk, socratic questioning
- welcome: Paul
- new buddies
- Liza & Paul meeting (Project-Management)
- progress previous and next week
- timeslots one week in advance
- PermaplanTWork work calendar
- decisions process
- https://basecamp.com/guides/how-we-make-decisions
- blockers/help with issues
- break
- buddy talk:
- Development Board
- Andrei
- Ben
- Chris(toph) Kraus
- Christoph Schreiner
- Johannes (not here)
- Liza
- Maiia
- Moritz
- Richard (not here)
- Paul
- Tasks for Everyone
Tasks for Everyone
To be done until latest Thursday 07.08.2025 23:59.
Tasks:
- review at least 2+2*X (X = number of created MRs), including meeting MR
- submission of RQs/goal
- Schedule your working time in PermaplanTWork calendar
- Create a new Event for each timeslot you plan to work and name it "{Name} (available)" example: "Liza (available)".
- If you know that you always have time in a specific timeslot, you can also repeat this event.
Do as needed (same deadline):
- create MR in submissions repo with your current RQs
- state in the issues any block/alternative/progress
- submit a page of text in submissions
- get issues/MRs done
- request reviews
- create/update issues for yourself
To be done before the meeting:
- do socratic questioning
unterlagen/socratic_questioning.mdin submissions repo on your own RQs with two other RQs - buddy talk: socratic questioning and reviews
- finish your assigned tasks of the iteration
Next Week
- submissions book-keeping:
- OS+editor
- browser
- availability
Meeting Notes
- 09:00 start
- Meeting Notes: Maiia
- welcome: Paul
- buddy talk, socratic questioning
- this week were no buddy talks
- Buddies introduction (everyone introduces their buddy):
- Maiia (introduced by Andrei): In project since this year, frontend, working day to day on React apps, fun fact: lives in Bratislava
- Chris (introduced by Ben): End-to-End tests, manual tests
- Ben (introduced by Chris): Frontend, fun fact: most complicated dev setup issues
- Richard (introduced by Moritz): devops, pipeline improvements, migrations validation
- Liza (introduced by Christoph): Recent joiner, project management + backend
- Christoph (introdued by Christoph): backend, scrapper data, heatmap improvements (thesis topic)
- Moritz (introduced by Maiia): frontend, React, usability improvements, fun fact: does the best code reviews, find nuances, edge cases, really thinks about the changes from multiple perspectives
- Andrei (introduced by Maiia): frontend, React, thesis on React performance optimizations, fun fact: is from Romania
- Paul: infrastructure enthusiast, finished all necessary lectures, thesis is the last project, background in backend (not in Rust), fun fact: favourite plant - chilli (likes spicy food)
- new buddies
- Moritz and Paul
- Liza & Paul meeting (Project-Management)
- progress previous and next week
- previous week: until Today
- next week: until next Monday
- Availability:
- Johannes: 3 weeks vacation
- Richard: next week should be as usual (not present at meeting)
- Andrei: medium progress on tasks, next week as usual
- Ben: was sick, next week as usual
- Chris: next week - no info
- Christoph: progress on tasks, next week as usual
- Liza: more time next week, than previous
- Maiia: 80% of time next week compared to previous
- Moritz: previous and next week less time than expected
- Paul: getting close to finishing his task with emails
- Writing meeting (organized by Christoph S.)
- on discord
- weekly, Friday 14:00
- unrestricted time
- timeslots one week in advance
- PermaplanTWork work calendar
- Add timeslots in which you plan to work to PermaplanTWork
- PermaplanTWork work calendar
- blockers/help with issues
- decisions process
- https://basecamp.com/guides/how-we-make-decisions
- First MR for decision should be created, but final decision should not be filled out yet. Should describe: Problem, Constraints, Assumptions, Considered Alternatives. Reviewers should add considered alternatives if they have ideas.
- See doc/decisions/README.md
- Generally no decision is needed if it can be easily changed afterwards
- Decision needed / Blockers:
- (blocker): image upload doesn't work, missing browser session, workaround: clear all caches, restart browser, stay on one page (dev/www)
- (decision): Christoph writes decision about testing CSV files
- (decision): Liza writes decision(s) about Project Management processes
- (blocker): Moritz needs to meet with Liza to finish usecase
- (decision): Moritz writes decision about frontend (text) editor
- break: until 10:03
- Development Board
Outcome (Liza)
- left-issue project-management
- meeting MR erstellen
Agenda
-
Meeting Notes: Paul
-
reusable/modular project management
- also for AuM und infrastructure
-
Fragen von Paul
-
Feedback an Liza:
- Zielbeschreibung und Scope fehlt
-
Projekt-Management verbessern
-
Architektur-Prozesse verbessern
-
Verantwortlichkeiten unter uns klarer zu gestalten.
-
Einheitlichkeit labels für iteration (scope in::)
-
https://gitlab.tuwien.ac.at/permaplant/PermaplanT/-/merge_requests/1806
-
backlog planning
-
Release-Planung
-
incidents in infrastructure repo
-
later:
- security issues vs. incidents?
- weight
- how to communicate what happens in infrastructure
Meeting Notes
Start 9:00 Uhr
- Definition Projekt Management:
- Risiko Evaluierung
- Hilfe für Projektteilnehmer
- Setzt Rahmenlinien für Projektmitglieder
- Blick in die Zukunft der über die Software hinaus geht
- Feedback zu PM Implementierung von Liza
- Im Moment noch kein klarer Scope für wie GitLab Regeln auf die unterschiedlichen Repos zu anwenden ist
- Template review und wie es von den Projektmitgliedern genutzt wird
- Label review und wie es von Projektmitgliedern genutzt
- Einigung auf neue Label Definitionen
- Besprechung von Definition MR und Issue
- MR und Issue Definition soll dokumentiert werden
- Noch nicht klar wie man die GitLab pipeline regelmäßig automatisch ausführen kann
- Ausprobieren von Milestones und wie wir es nutzen wollen
- Erster Milestone für nächsten Feature release
- Besprechen von Time Tracking
- Umstellen des Tracking auf Stunden
- Issue Refinement Granularität durchbesprochen
- Besprechen von Weight und Time Tracking und für was wir es nutzen (Time Tracking jetzt mal für Aufwandsabschätzung)
- Einigung auf monatliche Releases
- README besser an den Leser anpassen (PM spezifische Inhalte in eigene Dateien)
- Auswahl von was in den neuen Release kommen soll
- Noch unklar wie zukünftig die Release-Auswahl vonstatten gehen soll (zu viele Issues)
Meeting 11.08.2025
Attendees
- Markus
- Moritz
- Andrei (not approved)
- Liza
- Maiia (not approved)
- Christoph Schreiner
- Paul
- Richard (not approved)
Cannot come:
- Ben (not approved)
- Johannes
- Chris(toph) Kraus (not approved)
Buddies
- Christoph & Liza
- Ben & Chris
- Moritz & Paul
- Andrei & Maiia
- Johannes & Richard
Agenda
- 09:00 start
- Meeting Notes: Andrei
- Liza: presenting changes to issue management
- Codeowners
- creating issues
- milestones
- retrospectives
- timeslots one week in advance
- Please Support Liza
- definition of done
- Terminology update:
- current planning time (make terms longer to make them clear)
- how to quote
- round:
- buddy talk
- socratic questioning
- progress previous and next week
- Tech-Talk:
- schedule
- down migration enum
- DateTime
- submissions book-keeping:
- OS+editor
- browser
- availability
- break
- Next week: Paul Talk
- I have little time this week
- Liza Project Management
- buddy talk:
- Development Board
- Andrei
- Ben (not here)
- Chris(toph) Kraus (not here)
- Christoph Schreiner
- Johannes (not here)
- Liza
- Maiia
- Moritz
- Richard
- Paul
- Tasks for Everyone
Tasks for Everyone
To be done until latest Thursday 14.08.2025 23:59.
Tasks:
- review at least 2+2*X (X = number of created MRs), including meeting MR
- submission of RQs/goal
- Schedule your working time in PermaplanTWork calendar
- Create a new Event for each timeslot you plan to work and name it "{Name} (available)" example: "Liza (available)".
- If you know that you always have time in a specific timeslot, you can also repeat this event.
Do as needed (same deadline):
- create MR in submissions repo with your current RQs
- state in the issues any block/alternative/progress
- submit a page of text in submissions
- get issues/MRs done
- request reviews
- create/update issues for yourself
To be done before the meeting:
- buddy talk: how can project management support you best?
- finish your assigned tasks of the iteration
Meeting Notes
-
Liza: presenting changes to issue management, details will be in other MR
-
Issues
- Use templates
- Add scopes
- Please include time estimation on creation:
- ~ 1 h
- ~ 3 h
- ~ 1d = 8h
- ~ 2d = 16h
- ~ 1w = 40h
- estimation can be added later if not known at time of creation, tag with triage needed
- time tracking as you work on it Q: - Maiia: skeptical about time estimation not easy to do, not the best fit for our project as people are not working full-time; would 'weight' fit better? -> we will try to estimate the effort, we use the time because it is a feature already well integrated in GitLab (so we do a sort of weight estimation represented in time) Q: - Richard: the estimation 'steps' might be a bit big, thinking that most people only work about 10h a week, so 1w=40h seems very big Q: - Christoph: include the time estimation options in the template so we don't need to look it up Markus: we should do checklist related to the estimation
-
Milestones
- once a month, release
- can tag the issues with the relevant milestone Q: - Andrei: should we do the milestone planning together? -> no, this will be provided
-
Retro
- After every release (monthly)
-
Time planning
- by thursday for next week
- you can remove later if you can't work on that day
-
Codeowners:
- helps with automatic assignment of reviewers based on files/folders
- to be reviewed by everyone in an upcoming MR Q: - Christoph - maybe problem if only one person is 'responsible' for that part of code (e.g. Scraper) Q: - Paul - have a 'main' person responsible for a part of code, also in terms of who might know that code the best -> next buddy talk to also discuss how we can improve project management
-
Terminology update:
- current planning time (make terms longer to make them clear) -> have a clear definition of your terms to make sure you keep it consistent -> if you use one word in different contexts to represent different terms, then you should expand on the term to ensure clarity
- how to quote -> using terminology (or generally text or ideas) from other papers - ensure proper quotation and citation; when rephrasing, don't use quotation but use proper citation!
-
buddy talk, socratic questioning
-
progress previous and next week
- Andrei:
- buddy talk good, talked about socratic questioning and helped with each other's RQs
- this week focus on preparing for thesis writing (next week more time to focus on that)
- Christoph:
- met with Liza, talked about socratic questioning, open issues
- writing session with Maiia and reviewed questions, tried to refine what 'performance' means
- A bit hard to apply some of the socratic questioning elements
- struggling with some sql work because of chaning enums (they need to be recreated)
- Liza:
- talked with Christoph on Friday
- progress with writing presentation.
- Maiia:
- discussed about socratic questioning and reviewed the research questions
- inputs for what to include and not include in the questions, to not limit what the thesis wil lbe about (for example, how exactly performace can be improved, what is performance, etc.) -> the thesis is a 'context' around the RQ, in which you then answer the question
- good progress on most tasks, did not have time for one
- Moritz:
- did not do buddy talk, will do this week
- socratic questioning: tried it on his own, but would like to apply it to other people's RQs as well
- did not have as much time as planned, could not progress a lot on his own tasks
- met with Liza to discuss the use cases and tickets to be created
- Paul:
- no time for buddy talk
- worked on setting up the project and the new things (Email) he will be working on, took longer than expected but should be ready this week
- Richard:
- no time for buddy talk last week
- progressed with his infra work
- Johannes on holiday, maybe meet with Ben
- Andrei:
-
Tech-Talk:
- SQL statement for updating enum
- no experience
- DateTime
- Only use the "date" part and agree to use a default time with no timezone
- Write guideline on how this should be used
- probably no changes needed in the code as we don't use time anywhere, only date
- SQL statement for updating enum
-
break
-
Markus will be less available this week
-
Next week: Paul Talk
-
- Andrei
- several issues in review, waiting for more reviews
- to triage measurement related issues, make small MRs
- Christoph Schreiner
- rerun scraper for master
- new issue for plant icon changes (track in the release)
-
icons should be tested, some problems - plant hierarchy - antagonist/companions MR -> still needs some cleanup
- Liza
- create more issues on current work, to track better the progress
- for now work more on what we have (improve current issues), to not create big gap between where we are and what we want to achieve
- Maiia
- one task still waiting for reviews,
- heatmap colors vs relation colors
- 'play' with opacity to ensure colors don't clash too much
- colors are hardcoded, make new issue for extracting them
- brush shape issue - can be improved by increasing number of points
- Moritz
- 2 MRs still need more reviews
- task in progress not release critical
- mobile design - working on it -> make an MR to start getting inputs from others
- Richard
- map import -> check again, all info should be there, talk to Filip and do it together with Paul, write documentation
- release task -> only a few small open points
- split into sub-issues to track better where there is progress and where you might be blocked
- Paul
- CI broken - upgrade image
- then continue work on other things (Email)
- Liza
-
review at least 2+2*X (X = number of created MRs), including meeting MR
-
submission of RQs/goal
-
Schedule your working time in PermaplanTWork calendar
- Create a new Event for each timeslot you plan to work and name it "{Name} (available)" example: "Liza (available)".
- If you know that you always have time in a specific timeslot, you can also repeat this event.
Do as needed (same deadline):
- create MR in submissions repo with your current RQs
- state in the issues any block/alternative/progress
- submit a page of text in submissions
- get issues/MRs done
- set your time estimation on issues you are currently working on with:
- ~ 1 h
- ~ 3 h
- ~ 1d = 8h
- ~ 2d = 16h
- ~ 1w = 40h
- track your actual time on the issues
- request reviews
- create/update issues for yourself
To be done before the meeting:
- buddy talk: how can project management support you best?
- finish your assigned tasks of the iteration
Meeting 18.08.2025
Attendees
- Markus
- Liza
- Maiia
- Christoph Schreiner
- Paul
- Richard
- Ben (not approved)
Did not come:
- Andrei (unexcused)
Cannot come:
- Johannes
- Chris(toph) Kraus (not approved)
- Moritz
Buddies
- Christoph & Liza
- Ben & Chris
- Moritz & Paul
- Andrei & Maiia
- Johannes & Richard
Agenda
- 09:00 start
- Paul: Presentation
- Meeting Notes: Paul
- status round:
- buddy talk
- status
- blocks/stuck
- blocks:
- estimations
- nextcloud image
- next release:
- Day before removing plants -> next release
- perma.health mailinglist -> release
- please write me if you want E-Mail aliases
- PermaplanTreffen in September? Please vote: https://cloud.perma.health/index.php/apps/polls/vote/64
- project management improvements:
- new MR templates
- improve from stable working systems (like meetings)
- meetings: more content, less organization
- highest priority changes? https://gitlab.tuwien.ac.at/permaplant/PermaplanT/-/issues/2092
- break until 10:18
- buddy talk:
- Development Board
- Andrei (not here)
- Ben
- Chris(toph) Kraus (not here)
- Christoph Schreiner
- Johannes (not here)
- Liza
- Maiia
- Moritz (not here)
- Richard
- Paul
- Tasks for Everyone
- further meetings necessary?
- project management (Liza, Paul)
- mautic/e-mail/Festplatte? (Paul)
- release (Richard, Paul)
- maps update (Filip, Richard and Paul)
- something else?
Tasks for Everyone
To be done until latest Thursday 11.08.2025 23:59.
Tasks:
- getting everything done for the release:
- review at least 2+2*X (X = number of created MRs), including meeting MR
- fix own MRs to get it ready to merge
- buddy talk: how can project management support you best?
- finish your assigned tasks of the iteration
- Schedule your working time in PermaplanTWork calendar
- Create a new Event for each timeslot you plan to work and name it "{Name} (available)" example: "Liza (available)".
- If you know that you always have time in a specific timeslot, you can also repeat this event.
- Please vote on PermaplanTreffen: https://cloud.perma.health/index.php/apps/polls/vote/64
Meeting Notes
Presentation from Paul.
-
Documents can be found in NextCloud: PermaplanTDev/Presentations/202508_18...
-
Explanation of GitLab Quick Actions
-
Explanation of GitLab Labels and how they are used in PermaplanT Repo
-
Presentation of Issue Creation Assistant
-
Richard was not able to do the buddy talk last week as Johannes is on holiday
-
Christoph would need more reviews for his MRs
-
Release postponed to next week to have more fixes and working mailinglist subscription
-
MR Template feedback
-
Positive feedback for specializing the templates
-
Templates should give better instructions on how to review an MR
-
Templates should be available on all repos
-
Liza should create Issues for project management
-
Project Management meeting will be done spontaneously
-
Infrastructure hardware upgrade planning should be planned further
Meeting 25.08.2025
Attendees
- Markus
- Liza
- Maiia
- Paul
- Richard
- Ben (not approved)
- Andrei
- Johannes (not approved)
- Moritz
Cannot come:
- Chris(toph) Kraus (not approved)
- Christoph Schreiner (not approved)
Buddies
- Christoph & Liza
- Ben & Chris
- Moritz & Paul
- Andrei & Maiia
- Johannes & Richard
Success Partners
- Liza & Paul
- Richard & Ben
- Chris & Christoph
- Maiia & Moritz
- Andrei & Johannes
Statistics (14.08 - 21.08)
Merge Request approved
Markus: 7 Paul: 7 Andrei: 5 Richard: 5 Christoph: 6 Elizaveta: 2 Stefanie: 1 Maiia: 1 Moritz: 1 Ben: 1 Johannes: 1
Agenda
- 09:00 start
- Meeting Notes: Richard
- permaculture principles:
- 2025_08_25_principles_Mollison.pdf
- make creating issues and reviewing MRs more fun
- improving templates
- creating issues by tool?
- information page
https://mr.permaplant.net/debug/browser - or directly create issue from
https://mr.permaplant.net?
- important for good working together:
- be very cautious about recommendations or generally what you say in reviews -> it implies work
- MRs should in good state etc. -> self-check if they are fine
- status round:
- buddy talk: how can project management support you best?
- status
- blocks/stuck
- new success buddies
- tech updates:
- upgrade to Rust 1.89.0.
- runtime diagram update:
- changes after actual planting
- Rust upgrade:
- to 1.89.0
- update docu to use this version (Richard)
- UI updates Moritz
- break
- next release:
- done bug fixes: clicking on markers (Maiia)
- open bug fixes:
- fix copy and paste in notes, nearly done (Moritz)
- copy&paste visualization lines (Moritz)
- autoscaling broken (Andrei) -> unclear
- unclear: ambivalent relations?
- improvement of release process
- status
- testing
- next blog entry:
- Ragweed
- Europäische Gottesanbeterin Blog Mantis religiosa
- buddy talk:
- Development Board
- Andrei
- Ben
- Chris(toph) Kraus (not here)
- Christoph Schreiner (not here)
- Johannes
- Liza
- Maiia
- Moritz
- Richard
- Paul
- Tasks for Everyone
- Live-Meeting
- Saturday 20.09.2025
- Fahrgemeinschaften
- merchandising
- visitenkarte
- postkarten
- sticker
- flyer?
Tasks for Everyone
To be done until latest Thursday 28.08.2025 23:59.
See also doc/contrib/README.md in Iteration paragraph.
Tasks:
- update Rust to 1.89.0
- Merge dev into the feature branches to update Jenkins to do cleanups. All MRs are marked with meta::workaround available to indicate if update is done, please remove label once updated.
- write one page of text: methods
- success partners: look at MRs together
- buddy talk: how to go to live meeting
- getting everything done for the release:
- review at least 2+2*X (X = number of created MRs), including meeting MR
- fix own MRs to get it ready to merge
- finish your assigned tasks of the iteration
- Schedule your working time in PermaplanTWork calendar
Meeting Notes
- 09:00 start
- Meeting Notes: Richard
- permaculture principles:
- 2025_08_25_principles_Mollison.pdf
- Markus presents permaculture principles 2 (The Problem is the solution) & 3 (The Least change for the greatest effect).
- Team gives examples of these principles they experienced.
- make creating issues and reviewing MRs more fun
- improving templates done by Liza
- creating issues by tool?
- Another idea is, creating issues via some other tool.
- Ben remarks, that getting the current browser version via JS is likely not possible.
- Only 50% found it relevant to have such help, so it will be postponed.
- important for good working together:
- be very cautious about recommendations or generally what you say in reviews as it might imply work for others
- MRs should be complete in good state etc. -> self-check if they are fine
- status round:
- buddy talk: how can project management support you best?
- Richard: No Buddy talks.
- Paul: Had meeting with Moritz
- Moritz: Not much to add
- Lisa: No Buddy talks because Christoph is on holiday.
- Johannes: Trying to get back into work. No buddy talks, first day back from holiday.
- Ben: No buddy talks.
- Andrei: No buddy talks last week. Work is progressing
- status
- Maiia: Asks Project Managers to remind everyone of the correct process. Focused on reviews and getting her MRs ready to be merged.
- blocks/stuck
- Moritz: Looking for ways to progress on his current tasks.
- Ben: blocked for package.json update
- buddy talk: how can project management support you best?
- new success buddies New Buddy assignments.
- tech updates:
- upgrade to Rust 1.89.0.
- No large change is involved.
- Please update the local system.
- Richard prepared the MR but it did not yet change all versions.
- Asks Johannes to review the MR.
- Johannes will look for the list, where the Rust version needs to be updated. (He wrote in the chat.)
- upgrade to Rust 1.89.0.
- runtime diagram update:
- changes after actual planting
- Markus asks team to review these changes, together with the agenda/meeting notes.
- We take a look at Moritz' mobile UI map design proposal. Moritz takes feedback on how to improve the design.
- next release:
- done bug fixes: clicking on markers (Maiia)
- open bug fixes:
- fix copy and paste in notes, nearly done (Moritz) Some problems remain, should be minor. Should be ready this week, only pending review.
- copy&paste visualization lines (Moritz) Work has not started yet. Not sure if it will be ready this week.
- autoscaling broken (Andrei) Some bugs were found that need to be adressed. Unclear if it will be ready this week
- unclear: ambivalent relations? Christoph is not here, so discussion is not really possible.
- improvement of release process Paul has some ideas for scripts. A blog entry for each release. A mailing list with notifications for each release.
- status
- testing
- next blog entry:
- Ragweed
- Europäische Gottesanbeterin Blog Mantis religiosa
- Treffen: Fahrgemeinschaften Meeting will be on Sep. 20.
- merchandising
- business cards
- postcards
- stickers
- flyers?
- break
- buddy talk:
- Development Board
- Andrei MRs should be mergable now or soon. Will ping when everything is ready. Use Cases are ready.
- Ben Will work on Tanstack upgrade.
- Chris(toph) Kraus (not here)
- Christoph Schreiner (not here)
- Johannes Will update his MRs and Issues. Worked on his thesis. Will focus on merging open telemetry into dev.
- Liza Everything is on track.
- Maiia Will merge in review issue soon. Use cases in review. Image problems resolved with Richard, still the performance issue remains.
- Moritz Will create new issues as discussed. Will implement basic version first, then include feedback.
- Richard
- Paul Asks team to merge dev into the feature branches to update Jenkins.
- Tasks for Everyone
Meeting 01.09.2025
Attendees
- Markus
- Liza
- Maiia
- Paul
- Richard (not approved)
- Ben (not approved)
- Johannes (not approved)
- Moritz
Only partly here:
- Chris(toph) Kraus (no entry in calendar)
Not here:
- Andrei (not approved)
Cannot come:
- Christoph Schreiner
Buddies
- Christoph & Liza
- Ben & Chris
- Moritz & Paul
- Andrei & Maiia
- Johannes & Richard
Success Partners
- Liza & Paul
- Richard & Ben
- Chris & Christoph
- Maiia & Moritz
- Andrei & Johannes
Agenda
- 09:00 start
- Meeting Notes: Johannes
- Retrospective
- status (looking back):
- success partners: look at MRs together
- current progress and blocks
- break
- tech talk:
- e2e testcases
- calendar broken?
- finish release
- mautic
- new top level-directory: tools
- Meeting Workflow updates:
- meetings@permaplant.net
- buddy talk: how to go to live meeting
- Development Board
- Andrei (not here)
- Ben
- Chris(toph) Kraus
- Christoph Schreiner (not here)
- Johannes
- Liza
- Maiia
- Moritz
- Richard
- Paul
- Tasks for Everyone
- Live-Meeting
- Wintersaat & Mulch
- Saturday 20.09.2025
- Write to Sticker
- fill out form
Tasks for Everyone
To be done until latest Thursday 04.09.2025 23:59.
Tasks:
- fill out form
- write to Sticker, which ones you like etc.
- buddy talk: Stickers, PermaplanTreffen
- Regular Tasks
Statistics (21.08 - 28.08)
Merge Request approved
Moritz: 13 Maiia: 9 Markus: 4 Paul: 3 Ben: 3 Andrei: 2 Elizaveta: 2 Chris: 1 Richard: 1
Issue progress (status changes + closed)/ total assigned
Paul: 3/5 Andrei: 6/8 Chris: 2/10 Maiia: 3/10 Elizaveta: 5/7 Moritz: 6/8 Ben: 1/5 Christoph: 0/8 Richard: 3/8
Meeting Notes
- Retrospective
- Weather Report
- mostly between sunny and partly cloudy
- Hot Air balloon
- Takeaways
- improve outdated documentation
- reduce open MRs and technical debt
- more announcements
- Weather Report
- status (looking back):
- success partners: look at MRs together
- current progress and blocks
- break
- tech talk:
- e2e testcases
- outdated version
- auth issue
- release
- get it properly done
- mautic
- new top level-directory: tools
- e2e testcases
- Meeting Workflow updates:
- extra file for Regular Tasks
- write to meetings@permaplant.net
- buddy talk: stickers, how to go to live meeting
- Development Board
- Andrei
- Ben
- Chris(toph) Kraus (not here)
- Christoph Schreiner (not here)
- Johannes
- Liza
- Maiia
- Moritz
- Richard
- Paul
- Tasks for Everyone
- Live-Meeting
- Wintersaat & Mulch (not talked about due to time)
- Saturday 20.09.2025
- Write to Sticker
- fill out form
Meeting 08.09.2025
Attendees
- Markus
- Liza
- Maiia
- Paul
- Richard (not approved)
- Ben
- Moritz
- Chris(toph) Kraus (not approved)
- Christoph Schreiner (not approved)
- Johannes (not approved)
Not here:
- Andrei (unexcused, not approved)
Buddies
- Christoph & Liza
- Ben & Chris
- Moritz & Paul
- Andrei & Maiia
- Johannes & Richard
Success Partners
- Liza & Paul
- Richard & Ben
- Chris & Christoph
- Maiia & Moritz
- Andrei & Johannes
Agenda
- 09:00 start
- Meeting Notes: Liza
- status (looking back):
- buddy talk: PermaplanTreffen, stickers
- current progress and blocks
- Release 0.8.0 celebration:
- important contributions
- what was valuable
- looking forward: next releases
- being productive with issues:
- no discussions, no throwing of ideas etc., only identification of real improvements
- not "others should do it differently", simply do it differently yourself
- meaning of comments
- responsibility for labels
- subscribing labels
- methods
- break
- Development Board
- Andrei (not here)
- Ben
- Chris(toph) Kraus
- Christoph Schreiner
- Johannes
- Liza
- Maiia
- Moritz
- Richard
- Paul
- Tasks for Everyone
- Treffen 20.9.2025
- release
- sticker
- devices
- games
Tasks for Everyone
To be done until latest Thursday 11.09.2025 23:59.
Tasks:
- fill out form Please also fill out, if you cannot come! We hope to see as many of you as possible. 💕
- success partners: methods, PermaplanTreffen, review together MRs
- submissions of methods
- Regular Tasks
Statistics (29.08 - 04.09)
Merge Request approved
- Raab, Markus: 10
- Bachinger, Paul: 8
- Kuzmishyna, Maiia: 7
- Muth, Moritz: 6
- Mokshantseva, Elizaveta: 3
Issue progress (status changes + closed)/ total assigned
- Bachinger, Paul: 0/4
- Dinu-Coreth, Andrei Cristian: 0/4
- Kraus, Christoph: 3/11
- Kuzmishyna, Maiia: 2/7
- Lakits, Lukas Anton: 1/2
- Mokshantseva, Elizaveta: 6/10
- Muth, Moritz: 4/7
- Schlegel, Ben: 1/4
- Schreiner, Christoph: 0/10
- Wutscher, Richard: 3/6
- Ziehengraser, Johannes Leonhard: 0/4
Meeting Notes
- 09:00 start
- Meeting Notes: Liza
- status (looking back):
- buddy talk: PermaplanTreffen, stickers
- current progress and blocks
- Maiia:
- No buddy talk
- success partners talked
- no blockers
- would like recap how to write thesis (methodology) presentation will be linked
- Moritz:
- had success partner talk (looked at MR)
- met with buddy talked about release
- waiting for reviews
- blocked cause he can't test with phone or tablet (TODO: infrastructure issue about non-localhost)
- Paul: pretty good last week, no blockers
- Richard:
- got work done in infrastructure
- had meeting with success partner (looked at MR)
- had no buddy talk
- blocker: automated map upgrade (not sure where)
- Chris:
- blockers: one run fails (can't reproduce), how to compare updates
- Christhoph:
- didn't get much work done
- had buddy talk
- went through older issues (estimation, updates)
- Johannes: Analyzing keycloak and nextcloud, didn't find solution
- Release 0.8.0 celebration:
- important contributions
- what was valuable
- Ben: didn't make into release
- Chris: nothing to add
- Christoph: didn't finish ambivialent relation, icons (not all of backend)
- Johannes: nothing to add
- Liza: milestone planning
- Maiia: a lot of issues, proud of round brushes
- Moritz: not sure what was included, happy with fixes in copy and paste Suggestion: more attention to release notes
- Paul: lots of in infrastructure, emails (not going to spam), lots of fixes, proud of visual changes (in general)
- Richard: map upgrade
- looking forward: next releases
- smaller more regular releases
- being productive with issues:
- no discussions, no throwing of ideas etc., only identification of real improvements
- not "others should do it differently", simply do it differently yourself
- meaning of comments
- add new findings in comments and update issue accordingly
- break
- Development Board
- Ben
- Chris(toph) Kraus
- Christoph Schreiner
- Johannes
- Liza
- Maiia
- Moritz
- Richard
- Paul
- PermaplanTreffen 20.9.2025
- release
- sticker
- games
- sammeltaxi
- Johannes: white stickers without writing (5-6 cm), can bring notebook
- Christoph: round stickers (maybe with green and blue) (5cm), notebook
- Chris: name for advertisement, can't make it to meeting
- Ben: likes colorful (bottom row), can't make it
- Richard: likes 2nd row (7cm+), can't make it
- Paul: made stickers, good input from others, brings tablet
- Moritz: likes white sticker (can be because black background), leaning also toward colorful, some with name is good
- Maiia: Like the circle (also with color), size doesn't matter, name and without name are fine, release: issues with zooming, can take android tablet and ios ipad
- Liza: round design (3-4 cm) can take ipad
Meeting 15.09.2025
Attendees
- Markus
- Ben
- Moritz
- Chris(toph) Kraus (not approved)
- Christoph Schreiner
- Andrei
- Johannes
- Justus (first time)
Cannot come:
- Liza
- Paul
- Richard (not approved)
- Maiia
Buddies
- Christoph & Liza & Justus (temp.)
- Ben & Chris
- Moritz & Paul
- Andrei & Maiia
- Johannes & Richard
Success Partners
- Maiia & Moritz & Justus (temp.)
- Liza & Paul
- Richard & Ben
- Chris & Christoph
- Andrei & Johannes
Agenda
- 09:00 start
- Meeting Notes: Moritz
- Welcome, Justus
- favorite plant for the balcony
- use cases:
- template
- open points etc.
- get done
- better short and regular work:
- for getting thesis done (see also books)
- for getting MRs done
- status (looking back):
- success partner talk: methods, PermaplanTreffen, review together MRs
- current progress and blocks
- www changes with Ben
- break
- use of pre-commit (onboarding)
- merge requests:
- add people who reviewed as reviewers
- Chris issues
- next releases:
- 0.8.1 (end of this week)
- 0.9.0 (1.0 pre-release series)
- urgent issues
- local network
- Nextcloud images broken
- adding test maps fail
- Development Board
- Andrei
- Ben
- Chris(toph) Kraus
- Christoph Schreiner
- Johannes
- Justus
- Liza (not here)
- Maiia (not here)
- Moritz
- Paul (not here)
- Richard (not here)
- Tasks for Everyone
- Treffen 20.9.2025
2025_Live_PermaplanTreffen_Programm.odt- BAST gebucht, but not back yet
- Prey Mantis (incl. Babies: Nymph)
- Books
Outlook Next Week: Journaling
- Problem: Ideas are not worth much, they need to ripe
- Judith Wolfsberger "Morgenseiten" (orig. Julia Cameron), when starting, don't read it
- Socratic Journal
- use some questions to guide you, e.g., "where did I waste time?" "how was I productive?"
- positive reframing
- not sure about two-stage, though
- own experience
- find time waster
- prioritize/focus topics/RQs
- aspects
- cluster/code/...
Tasks for Everyone
To be done until latest Thursday 18.09.2025 23:59.
Tasks:
- 0.8.1 release for PermaplanTreffen: especially reviews and as discussed
- finish use cases: write/update use cases assigned to you
- buddies: use cases, PermaplanTreffen, review together MRs
- make sure you have properly setup pre-commit
- Regular Tasks
Statistics (04.09 - 11.09)
Merge Request approved
Raab, Markus: 8 Lakits, Lukas Anton: 5 Bachinger, Paul: 4 Muth, Moritz: 4 Kraus, Christoph: 3 Kuzmishyna, Maiia: 3 Schlegel, Ben: 3 Schreiner, Christoph: 1
Issue progress (status changes + closed)/ total assigned
Adamek, Jannis: 0/1 Bachinger, Paul: 2/5 Dinu-Coreth, Andrei Cristian: 0/3 Feldmann, Stefanie: 0/2 Kraus, Christoph: 4/8 Kuzmishyna, Maiia: 3/6 Lakits, Lukas Anton: 1/2 Mokshantseva, Elizaveta: 3/11 Muth, Moritz: 5/8 Raab, Markus: 0/2 Schlegel, Ben: 1/4 Schreiner, Christoph: 1/10 Wutscher, Richard: 0/3 Ziehengraser, Johannes Leonhard: 1/4
Meeting Notes
- 09:00 start
- Meeting Notes: Moritz
- Welcome, Justus
- favorite plant for the balcony
- Justus will mostly focus on backend development
- new labels for release 1.0
- use cases:
- added template
- added criticality label
- system critical access control use case
- open points etc.
- get done
- update assigned use cases in #1
- better short and regular work:
- for getting thesis done (see also books)
- essential: learning how to write proper scientific and technical English
- our daily language is neither technical nor scientific, e.g.: "dermatologisch getestet" on many products says nothing about the test result
- essential: practice writing regularly with feedback
- reading books about writing thesis
- using a journal to take notes and try different techniques
- for getting MRs done
- new guidelines on how to review (WIP)
- respond quickly to review comments
- status (looking back):
- success partner talk: methods, PermaplanTreffen, review together MRs
- Moritz: No talks because both Paul and Maiia were not available.
- Andrei: No talks last week.
- current progress and blocks
- Moritz: Focusing mainly on mobile usability for the PermaplanTreffen. Waiting for reviews and blocked by local network setup.
- Justus: Reading Rust programming book and doing some coding challenges. Still working on the onboarding issue.
- Johannes: Looking into CORS issues. Working on OpenTelemetry configuration. No current blockers.
- Christoph: Fixed up most of his MRs. Didn't have a lot of time last week.
- Chris: Mostly worked on thesis and reviewed some open MRs. Will focus on reviewing MRs this week.
- Ben: Worked on the TanStack Upgrade and the map sorting issue.
- Andrei: Didn't have much time last week. Will continue working on open MRs this week. No current blockers.
- success partner talk: methods, PermaplanTreffen, review together MRs
- Break until 10:05
- next releases:
- 0.8.1 (this week)
- 0.9.0 (1.0 pre-release series)
- urgent issues
- Nextcloud images broken
- adding test maps fail
- use of pre-commit
- make sure you have properly setup pre-commit
- to reduce roundtrip-times
- might need rebase to dev so that frontend reformatting works due to !1864 (merged)
- merge requests:
- add people who reviewed as reviewers
- Development Board
- Andrei
- Ben
- Chris(toph) Kraus
- Christoph Schreiner
- Johannes
- Justus
- Liza (not here)
- Maiia (not here)
- Moritz
- Paul (not here)
- Richard (not here)
- Tasks for Everyone
- Treffen 20.9.2025
2025_Live_PermaplanTreffen_Programm.odt- BAST gebucht, but not back yet (Markus will do)
- challenge: find Prey Mantis (incl. Babies: Nymph)
- Books will be there to look at
- more information will be sent to people who registered
Meeting 22.09.2025
Attendees
- Markus
- Ben
- Moritz
- Christoph Schreiner (not approved)
- Andrei
- Justus
- Liza
- Paul
- Maiia
- Hannes (first time)
Not here:
- Richard (not approved)
- Johannes
- Chris(toph) Kraus (not approved)
Buddies
- Andrei & Maiia
- Christoph & Liza
- Ben & Chris
- Moritz & Paul
- Johannes & Richard
- Justus & Hannes
Success Partners
- Maiia & Moritz (Frontend)
- Ben & Andrei (Frontend)
- Hannes & Johannes (DevOps)
- Liza & Paul (PM)
- Richard & Chris (Tooling)
- Christoph & Justus (Backend)
Agenda
- 09:00 start
- Meeting Notes: Ben
- Welcome Hannes
- new success partners (see above)
- status (looking back):
- buddies: use cases, review together MRs
- current progress and blocks
- PermaplanTreffen
- break
- PermaplanTreffen:
- highlights:
- Andrei found Mantis
- lots of discoveries in the map
- first playing around with tablet
- photos
- updates in gallery
- highlights:
- next round of PermaplanTalks: little max. 10 min talks
- reinsaat.at Demo on Wednesday
- tech talk:
- automatic rebase/merge dev in place
- discussion threads
- Journalling:
- Problems: (1) from getting stuck and (2) ideas are not worth much, too noisy for others, they need to ripe
- Judith Wolfsberger "Morgenseiten" (orig. Julia Cameron), when starting, don't read it
- Socratic Journal
- use some questions to guide you, e.g., "where did I waste time?" "how was I productive?"
- positive reframing
- not sure about two-stage, though
- own experience
- find time waster
- prioritize/focus topics/RQs
- aspects
- cluster/code/...
- iteration workflow:
- every week: move your issues to in progress
- write something to all your issues until Thursday (see below tasks for everyone)
- Development Board
- Andrei
- Ben
- Chris(toph) Kraus (not here)
- Christoph Schreiner
- Hannes
- Johannes (not here)
- Justus
- Liza
- Maiia
- Moritz
- Paul
- Richard (only infrastructure tasks)
- Tasks for Everyone
Outlook
- Hannes will give a short talk about how to debug network requests to Nextcloud
- summary of meeting for PM and Frontend (see Vote for Focus Groups) below
- mockup?
- usability
- icons/buttons issue #363
- last decisions for 1.0
- JSON
- Quality of infrastructure
- ...
- updating of authors.md (Hannes prepares a template)
- workflows:
- onboarding (add to review issues, CODEOWNERS)
- decisions
- iteration (how to prepare weekly issues, remove in:progress?)
- further PermaplanTalks: little max. 10 min talks
Vote for Focus Groups
To be done until latest Tuesday 23.09.2025 23:59:
- Vote for Focus Groups
- Frontend: Ben, Moritz, Maiia, (Andrei)
- PM: Liza, Paul, Hannes
No vote needed for infrastructure, we always meet Friday 10:00.
Upcoming Focus Group Meetings
- Thursday 14:00: Frontend with Moritz, Maiia and Ben
- Friday 14:00: PM with Paul and Liza
Tasks for Everyone
Tasks to be done until latest Thursday 25.09.2025 23:59:
- to fix icons that are null and to have ambivalent relations:
- pull/merge dev branch
- pull scraper data
- rerun scraper
- try journalling
- find time waster
- write a page, e.g. in the morning
- meeting with success partner:
- journalling
- review an MR together
- choose topic for next PermaplanTalk
- Regular Tasks
Statistics (11.09 - 18.09)
Merge Request approved
Muth, Moritz: 9
Lakits, Lukas Anton: 6
Raab, Markus: 6
Schlegel, Ben: 2
Bachinger, Paul: 1
Kuzmishyna, Maiia: 1
Schreiner, Christoph: 1
Issue progress (status changes + closed)/ total assigned
Bachinger, Paul: 2/4
Dinu-Coreth, Andrei Cristian: 2/3
Kraus, Christoph: 5/8
Kuzmishyna, Maiia: 1/10
Lakits, Lukas Anton: 0/1
Mokshantseva, Elizaveta: 1/11
Muth, Moritz: 2/7
Raab, Markus: 0/3
Schlegel, Ben: 5/8
Schreiner, Christoph: 2/10
Weilguni, Justus: 1/3
Wutscher, Richard: 0/2
Zettl, Hannes: 0/2
Ziehengraser, Johannes Leonhard: 4/5
Meeting Notes
- 09:00 start
- Meeting Notes: Ben
- Welcome Hannes
- new success partners (see above)
- status (looking back):
- buddies: use cases, review together MRs
- current progress and blocks
- PermaplanTreffen
- Andrei:
- working on two bigger merge requests
- looked at 1.0::must have tasks
- PermaplanT Treffen: nice to see garden a year later and in different season.
- Ben:
- Worked on react router upgrade and issues + TanStack Query block.
- Christoph:
- Got his MR's done + got reviews done.
- Had buddy talk with Liza.
- Hannes:
- Catching up on docs and setting up on dev environment.
- Working on Nextcloud issues and onboarding.
- Justus:
- Onboarding blocked because image upload issues.
- Working on JSON web token upgrade.
- Issues with swaggerUI without devcontainer.
- Liza:
- Didn't work much last week because of vacation and catching up.
- Enjoyed PermaplanTreffen.
- Maiia:
- Didn't have buddy meeting and less time because of being sick.
- Two MR's got finalized and merged + progress on other issues.
- Moritz:
- Didn't have buddy meeting.
- Prepared a lot for PermaplanTreffen (mobile usability), waiting for local network setup.
- Got some MR's merged and fixed dragging issue.
- Paul:
- Has no blockers, was busy with updating servers + hardware upgrade to improve pipeline.
- next round of PermaplanTalks: little max. 10 min talks
- Hannes: Maybe talk about debugging network requests + CORS with demo.
- Justus: Maybe talk about debugging backend, e.g. logging etc? (needs more time to get into the topic)
- Paul: Has to think about topic.
- PermaplanTreffen:
- highlights:
- Andrei found Mantis
- lots of discoveries in the map
- first playing around with tablet
- photos in Nextcloud: PermaplanTDev/Photos/20250920_PermaplanTreffen/IMG_38
- updates in gallery
- highlights:
- break until 10:01
- reinsaat.at Demo on Wednesday
- build server will be shut off during the presentation (Wednesday)
- goal: collaboration with reinsaat, especially about plant data
- tech talk:
- automatic rebase/merge dev in place
- discussion threads
- iteration workflow:
- move your issues to in progress
- write something to all your issues until Thursday (see above tasks for everyone)
- Journalling:
- Problems: (1) from getting stuck and (2) ideas are not worth much, too noisy for others, they need to ripe
- Markus personally found it very helpful for his thesis, was much more useful than milestone plan or table of contents.
- Easiest technique is freewriting (Write one page of text about any idea you have, doesn't matter what it is).
- Helps with getting started, clustering might help if you have too many ideas.
- further literature:
- Judith Wolfsberger "Morgenseiten" (orig. Julia Cameron), when starting, don't read it
- Socratic Journal
- use some questions to guide you, e.g., "where did I waste time?" "how was I productive?"
- positive reframing
- not sure about two-stage, though
- topics to work on your thesis via journalling:
- find time waster
- prioritize/focus topics/RQs
- aspects
- cluster/code/...
- Development Board
- Tasks for Everyone (see above)
- Vote for Focus Groups (see above)
- Andrei
- Busy at work but can work this week on his assigned issues.
- Ben
- Discussed newly assigned issues and discussed TanStack Query blocker. (React router upgrade + tests done)
- Chris(toph) Kraus (not here)
- Christoph Schreiner
- Hannes
- working on onboarding
- Johannes (not here)
- Justus
- Working on reviews and getting own MR's done.
- Liza
- Discussing workflows and project management tasks.
- Maiia
- Working on assigned issues, joining separate frontend meeting to discuss in more detail.
- Moritz
- Working on assigned issues, joining separate frontend meeting to discuss in more detail.
- Paul
- Working on updated release procedures
- Richard (only infrastructure tasks)
Meeting 25.09.2025
Attendees
- Markus
- Ben
- Moritz
- Andrei
- Maiia
Agenda
- Meeting Notes: Maiia
- info button
- reset toolbars to defaults (collapse/open all toolbars toggle)?
- reset to default zoom (maybe included in same "reset" button) or a zoom slider?
- a button to hide buttons for opening/closing toolbars and maybe other mobile-oriented features?
Meeting Notes
-
Plant markers info button:
- agreed to change the icon to a plant with a calendar icon
- discussed a separate menu (dialog) to encompass both plant markers and labels configuration but agreed that it is excessive for only two boolean properties
-
Reset toolbars to defaults:
- agreed to not do any reset to default
- for testing it is enough to open incognito window
-
Hiding buttons for opening/closing toolbars and maybe other mobile-oriented features:
- general agreement was that the buttons aren't too disturbing, but there were some cases when even the team members have accidentally clicked one of them and was startled
- industry standard to distinguish mobiles and desktop screens for layout purposes is screen width (around 600px is considered mobile)
- another way, not usually used for layout but for user interaction, is to distinguish based on fine/coarse pointer
-
Reset to default zoom, zoom buttons:
- agreed to not have such a button but rather look into performance issue when zooming in or out
- agreed to not do zoom buttons either
Meeting 29.09.2025
Attendees
- Markus
- Ben
- Moritz
- Andrei
- Justus
- Maiia
- Richard (not approved)
- Johannes (not approved)
- Paul
- Chris(toph) Kraus (not approved)
Came later:
- Hannes (unexcused - had technical issues) (not approved)
Cannot come:
- Liza
- Christoph Schreiner (not approved)
Buddies
- Andrei & Maiia
- Christoph & Liza
- Ben & Chris
- Moritz & Paul
- Johannes & Richard
- Justus & Hannes
Success Partners
- Maiia & Moritz (Frontend)
- Ben & Andrei (Frontend)
- Hannes & Johannes (DevOps)
- Liza & Paul (PM)
- Richard & Chris (Tooling)
- Christoph & Justus (Backend)
Agenda
- 09:00 start
- status (looking back):
- meeting with success partner: journalling, review an MR together
- current progress and blocks
- Meeting Notes: Paul
- further PermaplanTalks: max. 10 min talks
- Paul: next week about triage
- others?
- Lukas finished project
- PM started, done by Liza and Paul
- issues workflow
- update: don't set "1.0", "ready" label yourself
- Reminder: please move issues you worked on to "status::in progress"
- write before Thursday the status (if you can still fix it within the week)
- Scientific writing: enumerations and itemize
- tech talk:
- architecture #2219: how can frontend query access rights on maps
- minimize API calls
- how to review
- BBB: upgrade
- summary of meeting for PM and Frontend (see Vote for Focus Groups), see below in notes
- looked at mockup, minimized it
- usability
- icons/buttons issue #363
- reinsaat.at Demo Friday this week?
- Development Board
- Chris(toph) Kraus
- Hannes
- Ben
- Christoph Schreiner (not here)
- Johannes (not here)
- Justus
- Liza (not here)
- Maiia (less time)
- Moritz (less time)
- Paul
- Richard (only infrastructure tasks)
- Andrei
- Tasks for Everyone
Outlook
- iteration (how to prepare weekly issues, add in:progress)
- workflows:
- onboarding (add to review issues, CODEOWNERS)
- decisions
- eye strain
- BBB: how notes work
- meeting working
- next talks:
- Paul: iterations
- Hannes will give a short talk about how to debug network requests to Nextcloud
- reviewing
- guidelines
- how to review
- workflow
- updating authors.md (Hannes prepares a template)
- tech talk: map overview sorting
- last decisions for 1.0
- JSON
- Quality of infrastructure
- ...
Tasks for Everyone
Tasks to be done until latest Thursday 02.10.2025 23:59:
- Set issues to "status::in progress" if you worked on an issue
- Regular Tasks
Statistics (18.09 - 25.09)
Merge Request approved
Raab, Markus: 12 Bachinger, Paul: 5 Dinu-Coreth, Andrei Cristian: 4 Muth, Moritz: 4 Schlegel, Ben: 4 Schreiner, Christoph: 4 Kuzmishyna, Maiia: 2 Lakits, Lukas Anton: 2 Mokshantseva, Elizaveta: 2 Weilguni, Justus: 2 Zettl, Hannes: 1
Issue progress (status changes + closed)/ total assigned
Bachinger, Paul: 1/4 Dinu-Coreth, Andrei Cristian: 0/3 Feldmann, Stefanie: 1/2 Kraus, Christoph: 1/6 Kuzmishyna, Maiia: 4/9 Lakits, Lukas Anton: 0/1 Mokshantseva, Elizaveta: 6/10 Muth, Moritz: 7/9 Raab, Markus: 1/3 Schlegel, Ben: 3/7 Schreiner, Christoph: 4/12 Weilguni, Justus: 1/3 Wutscher, Richard: 0/3 Zettl, Hannes: 1/3 Ziehengraser, Johannes Leonhard: 0/4
Meeting Notes
-
Blockers and status reports of last week
-
Justus had a blocker by E2E test timeouts
-
Lukas finished his work on the initiative
-
New issue assignment process and iteration planning has been started
-
Contributors should not use the status::ready and 1.0 labels (these get set by project management)
-
Contributors should use label status::in_progress for issues they are currently working on (regardless of progress)
-
Moritz explained how to secure maps from unauthorized access
-
BBB had an upgrade to a newer version
-
URLs stay the same (were migrated by Paul)
-
Maiia explained considerations that were made in the frontend dev meeting
-
Started working with Chris on the dev board - e2e state reusing required refactoring so sleeping issues are blocked
-
Hannes is making progress on the Nextcloud issue with images being broken
-
Ben's issues are a little vague, they need refinement
-
Justus did not have that much time last week and needs some time to look into his issues
Meeting 06.10.2025
Attendees
- Markus
- Alfons (not approved)
- Ben
- Johannes
- Justus
- Liza
- Maiia
- Moritz
- Paul
- Richard (not approved)
Came later:
- Hannes (later, unexecused)
Not here:
- Andrei (unexcused, not approved)
- Chris(toph) Kraus (unexcused, not approved)
- Christoph Schreiner (unexcused)
Buddies
- Andrei & Maiia & Alfons
- Christoph & Liza
- Ben & Chris
- Moritz & Paul
- Johannes & Richard
- Justus & Hannes
Success Partners
- Maiia & Moritz (Frontend)
- Ben & Andrei & Alfons (Frontend)
- Hannes & Johannes (DevOps)
- Liza & Paul (PM)
- Richard & Chris (Tooling)
- Christoph & Justus (Backend)
Agenda
- 09:00 start
- Meeting Notes: Liza
- Welcome Alfons
- introduce success partners
- Alfons help with 1.0 and study
- BBB: how notes work:
- copy Agenda down
- Note taker modify this copy based on what was actually said
- Markus modifies Agenda according what we skip etc.
- importance of Thursdays deadline
- workflow for creating workflows
- guidelines:
- documentation: links
- user-facing messages
- updating authors.md (Hannes prepared a template)
- tech talk:
- differences production to others in frontend (feature flag)?
- RQ brainstorming
- terminology: initiative vs. project
- pro/cons for each question
- reminders:
- documentation guidelines: links
- break until 10:05
- reinsaat.at Demo on Friday afternoon
- PM this week
- Development Board
- Chris(toph) Kraus (not here)
- Liza
- Hannes
- Paul
- Ben
- Christoph Schreiner (not here)
- Johannes
- Justus
- Maiia
- Moritz
- Richard
- Andrei (not here)
- Alfons
- Tasks for Everyone
Outlook
- Paul: iterations
- Liza won't attend next meeting
- workflows:
- onboarding (add to review issues, CODEOWNERS)
- iteration (how to prepare weekly issues, add in:progress)
- decisions (TBD)
- eye strain
- reviewing
- guidelines
- how to review
- workflow
- maybe in two weeks? Hannes will give a short talk about how to debug network requests to Nextcloud
- status (looking back):
- meeting with success partner: journalling, review an MR together
- current progress and blocks
- talks:
- tech talk: map overview sorting
- last decisions for 1.0
- JSON
- Quality of infrastructure
- Tasks for Everyone next week: update authors.md according the template
Tasks for Everyone
Tasks to be done until latest Wednesday 08.10.2025 23:59:
- submission RQ brainstorming
- reread guidelines (especially documentation and about error messages)
- Regular Tasks, Reminders:
- Set issues to "status::in progress" if you worked on an issue
Statistics (25.09 - 02.10)
Merge Request approved
Muth, Moritz: 8 Dinu-Coreth, Andrei Cristian: 7 Raab, Markus: 6 Kuzmishyna, Maiia: 5 Kraus, Christoph: 2 Weilguni, Justus: 2 Bachinger, Paul: 1 Lakits, Lukas Anton: 1 Mokshantseva, Elizaveta: 1 Schlegel, Ben: 1 Ziehengraser, Johannes Leonhard: 1
Issue progress (status changes + closed)/ total assigned
Bachinger, Paul: 6/7
Dinu-Coreth, Andrei Cristian: 3/6
Kraus, Christoph: 5/7
Kuzmishyna, Maiia: 3/9
Mokshantseva, Elizaveta: 2/10
Muth, Moritz: 4/6
Raab, Markus: 3/3
Schlegel, Ben: 5/10
Schreiner, Christoph: 2/8
Weilguni, Justus: 4/4
Wutscher, Richard: 1/3
Zettl, Hannes: 1/3
Ziehengraser, Johannes Leonhard: 0/4
Total: 39 / 82
Meeting Notes
- welcome Alfons
- success partners introduced each other
- Alfons helps with 1.0 and study
- Introducing success partners
- BBB: how notes work:
- copy Agenda down
- Note taker modify this copy based on what was actually said
- Markus modifies Agenda according what we skip etc.
- explanation of how to manage Issues, less discussion in meeting and more in issue tracker
- importance of Thursdays deadline
- for project management
- this week the deadline is Wednesday!
- workflow for creating workflows, quick summary:
- Suggest a new Workflow in an issue
- Document Workflow in a MR
- Approve Workflow (MR)
- Implement Workflow new issue+MR
- Review Workflow (MR)
- For details please look at !1896
- guidelines:
- documentation: links
- user-facing messages
- Explanation of how to document
- updating authors.md
- Hannes prepared a template
- this week only be used by Alfons, next week others
- tech talk:
- differences production to others in frontend (feature flag)?
- Configuration of how to enable/disable features?
- current solution: we don't implement Collaborators
- RQ brainstorming
- terminology: initiative vs. project
- provide context
- introduce terminology
- pro/cons for each question
- the more RQs for now, the better
- Example:
- pro: could yield interesting result?
- con: not enough data?
- For people without question yet:
- just provide as many research questions as possible
- reviewers should give further ideas with more RQs
- order them (including the one suggested by reviews) by preference and then ask Markus for review
- break
- reinsaat.at Demo on Friday afternoon
- Hannes will do the fix Tuesday morning
- Development Board
- Hannes
- nextcloud
- helps Paul with triage
- Ben
- Stuck on Tanstack, new ideas:
- CPU/network slowdown
- mockup for requests to find faulty one
- some issues reduced from iteration
- Stuck on Tanstack, new ideas:
- Johannes
- decision
- Justus
- problem with failing e2e
- Liza
- couple issues to finish until tomorrow
- Maiia
- If there are too little issues should take issues from iteration planning for next week (if available)
- Moritz
- Talked about mobile usability issues
- Paul
- triage
- cutback on infrastructure issues
- assigns issues this week instead of Liza
- Richard
- Rust PIN and mostly infrastructure
- Alfons
- onboarding (except of avatar)
- start creating workflow how to collect improvements for guided tour
- e.g. collect them via doc/releases/dev.md in a special section for user-facing changes
- Hannes
Meeting 13.10.2025
Attendees
- Markus
- Alfons
- Andrei
- Ben
- Chris(toph) Kraus
- Johannes
- Justus
- Maiia
- Moritz
- Paul
- Hannes
- Richard (here but ill)
Cannot come:
- Liza
- Christoph Schreiner
Buddies
- Andrei & Maiia & Alfons
- Christoph & Liza
- Ben & Chris
- Moritz & Paul
- Johannes & Richard
- Justus & Hannes
Success Partners
- Maiia & Moritz (Frontend)
- Ben & Andrei & Alfons (Frontend)
- Hannes & Johannes (DevOps)
- Liza & Paul (PM)
- Richard & Chris (Tooling)
- Christoph & Justus (Backend)
Agenda
-
09:00 start
-
Meeting Notes: Andrei
-
status (looking back):
- meeting with success partner: journalling, review an MR together
- current progress and blocks
-
clear communication:
- Is this done?
- Can you do this?
- Please do this.
- Workflows help by clarification of context
-
news from infrastructure
- CI pipeline stable
- Nextcloud/Keycloak still very unstable, needs architectural change:
- massive data loss because of accidental rollback of Nextcloud
- contacts broken
- base layer images broken (but fix found)
- lots of cleanup required (removed keycloak accounts etc.)
- proposed change:
- mr and dev should be in completely isolated dev machine
- on this dev machine also everything related to infrastructure gets developed
- only master and www stay on prod machine
- access restrictions/different passwords etc. to avoid accidental working on production
-
news from PM
- Paul: iterations
- issue tracker usage:
- issue tracker does not forget anything
- only write what really needs to be addressed
-
workflows:
- workflow (ready for implementation)
- iteration (how to prepare weekly issues, add in:progress)
- review workflow
- invite about 2-5 people (not too many, not too few)
- at least two reviews: one for testing, one for code (better two)
- don't invite me for reviews unless required
- process reviews quickly
- should be fast process within one iteration
- meeting workflow: assign meeting note taker, branch name and other small updates in this MR
-
Reinsaat CEO Treffen Do 9:00
- downtime of infrastructure, especially Nextcloud and CI
- Friday Wartungsfenster from now on longer (and will stay longer for dev machine)
-
eye strain
-
break 10:05
-
presentation next weeks:
- Hannes
-
Tasks for Everyone next week: update authors.md according the template
-
Development Board (looking forward):
- Richard
- Alfons
- Andrei
- Ben
- Chris(toph) Kraus
- Christoph Schreiner (not here)
- Hannes
- Johannes
- Justus
- Liza (not here)
- Maiia (write issue about timeline)
- Moritz
- Paul (write issue for Chris)
- Tasks for Everyone
Outlook
- tech talk (frontend/backend coordination):
- map overview sorting
- delete areas
- reviewing
- guidelines
- how to review
- workflow
- maybe in two weeks? Hannes will give a short talk about how to debug network requests to Nextcloud
- decision workflow
- last decisions for 1.0
- JSON
- Quality of infrastructure
Tasks for Everyone
Tasks to be done until latest Thursday 16.10.2025 23:59:
- Update authors.md according the template, see !1895
- review 2 MRs regarding RQ brainstorming submissions
- Regular Tasks
Statistics (02.09 - 09.10)
Merge Request approved
Bachinger, Paul: 9 Raab, Markus: 9 Zettl, Hannes: 2 Ziehengraser, Johannes Leonhard: 2 Kuzmishyna, Maiia: 1 Muth, Moritz: 1 Schreiner, Christoph: 1 Weilguni, Justus: 1
Issue progress (status changes + closed)/ total assigned
Bachinger, Paul: 6/7 Dinu-Coreth, Andrei Cristian: 1/6 Kraus, Christoph: 4/8 Kuzmishyna, Maiia: 2/8 Mokshantseva, Elizaveta: 5/6 Muth, Moritz: 2/5 Müller, Alfons: 1/2 Raab, Markus: 2/3 Schlegel, Ben: 4/7 Schreiner, Christoph: 2/8 Weilguni, Justus: 2/4 Wutscher, Richard: 1/3 Zettl, Hannes: 3/6 Ziehengraser, Johannes Leonhard: 0/4 Total: 35 / 79
Did Not Approve Last Meeting Notes In Time
- Alfons
- Ben
- Moritz
- Richard
- Andrei
- Chris(toph) Kraus
Meeting Notes
- 09:00 start
- Meeting Notes: Andrei
- status (looking back):
- meeting with success partner: journalling, review an MR together
- current progress and blocks
- Alfons:
- did some reading, so far good
- did not have meeting with buddies yet
- Andrei:
- only worked on Sunday, progress on open issues and not much left, will work on writing
- Ben:
- also good progress on issues
- no blocker
- managed to fix TanStack update issues
- Chris:
- 2 blockers with the documentation tasks, needs refinement
- confusion on what status to give the task - in review or blocked
- Hannes:
- reading and reviewing, not yet reviewed what happened over the weekend
- no blockers
- Justus:
- open MR for issue he was working on, needs reviews
- security bug - hard to finish without local keycloak
- Maiia:
- no buddy talk
- mostly continued working on her issues
- found some root cause for one of the bigger bugs investigated
- Moritz:
- no meeting with buddy/sp
- work in progress on his rework, looking for feedback
- Paul:
- working on things, nothing major to update one
- Richard:
- was quite sick, could not do much
- clear communication:
- For a question, we need an answer not a solution
- Be precise when doing reviews, make a suggestion if possible
- MR Author can then know if suggestion matches what they meant
- Context is important and can bring different expectations -> workflows should help to clarify this
- news from infrastructure
- CI pipeline stable
- Nextcloud/Keycloak still very unstable, needs architectural change:
- massive data loss because of accidental rollback of Nextcloud
- local1 unknown status: there was another attempt to fix it
- contacts in nextcloud broken
- base layer images broken (but fix found)
- lots of cleanup required (removed keycloak accounts etc.)
- proposed change:
- mr and dev should be in completely isolated dev machine
- on this dev machine also everything related to infrastructure gets developed
- only master and www stay on prod machine
- access restrictions/different passwords etc. to avoid accidental working on production
- news from PM
- Paul: iterations
- issue tracker usage:
- issue tracker does not forget anything
- only write what really needs to addressed
- workflows:
- workflow (ready for implementation)
- iteration (how to prepare weekly issues, add in::progress)
- when should we look at upcoming issues -> ideally one iteration in advance
- review workflow
- invite about 2-5 people (not too many, not too few)
- don't invite Markus for reviews unless required
- process reviews quickly
- should be fast process within one iteration
- meeting workflow: assign meeting note taker, branch name and other small updates in this MR
- Reinsaat CEO Treffen Do 9:00
- downtime of infrastructure, especially Nextcloud and CI
- Friday Wartungsfenster from now on longer (and will stay longer for dev machine)
- eye strain
- take a break about every 20 min (as it feels right), stand up, look away from your computer
- demonstrated few exercises for neck/shoulders
- Tasks for Everyone next week: update authors.md according the template
- Development Board (looking forward):
- Richard:
- update devcontainer - update rust to latest versions
- nextcloud - working on backup and the various issues (plugins -> ideally before thursday)
- Alfons:
- Onboarding going well, waiting for fix about nextcloud picture
- work on the other open issues
- Andrei:
- Link Preview - get it merged soon and see if it works, maybe can be tested with mr.permaplant.net
- Other open MRs still need reviews
- Closed form bug that was fixed with Maiia's MR
- To investigate the new assigned issues, check if they are too big
- Ben:
- open MR should be mergeable
- nodejs update waits for the other merge, update documentation
- TanStack should work now but want to test it a bit more
- Would be good to have the NextCloud image fix
- Chris(toph) Kraus:
- e2e state reusing - even with saved cookies, still need to press login once, so we can't remove the 5s sleep. maybe it needs changes in the frontend -> create new issue
- workflow -> blocked because it needs more refinement
- guidelines for how others should prepare information that can be used for e2e tests
- flow of how to make new e2e tests to improve coverage
- Christoph Schreiner (not here)
- Hannes:
- local network - some work done but needs further checking
- draft until Friday for quality goals
- Johannes:
- opentelemetry - design decision
- rebase failed, tip: you can use git history as files don't get deleted (unless garbage collected)
- good reviewer guidelines on Makefile fix
- Justus:
- map access working for test
- map access control admin - move into iteration
- security vulnerability -> works locally but not in mr, need keycloak to test
- Liza (not here)
- Maiia:
- Encountered timeline bug (tbd: report it)
- Already working on improving visual indication of plant relations
- Moritz:
- Worked on mobile UX issues (would like reviews on MR)
- Backend and Frontend are not synced yet (needs to wait on backend)
- Paul:
- Will work on PM on main repo
- Will work on infrastructure devuan upgrade
- Tasks for Everyone:
- Update authors.md based on template
- Review RQ submissions from others (at least 2 MRs)
- After you have 2 reviews, update your RQ Brainstorming and invite Markus for review
- Richard:
Meeting 20.10.2025
Attendees
- Markus
- Alfons
- Ben
- Christoph Schreiner
- Hannes
- Justus
- Liza
- Maiia
- Moritz
- Richard
Not here:
- Chris(toph) Kraus (unexcused)
- Andrei (unexcused)
Cannot come:
- Paul
- Johannes
Buddies
- Andrei & Maiia & Alfons
- Christoph & Liza
- Ben & Chris
- Moritz & Paul
- Johannes & Richard
- Justus & Hannes
Success Partners
- Maiia & Moritz (Frontend)
- Ben & Andrei & Alfons (Frontend)
- Hannes & Johannes (DevOps)
- Liza & Paul (PM)
- Richard & Chris (Tooling)
- Christoph & Justus (Backend)
Agenda
- 09:00 start
- Meeting Notes: Justus
- Stimmungsbarometer
- status (looking back):
- current progress and blocks
- current motivation
- PM:
- role assignment
- meeting this week (Hannes, Liza and Paul)
- updates:
- description of what PermaplanT is
- reinsaat meeting
- tech talk:
- Vite experts? (Vite over local network)
- time and memory constraints for PermaplanT
- progress bar?
- memory to be checked
- offset on base map on dev compared to www
- Andrei
- auto-scaling decimals?
- reviewing
- guidelines
- how to review
- workflow
- Development Board (looking forward):
- Alfons
- Andrei
- Ben
- Chris(toph) Kraus
- Christoph Schreiner
- Hannes
- Johannes (cannot come)
- Justus
- Liza
- Maiia
- Moritz
- Paul (cannot come)
- Richard
- Tasks for Everyone
Outlook
- tech talk (frontend/backend coordination):
- map overview sorting
- delete areas
- Hannes will give a short talk about how to debug network requests to Nextcloud
- decision workflow
- last decisions for 1.0
- JSON
- Quality of infrastructure
Tasks for Everyone
Tasks to be done until latest Thursday 23.10.2025 23:59:
- Buddy talk/chat: RQs
- Add a self-chosen topic with a self-chosen date (where nobody else is) for yourself here in the MR (replace TBD with text by pushing or suggestion):
- Alfons (17.11., methodology)
- Andrei (TBD)
- Ben (TBD, maybe methods, FLOSS refactoring on library upgrades)
- Chris(toph) Kraus (TBD)
- Christoph Schreiner (TBD, maybe thesis or console tools)
- Hannes (TBD Infrastructure Architecture/Quality? Debugging Nextcloud Images? )
- Johannes (TBD)
- Justus (TBD Debugging+Logging in the Backend)
- Liza (TBD, maybe PM)
- Maiia (27.10. socratic questioning on RQ, debug updated later)
- Moritz (TBD pitfalls about pagination&endless scrolling)
- Paul (10.11., Running Meetings That Don't Waste Time)
- Richard (TBD pipeline, dev-centric or architecture)
- update/review authors.md according the template, see !1895, either
- push to !1895
- create new MR (preferred)
- update from previous reviews and invite/review 2 MRs regarding RQ brainstorming submissions
- Regular Tasks
Statistics (09.09 - 16.10)
Merge Request approved
Bachinger, Paul: 12
Raab, Markus: 11
Muth, Moritz: 10
Ziehengraser, Johannes Leonhard: 7
Dinu-Coreth, Andrei Cristian: 6
Müller, Alfons: 5
Kraus, Christoph: 2
Kuzmishyna, Maiia: 2
Zettl, Hannes: 2
Weilguni, Justus: 1
Issue progress (status changes + closed)/ total assigned
Bachinger, Paul: 4/8
Dinu-Coreth, Andrei Cristian: 4/7
Kraus, Christoph: 4/8
Kuzmishyna, Maiia: 6/8
Mokshantseva, Elizaveta: 3/6
Muth, Moritz: 1/5
Müller, Alfons: 3/3
Raab, Markus: 2/3
Schlegel, Ben: 1/7
Schreiner, Christoph: 0/7
Weilguni, Justus: 1/5
Wutscher, Richard: 1/3
Zettl, Hannes: 2/7
Ziehengraser, Johannes Leonhard: 2/4
Total: 34 / 81
Did Not Approve Last Meeting Notes In Time
- Hannes
- Ben
- Richard
- Andrei
- Chris(toph) Kraus
- Christoph Schreiner
Meeting Notes
- 09:00 start
- Meeting Notes: Justus
- Stimmungsbarometer
- Alfons: In good spirits, has made good progress. Has not met with buddy.
- Ben: Has not had a lot of time last week.
- Christoph: Is looking to catch up this week. Hasn't met with success partner
- Hannes: Good mood. Did not meet with success partner / buddy.
- Liza: Good mood, did not meet with buddies.
- Maiia: Good mood, no meeting with partners. Prefers to meet buddy and success partner together. Supports to redefine contact with partners so it more doable.
- Moritz: Good mood, not as much progress.
- Richard: Very good mood. No meeting with buddies.
- Markus: Count chatting as meeting with buddies. Bi-weekly meaning every two weeks. One week success partners other buddy (alternate weeks).
- status (looking back):
- current progress and blocks
- current motivation
- PM:
- everyone should continue doing:
- time estimations of issues
- write in Nextcloud calender how much time you have next week
- PM did improvements in iteration planning.
- role assignment done
- meeting this week (Hannes, Liza and Paul)
- everyone should continue doing:
- updates:
- description of what PermaplanT is
- reinsaat meeting:
- very successful meeting.
- we got permission to use reinsaat data (just got the call after meeting)
- tech talk:
- Vite experts? (Vite over local network):
- Issues of keycloak fixed, images are now loading.
- Login broken.
- Http does not work. Https has not yet been tried.
- If https fails to, we could ask in the Vite community.
- time and memory constraints for PermaplanT:
- everything to be within 0.1 seconds.
- heatmap and maploading below 1 second.
- Perhaps use loading indicators for anything taking longer than 0.5 seconds (probably after 1.0, though).
- Maiia: Below 1 second might be unrealistic for more than 10000 plants, will check.
- Christoph: Not sure but probably heatmap will work below 1 second also with 10000 plants.
- offset on base map on dev compared to www -> unclear, created issue #2262
- auto-scaling decimals? -> created issue issue #2263
- Vite experts? (Vite over local network):
- reviewing
- guidelines should be only in
doc/guidelines - they also should clarify how to review
- workflows and MR templates should point to relevant guidelines
- guidelines should be only in
- Development Board (looking forward):
- Alfons:
- Talk about methodology.
- Rework onboarding improvement. Writing decision about migration.
- Onboarding should no longer be blocked.
- Andrei (not here)
- Ben:
- Maybe talk about different approaches to refactoring.
- Test no longer work on nodejs upgrade. Did not look into it yet. For TanStack query upgrade plants are still disappearing. Should be able to be resolved quickly.
- Chris(toph) Kraus (not here)
- Christoph Schreiner:
- Still unsure. Maybe present console tools.
- Move scraper doc.
- Scraper reproducibility: every run should leave the database in the same state (as we have on production). Bonus: also let user know which version of scraper is deployed.
- Working on CSV validation decision.
- Hannes:
- Maybe a presentation on infrastructure.
- Currently working on "Define quality goals..".
- Nextcloud update on Friday.
- No time to enable PermaplanT use in local network.
- Johannes (cannot come)
- Justus:
- Debugging backend.
- Liza:
- Will think about a topic.
- Working on script for calculating hours spent in week.
- Maiia:
- Present socratic questioning. What is that? Recap on talk about debugging tools. Show real world application of those.
- To elements not showing, currently timeline is the only problem.
- To overlapping plant markers: Colouring the plant / marker might be best. Fixing the position in some way is also a possibility.
- Will prepare research question talk.
- Moritz:
- Talk: Pagination and endless scrolling pitfalls.
- No design yet for an alternative date selector.
- Collapsable topbar on mobile leads to jumping issues.
- Parts of #2143 already finished.
- Thinking of reusing some date selector or importing a new one. Maybe adding a button to hide this selector.
- Paul (cannot come)
- Richard:
- Retake of presentation.
- Continuing with rust version upgrade.
- Tasks for Everyone
- see above, including:
- write a topic next to your name for a short talk.
- Either about methodology, the current state of your research question or any technical topic.
- Alfons:
PM Meeting 24.10.2025 11:30
Attendees
- Markus
- Liza
- Paul
- Hannnes
Agenda
- Meeting notes: Paul
- being more pro-active in PM
- regular meeting?
- maybe one MR which also has meeting notes of infrastructure?
- roles in different repositories
- how to handle infrastructure?
- clarify responsibilities
- improve MR+issue templates
- do in smaller MRs, mainly with workflow implementations
- State of workflows
- what works well
- improvements?
- How do we handle distributing PM tasks (Hannes, Liza, Paul)?
- Decide on where we should communicate about issues in the context of iteration planning (see https://gitlab.tuwien.ac.at/permaplant/PermaplanT/-/issues/2234#note_272945)
- In the issue comments for updates of the issue (refinement)
- In the Iteration Issue, just status updates on progress, no issue list.
- Should we extend the ending time frame for 0.9.0?
- Iteration timeframe FRI-THU and relationship to Monday meeting
- Extend iteration planning to two weeks so that participants can review their assigned issues
- In meetings, ask people if the number of issues is okay?
- Next steps
- check if there is anything open for the next iteration
maybe too much for this time:
- Review of current project management state
- Releases 0.9.0? 0.8.1?
- various lesser important issues:
- https://gitlab.tuwien.ac.at/permaplant/PermaplanT/-/merge_requests/1911/diffs
- https://gitlab.tuwien.ac.at/permaplant/PermaplanT/-/issues/2261
- Issue workflow?
- How to handle refinement from the assignee side? e.g. follow-ups or to persons knowing some component well, refinement might not be necessary
- Introduce meta project group and link to issue https://gitlab.tuwien.ac.at/permaplant/PermaplanT/-/issues/2147
- extra PM repo?
- our meeting notes there?
- where to have workflows?
- where to have issue/MR templates?
Meeting notes (Paul)
- Liza should check if she should split up the MR template issue
- Let's not do a too big MR split-up workflow for now
- In the next weeks we want to transition to 2-week iteration planning
- Decided to make weekly meetings at 11:30 on Friday
Meeting 27.10.2025
Attendees
- Markus
- Alfons
- Ben
- Chris(toph) Kraus
- Hannes
- Johannes
- Justus
- Maiia
- Moritz
- Paul
- Richard
Not here:
- Andrei (unexcused)
- Christoph Schreiner (unexcused)
Sick:
- Liza
Buddies
- Andrei & Maiia
- Patrick & Alfons
- Christoph & Liza
- Ben & Chris
- Moritz & Paul
- Johannes & Richard
- Justus & Hannes
Success Partners
- Maiia & Moritz (Frontend)
- Ben & Alfons (Frontend)
- Hannes & Johannes (DevOps)
- Liza & Paul (PM)
- Richard & Chris (Tooling)
- Christoph & Andrei (Testing)
- Patrick & Justus (Backend)
Agenda
- 09:00 start
- Welcome Patrick!
- introducing your buddies
- Meeting Notes: Alfons
- Maiia Talk: socratic questioning on RQ
- writing better English
- careful if you refer to future or past: status reports should refer to past, left-over issues to future
- avoid modal verbs like can and might, unless you want to express uncertainty
- avoid confusions in terminology: doc/architecture/12glossary.md update/consistency
- recent changes slowdown
- please report
- writing your own workflows:
- e2e tests
- guided tour
- better progress
- fix little problems right away or at least suggest fixes
- split up too big issues and MRs
- small MRs, left-over issues
- say already in the meeting if it is obvious you cannot manage to do it in one week
- good weeks (iterations) should be progress in about 5 issues, about 10 reviews
- 70/20/10 rule every week, e.g. 20h: 2h thesis, 4h reviews/SP/buddy talk, 14h individual tasks
- tech talk:
- plants not showing
- maiia unblocked issue: background base image should work again
- Ben separate MR with Paul's fix of broken plant images
- decision workflow
- last decisions for 1.0
- JSON Alfons
- plant data testing Christoph
- polygon_calculations.md Justus
- Patrick?
- infrastructure
- Development Board:
- Alfons
- Andrei (not here)
- Ben
- Chris(toph) Kraus
- Christoph Schreiner
- Hannes
- Johannes (left early)
- Justus
- Liza (not here)
- Maiia
- Moritz
- Patrick
- Paul
- Richard
- Tasks for Everyone
Outlook
- Release procedure
- Alfons testing (focus on guided tour)
- Paul new release procedure
- reviews and guidelines
- testing guidelines
- tech talk (frontend/backend coordination):
- map overview sorting
- delete areas
- status (looking back):
- current progress and blocks
- Buddy talk/chat: RQs
- release next week:
- landing page updates
- welcome to use our infrastructure
- buddy meeting room (everyone can join as admin): https://bbb.permaplant.net/rooms/2hc-i2k-1d9-uiu/join
- Nextcloud calender, files etc...
Tasks for Everyone
Tasks to be done until latest Thursday 30.10.2025 23:59:
- create submissions MR: update of RQs with socratic questioning and/or hypothesis
- Success Partner: go over a few MRs together
- Add a self-chosen topic with a self-chosen date (where nobody else is) for yourself here in the MR (replace TBD with text by pushing to this MR or suggestion):
- Alfons (17.11., methodology)
- Andrei (TBD)
- Ben (TBD, maybe methods, FLOSS refactoring on library upgrades)
- Chris(toph) Kraus (TBD)
- Christoph Schreiner (TBD, maybe thesis or console tools)
- Hannes (TBD Infrastructure Architecture/Quality? Debugging Nextcloud Images? )
- Johannes (TBD)
- Justus (24.11 Debugging+Logging in the Backend)
- Liza (TBD, maybe PM)
- Moritz (TBD pitfalls about pagination&endless scrolling)
- Patrick (TBD)
- Paul (10.11., Running Meetings That Don't Waste Time)
- Richard (TBD pipeline, dev-centric or architecture)
- Regular Tasks
Statistics (16.09. - 23.10.)
Merge Request approved
Raab, Markus: 12 Kuzmishyna, Maiia: 4 Bachinger, Paul: 3 Muth, Moritz: 3 Kraus, Christoph: 2 Zettl, Hannes: 2 Müller, Alfons: 1 Schreiner, Christoph: 1 Weilguni, Justus: 1
Issue progress (status changes + closed)/ total assigned
Bachinger, Paul: 7/9 Dinu-Coreth, Andrei Cristian: 1/5 Kraus, Christoph: 3/8 Kuzmishyna, Maiia: 3/5 Mokshantseva, Elizaveta: 4/6 Muth, Moritz: 2/7 Müller, Alfons: 5/6 Raab, Markus: 2/2 Schlegel, Ben: 4/6 Schreiner, Christoph: 1/7 Weilguni, Justus: 3/5 Wutscher, Richard: 0/2 Zettl, Hannes: 3/6 Ziehengraser, Johannes Leonhard: 0/3 Total: 38 / 77
Did Not Approve Last Meeting Notes In Time
- Ben
- Richard
- Andrei
- Chris(toph) Kraus
- Johannes
Meeting Notes
-
09:00 start
-
Welcome Patrick!
- introducing your buddies
-
Meeting Notes: Alfons
-
Maiia Talk: socratic questioning on RQ
- Defining the term research question
- Challenges of writing research questions
- What is socratic questioning
- Applying socratic questioning to RQ
- How to process feedback gained from socratic questioning
- Answers to questions can be included in different sections of the thesis
Questions from audience:
- Q: How to come up with research question? A: Look at related work and downscale
- Q: Which socratic question helped the most? A: Clarifying or explanatory question
- Comment: Importance of clearly defining the scope
-
release next week:
- landing page updates
-
recent changes slowdown
-
writing better English
- mostly present tense in thesis
- careful if you refer to future or past: status reports should refer to past, left-over issues to future
- avoid modal verbs like can and might, unless you want to express uncertainty
- avoid confusions in terminology: doc/architecture/12glossary.md update/consistency
-
Note on workflows:
- Create issues when experiencing problems
- Workflows can be found in doc/workflows → "How do we do things?"
-
better progress
- fix little problems right away (e.g. spurious failures, trigger with "jenkins build please" or push spelling fixes etc.) or at least suggest fixes
- split up too big issues and MRs
- small MRs, left-over issues
- say already in the meeting if it is obvious you cannot manage to do it in one week
- good weeks (iterations) should be progress in about 5 issues, about 10 reviews
- 70/20/10 rule every week, e.g. 20h: 2h thesis, 4h reviews/SP/buddy talk, 14h individual tasks
-
tech talk:
- plants not showing
- at least 3 issues: 1 fixed (fetchdate, not in dev), other not fixed yet, Maiia will create issue
- 1 caused by tanstack other problem is caused by something else
- Rollback tanstack merge?
- maiia's issue unblocked: background base image should work again
- Ben creates separate MR with Paul's fix of broken plant images
- plants not showing
-
writing your own workflows:
- e2e tests
- guided tour
-
short introduction of decision workflow:
- first clarify problem before going into solutions
- at least two MRs needed
-
last decisions for 1.0
- JSON Alfons
- plant data testing Christoph
- polygon_calculations.md Justus
- Patrick?
- infrastructure
-
- Alfons
- Andrei
- Ben
- Chris(toph) Kraus
- Christoph Schreiner (not here)
- Hannes
- Johannes
- Justus
- Liza (not here)
- Maiia
- Moritz
- Patrick
- Paul
- Richard
- Tasks for Everyone
- Choose topic+date for talk
- Go over MRs with success partner
- Create submissions MR with RQs update
# PM Meeting 24.10.2025 12:30
Attendees
- Markus
- Liza
- Paul
- Hannes
Agenda
- Meeting notes: Liza
- Offener Punkt: reminders vs. bots
- Why are codeowners not working (or is it already working)? -> Liza zeigt es her
- Cronjob for GitLab MRs reminders or other automation tools (who researches)?
- Review issues assigned to current iteration
- Review iteration planning in general
- What works well?
- Where do we see room for improvement?
- Idea: Move in progress issues after the meeting? -> no
- PM restructure repos
- PM tools: largest opportunities for time savings via tools
- Clarify PM Meeting goals:
- Iteration planning review
- ...?
- Create own workflow?
Meeting notes
- Where is a lot of time spent
- Paul: In refinement. Often does not have much time to reread the refined issue
- Where can we save time?
- Liza: Only with reminders
- Using glab for automation
- Research tools for GitLab (glab or bot)
- How to deal with stale issues:
- Input from others, where to help no Reviews, Requirements unclear etc.?
- Brainstorm session for PM?
- Research how to better manage reviews
- PM Meeting: Liza creates Agenda
- Liza writes to Andrei, Johannes, Richard
Meeting 03.11.2025
Attendees
- Markus
- Alfons
- Andrei
- Ben
- Justus
- Liza
- Maiia
- Moritz
- Paul
- Richard
Not here:
- Johannes (partly unexcused)
- Chris(toph) Kraus (unexcused)
- Christoph Schreiner (unexcused)
- Hannes (unexcused)
Sick:
- Patrick
Buddies
- Andrei & Maiia
- Patrick & Alfons
- Christoph & Liza
- Ben & Chris
- Moritz & Paul
- Johannes & Richard
- Justus & Hannes
Success Partners
- Maiia & Moritz (Frontend)
- Ben & Alfons (Frontend)
- Hannes & Johannes (DevOps)
- Liza & Paul (PM)
- Richard & Chris (Tooling)
- Christoph & Andrei (Testing)
- Patrick & Justus (Backend)
Agenda
- 09:00 start
- Meeting Notes: Moritz
- Liza: Presentation 2025_11_03_State_of_PM-1
- Codeowners
- Analytics
- Writing status
- Time estimations
- Work in Progress
- Vote Nextcloud Calender in Browser needed?
- PM progress and changes
- refinement of all issues
- self approvals now allowed (don't count as second review, though)
- meetings workflow update: read through issues before meeting
- also help yourself by split up issues and also giving input in the refinement process
- issues with highest risks should be first (also help here)
- English:
- only sentences or titles start with capital letters
- use I or we
- strong verbs early
- short sentences
- as simple as possible
- status (looking back):
- current progress and blocks
- Buddy talk/chat: RQs
- Release procedure
- We start with initial tasks (security fixes)
- Alfons testing (focus on guided tour)
- Paul first time new release procedure, open points:
- scraper data deployment
- map updates
- release next week:
- landing page updates
- fixing regressions
- tech talk (frontend/backend coordination):
- Rust upgrade to 1.91.0, see !1937
- NodeJS upgrade?
- delete overlapping areas
- welcome to use our infrastructure
- buddy meeting room (everyone can join as admin): https://bbb.permaplant.net/rooms/2hc-i2k-1d9-uiu/join
- Nextcloud calender, files etc...
- Development Board:
- Alfons
- Andrei
- Ben
- Chris(toph) Kraus (not here)
- Christoph Schreiner (not here)
- Hannes (not here)
- Johannes (not here)
- Justus
- Liza
- Maiia
- Moritz
- Patrick (not here)
- Paul
- Richard
- Tasks for Everyone
Outlook
- reviews and guidelines
- testing guidelines
- repository renames
- tech talk (frontend/backend coordination):
- map overview sorting
- Rust upgrade to 1.91.0, see !1937
- Richard cannot come Fr+Mo
Tasks for Everyone
Tasks to be done until latest Thursday 06.11.2025 23:59:
- check in the issues you are assigned for high-risk or blocked issues related to 1.0 release
- review submissions MR of RQs with socratic questioning and/or hypothesis
- Buddies: have a look at guidelines together
- Add a self-chosen topic with a self-chosen date (where nobody else is) for yourself here in the MR (replace TBD with text by pushing to this MR or suggestion):
- Alfons (17.11., methodology)
- Andrei (TBD, performance, RQ, Method)
- Ben (TBD, FLOSS refactoring on library upgrades)
- Chris(toph) Kraus (TBD)
- Christoph Schreiner (TBD, maybe thesis or console tools)
- Hannes (TBD Infrastructure Architecture/Quality? Debugging Nextcloud Images? )
- Johannes (TBD)
- Justus (24.11 Debugging+Logging in the Backend)
- Liza (03.11.2025, PM, DONE)
- Moritz (TBD pitfalls about pagination&endless scrolling)
- Patrick (TBD)
- Paul (10.11., Running Meetings That Don't Waste Time)
- Richard (TBD pipeline, dev-centric or architecture)
- Regular Tasks
Statistics (23.10. - 30.10.)
Merge Request approved
Bachinger, Paul: 10 Müller, Alfons: 6 Raab, Markus: 6 Kuzmishyna, Maiia: 5 Muth, Moritz: 4 Zettl, Hannes: 3 Schlegel, Ben: 2 Weilguni, Justus: 2 Graßl, Patrick: 1
Issue progress (status changes + closed)/ total assigned
Bachinger, Paul: 2/8 Dinu-Coreth, Andrei Cristian: 1/5 Graßl, Patrick: 1/3 Kraus, Christoph: 3/8 Kuzmishyna, Maiia: 4/5 Mokshantseva, Elizaveta: 3/7 Muth, Moritz: 3/6 Müller, Alfons: 6/7 Raab, Markus: 4/4 Schlegel, Ben: 1/5 Schreiner, Christoph: 0/6 Weilguni, Justus: 4/6 Wutscher, Richard: 0/2 Zettl, Hannes: 4/5 Ziehengraser, Johannes Leonhard: 1/4 Total: 37 / 81
Did Not Approve Last Meeting Notes In Time
- Christoph Schreiner
- Richard
- Andrei
- Chris(toph) Kraus
- Johannes
Meeting Notes
- 09:00 start
- Meeting Notes: Moritz
- Liza: Presentation 2025_11_03_State_of_PM-1
- Codeowners
- Should simplify adding reviews
- Currently no automation, but only suggestion
- But Codeowners should be shown when manually assigning reviewers
- Analytics
- General statistics per person
- Writing status
- Update issues by Thursday midnight even if work is still ongoing
- Time estimations
- Necessary to assign a reasonable amount of work every week
- Estimate 2 - 3 of your assigned issues a week
- Work in Progress
- Better MR templates
- More analytics
- Plan iterations one iteration earlier
- Codeowners
- Currently issues with Nextcloud calendar in the browser
- Vote: everyone said (s)he uses the calender in the browser
- Currently only sync via some external program like Thunderbird works
- PM progress and changes
- refinement of all issues
- self approvals now allowed (doesn't count as second review, though)
- meetings workflow update: read through issues before meeting (see other changes of this MR)
- also help yourself by split up issues and also giving input in the refinement process
- Release 1.0 should be mostly finished during November
- issues with highest risks should be first (please also help here in locating these issues)
- English:
- only sentences or titles start with capital letters
- use I or we (we as "our community")
- strong verbs early
- short sentences
- as simple as possible
- status (looking back):
- current progress and blocks
- Alfons focused on issues last week
Comment Markus: give at least 15min also on other tasks like reviews and thesis - Andrei is trying to catch up after missing a couple weeks
- Ben finished his open MR but didn't have much time otherwise
- Justus made some good progress on admin rights
- Liza was sick last week but worked on the RQ over the weekend
- Maiia progressed most of her issues, but was blocked by the TanStack Upgrade on one of her issues
- Moritz finalized a long running issue and did some analysis for another issue, but mostly focused on reviews
- Paul made good progress last week
- Richard currently has no blockers for his issues
- Buddy talk/chat: RQs
- Alfons still needs to set up a meeting with Patrick
- Justus met with Hannes and talked about the RQ
- Paul met with Moritz and discussed bi-weekly meetings
- Richard met with Ben and they did some reviews together
- Release procedure
- We start with initial tasks (security fixes)
- Alfons testing (focus on guided tour)
- Paul first time new release procedure, open points:
- scraper data deployment
- map updates
- release next week:
- landing page updates
- tech talk (frontend/backend coordination):
- delete overlapping areas
- as an alternative simpler solution we could order the areas by creation date and only consider the latest area for any given coordinate. Needs to be investigated if this is possible for the heatmap algorithm. Will be added in the decision.
- Rust upgrade to 1.91.0, see !1937
- NodeJS upgrade? -> postponed
- delete overlapping areas
- break
- welcome to use our infrastructure
- buddy meeting room (everyone can join as admin): https://bbb.permaplant.net/rooms/2hc-i2k-1d9-uiu/join
- Nextcloud calender, files etc...
- Development Board
# PM Meeting 24.10.2025 12:30
Attendees
- Markus
- Liza
- Paul
Agenda
- Meeting notes: Paul
- Review issues assigned to current iteration
- Review iteration planning in general
- What works well?
- Where do we see room for improvement?
- PM restructure repos
- How to handle contributors in infrastructure repo?
- When to review workflows suggestion tracked in 'doc\workflows\README.md'
- issues (creation, triage, assignment): every month
- decisions: every 3 months
- iteration: every month
- meetings: every 3 months
- review: every month
- roles: every 6 months
- tools: every 6 months
- workflows: every 6 months
- Example: Release
Meeting notes
- Talked about how to use Hannes in PM:
- Doing automation tasks for PM
- Being responsible for watching the MR quality
- Doing Triage and Refinement on new issues
- Not clear how long Hannes will be unavailable (no information in email)
- Went over issues for next Week
- Restructure the workflow documentation
Meeting 10.11.2025
Attendees
- Markus
- Alfons
- Ben
- Justus
- Liza
- Maiia
- Moritz
- Patrick
- Paul
Not here:
- Andrei
- Johannes
- Chris(toph) Kraus
- Christoph Schreiner
Cannot come:
- Richard (excused)
- Hannes (excused)
Buddies
- Andrei & Maiia
- Patrick & Alfons
- Christoph & Liza
- Ben & Chris
- Moritz & Paul
- Johannes & Richard
- Justus & Hannes
Success Partners
- Maiia & Moritz (Frontend)
- Ben & Alfons (Frontend)
- Hannes & Johannes (DevOps)
- Liza & Paul (PM)
- Richard & Chris (Tooling)
- Christoph & Andrei (Testing)
- Patrick & Justus (Backend)
Agenda
- 09:00 start
- Meeting Notes: Liza
- Paul: Presentation "Running Meetings That Don't Waste Time"
- status (looking back):
- current progress and blocks
- Buddies: have a look at guidelines together
- getting non-trivial things done
- needs discipline, regular hard work
- like seeds: constant watering required and outcome unclear
- be sure about your goal, reflecting about your process
- scientific text:
- difference background and related work
- 0.9.0 release progress:
- access control
- landing page
- frontend:
- alternative date picker: https://issues.permaplant.net/2144#note_282318
- plant markers look&feel: https://issues.permaplant.net/2121#note_281440
- Decision: Canvas Dependency Resolution Strategy: https://issues.permaplant.net/2294
- tech talk:
- ongoing decisions and workflows
- Rust upgrade to 1.91.0, see !1937
- pre-commit 4.4 upgrade
- topic: reviews and guidelines
- review guidelines
- testing guidelines
- Development Board:
- Richard (not here)
- Alfons
- Paul
- Patrick
- Moritz
- Maiia
- Liza
- Justus
- Johannes (not here)
- Hannes(not here)
- Christoph Schreiner (not here)
- Chris(toph) Kraus (not here)
- Ben
- Andrei (not here)
- Tasks for Everyone
Outlook
- repository renames
- tech talk (frontend/backend coordination):
- map overview sorting
Tasks for Everyone
Tasks to be done until latest Thursday 13.11.2025 23:59:
- Success Partners: review MRs together
- search for background or related work and create MR with links+short descriptions
- update:
- Rust to 1.91.0, see !1937 (merged)
- pre-commit 4.4 upgrade (@Markus did the update and at least editing Markdown files continue to work)
- LAST CALL: Add a self-chosen topic with a self-chosen date (where nobody else is) for yourself here in the MR (replace TBD with text by pushing to this MR or suggestion):
- Alfons (17.11., methodology)
- Andrei (TBD, performance, RQ, Method)
- Ben (TBD, FLOSS refactoring on library upgrades)
- Chris(toph) Kraus (TBD)
- Christoph Schreiner (TBD, maybe thesis or console tools)
- Hannes (TBD Infrastructure Architecture/Quality? Debugging Nextcloud Images? )
- Johannes (TBD)
- Justus (24.11 Debugging+Logging in the Backend)
- Moritz (TBD pitfalls about pagination&endless scrolling)
- Patrick (TBD)
- Richard (TBD pipeline, dev-centric or architecture)
- Maiia (27.10. socratic questioning on RQ, DONE)
- Liza (03.11.2025, PM, DONE)
- Paul (10.11., Running Meetings That Don't Waste Time, DONE)
- Regular Tasks
Statistics (30.10. - 06.11.)
Merge Request approved
Raab, Markus: 11 Muth, Moritz: 6 Mokshantseva, Elizaveta: 4 Bachinger, Paul: 3 Graßl, Patrick: 3 Müller, Alfons: 2 Weilguni, Justus: 2 Zettl, Hannes: 2 Dinu-Coreth, Andrei Cristian: 1 Kuzmishyna, Maiia: 1 Schlegel, Ben: 1
Issue progress (status changes + closed)/ total assigned
Bachinger, Paul: 3/8 Dinu-Coreth, Andrei Cristian: 0/5 Graßl, Patrick: 3/5 Kraus, Christoph: 2/8 Kuzmishyna, Maiia: 3/5 Mokshantseva, Elizaveta: 6/11 Muth, Moritz: 4/6 Müller, Alfons: 2/8 Raab, Markus: 1/2 Schlegel, Ben: 1/8 Schreiner, Christoph: 0/6 Weilguni, Justus: 4/7 Wutscher, Richard: 0/3 Zettl, Hannes: 1/3 Ziehengraser, Johannes Leonhard: 1/4 Total: 31 / 89
Did Not Approve Last Meeting Notes In Time
- Christoph Schreiner
- Richard
- Chris(toph) Kraus
- Johannes
- Hannes
- Ben
Meeting Notes
-
Paul: Presentation "Running Meetings That Don't Waste Time"
- Presentation saved in Nextcloud PermaplanTDev/Presentations/2025_11_10_Meetings-that-dont-waste-time.pdf
- Table of Content:
- Why Meetings Fail
- Essential Meeting Rules
- Before the Meeting
- During the Meeting
- After the Meeting
- When NOT to Have a Meeting
- Tools & Frameworks
-
Feedback for meetings in PermaplanT:
- Meeting only for relevant points
- Email can consume a lot of async time (a short conversation can drive quick progress) ⁃ Keep only relevant people in the meeting
- have clear agenda
- don't waste time on irrelevant discussions
- Markus: agree to cut down second part
-
status (looking back):
- current progress and blocks
- Buddies: have a look at guidelines together
-
getting non-trivial things done
- needs discipline, regular hard work
- like seeds: constant watering required and outcome unclear
- be sure about your goal, reflecting about your process
-
scientific text:
- difference background and related work, explanation by Maiia
- background: foundation for your research, needs to be done before you write on the thesis
- related work: comparative to some aspects of your research, can be an after-thought
- difference background and related work, explanation by Maiia
-
0.9.0 release progress:
- access control: good progress, only last step missing
- landing page: only fine touching like news missing
- add security updates to this release
-
frontend:
- plant markers look&feel: https://issues.permaplant.net/2121#note_281440
- idea: make border more gray
- alternative date picker: https://issues.permaplant.net/2144#note_282318
- idea: 2 colors for buttons
- Maiia suggested to use of a package for datepicker
- we write decision what alternative fits best
- overlapping markers:
- check needed if canva can arrange correctly
- Decision: Canvas Dependency Resolution Strategy: https://issues.permaplant.net/2294
- unclear why test fails
- plant markers look&feel: https://issues.permaplant.net/2121#note_281440
-
tech talk:
- ongoing decisions and workflows
- Rust upgrade to 1.91.0, see !1937
- is already possible
- pre-commit 4.4 upgrade
- Markus tested and it worked
-
topic: reviews and guidelines
- review guidelines
- when you review check also for parts which could be relevant
- don't test everything, only essential parts
- document what you tested
- testing guidelines
- read the guidelines relevant for the review and check if they apply
- review guidelines
-
- Paul
- Patrick
- Moritz
- suggestion: add padding to hamburger menu, remove version number from navbar
- Maiia
- Liza
- Justus
- Ben
- Alfons
- Tasks for Everyone
# PM Meeting 14.11.2025 11:30
Attendees
- Markus
- Liza
- Paul
Agenda
- Meeting notes: Liza
- Review issues assigned to current iteration
- Review iteration planning in general
- What works well?
- Where do we see room for improvement?
- Continue: how to include Hannes in PM:
- Doing automation tasks for PM
- Being responsible for watching the MR quality
- doing triage and refinement on new issues
- Who writes issues coming up in Meetings?
- Paul will do, with hint: continue to ask until the issue is clear enough to be created
Meeting notes
- Before meeting: Write what worked well and what doesn't. At least the day before.
- Talk about reviews in Meetings.
- Write people with 0 Reviews.
- ** New Issue: Add All (/Only) Active People to scripts** #2329
- ** New Issue: Update workflow + template integrate 2 week iteration** (1-2 Issues per person to look at) #2330
- Refine issues about scripts to clarify the scope of the scripts.
- Meetings:
- Liza always includes backup persons for writing meeting notes in meetings
- Paul creates Issues during the Meeting (Title + Person) Optional: content + Refinement
- see #2261
- Ask who helds presentation to upload files etc.
- Liza: Look at freeze Issue (+ editor crashes) and assign to Andrei, Maiia and Ben mark as release critical and current iteration
- Paul: How to update dependencies
- reorganizing repos will be done by Paul
Next week:
- Release planning 0.9.0
- Access Control
- As many bugfix as possible
- Look at Lizas MR: PM Support
Meeting 17.11.2025
Attendees
- Markus
- Alfons
- Andrei
- Ben
- Chris(toph) Kraus
- Christoph Schreiner
- Hannes
- Johannes
- Liza
- Maiia
- Moritz
- Patrick
- Paul
- Richard
Sick:
- Justus
Buddies
- Andrei & Maiia
- Patrick & Alfons
- Christoph & Liza
- Ben & Chris
- Moritz & Paul
- Johannes & Richard
- Justus & Hannes
Success Partners
- Maiia & Moritz (Frontend)
- Ben & Alfons (Frontend)
- Hannes & Johannes (DevOps)
- Liza & Paul (PM)
- Richard & Chris (Tooling)
- Christoph & Andrei (Testing)
- Patrick & Justus (Backend)
Agenda
- 09:00 start
- Meeting Notes: Chris(toph) Kraus (Backup: Ben, shortly wrote meeting notes)
- Alfons: Presentation "methodology"
- discussion about what questions to ask users of permaplant
- paul: asking new users about how to use the application/idea gathering
- markus: the more responses you get, the easier it is. focus should be on research question
- Paul: New issue creation workflow
- no more setting labels manually, just select correct template. for new issues, create template and follow workflow.
- status (looking back):
- current progress and blocks
- success partners: review MRs together
- coordination/which tasks do you are efficient:
- blocking in writing
- next talks (TBD)
- package upgrades
- pm@permaplant.net
- there should be more reviews than MRs
- English capitalization rules (hard for German speakers)
- also terms and roles are lower case, only proper names are capitalized
- only sentences start capitalized
- issue creation:
- during meeting
- workflow
- follow-up issues
- question issue
- release plan:
- only 25 must have to go for 1.0
- frontend stabilization
- access control
- Development Board:
- Andrei
- Alfons
- Ben
- Chris(toph) Kraus
- Christoph Schreiner
- Hannes
- Johannes
- Justus (not here)
- Liza
- Maiia
- Moritz (missing issue)
- Patrick
- Paul
- Richard
- Tasks for Everyone
Outlook
- repository renames
- tech talk (frontend/backend coordination):
- overlap of areas
- map overview sorting
- NC file structure
Tasks for Everyone
Tasks to be done until latest Thursday 20.11.2025 23:59:
- check also next iteration and reply on these issues
- Read trough
doc/workflows/01issue_creation.mdfor understanding how to create issues - review of literature research in submissions repository
- buddy talk: literature research
Talks
- self-chosen topic with a self-chosen date (where nobody else is) for yourself here in the MR (replace TBD with text by pushing to this MR or suggestion):
- Andrei (01.12., performance, RQ, Method)
- Ben (08.12, FLOSS refactoring on library upgrades)
- Chris(toph) Kraus (any date not next week, developer perspective of e2e tests)
- Christoph Schreiner (15.12., final thesis presentation, developer-central)
- Hannes (January?, Debugging Nextcloud Images)
- Johannes (was not here, TBDopen telemetry)
- Justus (24.11 Debugging+Logging in the Backend)
- Moritz (any time fine, pitfalls about pagination&endless scrolling)
- Patrick (TBD)
- Richard (TBD pipeline, dev-centric or architecture)
- Maiia (27.10. socratic questioning on RQ, DONE)
- Liza (03.11.2025, PM, DONE)
- Paul (10.11., Running Meetings That Don't Waste Time, DONE)
- Alfons (17.11., methodology, DONE)
- Regular Tasks
Statistics (06.11. - 13.11.)
Merge Request approved
Raab, Markus: 7 Muth, Moritz: 6 Graßl, Patrick: 5 Bachinger, Paul: 2 Zettl, Hannes: 2 Kuzmishyna, Maiia: 1 Müller, Alfons: 1 Weilguni, Justus: 1 Ziehengraser, Johannes Leonhard: 1
Issue progress (status changes + closed)/ total assigned
Bachinger, Paul: 3/8 Dinu-Coreth, Andrei Cristian: 2/5 Graßl, Patrick: 2/6 Kraus, Christoph: 3/8 Kuzmishyna, Maiia: 4/6 Mokshantseva, Elizaveta: 3/10 Muth, Moritz: 1/6 Müller, Alfons: 4/9 Raab, Markus: 0/1 Schlegel, Ben: 2/8 Schreiner, Christoph: 0/6 Weilguni, Justus: 5/9 Wutscher, Richard: 2/4 Zettl, Hannes: 1/3 Ziehengraser, Johannes Leonhard: 0/3 Total: 32 / 92
Did Not Approve Last Meeting Notes In Time
- Christoph Schreiner
- Richard
- Chris(toph) Kraus
- Hannes
- Ben
- Andrei
Meeting Notes
- 09:00 start
- Meeting Notes: Chris(toph) Kraus (Backup: Ben, shortly wrote Meeting notes, then Ben)
- Alfons: Presentation "methodology"
- What is methodology?
- The structured plan for how you answer your research question.
- Your overall approach (e.g., qualitative, quantitative, mixed-methods).
- The logic behind your choices why you picked certain methods, not just what you did.
- The tools and procedures you use to collect, analyze, and interpret data.
- A justification of reliability and validity why your approach produces trustworthy results.
- What is not methodology?
- Not just a list of methods (“I made a survey,” “I ran interviews”).
- Not your theoretical background or literature review.
- Not the raw data or results it’s the plan for how you obtain them.
- Not a step-by-step instruction manual for someone else (“First I opened Excel…”).
- Not an afterthought it must align tightly with your research question.
- Alfons' methodology
- Collect data through survey and then analyze it
- Using a quantitative approach
- TUsurvey and R as main tools
- What is methodology?
- Markus commented on the importance of schedule and timing for survey to get maximum amount of participants.
- Plan reviews, bachelor thesis and issues to your week schedule, so you can progress every week.
- Small progress is better than none at all.
- Paul: New issue creation workflow
- status (looking back):
- current progress and blocks
- Alfons: Progressed all of his Issues and schedules a meeting with his Buddy
- Andrei: No blockers, has 2 in Review. This week he wants to work more in writing. Did not talk with Buddy.
- Ben: Has open Merge requests open he wants to close this week.
- Chris: Could not work much last week, will work on Workflow documentation Issues
- Christoph: Is meeting with Buddy
- Hannes: Could not meet with buddy and is working on Repo Issues
- Johannes: Had a blocking Issue with getting telemetry data. He implemented it, but it does not get all logs in mr.permaplant.net
- Liza: Is blocked writing the RQ. Didn't had time to find one yet.
- Maiia: Private matters were blocking here, wants to work more on writing this week.
- Moritz: Decent progress, has a lot of blocked Issues, but wants to focus on writing.
- Patrick: did reviews for boarding. Is stuck on an issue, will talk with his Buddy to fix it.
- Paul: Had good progress and couldn't meet his Buddy last week, will plan a meeting for this one.
- Richard: no buddy meeting last week, was ill wants to focus on some infrastructure issues.
- coordination/which tasks do you like:
- next talks (TBD, mostly fixed now)
- package upgrades
- there should be more reviews than MRs
- English capitalization rules (hard for German speakers)
- also terms and roles are lower case, only proper names are capitalized
- only sentences start capitalized
- issue creation:
- Look at MR.
- Wants to add feedback for issues.
- If issues grow out of scope or you want to fix do it later, create follow up issues.
- If you have a question and you don't find an existing issue for that, create a new issue with the questions template.
- release plan:
- only 25 must have to go for 1.0
- frontend stabilization
- access control
- Development Board:
- Andrei
- Alfons
- Ben
- Chris(toph) Kraus
- Christoph Schreiner
- Hannes
- Johannes
- Justus
- Liza
- Maiia
- Moritz
- Patrick
- Paul
- Richard
- Tasks for Everyone
# PM Meeting 21.11.2025 11:30
Attendees
- Markus
- Liza
- Paul
Agenda
- Meeting notes: Paul
- Should we use Gitlab CI
- Oncall-schedule
- How to improve Meeting notes for Monday
- Look over refinement workflow, it probably needs some adjustments (especially for part 2 of https://gitlab.tuwien.ac.at/permaplant/PermaplanT/-/issues/2261)
- Look over not assigned issues
- Release planning
- Review issues assigned to current iteration
- review issues next iteration
Meeting notes
- GitLab CI needed for GitLab Bot (maybe with Jenkins possible)
- Hannes should try using Jenkins for it
- oncall, not sure how to proceed as Nextcloud calendar is not working
- postponed to look over the triage workflow
- went over Moritz's issues to create a clearer development path
- For non-reacting contributors, we should schedule meetings to understand their blockers.
- Reviewed issues for 1.0 and how plausible it is to hit the deadlines
Meeting 24.11.2025
Attendees
- Markus
- Alfons
- Christoph Schreiner
- Hannes
- Liza
- Maiia
- Moritz
- Patrick
- Paul
- Justus
- Richard
Only partly here:
- Andrei
- Johannes
Not here:
- Chris(toph) Kraus
Sick:
- Ben (excused)
Buddies
- Andrei & Maiia
- Patrick & Alfons
- Christoph & Liza
- Ben & Chris
- Moritz & Paul
- Johannes & Richard
- Justus & Hannes
Success Partners
- Maiia & Moritz (Frontend)
- Ben & Alfons (Frontend)
- Hannes & Johannes (DevOps)
- Liza & Paul (PM)
- Richard & Chris (Tooling)
- Christoph & Andrei (Testing)
- Patrick & Justus (Backend)
Agenda
- 09:00 start
- Meeting Notes: Hannes (Backup: Richard)
- Meeting Notes explanation
- Justus: Presentation "Debugging+Logging in the Backend"
- Markus Remark: systematic debugging
- Maiia presents vite checker plugin
- status (looking back):
- 2 week sprint
- current progress and blocks
- buddy talk: literature research
- we need you for 1.0
- more hard work pays off non-linear
- decisions
- NC file structure
- overlap of areas+unknown option
- frontend date picker: https://gitlab.tuwien.ac.at/permaplant/PermaplanT/-/merge_requests/1975/diffs
- Development Board:
- Andrei (not here)
- Alfons
- Ben (not here)
- Chris(toph) Kraus (not here)
- Christoph Schreiner
- Hannes
- Johannes (not here)
- Justus
- Liza
- Maiia
- Moritz
- Patrick
- Paul
- Richard
- Tasks for Everyone
Outlook
- repository renames
- tech talk (frontend/backend coordination):
- map overview sorting
Tasks for Everyone
Tasks to be done until latest Thursday 27.11.2025 23:59:
- check also next iteration and leave a comment on these issues
- success partner: meet and show your development setup and share tips how to efficiently debug
- selection of RQ:
- create a new MR in submission, which
- removes not selected RQs from your previous brainstorming and
- improves your favorite RQs
- also add context and methods like you already have
- create a new MR in submission, which
- Regular Tasks
Talks
- upcoming talks:
- Andrei (01.12., performance, RQ, Method)
- Ben (08.12, FLOSS refactoring on library upgrades)
- Christoph Schreiner (15.12., final thesis presentation, developer-central)
- Chris(toph) Kraus (any date not next week, developer perspective of e2e tests)
- Hannes (January?, Debugging Nextcloud Images)
- Johannes (was not here, TBDopen telemetry)
- Moritz (any time fine, pitfalls about pagination&endless scrolling)
- Patrick (TBD)
- Richard (TBD pipeline, dev-centric or architecture)
- done talks:
- Maiia (27.10. socratic questioning on RQ)
- Liza (03.11.2025, PM)
- Paul (10.11., Running Meetings That Don't Waste Time)
- Alfons (17.11., methodology)
- Justus (24.11., Debugging+Logging in the Backend)
Statistics (14.11. - 20.11.)
Merge Request approved
Raab, Markus: 16 Muth, Moritz: 8 Bachinger, Paul: 4 Kuzmishyna, Maiia: 4 Müller, Alfons: 4 Schlegel, Ben: 4 Dinu-Coreth, Andrei Cristian: 3 Graßl, Patrick: 2 Mokshantseva, Elizaveta: 2 Ziehengraser, Johannes Leonhard: 2 Schreiner, Christoph: 1
Issue progress (status changes + closed)/ total assigned
Bachinger, Paul: 10/11 Dinu-Coreth, Andrei Cristian: 4/5 Graßl, Patrick: 3/7 Kraus, Christoph: 2/7 Kuzmishyna, Maiia: 2/6 Mokshantseva, Elizaveta: 4/10 Muth, Moritz: 2/6 Müller, Alfons: 6/13 Raab, Markus: 2/2 Schlegel, Ben: 3/8 Schreiner, Christoph: 2/7 Weilguni, Justus: 1/8 Wutscher, Richard: 0/4 Zettl, Hannes: 3/4 Ziehengraser, Johannes Leonhard: 0/3 Total: 44 / 101
Did Not Approve Last Meeting Notes In Time
Meeting notes not in time (Chris).
Meeting Notes
- 09:00 start
- Meeting Notes: Hannes (Backup: Richard)
- Meeting Notes explanation
- copy "Agenda" to "Meeting Notes"
- only edit "Meeting Notes"
- make sure to cover all major points said
- Justus: Presentation "Debugging+Logging in the Backend"
- He showed what exists in the codebase and how to debug via logging
- Questions: recent examples?
- Answer: recently there was a role problem, he looked at the user info to check what is wrong.
- Usually he doesn't use breakpoints, mostly via logging
- Markus comment:
- We should also systematically write down possibilities why something might go wrong
- Noting down everything you tried in
doc/research - Commit all tries with git (better memorization)
- Maiia presents vite checker plugin
- Improvements for development
- Vite can do type safety checks
- Question: is it a good idea to use this or are there better ways?
- all liked it and cannot wait ;)
- it's easy to install and really helpful, so it's a good idea
- typescript compile in a different terminal window is an additional thing you can do
- Maiia would turn it off for testing, but for pipeline some changes are probably needed
- status (looking back):
- 2 week sprints: people liked it, especially shorter meeting, but too early to say
- current progress and blocks
- (buddy talk: literature research)
- we need you for 1.0
- more hard work pays off non-linear
- quite high base effort (without any progress)
- skipping a few hours, reduces progress a lot
- decisions
- NC file structure
- Hannes will do the Nextcloud decision first
- overlap of areas+unknown option
- we will try fix fixing heatmap (Justus)
- then in frontend we add unknown state and use new hull calculation
- frontend date picker: https://gitlab.tuwien.ac.at/permaplant/PermaplanT/-/merge_requests/1975/diffs
- Maiia likes Variant A and B (but not if you need to click twice)
- NC file structure
- Development Board:
- Andrei (not present)
- Alfons
- Many issues in review, blocked on some, needs to create labels on his issues
- Ben (not present)
- Chris(toph) Kraus (not present)
- Christoph Schreiner
- Some smaller issues.
- Hannes
- Mostly works in infrastructure.
- Not much time last week because of work.
- Could not try the 2 week cycle yet.
- Will fully concentrate on PermaplanT next weeks.
- Johannes (not present)
- Justus
- Discussion on audit trail issue.
- Will take over Polygon overlap MR from Christoph.
- Liza
- Wants to finish research issue.
- Is blocked on clarifying hours spent script.
- Maiia
- Knows why elements are disappearing in Chrome.
- Needs to figure out if a simple fix idea would work.
- Architecture issue moved to next week.
- Moritz
- No questions
- Patrick
- Can ask Maiia for assistance with Vite or Moritz about local setup.
- Will focus on local network for mobile development issue
- Paul
- Gives Update on staging server, will continue working there.
- Richard
- Small text issue and update on server shutdown issue needed.
- Tasks for Everyone (see above)
- there will hopefully soon be a new issue board for all issues
- stick to the contract weekly hours, prefer consistent progress with issues and reviews
- always update on current progress in issues
# PM Meeting 28.11.2025 11:30
Attendees
- Markus
- Liza
- Paul
Agenda
- Meeting notes: Liza
- Review of 2-week iteration cycle
- Finalize what to do with infrastructure repo
- Discuss what appropriate scope for each contributor (got a Mail from Patrick, that he got too many issues for 20h/week)
- Change next week iteration planning to a tag and mark for current iteration? (similar to infrastructure repo)
- Review issues assigned to current iteration
- review issues next iteration
Next week
- iteration planing
- release planning
- PM Repo
Meeting notes
- maybe next week repo restructure
- new board with the updated new status:: label system
- New issue: Workflow with the labels
- 0.9.0 this iteration
- 1.0.0 17.01
- Critical path assumed with Ben's and Alfon's issues
- maybe new statistic with how many issues (open/closed) for milestone
- Paul creates an issue for Liza for implementing/documenting the new label/board system
- Suggested labels from Paul:
- status::refine -> status::backlog -> status::issue-review (should be reviewed for next iteration) -> status::issue-confirmed (confirmed issues for next iteration) -> status::ready (issues to be worked on in this iteration) -> status::in-progress
Meeting 01.12.2025
Attendees
- Markus
- Alfons
- Christoph Schreiner
- Hannes
- Liza
- Maiia
- Moritz
- Paul
- Justus
- Richard
- Andrei
- Johannes
- Chris(toph) Kraus
Not here (excused):
- Patrick (excused)
- Ben (excused)
Buddies
- Andrei & Maiia
- Patrick & Alfons
- Christoph & Liza
- Ben & Chris
- Moritz & Paul
- Johannes & Richard
- Justus & Hannes
Success Partners
- Maiia & Moritz (Frontend)
- Ben & Alfons (Frontend)
- Hannes & Johannes (DevOps)
- Liza & Paul (PM)
- Richard & Chris (Tooling)
- Christoph & Andrei (Testing)
- Patrick & Justus (Backend)
Agenda
- 09:00 start
- Meeting Notes: Maiia
- status report, blocks:
- CI: mode variable -> issue created
- Moritz: new container
feature.staging.permaplant.net-> open
- availability during lecture-free period (vote):
- 22.12. 29.12. 5.1. -> probably all 3 dates
- Andrei: presentation performance, RQ, Method
- releases (date of last MR merges):
- 0.9.0 (03.12.2025)
- 1.0.0 (17.12.2025)
- afterward: months/seasons (German Link with graph)
- important tasks for releases:
- please check release critical for this week until 03.12.2025
- please check if any 1.0-must-have/should-have cannot be done until 17.12.2025
- outcome of last decisions
- regular release with master.permaplant.net
- scientific work:
- which question to choose: clear approach, background and method
- related work etc. usually is secondary (can always be found, more is better)
- clutter vs. context
- dev tricks:
- if something might be reverted, please put in separate commits:
git add -p
- if something might be reverted, please put in separate commits:
- Development Board:
- Alfons
- Andrei
- Ben (not here)
- Chris(toph) Kraus
- Christoph Schreiner
- Hannes
- Johannes
- Justus
- Liza
- Maiia
- Moritz
- Patrick (not here)
- Paul
- Richard
- Tasks for Everyone
Outlook
- Moritz and Richard cannot come next week
- retrospective by Liza
- repository renames
- tech talk (frontend/backend coordination):
- map overview sorting
Tasks for Everyone
Tasks to be done until latest Wednesday 03.12.2025 23:59 (earlier is of course better):
- buddy: look at release critical/1.0 issues/MRs/decisions together
- fix release critical problems
- review release critical MRs
Tasks to be done until latest Thursday 04.12.2025 23:59:
- Regular Tasks
- Reminder: Change from last time: reply to issues from next iteration!
Talks
- next time:
- Ben (08.12, FLOSS refactoring on library upgrades)
- Johannes (08.12., open telemetry)
- later upcoming talks:
- Christoph Schreiner (15.12., final thesis presentation, developer-central)
- Chris(toph) Kraus (any date not next week, developer perspective of e2e tests)
- Hannes (January?, Debugging Nextcloud Images)
- Moritz (any time fine, pitfalls about pagination&endless scrolling)
- Patrick (TBD)
- Richard (TBD pipeline, dev-centric or architecture)
- done talks:
- Maiia (27.10. socratic questioning on RQ)
- Liza (03.11.2025, PM)
- Paul (10.11., Running Meetings That Don't Waste Time)
- Alfons (17.11., methodology)
- Justus (24.11., Debugging+Logging in the Backend)
- Andrei (01.12., performance, RQ, Method)
Statistics (14.11. - 20.11.)
Merge Request approved
Bachinger, Paul: 16 Muth, Moritz: 11 Raab, Markus: 11 Müller, Alfons: 5 Schlegel, Ben: 4 Schreiner, Christoph: 4 Dinu-Coreth, Andrei Cristian: 3 Kuzmishyna, Maiia: 3 Graßl, Patrick: 2 Mokshantseva, Elizaveta: 2 Weilguni, Justus: 2 Zettl, Hannes: 1
Issue progress (status changes + closed)/ total assigned
Bachinger, Paul: 6/11 Dinu-Coreth, Andrei Cristian: 2/6 Graßl, Patrick: 3/6 Kraus, Christoph: 0/8 Kuzmishyna, Maiia: 2/8 Mokshantseva, Elizaveta: 4/13 Muth, Moritz: 1/6 Müller, Alfons: 5/13 Raab, Markus: 3/4 Schlegel, Ben: 4/8 Schreiner, Christoph: 3/6 Weilguni, Justus: 2/10 Wutscher, Richard: 0/4 Zettl, Hannes: 1/3 Ziehengraser, Johannes Leonhard: 1/4 Total: 37 / 110
Did Not Approve Last Meeting Notes In Time
- Chris(toph)
- Johannes
- Richard
Meeting Notes
- 09:00 start
- Meeting Notes: Maiia
- Andrei: final thesis presentation
- including performance, RQ, method, results (counting and FPS)
- status round:
- Alfons: Ok week, met with Patrick, worked on privacy overview & decision. Not blocked
- Christoph: A couple of MRs ready for review, issues clear
- Chris: Reenabled image tests
- Andrei: Good week, progress on most tasks from the iteration. Focusing on writing the thesis
- Hannes: creating Nextcloud environment that should be done this week, this may lead to sudden progress in many issue because they are blocked by this
- Johannes: good progress, next week could show telemetry data
- Justus: good progress, needs help from CI people to setup env vars (issue was created by Paul)
- Liza: not much time last week, will catch up this week
- Maiia: probably fixed "broken image" problem for 1.0, needs help with testing the MR
- Moritz: not much time last week, for some issues didn't know how to finalize them, will miss PermaplanT meeting next week, touch screen for 1.0 still blocked
- Paul: good progress, not blocked
- Richard: worked on Infrastructure topics
- Does staging variable already exists? (Paul) - See https://issues.permaplant.net/2353
- Touch screen - idea: spin up a new container and copy FE code manually there
- Release critical MRs will be marked - they need reviews asap
- releases (date of last MR merges):
- 0.9.0 (03.12.2025)
- 1.0.0 (17.12.2025)
- afterward: months/seasons (German Link with graph)
- after 1.0 no more breaking changes in releases (only compatible migrations, otherwise we are free to change anything anyways)
- if there are outstanding changes that are not possible to migrate, they need to be done asap
- important tasks for releases:
- please check release critical for this week until 03.12.2025
- please check if any 1.0-must-have/should-have cannot be done until 17.12.2025
- outcome of last decisions
- will we already use www.staging.permaplant.net?
- we probably won't have it ready for 0.9.0
- availability during lecture-free period (vote):
- 22.12. 29.12. 5.1.
- scientific work:
- clutter vs. context
- 2 types of problems people have with writing:
- problem to write enough - always need to establish context around the claim
- problem of writing too much - clutter needs to be reduced, only the main point should be repeated several times throughout the thesis
- pay attention to clutter & context also when reviewing documentation
- which question to choose: clear approach, background and method
- RQ: something easily describable, something where the method has clear steps
- when not to change RQ (one of the following):
- you have a nice background paper
- you have a clear method/approach
- if the only reason is to have a "better" RQ (endless process)
- related work etc. usually is secondary (can always be found, more is better)
- sometimes existing related work can be paraphrased to be relevant even to a changed RQ
- dev tricks:
- if something might be reverted, please put in separate commits:
git add -p
- if something might be reverted, please put in separate commits:
- Development Board:
- Alfons:
- look back at older MRs,
- address open points,
- reinvite people,
- mark as ready for merge.
- Will carry out 0.9.0 manual tests after notification from Paul
- look back at older MRs,
- Andrei:
- one blocked task - unclear what should be done next
- two more issues to put into iteration to finalize the work on his project
- Ben (not here)
- Chris(toph) Kraus:
- check your own MRs
- 1-2 more issues to put into current iteration
- Christoph Schreiner:
- main focus - reproducibility
- new issue on database constraint
- Hannes:
- a couple of open issues related to Nextcloud and staging
- some needed for releases (picture to landing page)
- Johannes:
- needs to document OpenTelemetry,
- will give overview from CI perspective on Friday
- will give overview from dev perspective on Monday
- will continue to investigate the keycloack issue
- Justus:
- 4 release critical MRs, blocked issue needs to checked whether workaround helps
- Liza:
- Liza to help with reviews on rust code
- Maiia:
- no unclarities
- will focus on 1.0 must_have
- Moritz:
- one issue would be nice to be done for release
- Patrick (not here)
- Paul:
- focus on release critical issues
- how to come to the situation that nothing is "open" - "just implement everything XD"
- Richard:
- give answers on questions and help with staging
- Tasks for Everyone:
- buddy talk
- information on all issues in the iteration until Thursday so that next iteration can be planned on Friday
- Alfons:
# PM Meeting 05.12.2025 11:30
Attendees
- Markus
- Liza
- Paul
Agenda
-
Meeting notes: Paul
-
iteration planing
-
release planning
-
PM Repo
-
Review issues assigned to current iteration
-
review issues next iteration
-
actions Liza:
- reminder MRs
- Richard issue
- sort in issue board
Next steps:
- Implement Triage Gem in CI/CD Pipeline
- Set up the gem to run regularly (e.g., daily, hourly) to enforce existing and new triage rules.
- Implement Scripts for Capacity Planning
- Develop scripts to assist with iteration planning based on historical velocity and working hours.
- Add New Triage Rules
- Implement rules for:
- Reminder bots for stale issues/MRs.
- Validation of required labels.
- Implement rules for:
- Develop Label Syncing Script
- Probably high effort, may be dropped if not relevant.
- Create a script to keep issue and MR labels in sync based on their states.
Meeting notes
- contact Alfons for JsonB if it should be migrated before 1.0
- Liza wants to wait until the MR for the new labeling system is merged before we start using it. - The first step for PM automation should be installing the triage gem.
- Markus will mark the non-importance MRs.
- Liza will remind people of no progress on issues.
Meeting 08.12.2025
Attendees
- Markus
- Alfons
- Ben
- Christoph Schreiner
- Hannes
- Maiia
- Patrick
- Paul
- Justus
- Andrei
- Johannes
Not here:
- Chris(toph) Kraus
Not here (excused):
- Liza (excused)
- Moritz (excused)
- Richard (excused)
Buddies
- Andrei & Maiia
- Patrick & Alfons
- Christoph & Liza
- Ben & Chris
- Moritz & Paul
- Johannes & Richard
- Justus & Hannes
Success Partners
- Maiia & Moritz (Frontend)
- Ben & Alfons (Frontend)
- Hannes & Johannes (DevOps)
- Liza & Paul (PM)
- Richard & Chris (Tooling)
- Christoph & Andrei (Testing)
- Patrick & Justus (Backend)
Agenda
- 09:00 start
- meeting notes: Patrick
- release successful, important changes for devs:
MODEmust be added tobackend/.env- going forward, MRs or issues that affect the guided tour must include descriptive text in release notes
- update about it will follow next week
- rebase/fix MRs after release
- retrospective (Andrei) upgrades
- who wants an epic?
- 1.0.0 decisions:
- JSON: let us try to migrate away from JSONB
- migrate from floats
- squashing migrations -> yes
- 1.0.0 release goals:
- release name: solid foundation
- migrations, database cleanup: to be finalized for 1.0
- further technology upgrades: to be continued
- bug fixes also continue on
1.0.* - infrastructure: staging release procedure
- status report, blocks
- efficient MRs reviews:
- tag MRs as must/should have accordingly to issue
- ask Markus:
- again set "please merge" if it was "please merge" before
- if it maybe should be tagged as release critical (if it is according release goals)
- invited Wednesday for A&M in HS-1:
- write Markus if interested
- 08:15 guided meditation
- 10:15 painting
- 12:15 shaking meditation
- contributions in thesis:
- is similar to related work:
- you formulate it in a way how it relates to your thesis, if possible.
- You wouldn't say "implemented unrelated features in PermaplanT", but simply "implemented ... in PermaplanT".
- repository renames
- retrospective
- status report, blocks
- repository renames
- Development Board:
- Alfons
- Andrei
- Ben
- Chris(toph) Kraus
- Christoph Schreiner
- Hannes
- Johannes
- Justus
- Liza
- Maiia
- Moritz (not here)
- Patrick
- Paul
- Richard (not here)
- Tasks for Everyone
Outlook
- Warme Dusche:
- Andrei
- Paul
- (after 1.0) tech talk (frontend/backend coordination):
- map overview sorting
- going forward, MRs or issues that affect the guided tour must include descriptive text in release notes
Tasks for Everyone
Tasks to be done until latest Thursday 11.12.2025 23:59:
- Regular Tasks
- 1.0 release critical, goals:
- review MRs
- do cleanup etc.
Talks
- Next Talks
- Johannes: open telemetry (15.12.)
- Christoph Schreiner (15.12., final thesis presentation, developer-central)
- Ben (15.12, FLOSS refactoring on library upgrades)
- later upcoming talks:
- Chris(toph) Kraus (any date not next week, developer perspective of e2e tests)
- Hannes (January?, Debugging Nextcloud Images)
- Moritz (any time fine, pitfalls about pagination&endless scrolling)
- Patrick (TBD)
- Richard (TBD pipeline, dev-centric or architecture)
- done talks:
- Maiia (27.10. socratic questioning on RQ)
- Liza (03.11.2025, PM)
- Paul (10.11., Running Meetings That Don't Waste Time)
- Alfons (17.11., methodology)
- Justus (24.11., Debugging+Logging in the Backend)
- Andrei (01.12., performance, RQ, Method)
Statistics (28.11. - 4.12.)
Merge Request approved
Raab, Markus: 21 Müller, Alfons: 17 Bachinger, Paul: 10 Mokshantseva, Elizaveta: 6 Muth, Moritz: 4 Dinu-Coreth, Andrei Cristian: 3 Graßl, Patrick: 3 Weilguni, Justus: 3 Ziehengraser, Johannes Leonhard: 2 Kraus, Christoph: 1 Kuzmishyna, Maiia: 1 Schlegel, Ben: 1 Schreiner, Christoph: 1 Zettl, Hannes: 1
Issue progress (status changes + closed)/ total assigned
Bachinger, Paul: 7/12 Dinu-Coreth, Andrei Cristian: 4/8 Graßl, Patrick: 1/4 Kraus, Christoph: 5/9 Kuzmishyna, Maiia: 6/8 Mokshantseva, Elizaveta: 5/13 Muth, Moritz: 5/10 Müller, Alfons: 5/13 Raab, Markus: 2/3 Schlegel, Ben: 0/9 Schreiner, Christoph: 4/8 Weilguni, Justus: 6/11 Wutscher, Richard: 0/4 Zettl, Hannes: 0/3 Ziehengraser, Johannes Leonhard: 0/4 Total: 50 / 119
Did Not Approve Last Meeting Notes In Time
- Chris(toph)
- Richard
Meeting Notes
- 09:00 start
- meeting notes: Patrick (Backup: Johannes)
- release successful, important changes for devs:
MODEmust be added tobackend/.env- going forward, MRs or issues that affect the guided tour must include descriptive text in release notes and tick checkbox
- Paul will rebase MRs (already happened)
- retrospective (Liza) (not here)
- questions:
- Q: who wants an epic? A: two people
- Q: squash migration? A: yes
- Q: lodash? A: yes
- 1.0.0 decisions:
- JSON: let us migrate away from JSONB
- migrate away from floats
- -
BIGINT will be done later - squashing migrations
- 1.0.0 release goals:
- release name: solid foundation
- migrations, database cleanup: to be finalized for 1.0
- further technology upgrades: to be continued
- infrastructure: staging release procedure
- bug fixes also continue on
1.0.*
- efficient MRs reviews:
- check Andrei's and Paul's MRs so that they can finish
- tag MRs as must/should have accordingly to issue
- ask Markus if MRs maybe should be tagged as release critical (if it is according release goals)
- again set "please merge" if it was "please merge" before the release (Markus accidentally removed "please merge" without looking at the MRs)
- invited Wednesday for A&M in HS-1:
- write Markus if interested
- 08:15 guided meditation
- 10:15 painting
- 12:15 shaking meditation
- retrospective (Andrei)
- contributions in thesis:
- state what has been done and sell your work. The reader doesn't know whether a contribution is of relevance so use the opportunity to sell your work.
- one can do a whole "why is this RQ relevant" etc. but stating contributions is easier
- Markus will give feedback to MRs in submission
- is similar to related work:
- you formulate it in a way how it relates to your thesis, if possible.
- You wouldn't say "implemented unrelated features in PermaplanT", but simply "implemented ... in PermaplanT".
- status report, blocks
- Alfons:
- did manual testing last week
- tasks are clear and no blocks
- Andrei:
- had less time last week
- continue tasks and writing
- Ben:
- no new blockers
- working on issues
- Chris(toph) Kraus (not here)
- Christoph Schreiner:
- no external blockers but open questions
- database data needs refinement/reworking
- biologist will be available for questions (already contacted)
- Hannes (not here)
- Johannes:
- good week and progress
- setting up staging environment
- QoL improvements in infrastructure
- telemetry data next week perhaps
- Justus:
- request update (azp & aud) will be tested on the staging infrastructure
- Liza (not here)
- Maiia:
- less time last week
- bug not reproducible hence not fixable
- Moritz (not here)
- Patrick:
- no blocks currently
- Paul:
- very good progress, hence many MRs which need reviews
- MRs with minor changes might be fast tracked
- Richard (not here)
- Alfons:
- repository renames
- will hardly influence developers
- infrastructure and permaplant repositories will be unified
- retrospective:
- overall mood is pretty good
- the team is helpful and the progress pace is good, many infrastructure issues - further investigation?
- some improvements for project management fe. cleanup of old issues and Mrs
- link: https://cloud.perma.health/index.php/apps/files/files/1772414?dir=/PermaplanTDev/Presentations&editing=false&openfile=true
- Development Board:
- Alfons:
- database cleanup: Gamification etc. can be removed
- ensure migrations are future-proof: change to uuidv7 before the release
- Investigation will be done with focus on scalability by Andrei
- JSON: write the remaining migration, decision text can be finished later
- Nextcloud folder decision: Hannes was added for expertise
- All tickets are clear and manageable within the week.
- Andrei:
- some tickets still need reviews
- improve assess from validation:
- clarified what to do
- UTF-8 will be checked for risks and validation
- issue was split for the database perspective
- frontend check will probably be enough
- base layer issue: backend will be done so that it is unblocked
- All clear and manageable within the week.
- Ben:
- TanStack ticket needs review
- Upgrade Node.js is blocked and removed from iteration
- pagination fix is clear, MR will follow
- map freeze with canvas rendering (#2297):
- is a leftover change from christoph,
- ticket is clear
- type error:
- a commit broke it again
- error was affecting users before
- consequences aka possible future bugs are unclear yet
- bug fixes are to be done before the React upgrade
- Chris(toph) Kraus (not here)
- Christoph Schreiner:
- Scraper has priority this week
- simplify and consolidate scraper documentation: is already review ready
- text replacements: important but not related to constraints
- database constrains: capitalization is relevant for the scraper
- Tickets are clear and manageable within the week.
- Hannes:
- decisions will be made after staging is done
- Input is required for ticket 2194
- decision on nextcloud folder structure:
- check what works for sharing with new group members - issue cleared up
- TODO: install plugin and check if adding users to group in keycloak works
- All is clear and somewhat doable within this week
- Optimistic concerning completion.
- Johannes:
- configure keycloak needs staging and will then notify justus
- design decision is under review
- Credentials for zignos will be shared with the team, shared account will be used
- Justus:
- #2348 blocks someone, precision of three digits is needed
- #2371 read JSONB decision from Alfons to branch off and do the migration on
- #2316 minor ticket and unimportant for the release
- #1856 is blocked
- #1938 audit trails is a strong must have, sometimes jumps between the layers
- All clear except for #1856’s solution which is why the ticket is blocked for now.
- Liza (not here)
- Maiia: #2301:
- bugs source for small maps was found, lodash will be used
- #2284 can't be reproduce;
- #2265 source is not clear yet, possible fix discussed: not storing the timeline if the date is today
- Moritz (not here)
- Patrick:
- #2012 postponed due to infrastructure tickets
- Paul:
- project restructuring
- email service and mautic container are the focus of the week
- auto ssh to the agents (infrastructure repository) is working
- Richard (not here)
- Tasks for Everyone
- Alfons:
Meeting 15.12.2025
Attendees
- Markus
- Alfons
- Andrei
- Ben
- Hannes
- Patrick
- Paul
- Justus
- Johannes
- Liza
- Moritz
Not here:
- Richard (unexecused)
- Chris(toph) Kraus (unexecused)
Cannot come (excused):
- Maiia (excused)
- Christoph Schreiner (excused)
Buddies
- Andrei & Maiia
- Patrick & Alfons
- Christoph & Liza
- Ben & Chris
- Moritz & Paul
- Johannes & Richard
- Justus & Hannes
Success Partners
- Maiia & Moritz (Frontend)
- Ben & Alfons (Frontend)
- Hannes & Johannes (DevOps)
- Liza & Paul (PM)
- Richard & Chris (Tooling)
- Christoph & Andrei (Testing)
- Patrick & Justus (Backend)
Agenda
- 09:00 start
- meeting notes: Alfons
- status report
- how are you?
- buddy
- blockers?
- repo restructure:
- new board for PM
- new labels: status::issue-review and status::issue-confirmed (use it to confirm your issues a week in advance)
- labels are now group-wide
- any missing access in any repos?
- 1.0 final migrations:
- goals: solid foundation: finalize DDL
- squash procedure: Alfons takes lead
- release procedure: Paul takes lead
- uuidv7: already done by Andrei
- remove floats: Justus
- reliability and great software also possible without for-profit
- new servers
- finishing line: keep on going!
- please help approval and fixing things!
- who will do testing?
- timing matters
- understanding the tasks is essential
- ask questions early
- Development Board:
- Alfons
- Andrei
- Ben
- Chris(toph) Kraus
- Christoph Schreiner (not here)
- Hannes
- Johannes (not here)
- Justus
- Liza
- Maiia (not here)
- Moritz
- Patrick
- Paul
- Richard (not here)
- Tasks for Everyone
Outlook
- next week:
- cleanup of open MRs
- Warme Dusche:
- Andrei
- Paul
- Übergaben
- new buddies
- going forward, MRs or issues that affect the guided tour must include descriptive text in release notes
- (after 1.0) tech talk (frontend/backend coordination):
- map overview sorting
- float pagination
Tasks for Everyone
Monday:
- Create last MRs/update release critical MRs
- Start reviewing release critical MRs
- Paul: download latest dump to maps (to be reverted to when releasing 1.0.0) (done)
- Justus: last fixes in migrations (jsonb, audit trails, float)
Tuesday:
- Last fixes/reviews of DDL-MRs: release critical MRs
Wednesday:
- Alfons: squashing and fixing production database, MR with squashed migrations
- Andrei: update frontend in !2018
- Patrick: setup staging server CI (with help of Paul)
- Hannes: setup new production server
- Paul: continue release procedure
- Markus: merge MRs
Thursday:
- Testing: Moritz (or Maiia?)
Tasks to be done until latest Thursday 18.12.2025 23:59:
Talks
- Next week talks:
- Christoph Schreiner: final thesis presentation, developer-central (22.12.)
- Johannes: open telemetry (22.12.)
- later upcoming talks:
- Moritz (29.12., pitfalls about pagination&endless scrolling)
- Ben: FLOSS refactoring on library upgrades (2026)
- Chris(toph) Kraus (any date not next week, developer perspective of e2e tests)
- Hannes (January?, Debugging Nextcloud Images)
- Patrick (TBD)
- Richard (TBD pipeline, dev-centric or architecture)
- done talks:
- Maiia (27.10. socratic questioning on RQ)
- Liza (03.11.2025, PM)
- Paul (10.11., Running Meetings That Don't Waste Time)
- Alfons (17.11., methodology)
- Justus (24.11., Debugging+Logging in the Backend)
- Andrei (01.12., performance, RQ, Method)
- Paul: (15.122 efficient issue refinement)
Statistics (5.12. - 11.12.)
Merge Request approved
Raab, Markus: 14 Bachinger, Paul: 11 Müller, Alfons: 5 Kuzmishyna, Maiia: 4 Mokshantseva, Elizaveta: 4 Muth, Moritz: 3 Weilguni, Justus: 2 Dinu-Coreth, Andrei Cristian: 1 Graßl, Patrick: 1 Kraus, Christoph: 1 Ziehengraser, Johannes Leonhard: 1
Issue progress (status changes + closed)/ total assigned
Bachinger, Paul: 10/12 Dinu-Coreth, Andrei Cristian: 3/9 Graßl, Patrick: 0/1 Kraus, Christoph: 4/8 Kuzmishyna, Maiia: 4/5 Mokshantseva, Elizaveta: 9/14 Muth, Moritz: 4/8 Müller, Alfons: 12/15 Raab, Markus: 3/3 Schlegel, Ben: 6/8 Schreiner, Christoph: 6/7 Weilguni, Justus: 8/11 Wutscher, Richard: 1/3 Zettl, Hannes: 0/5 Ziehengraser, Johannes Leonhard: 1/4 Total: 71 / 113
Did Not Approve Last Meeting Notes In Time
- Chris(toph)
- Richard
- Hannes
- Ben
- Christoph
Meeting Notes
- 09:00 start
- meeting notes: Alfons
- Status round:
- Ben: good progress
- Johannes: really good week, one issue blocked by staging
- Justus: Good progress, need to fix up MRs
- Liza: OK progress, no blockers
- Moritz: Vacation, good progress on the weekend
- Patrick: mediocre progress, PC broken
- Hannes: Not that much progress because of work
- Paul: Working on email service, did repo refactor
- repo restructure:
- new board for PM
- labels are now group-wide
- Markus: Is Everything still working? (no reply, so everything seems to be working)
- new labels: status::issue-review and status::issue-confirmed (use it to confirm your issues a week in advance)
- any missing access in any repos?
- Paul presenting refinement:
- Improve information in issues
- generate refinement context script in /tools
- Additional context in notes
- Using Claude in Console and glab for searching repo, creating comment, changing issue description, etc.
- Automatically updates issue on gitlab
- 1.0 final migrations:
- goals: solid foundation: finalize DDL
- squash procedure: Alfons takes lead
- release procedure: Paul takes lead
- uuidv7: already done by Andrei
- new servers
- remove floats: Justus
- Increase consistency by phasing out float
- reliability also without money
- finishing line: keep on going!
- please help approval and fixing things!
- overview of what needs to change with the database
- who will do testing? Moritz or maybe Maiia
- Patrick reports that login doesn't work
- Markus: Likely caching issue, works on other browser for him
- Focus on release critical issues
- 1.0 must haves are the next issues to be done but they don't have to be in 1.0.0 release
- New issue board
- Devs can't access yet
- New issue-review and issue-confirmed lists
- timing matters
- understanding the tasks is essential
- ask questions early
- Development Board:
- Alfons
- Andrei
- Ben
- Chris(toph) Kraus
- Christoph Schreiner (not here)
- Hannes
- Johannes
- Justus
- Liza
- Maiia (not here)
- Moritz
- Patrick
- Paul
- Richard
- Tasks for Everyone
Meeting 22.12.2025
Attendees
- Markus
- Alfons
- Andrei
- Christoph Schreiner
- Hannes
- Justus
- Liza
- Maiia
- Moritz
- Patrick
- Paul
- Richard
Didn't come:
- Johannes (unexcused)
- Chris(toph) Kraus (unexcused)
Cannot come:
- Ben (excused)
Buddies
- Andrei & Maiia
- Patrick & Alfons
- Christoph & Liza
- Ben & Chris
- Moritz & Paul
- Johannes & Richard
- Justus & Hannes
Success Partners
- Maiia & Moritz (Frontend)
- Ben & Alfons (Frontend)
- Hannes & Johannes (DevOps)
- Liza & Paul (PM)
- Richard & Chris (Tooling)
- Christoph & Andrei (Testing)
- Patrick & Justus (Backend)
Agenda
- 09:00 start
- status round
- meeting notes: Justus
- Retrospective (Liza)
- thesis progress
- regex for branches active
- roles, takeover
- this week:
- cleanup of open MRs
- Wartung on Staging (Wednesday 16:00)
- break until 10:05
- Warme Dusche:
- Andrei
- Paul
- 1.0.0 release
- Justus fixes on Monday
- Moritz testing on Tuesday
- move issue to status:issue-confirmed after you read it and confirm that you will work on it next week
- Development Board:
- Alfons
- Andrei
- Ben (not here)
- Chris(toph) Kraus (not here)
- Christoph Schreiner
- Hannes
- Johannes (not here)
- Justus
- Liza
- Maiia
- Moritz
- Patrick
- Paul
- Richard
- Tasks for Everyone
Outlook Next Week
- new buddies
- communication (as in Infrastructure)
- documentation fixes/overhaul
- refactoring
- (after 1.0) tech talk (frontend/backend coordination):
- map overview sorting
- float pagination
- going forward, MRs or issues that affect the guided tour must include descriptive text in release notes
Release
Monday 22.12.:
- Andrei merges floats (done)
- Justus: last fixes in migrations (bigint, enum)
- Andrei or Maiia help out with frontend issues
- reviewing the last Solid Foundation MR
- Paul&Hannes&Patrick: last minute infrastructure work for release
- Paul: production setup (starting with www.permaplant.net)
- Patrick: staging setup (starting with www.staging.permaplant.net)
- Hannes: hot-standby setup with
OpenTofu(did not work), Ansible-Proxmox module
Tuesday 23.12.:
- Paul&Hannes: release
- Testing: Moritz (or Maiia?)
Then in this year:
- actual release on production (Paul)
- merging of all MRs (everyone)
- turn off old Hetzner server (infrastructure)
- Starting Wartung on Staging (Hannes Wednesday 16:00)
Tasks for Everyone
Tasks to be done until latest Thursday 25.12.2025 23:59:
Tasks to be done before next meeting:
- getting MRs done (steps towards marking it as ~MR::please merge)
- reviewing MRs
Talks
- later upcoming talks:
- Johannes: open telemetry (29.12.)
- Moritz (29.12., pitfalls about pagination&endless scrolling)
- Ben: FLOSS refactoring on library upgrades (2026)
- Chris(toph) Kraus (any date not next week, developer perspective of e2e tests)
- Hannes (January?, Debugging Nextcloud Images)
- Patrick (TBD)
- Christoph Schreiner: final thesis presentation, developer-central (TBD)
- Richard (TBD pipeline, dev-centric or architecture)
- done talks:
- Maiia (27.10. socratic questioning on RQ)
- Liza (03.11.2025, PM)
- Paul (10.11., Running Meetings That Don't Waste Time)
- Alfons (17.11., methodology)
- Justus (24.11., Debugging+Logging in the Backend)
- Andrei (01.12., performance, RQ, Method)
- Paul: (15.12 efficient issue refinement)
Statistics (12.12. - 18.12.)
Merge Request approved
Raab, Markus: 14 Bachinger, Paul: 11 Müller, Alfons: 5 Kuzmishyna, Maiia: 4 Mokshantseva, Elizaveta: 4 Muth, Moritz: 3 Weilguni, Justus: 2 Dinu-Coreth, Andrei Cristian: 1 Graßl, Patrick: 1 Kraus, Christoph: 1 Ziehengraser, Johannes Leonhard: 1
Issue progress (status changes + closed)/ total assigned
Bachinger, Paul: 6/9 Dinu-Coreth, Andrei Cristian: 8/10 Graßl, Patrick: 1/1 Kraus, Christoph: 7/7 Kuzmishyna, Maiia: 10/11 Mokshantseva, Elizaveta: 8/15 Muth, Moritz: 9/10 Müller, Alfons: 17/21 Raab, Markus: 1/2 Schlegel, Ben: 8/9 Schreiner, Christoph: 9/9 Weilguni, Justus: 6/9 Wutscher, Richard: 2/3 Zettl, Hannes: 5/5 Ziehengraser, Johannes Leonhard: 3/4 Total: 100 / 125
Did Not Approve Last Meeting Notes In Time
- Chris(toph)
- Richard
- Johannes
- Christoph
Meeting Notes
- 09:00 start
- meeting notes: Justus
- Retrospective (Liza)
- will do it this week.
- Takeaways:
- include time for thesis work
- we are in the same boat
- more focus on reviewing MRs and documentation
- regex for branches active
- e.g. username/0000/branchname (but replace username!)
- roles, takeover
- 1.0.0 release
- Justus fixes on Monday
- Moritz testing on Tuesday
- Christoph Constraints -> no, next release together with migration of stable IDs
- this week:
- review Solid Foundation MR
- Andrei will merge his float MR there. (done)
- Check if further MR's are needed.
- First get all services on staging.
- next week:
- Wartung on staging (Wednesday 16:00)
- cleanup of open MRs
- Warme Dusche:
- Andrei
- Paul
- move issue to status:issue-confirmed after you read it and confirm that you will work on it next week
- Development Board:
- Alfons
- Andrei
- Ben (not here)
- Chris(toph) Kraus
- Christoph Schreiner
- Issues with database inconsistencies
- Hannes
- Johannes
- Justus
- Liza
- Will finish epics today
- Maiia
- Unsure of browser-specific problem with the timeline, but problem seems to be fixed
- display file-alert: Maybe no scaling?
- Moritz
- Testing was not possible, focused on minor issues.
- Patrick
- Master is done, will look into Apache landing page.
- Paul
- Fixed some hosts. Maybe some changes of variables on some hosts.
- Richard
- Tasks for Everyone
- Forward issues to in progress
- If the issue is still unclear, move it back from issue-confirmed
Meeting 29.12.2025
Attendees
- Markus
- Alfons
- Ben
- Christoph Schreiner
- Hannes
- Johannes
- Justus
- Maiia
- Moritz
- Patrick
Not here:
- Chris(toph) Kraus (unexcused)
- Richard (unexcused)
Cannot come:
- Liza (excused)
Buddies
- Moritz & Patrick
- Maiia & Alfons
- Christoph & Liza
- Ben & Chris
- Johannes & Richard
- Justus & Hannes
Success Partners
- Maiia & Moritz (Frontend)
- Ben & Alfons (Frontend)
- Hannes & Johannes (DevOps)
- Liza & Christoph (Libero)
- Richard & Chris (Tooling)
- Patrick & Justus (Backend)
Agenda
- 09:00 start
- meeting notes: Ben
- status round research
- new buddies
- talk from Moritz
- tech talk (frontend/backend coordination):
- map overview sorting
- one endpoint
- needs sorting+inactive
- pagination
- map overview sorting
- what makes a good thesis
- scientific approach: relevant RQ, solid method, results only based on observations
- scientific writing: consistent terminology, clear and easy to read
- presentation: convincing introduction and contributions, interesting to read, guidance, structure and formatting
- structure, separate:
- method and results
- results and discussions
- approach and implementation
- proper English:
- As "browser specific" refers to the word "problem" afterwards, a dash is used instead of a space.
- em-dashes for subsentences.
- its, not it's
- pre-commit:
pre-commit install --install-hooks -t pre-push
- 1.0 release status
- next steps:
- documentation fixes/overhaul
- refactoring
- MR cleanup
- next talks
- going forward, MRs or issues that affect the guided tour must include descriptive text in release notes
- Development Board:
- Alfons
- Andrei
- Ben
- Chris(toph) Kraus
- Christoph Schreiner
- Hannes
- Johannes
- Justus
- Liza (not here)
- Maiia
- Moritz
- Patrick
- Paul
- Richard
- Tasks for Everyone
Outlook
Tasks for Everyone
Tasks to be done until latest Thursday 01.01.2026 23:59:
Talks
- talks this week:
- Moritz (29.12., pitfalls about pagination&endless scrolling)
- upcoming talks:
- Johannes: open telemetry (5.1.)
- Christoph Schreiner: final thesis presentation, developer-central (TBD)
- Ben: FLOSS refactoring on library upgrades (2026)
- Chris(toph) Kraus (any date not next week, developer perspective of e2e tests)
- Hannes (January?, Debugging Nextcloud Images)
- Patrick (TBD)
- Richard (TBD pipeline, dev-centric or architecture)
- done talks:
- Maiia (27.10. socratic questioning on RQ)
- Liza (03.11.2025, PM)
- Paul (10.11., Running Meetings That Don't Waste Time)
- Alfons (17.11., methodology)
- Justus (24.11., Debugging+Logging in the Backend)
- Andrei (01.12., performance, RQ, Method)
- Paul: (15.12 efficient issue refinement)
Statistics (19.12. - 25.12.)
Merge Request approved
Raab, Markus: 15 Bachinger, Paul: 8 Dinu-Coreth, Andrei Cristian: 5 Muth, Moritz: 4 Mokshantseva, Elizaveta: 2 Weilguni, Justus: 2 Graßl, Patrick: 1 Kuzmishyna, Maiia: 1 Schreiner, Christoph: 1
Issue progress (status changes + closed)/ total assigned
Bachinger, Paul: 3/4 Dinu-Coreth, Andrei Cristian: 4/8 Graßl, Patrick: 2/3 Kraus, Christoph: 0/8 Kuzmishyna, Maiia: 7/10 Mokshantseva, Elizaveta: 5/15 Muth, Moritz: 8/11 Müller, Alfons: 14/20 Raab, Markus: 1/2 Schlegel, Ben: 1/8 Schreiner, Christoph: 1/9 Weilguni, Justus: 8/11 Wutscher, Richard: 1/4 Zettl, Hannes: 2/5 Ziehengraser, Johannes Leonhard: 1/5 Total: 58 / 123
Did Not Approve Last Meeting Notes In Time
- Chris(toph)
- Richard
- Johannes
- Christoph
- Ben
- Alfons
- Hannes
Meeting Notes
- 09:00 start
- meeting notes: Ben
- status round research
- people have been looking at related papers/other submissions
- Maiia found a script to measure performance, recent writing status: terminology/technical terms
- Johannes has been looking into OpenTelemetry (maybe looking into traces if nothing comes up)
- Moritz found background paper
- Patrick working on brainstorming
- Alfons working on survey questions
- new buddies
- tech talk (frontend/backend coordination):
- map overview sorting
- Presentation "Endless Scrolling & Pagination Pitfalls" https://cloud.perma.health/index.php/f/1774877
- Short overview of what pagination is and what it aims to achieve
- Incomplete data
- operations on paginated data might lead to incorrect results due to missing data
- e.g. search might not return result because result has not been fetched yet
- Inconsistent data
- entries might be fetched multiple times or not at all by fetches of consecutive pages if the underlying data changed between fetches
- especially relevant for fast-changing data
- Failing to fetch
- endless scrolling triggers might not work as expected when screen size changes
- what makes a good thesis
- scientific approach: relevant RQ, solid method, results only based on observations
- scientific writing: consistent terminology, clear and easy to read
- presentation: convincing introduction and contributions, interesting to read, guidance, structure and formatting
- structure, separate:
- method and results
- results and discussions
- approach and implementation
- proper English:
- As "browser specific" refers to the word "problem" afterwards, a dash is used instead of a space.
- em-dashes for subsentences.
- its, not it's
- pre-commit:
pre-commit install --install-hooks -t pre-push
- 1.0 release status
- next steps:
- documentation fixes/overhaul
- refactoring
- MR cleanup
- next talks
- going forward, MRs or issues that affect the guided tour must include descriptive text in release notes
- Johannes talking about OpenTelemetry progress + needing feedback from frontend for some fields
- discussion about file alert icon MR
- Development Board:
- Alfons
- Andrei
- Ben
- Chris(toph) Kraus (not here)
- Christoph Schreiner
- Hannes
- Johannes
- Justus
- Liza (not here)
- Maiia
- Moritz
- Patrick
- Paul
- Richard (not here)
- Tasks for Everyone
Meeting 05.01.2026
Attendees
- Markus
- Ben
- Christoph Schreiner
- Hannes
- Johannes
- Justus
- Liza
- Maiia
- Moritz
Not here:
- Chris(toph) Kraus (unexcused)
- Richard (unexcused)
Excused:
- Alfons (excused)
- Patrick (excused)
Buddies
- Moritz & Patrick
- Maiia & Alfons
- Christoph & Liza
- Ben & Chris
- Johannes & Richard
- Justus & Hannes
Success Partners
- Maiia & Moritz (Frontend)
- Ben & Alfons (Frontend)
- Hannes & Johannes (DevOps)
- Liza & Christoph (Libero)
- Richard & Chris (Tooling)
- Patrick & Justus (Backend)
Agenda
- 09:00 start
- meeting notes: Christoph (Backup: Maiia)
- status round:
- how are you?
- what are you currently proud of?
- issue epics feedback
- Paul finished
- talk: Johannes
- slides, text also in meeting MR
- notes from project manager
- improvements in workflows and roles (also in meeting MR)
- reflection of iteration
- how to progress
- thinking and motivation is the bottleneck, not coding
- issue_refinement:
- check use cases etc.
- check for blockers, e.g. needed changes in backend
- ask good questions!
- commitment of iteration
- infrastructure:
- focus on new servers (shutting down the old ones)
- look at bachelor thesis together
- what is important
- what can be left out
- how was it done
- 1.0 release last points:
- cannot create maps
- finalize dump
- next talks
- Development Board:
- Alfons (not here)
- Ben
- Chris(toph) Kraus (not here)
- Christoph Schreiner
- Hannes
- Johannes
- Justus
- Liza
- Maiia
- Moritz
- Patrick (not here)
- Richard (not here)
- Tasks for Everyone
Outlook
Tasks for Everyone
Tasks to be done until latest Thursday 08.01.2026 23:59:
Talks
- talks this week:
- Johannes: open telemetry (5.1.)
- upcoming talks:
- Christoph Schreiner: 12.1. final thesis presentation, developer-central (TBD)
- Hannes (19.1., Debugging Nextcloud Images)
- Ben: 26.1. FLOSS refactoring on library upgrades (2026)
- Chris(toph) Kraus (any date not next week, developer perspective of e2e tests)
- Patrick (TBD)
- Richard (TBD pipeline, dev-centric or architecture)
- done talks:
- Maiia (27.10. socratic questioning on RQ)
- Liza (03.11.2025, PM)
- Paul (10.11., Running Meetings That Don't Waste Time)
- Alfons (17.11., methodology)
- Justus (24.11., Debugging+Logging in the Backend)
- Andrei (01.12., performance, RQ, Method)
- Paul: (15.12 efficient issue refinement)
- Moritz (29.12., pitfalls about pagination&endless scrolling)
Statistics (25.12.2025 - 01.01.2026)
Merge Request approved
Bachinger, Paul: 11 Raab, Markus: 11 Ziehengraser, Johannes Leonhard: 4 Graßl, Patrick: 2 Mokshantseva, Elizaveta: 2 Kuzmishyna, Maiia: 1 Weilguni, Justus: 1
Issue progress (status changes + closed)/ total assigned
Bachinger, Paul: 3/3 (finished) Dinu-Coreth, Andrei Cristian: 0/4 Graßl, Patrick: 2/4 Kraus, Christoph: 0/8 Kuzmishyna, Maiia: 7/11 Mokshantseva, Elizaveta: 6/12 Muth, Moritz: 1/9 Müller, Alfons: 6/15 Raab, Markus: 1/1 Schlegel, Ben: 0/8 Schreiner, Christoph: 2/9 Weilguni, Justus: 7/8 Wutscher, Richard: 0/4 Zettl, Hannes: 1/5 Ziehengraser, Johannes Leonhard: 3/5 Total: 39 / 106
Did Not Approve Last Meeting Notes In Time
- Chris(toph)
- Moritz
- Ben
- Richard
Meeting Notes
- 09:00 start
- meeting notes: Christoph (Backup: Maiia)
- status round:
- what are you currently proud of?
- Justus:
- not a lot of progress last week
- likes the new issue handling
- proud of learning a lot in the last weeks
- Liza:
- working on closing the open MRs
- proud of progress on thesis
- says it's easier to work with epics when assigning
- Maiia:
- updated MRs
- proud of finishing first version of experiment part of thesis and happy with results
- review of issues one week in advance is good
- Moritz:
- happy with his progress last week
- managed to catch up with reviews
- thinks epics are useful
- Ben:
- busy last week with other stuff
- likes epics to better group issues and getting issues in advance
- Christoph:
- proud of many little things done for project
- only some progress on issues
- Hannes:
- last week mostly busy with private life
- also proud of the little things - improving the documentation and such
- Johannes:
- proud of the progress in the last weeks,
- managed to finish a lot of stuff up,
- managed to finish setting up a part of CI which he was struggling with earlier
- Justus:
- issue epics feedback
- what are you currently proud of?
- talk: Johannes
- Introduction to OpenTelemetry
- apm.perma.health
- Developers have a special read only login developer@permaplant.net
- Paul finished
- notes from project manager from next week
- improvements in workflows (also in meeting MR)
- reflection of iteration
- how to progress
- thinking and motivation is the bottleneck, not coding
- issue_refinement:
- check use cases etc.
- check for blockers, e.g. needed changes in backend
- ask good questions!
- commitment of iteration
- if issues are too scattered or you are unhappy with them give feedback to PM
- infrastructure:
- focus on new servers (shutting down the old ones)
- look at bachelor thesis together
- what is important
- what can be left out
- how was it done
- 1.0 release last points:
- cannot create maps
- finalize dump
- next talks
- report feedback about issue workflow to Liza
- Development Board:
- Alfons (not here)
- Ben
- Chris(toph) Kraus
- Christoph Schreiner
- Hannes
- Johannes
- Justus
- Liza
- Maiia
- Moritz
- Patrick (not here)
- Paul
- Richard
- Tasks for Everyone
Meeting 12.01.2026
Attendees
- Markus
- Alfons
- Christoph Schreiner
- Hannes
- Johannes
- Justus
- Liza
- Maiia
- Patrick
Not here unexcused:
- Ben (unexecused)
- Chris(toph) Kraus (unexecused)
Excused:
- Richard (excused)
- Moritz (excused)
Buddies
- Moritz & Patrick
- Maiia & Alfons
- Christoph & Liza
- Ben & Chris
- Johannes & Richard
- Justus & Hannes
Success Partners
- Maiia & Moritz (Frontend)
- Ben & Alfons (Frontend)
- Hannes & Johannes (DevOps)
- Liza & Christoph (Libero)
- Richard & Chris (Tooling)
- Patrick & Justus (Backend)
Agenda
-
09:00 start
-
meeting notes: Johannes
-
status round:
- Grab one nearby object that represents your week. Explain in 1 sentence why you picked it
- Shout out one person who helped you in the last week(s)
- Moritz got 2x shoutout
-
Talk: Christoph Schreiner: Final Thesis Presentation
-
branch naming:
- renamed default branch to
_username_, which is rejected - drawback: error message from GitLab not good
- renamed default branch to
-
thesis:
- how to run the checks? (https://gitlab.tuwien.ac.at/perma/submissions/-/blob/master/unterlagen/checks.txt?ref_type=heads)
- what is the proper way to address PermplanT as an App?
- for definition of terms, how to properly refer to websites?
- Terminology bootstrapping.
- Separation of method, results and discussion
-
PM updates:
- own PM Repo
- Planning for 1.0.1 (in Milestones)
- Added some Epics
-
v2 reboot
-
to be done by everyone:
- git commit --amend
- change .env for Opentelemetry
-
TODO: Contrib guideline pre-commit
-
Johannes: measure performance overhead
- Alfons: timing in database
- Christoph: database
- Justus: profiling backend
- emulate button clicks
-
measure incoming and accumulated data
-
1.0.*goals- infrastructure
- mobile usability
- performance
-
- Alfons
- Ben (not here)
- Chris(toph) Kraus (not here)
- Christoph Schreiner
- Hannes
- Johannes
- Justus
- Liza
- Maiia
- Moritz
- Patrick
- Richard (not here)
- Tasks for Everyone
Outlook
- guided tour going forward
Tasks for Everyone
Tasks to be done until latest Thursday 15.01.2026 23:59:
- survey.permaplant.net
- change .env to work with Opentelemetry !2080
- fix pre-commit to use pre-push
- Weekly Regular Tasks
Talks
- talks this week:
- Christoph Schreiner: 12.1. final thesis presentation, developer-central
- upcoming talks:
- Hannes (19.1., Debugging Nextcloud Images)
- Ben: 26.1. FLOSS refactoring on library upgrades (2026)
- Chris(toph) Kraus (any date not next week, developer perspective of e2e tests)
- Patrick (TBD)
- Richard (TBD pipeline, dev-centric or architecture)
- done talks:
- Maiia (27.10. socratic questioning on RQ)
- Liza (03.11.2025, PM)
- Paul (10.11., Running Meetings That Don't Waste Time)
- Alfons (17.11., methodology)
- Justus (24.11., Debugging+Logging in the Backend)
- Andrei (01.12., performance, RQ, Method)
- Paul: (15.12 efficient issue refinement)
- Moritz (29.12., pitfalls about pagination&endless scrolling)
- Johannes (05.01., Introduction to OpenTelemetry)
Statistics (02.01.2026 - 08.01.2026)
Merge Request approved
Muth, Moritz: 9 Raab, Markus: 7 Schreiner, Christoph: 4 Weilguni, Justus: 4 Zettl, Hannes: 4 Ziehengraser, Johannes Leonhard: 4 Müller, Alfons: 2 Mokshantseva, Elizaveta: 2 Kuzmishyna, Maiia: 1
Issue progress (status changes + closed)/ total assigned
Window: Thu, Jan 1, 2026 23:59 → Thu, Jan 8, 2026 23:59 Bachinger, Paul: 1/1 Dinu-Coreth, Andrei Cristian: 0/3 Graßl, Patrick: 0/4 Kraus, Christoph: 0/10 Kuzmishyna, Maiia: 4/13 Mokshantseva, Elizaveta: 3/10 Muth, Moritz: 3/9 Müller, Alfons: 2/14 Schlegel, Ben: 0/8 Schreiner, Christoph: 7/10 Weilguni, Justus: 8/13 Wutscher, Richard: 0/4 Zettl, Hannes: 1/7 Ziehengraser, Johannes Leonhard: 1/5 Total: 30 / 111
Did Not Approve Last Meeting Notes In Time
- Chris(toph)
- Christoph
- Hannes
- Ben
- Richard
Meeting Notes
- 09:00 start
- meeting notes: Johannes
- status round:
- Grab one nearby object that represents your week. Explain in 1 sentence why you picked it
- Shout out one person who helped you in the last week(s)
- Moritz got 2x shoutout
- Talk: Christoph Schreiner: Final Thesis Presentation
- Heatmap Algorithm Improvements
- Conversion from data to png in backend
- postgres: plprofiler to analyze the algorithm
- Improvements:
- prefetching data
- runtime improvements
- Key takeaways:
- prefetch data
- use db indices
- avoid useless calculations
- Postgres analyze:
- analyze function via query planner
- plprofiler
- branch naming:
- renamed default branch when creating MRs to
_username_, which is rejected - drawback: error message from GitLab not good
- renamed default branch when creating MRs to
- thesis:
- how to run the checks? (https://gitlab.tuwien.ac.at/perma/submissions/-/blob/master/unterlagen/checks.txt?ref_type=heads)
- add comments to paragraphs
- adjust to your personal errors
- what is the proper way to address PermplanT as an App?
- app: PermaplanT
- for definition of terms, how to properly refer to websites?
- Terminology bootstrapping.
- Separation of method, results and discussion
- PM updates:
- own PM Repo
- Planning for 1.0.1 (in Milestones)
- Added some Epics
- Measure known bottlenecks (big maps)
break until 10:11
- v2 reboot
- How to measure impact on the whole application?
- start at db (how much data)
- add metrics ?
- image load times
1.0.*goals- infrastructure
- mobile usability
- performance
- Development Board:
- Alfons
- Ben
- Chris(toph) Kraus
- Christoph Schreiner
- Hannes
- Johannes
- Justus
- Liza
- Maiia
- Moritz
- Patrick
- Richard (not here)
- Tasks for Everyone
Meeting 19.01.2026
Attendees
- Markus
- Alfons
- Ben
- Chris(toph) Kraus
- Hannes
- Johannes
- Moritz
- Liza
- Maiia
- Patrick
Cannot come (excused):
- Christoph Schreiner
- Justus
Buddies
- Moritz & Patrick
- Maiia & Alfons
- Christoph & Liza
- Ben & Chris
- Justus & Hannes
Success Partners
- Maiia & Moritz (Frontend)
- Ben & Alfons (Frontend)
- Liza & Christoph (Libero)
- Hannes & Chris (Tooling)
- Patrick & Justus (Backend)
Agenda
- 09:00 start
- meeting notes: Maiia (Backup: Moritz)
- status round:
- buddy&success partners status
- One small thing each you want to start, stop and continue this week.
- change in Buddies:
- Richard and Johannes offboarding
- Hannes has new buddy: Chris
- touch screen?
- workflows
- tool for structured approach
- thinking ahead the whole way
- certificates:
- bachelor: needs progress
- project: needs hour lists
- aum: no progress needed
- updates about surveys
- self-review in checklist was added, see diffs in MR
- submissions repo:
- in general: look at diff of your MRs
- submissions should only contain what you want others to review
- please self-merge or push to master for everything else
- Nursultan wrote: "Similarweb shows that you’ve got 1k monthly visitors, wow very impressive!"
- next talks
- goal for everyone: cleanup
- finish up MRs from previous years
- clarify issues
- Development Board:
- Alfons
- Ben
- Chris(toph) Kraus
- Christoph Schreiner
- Hannes
- Johannes
- Justus
- Liza
- Maiia
- Moritz
- Patrick
- Tasks for Everyone
Outlook
- talk: Alfons+Chris for workflow; Ben refactoring
- Alfons: guided tour going forward with 1.0
- warme Dusche Johannes
Tasks for Everyone
Tasks to be done until latest Thursday 22.01.2026 23:59:
- fill in the survey and give feedback on the MR
- cleanup: finish up old MRs (from previous year)
- Weekly Regular Tasks
Talks
-
talks this week:
-
upcoming talks:
- Ben: 26.1. FLOSS refactoring on library upgrades (2026)
- Chris(toph) Kraus (02.02., developer perspective of e2e tests)
- Hannes (09.02., Debugging Nextcloud Images, CORS etc.)
- Patrick (16.02., TBD)
-
done talks:
- Maiia (27.10. socratic questioning on RQ)
- Liza (03.11.2025, PM)
- Paul (10.11., Running Meetings That Don't Waste Time)
- Alfons (17.11., methodology)
- Justus (24.11., Debugging+Logging in the Backend)
- Andrei (01.12., performance, RQ, Method)
- Paul: (15.12 efficient issue refinement)
- Moritz (29.12., pitfalls about pagination&endless scrolling)
- Johannes (05.01., Introduction to OpenTelemetry)
- Christoph Schreiner: 12.1. final thesis presentation, developer-central
Statistics (09.01.2026 - 15.01.2026)
Merge Request approved
Raab, Markus: 7 Graßl, Patrick: 3 Muth, Moritz: 2 Müller, Alfons: 2 Schreiner, Christoph: 2 Kuzmishyna, Maiia: 1 Mokshantseva, Elizaveta: 1 Zettl, Hannes: 1
Issue progress (status changes + closed)/ total assigned
Dinu-Coreth, Andrei Cristian: 0/3 Graßl, Patrick: 0/4 Kraus, Christoph: 0/10 Kuzmishyna, Maiia: 4/13 Mokshantseva, Elizaveta: 2/9 Muth, Moritz: 0/8 Müller, Alfons: 0/13 Schlegel, Ben: 0/8 Schreiner, Christoph: 2/9 Weilguni, Justus: 4/14 Zettl, Hannes: 0/7 Ziehengraser, Johannes Leonhard: 6/8 Total: 16 / 110
Did Not Approve Last Meeting Notes In Time
- Chris(toph)
- Justus
- Ben
Meeting Notes
- 09:00 start
- meeting notes: Maiia (Backup: Moritz)
- change in Buddies:
- Richard and Johannes offboarding
- Hannes has new buddy: Chris
- status round:
- buddy&success partners status
- One small thing each you want to start, stop and continue this week.
- Results:
- The most prominent and recurring topic was the thesis, appearing across all categories and clearly representing an always present concern for many team members.
- (Start) Several team members mentioned wanting to do reviews more regularly. Among other items were adoption of a more structured approach, allocating more time for programming tasks and taking the time for buddy/success partners talks.
- (Stop) Team members would like to reduce unclarity and stop procrastinating on thesis-related work.
- (Continue) The team wants to continue working on the thesis and completing open issues and merge requests.
- Screenshot
- touch screen: block finally should be resolved
- workflow template could be used as a basis for a structured approach on how to stay productive during an iteration/day/week
- workflows about guided tour & e2e tests:
- start from next week
- each MR should consider whether changes affect guided tour
- each MR should add regression test cases
- certificates:
- bachelor: needs progress
- project: needs hour lists
- aum: no progress needed
- fill in the survey after Alfons does updates today and give feedback on the MR
- submissions repo:
- in general: look at diff of your MRs, self review
- submissions should only contain what you want others to review
- please self-merge or push to master for everything else
- Nursultan wrote: "Similarweb shows that you’ve got 1k monthly visitors, wow very impressive!"
- updates about surveys
- next talks
- 26.01: Chris e2e workflow, then in a week on e2e in general
- 9.02: Hannes nextcloud debugging
- 16.02: Patrick
- goal for everyone: cleanup
- finish up MRs from previous years
- clarify issues
- decrease the number of open MRs
- Development Board:
- Alfons
- Ben
- Chris(toph) Kraus
- Christoph Schreiner
- Hannes
- Johannes
- Justus
- Liza
- Maiia
- Moritz
- Patrick
- Tasks for Everyone
Meeting 26.01.2026
Attendees
- Markus
- Alfons
- Chris(toph) Kraus
- Christoph Schreiner
- Hannes
- Justus
- Moritz
- Maiia
- Patrick
Partly Off:
- Liza (excused)
- Chris (unexcused)
- Johannes (unexcused)
Cannot come (excused):
- Ben (excused)
Buddies
- Moritz & Patrick
- Maiia & Alfons
- Christoph & Liza
- Ben & Chris
- Justus & Hannes
Success Partners
- Maiia & Moritz (Frontend)
- Ben & Alfons (Frontend)
- Liza & Christoph (Libero)
- Hannes & Chris (Tooling)
- Patrick & Justus (Backend)
Agenda
- 09:00 start
- meeting notes: Moritz
- status round:
- color representing your mood
- buddy status
- talk: Alfons workflow
- guided tour going forward with 1.0
- survey review
- Der Verein führt den Namen „Perma – Verein für nachhaltige Naturlebensräume".
- Statuten eingereicht
- Team building up Anna and Eszter
- CI broken: call duty
- Maiia frontend software architecture
- thesis:
- repeating main idea, but don't repeat terms
- terms and explanations minimal as needed
- common mistake: trying to explain all the architecture and technology
- end dates: 28.2. so that you don't need to subscribe to next term
- Development Board:
- Alfons
- Ben
- Chris(toph) Kraus
- Christoph Schreiner
- Hannes
- Johannes
- Justus
- Liza
- Maiia
- Moritz
- Patrick
- Tasks for Everyone
- further goal:
- cleanup MRs
- help Alfons, Johannes and Andrei to finish up
Outlook
- devcontainer cannot run e2e
- frontend architecture utility&patterns
- detect offline state by using TANstack query state
- https://gitlab.tuwien.ac.at/perma/apps/planT/-/issues/1906
- warme Dusche Johannes
Tasks for Everyone
Tasks to be done until latest Thursday 29.01.2026 23:59:
- submissions review: please review 2 submissions in the submissions repo
- do survey https://survey.permaplant.net or https://survey.permaplant.at
- Weekly Regular Tasks
Talks
- talks this week:
- upcoming talks:
- Ben: 02.02. FLOSS refactoring on library upgrades (2026)
- Chris(toph) Kraus (02.02., workflow+developer perspective of e2e tests)
- Hannes (09.02., Debugging Nextcloud Images, CORS etc.)
- Patrick (16.02., TBD)
- done talks:
- Maiia (27.10. socratic questioning on RQ)
- Liza (03.11.2025, PM)
- Paul (10.11., Running Meetings That Don't Waste Time)
- Alfons (17.11., methodology)
- Justus (24.11., Debugging+Logging in the Backend)
- Andrei (01.12., performance, RQ, Method)
- Paul: (15.12 efficient issue refinement)
- Moritz (29.12., pitfalls about pagination&endless scrolling)
- Johannes (05.01., Introduction to OpenTelemetry)
- Christoph Schreiner: 12.1. final thesis presentation, developer-central
Statistics (16.01.2026 - 22.01.2026)
Merge Request approved
Muth, Moritz: 3 Ziehengraser, Johannes Leonhard: 3 Graßl, Patrick: 2 Kuzmishyna, Maiia: 2 Mokshantseva, Elizaveta: 2 Müller, Alfons: 2 Raab, Markus: 2 Kraus, Christoph: 1 Schlegel, Ben: 1 Weilguni, Justus: 1 Zettl, Hannes: 1
Issue progress (status changes + closed)/ total assigned
Dinu-Coreth, Andrei Cristian: 0/3 Graßl, Patrick: 1/4 Kraus, Christoph: 8/11 Kuzmishyna, Maiia: 3/12 Mokshantseva, Elizaveta: 1/8 Muth, Moritz: 0/8 Müller, Alfons: 0/13 Schlegel, Ben: 0/8 Schreiner, Christoph: 2/8 Weilguni, Justus: 1/13 Wutscher, Richard: 0/2 Zettl, Hannes: 0/7 Ziehengraser, Johannes Leonhard: 2/3 Total: 18 / 100
Did Not Approve Last Meeting Notes In Time
- Christoph
- Patrick
Meeting Notes
- 09:00 start
- meeting notes: Moritz (Backup: Chris)
- status round:
- color representing your mood
- Markus: green, relaxing and favorite color
- Alfons: orange, color of courage, looks forward to coffee, looked at MRs with Maiia
- Christoph: yellow, wishes for more sun
- Chris: gray, robot because of automation
- Hannes: orange, a bit sleepy
- Johannes: green bicycle, likes to commute by bike, calm and neutral mood
- Patrick: orange, a bit sick over the weekend
- Justus: blue snowman, also wishes for more sun, also a little sick
- Maiia: purple progress, needs creative boost for writing
- Moritz: busy in orange, due to a lot of things going on outside the project
- Liza: blue, looking forward to a calm week after being sick
- color representing your mood
- talk: Alfons workflow
- guided tour going forward with 1.0
- New affects_guided-tour label
- Issue author, triager or developer should apply label
- New role Tour Owner (currently Alfons) review labeled MRs
- Tour owner additionally creates issues for tour changes
- Templates will be changed to include new label by default
- survey review
- will be finalized and sent out this week
- guided tour going forward with 1.0
- Der Verein führt den Namen „Perma – Verein für nachhaltige Naturlebensräume".
- Statuten eingereicht
- Team building up Anna and Eszter
- CI broken: call duty
- some issues with Docker on i7
- possible race condition regarding docker tag
- make sure to report CI issues as soon as possible
- Maiia frontend software architecture
- investigation regarding followed patterns needed
- input from other frontend developers for next week
- thesis:
- repeating main idea, but don't repeat terms
- terms and explanations minimal as needed
- common mistake: trying to explain all the architecture and technology
- handing in the thesis is handled by Markus, just the submission MR is needed by you
- deadline for bachelor thesis in this semester is the 28.02.
- the technical artifact is also part of the thesis and needs to be completed before receiving the certificate
- the technical artifact is everything the person has worked on in the initiative, e.g. issues and MRs
- break until 10:08
- further goal:
- cleanup MRs
- help Alfons, Johannes and Andrei to finish up
- Development Board:
- Alfons
- focus on releasing survey and finalizing dump
- Chris(toph) Kraus
- highest priority for workflow, when objectives ("test coverage") is clear, then work on improving test coverage
- Christoph Schreiner
- Hannes
- Johannes
- Justus
- Liza
- Maiia
- Moritz
- Patrick
- Tasks for Everyone
- Alfons
Meeting 02.02.2026
Attendees
- Markus
- Alfons
- Chris(toph) Kraus
- Hannes
- Johannes
- Justus
- Liza
- Moritz
- Maiia
- Patrick
Not here:
- Ben
- Christoph Schreiner
Buddies
- Moritz & Patrick
- Maiia & Alfons
- Christoph & Liza
- Ben & Chris
- Justus & Hannes
Success Partners
- Maiia & Moritz (Frontend)
- Ben & Alfons (Frontend)
- Liza & Christoph (Libero)
- Hannes & Chris (Tooling)
- Patrick & Justus (Backend)
Agenda
- 09:00 start
- meeting notes: Hannes (Backup: Chris)
- status round:
- emoji (chat or paint)
- 1.0.1 release:
- without migration changes so that we can use the same dump
- infrastructure has progress on new hardware (thanks to @Hannes)
- CI down:
- please report/remind regularly and assign infrastructure team to issues
- CI team: functionality tests after changes and regularly
- wikipedia report: usage of AI cost overall more time
- you need to always specify if you used AI
- talk:
- Chris(toph) Kraus (workflow+developer perspective of e2e tests)
- Alfons:
- news about survey?
- guided tour
- Lizenz: TU Wien Rechtsabteilung arbeitet Lizenz für uns aus
- Survey soll berücksichtig werden
- "Perma - Verein für nachhaltige Naturlebensräume" offiziell gegründet
- ZVR-Zahl: 1644988734
- Anna und Eszter erste Angestellte
- Ziel: Februar Beginn Onboarding
- reviewing (from /e/-OS guidelines):
- 📖read merge request description before jumping to the code.
- 📏Observe-Impact-Suggest. Observe: "This method has 100 lines". Impact: "It's complicated for me to understand its logic". Suggest: "You can extract it into 2 methods with explicit names".
- Direct and specific, don't ask questions unless it is really a question.
- Development Board:
- Alfons
- Ben
- Chris(toph) Kraus
- Christoph Schreiner
- Hannes
- Johannes
- Justus
- Liza
- Maiia
- Moritz
- Patrick
- Tasks for Everyone
Outlook
- little PermaplanT feaure presentation+outlook:
- Alfons: guided tour
- Justus: Access Control (read-only)
- Liza: Statistics (time tracking)
- Maiia: plant markers, optimizations
- Moritz: copy&paste, mobile
- frontend architecture utility&patterns
- further input from Ben
- detect offline state by using TANstack query state
- https://gitlab.tuwien.ac.at/perma/apps/planT/-/issues/1906
- warme Dusche Johannes
Tasks for Everyone
Tasks to be done until latest Thursday 05.02.2026 23:59:
- send survey https://survey.permaplant.net or https://survey.permaplant.at
- 2x review of submissions
- Weekly Regular Tasks
Talks
-
talks this week:
- Chris(toph) Kraus (02.02., workflow+developer perspective of e2e tests)
-
upcoming talks:
- Ben: 16.02. FLOSS refactoring on library upgrades (2026)
- Hannes (16.02., Debugging Nextcloud Images, CORS etc.)
- Patrick (23.02., TBD)
-
done talks:
- Maiia (27.10. socratic questioning on RQ)
- Liza (03.11.2025, PM)
- Paul (10.11., Running Meetings That Don't Waste Time)
- Alfons (17.11., methodology)
- Justus (24.11., Debugging+Logging in the Backend)
- Andrei (01.12., performance, RQ, Method)
- Paul: (15.12 efficient issue refinement)
- Moritz (29.12., pitfalls about pagination&endless scrolling)
- Johannes (05.01., Introduction to OpenTelemetry)
- Christoph Schreiner: 12.1. final thesis presentation, developer-central
Statistics (23.01.2026 - 29.01.2026)
Merge Request approved
Kuzmishyna, Maiia: 5 Müller, Alfons: 5 Raab, Markus: 4 Zettl, Hannes: 4 Graßl, Patrick: 3 Muth, Moritz: 2 Dinu-Coreth, Andrei Cristian: 1 Kraus, Christoph: 1 Schreiner, Christoph: 1 Weilguni, Justus: 1
Issue progress (status changes + closed)/ total assigned
Dinu-Coreth, Andrei Cristian: 3/3 Graßl, Patrick: 1/5 Kraus, Christoph: 7/11 Kuzmishyna, Maiia: 2/12 Mokshantseva, Elizaveta: 2/8 Muth, Moritz: 2/8 Müller, Alfons: 6/13 Schlegel, Ben: 0/8 Schreiner, Christoph: 2/7 Weilguni, Justus: 0/13 Wutscher, Richard: 0/2 Zettl, Hannes: 1/7 Ziehengraser, Johannes Leonhard: 0/3 Total: 26 / 100
Did Not Approve Last Meeting Notes In Time
- Ben
Meeting Notes
- Status Round:
- Mood of the team: mixed feelings, currently worries about service problems
- 1.0.1 release:
- some things fixed in infrastructure, but still a few challenges to get to 1.0.1 in this regard
- wikipedia report about productivity:
- AI can cost you also more time than otherwise in certain situations and beware of privacy
- AI usage needs to be as documented as copying foreign code/ideas etc.
- UI presentation from Maiia/Moritz postponed to next week
- Ben's talk postponed because he's not here
- devcontainer cannot run e2e, not needed
- Chris's Talk: "Developer Perspective of E2E Tests":
- E2E tests verify our system functionality from star to finish of processes
- good E2E progress in Permaplant
- tbd: coverage on "Done" Use Cases
- E2E still needs fine-tuning for more stability
- the tests won't run in devcontainer -> rely on local development utilizing some cleanup scripts to keep the tests clean
- Behavior Driven Development and Page Object Pattern are used to design and write E2E tests
- code is written in python e2e
- Debugging is done via test-report/report.html
- generated test videos (should use --slowdown)
- trace files,
- interactive browser (use --headed to do that)
- MR !2100 is currently in progress to finalize a new e2e workflow
- Questions from Markus:
- "How can we track test coverage?":
- Currently this is tracked rather manually
- We currently don't have scenarios planned in the use cases (conceptual difference -> hard to translate), but if that is changed we could automate the coverage calculation
- Everyone should write manual tests and Alfons focuses on E2E
- Manual test cases are perceived as generally easy to write
- Survey:
- 150 (most of them completed) responses so far, a lot of valuable feedback
- Alfons is currently writing an R script for statistical analysis
- Guided tour:
- Guided tour matters are in MR template already and the label is created, which means that the Guided Tour is fully active now
- Perma Verein News:
- License is currently in the works, also some feedback in the survey about the License
- Verein is now officially founded, two employees
- little tour over PermaplanT next time for employees:
- think about a little mini-mini-presentation to show Anna and Eszter about what they're doing -> it shall be very short, be creative
- ideas:
- guided tour and survey (alfons),
- read-only mode in backend (justus),
- project statistics (liza)
- checkmk (patrick)
- development board
- Johannes: basically same as last time
- Hannes: blocked on pve install which he's also doing, and fix nextcloud to make the switch on friday
- Alfons: currently blocked on baselayer MR because of new nextcloud version not here yet, otherwise good progress
- Chris: "issue-confirmed" labeled issues that he worked on moved to current-sprint
- Justus: most issues currently in review, some issue reviews/merges blocked by CI
- Liza: no questions
- Moritz: ssh problems with testing touch UI
- Maiia: blocked by the CI pipelines not running
- Patrick: working on fixing the CI pipelines, restoring from backup is needed
- for all: make sure to make reviews in the submissions repo, send out the surveys
Meeting 09.02.2026
Attendees
- Markus
- Alfons
- Ben
- Chris(toph) Kraus
- Hannes
- Johannes
- Justus
- Liza
- Moritz
- Maiia
- Patrick
- Vseslav Levchenko (partly)
- Mo(ritz) Adelsberger
Not here (unexcused):
- Christoph Schreiner
Special Guests:
- Eszter
- Anna (unfortunately sick, got video)
Buddies
- Moritz & Patrick
- Maiia & Alfons
- Christoph & Liza & Vseslav
- Ben & Chris
- Justus & Hannes
Success Partners
- Maiia & Moritz (Frontend)
- Ben & Alfons (Frontend)
- Liza & Christoph (Libero)
- Hannes & Chris (Tooling)
- Patrick & Justus (Backend)
Special Partners
- Johannes & Mo (übergabe)
- Christoph & Vseslav (übergabe)
- Mo & Vseslav (onboarding)
Agenda
- 09:00 start
- little PermaplanT feature presentation+outlook:
- Alfons: guided tour
- Justus: Access Control (read-only)
- Liza: Statistics (time tracking)
- Maiia: plant markers, optimizations
- Moritz: copy&paste, mobile
- meeting notes: Chris (Backup: Patrick)
- new season has started (Radieschen, ...)
- Verein:
- searching for sys admin
- searching for Rust dev automated onboarding procedure
- Eszter
- meeting notes: Chris (Backup: Patrick)
- status round:
- proud of
- buddy
- progress
- frontend architecture utility&patterns
- backend and frontend sync
- SSE vs. direct response
- detect offline state by using TANstack query state https://gitlab.tuwien.ac.at/perma/apps/planT/-/issues/1906
- warme Dusche Johannes
- Development Board:
- Alfons
- Ben
- Chris(toph) Kraus
- Christoph Schreiner
- Hannes
- Johannes
- Justus
- Liza
- Maiia
- Moritz
- Patrick
- Tasks for Everyone
Outlook
- keycloak collaboration error
- keycloak testuser update
Tasks for Everyone
Tasks to be done until latest Thursday 12.02.2026 23:59:
- review submissions: please assign people and please review
- Weekly Regular Tasks
Talks
-
talks this week:
-
upcoming talks:
- Ben: 16.02. FLOSS refactoring on library upgrades (2026)
- Hannes (16.02., Debugging Nextcloud Images, CORS etc.)
- Patrick (23.02., TBD)
-
done talks:
- Maiia (27.10. socratic questioning on RQ)
- Liza (03.11.2025, PM)
- Paul (10.11., Running Meetings That Don't Waste Time)
- Alfons (17.11., methodology)
- Justus (24.11., Debugging+Logging in the Backend)
- Andrei (01.12., performance, RQ, Method)
- Paul: (15.12 efficient issue refinement)
- Moritz (29.12., pitfalls about pagination&endless scrolling)
- Johannes (05.01., Introduction to OpenTelemetry)
- Christoph Schreiner: 12.1. final thesis presentation, developer-central
- Chris(toph) Kraus (02.02., workflow+developer perspective of e2e tests)
Statistics (23.01.2026 - 29.01.2026)
Merge Request approved
Muth, Moritz: 8 Raab, Markus: 7 Graßl, Patrick: 3 Kraus, Christoph: 3 Mokshantseva, Elizaveta: 2 Weilguni, Justus: 2 Ziehengraser, Johannes Leonhard: 2 Kuzmishyna, Maiia: 1 Müller, Alfons: 1 Zettl, Hannes: 1
Issue progress (status changes + closed)/ total assigned
Dinu-Coreth, Andrei Cristian: 1/2 Graßl, Patrick: 2/5 Kraus, Christoph: 7/14 Kuzmishyna, Maiia: 5/14 Mokshantseva, Elizaveta: 2/8 Muth, Moritz: 1/7 Müller, Alfons: 6/13 Schlegel, Ben: 0/8 Schreiner, Christoph: 1/8 Weilguni, Justus: 6/13 Wutscher, Richard: 0/2 Zettl, Hannes: 2/7 Ziehengraser, Johannes Leonhard: 3/3 Total: 36 / 104
Did Not Approve Last Meeting Notes In Time
- Ben
- Christoph Schreiner
Meeting Notes
- 09:00 start
- meeting notes: Chris (Backup: Patrick)
- little PermaplanT feature presentation+outlook:
- Alfons: guided tour, survey results
- Justus: Access Control (read-only)
- Liza: Statistics (time tracking)
- Maiia: plant markers, optimizations
- Moritz: copy&paste, mobile bug found (timeline not collapsing)
- Ben: library updates
- Chris: e2e tests
- Hannes: ansible playbook for infrastructure
- Johannes: infrastructure and OpenTelemetry
- Patrick: infrastructure ci/cd pipeline
- Moritz Adelsberger: onboarding
- Eszter: onboarding, Marketing
- Vseslav: onboarding
- new season has started (Radieschen, ...)
- Verein:
- searching for sys admin
- searching for Rust dev automated onboarding procedure
- Eszter: Marketing and Survey How many people did the survey? Alfons will sent data
- status round:
- proud of
- buddy
- progress Alfons: Made good progress, finished his survey script Ben: Couldn't progress much because of TU password issues, worked on TANstack. Chris: More tests are being implemented, create issue for test runner Hannes: Working on patching nextcloud, ansible playbook works Justus: Connecting the Backend Logs with OpenTelemetry had progress on the thesis Liza: Manuscript Maiia: Thesis progress, thankful pipeline works again Moritz: Thesis progress, thankful pipeline works again, cannot connect to experimental which stops him from progressing at his mobile implementation. Went down because of TU It issues. Patrick: Pipeline works again, unhappy with Thesis progress, focused on the infrastructure last week Johannes: Good progress, but was sick. Fixed local host issue, local dev should be runnable again. MRs are open, infrastructure team please review. High Priority Issues(Permaplant and job) stopped him from progressing with thesis. Wants to focus to finish till end of feb.
- frontend architecture utility&patterns
- further input from Ben
- Maiia how do design utility functions
- detect offline state by using TANstack query state
- https://gitlab.tuwien.ac.at/perma/apps/planT/-/issues/1906
- Warme Dusche Johannes
- Development Board:
- Alfons: guided tour
- Ben: Konva.js and React upgrade
- Chris(toph) Kraus: workflow
- Christoph Schreiner
- Hannes
- Johannes
- Justus
- Liza
- Maiia
- Moritz
- Patrick
- Tasks for Everyone
Meeting 16.02.2026
Attendees
- Markus
- Alfons
- Ben
- Chris(toph) Kraus
- Christoph Schreiner
- Hannes
- Johannes
- Justus
- Liza
- Maiia
- Moritz
- Mo(ritz) Adelsberger
- Patrick
- Vseslav Levchenko
Buddies
- Moritz & Patrick
- Maiia & Alfons
- Christoph & Liza & Vseslav
- Ben & Chris
- Justus & Hannes
Success Partners
- Maiia & Moritz (Frontend)
- Ben & Alfons (Frontend)
- Liza & Christoph (Libero)
- Hannes & Chris (Tooling)
- Patrick & Justus (Backend)
Special Partners
- Johannes & Mo (übergabe)
- Christoph & Vseslav (übergabe)
- Mo & Vseslav (onboarding)
Agenda
- 09:00 start
- Meeting notes: Patrick (Backup: Ben)
- status round:
- expertise, where can you offer help to others
- progress
- talks
- Verein news:
- searching for sys admin
- Justus: will implement member onboarding from today
- Paul: will implement new production+hot-standby, with support of infrastructure team
- Anna still sick
- infrastructure news:
- cloud.perma.health migrated: faster, calender working, thanks Hannes
- PM news:
- please update calender again
- CI news:
- greetings from Lukas, is happy that PermaplanT is developing so well
- keycloak collaboration error
- keycloak testuser update
- Nextcloud: Images
- Thesis: Methods or Methodology?
- Introduction
- RQ
- related work
- 1.0.1:
- fix von bildern
- link zu neuer Onboarding seite
- Preise update
- neuer Blog entry
- Personen auf Startseite aktualisieren
- frontend architecture utility&patterns, later on:
- backend and frontend sync
- SSE vs. direct response
- detect offline state by using TANstack query state https://gitlab.tuwien.ac.at/perma/apps/planT/-/issues/1906
- Development Board:
- Alfons
- Ben
- Chris(toph) Kraus
- Christoph Schreiner
- Hannes
- Johannes
- Justus
- Liza
- Maiia
- Moritz
- Mo(ritz) Adelsberger
- Patrick
- Vseslav Levchenko
- Tasks for Everyone
Outlook
Tasks for Everyone
Tasks to be done until latest Thursday 19.02.2026 23:59:
- submit working title of thesis in submissions repo
- submissions repo update of README.md
- review submissions: please assign people and please review
- Weekly Regular Tasks
Talks
- upcoming talks:
- Ben (23.02. FLOSS refactoring on library upgrades)
- Hannes (02.03., Debugging Nextcloud Images, CORS etc.)
- Patrick (09.03, Security from DevOps)
- done talks:
- Maiia (27.10. socratic questioning on RQ)
- Liza (03.11.2025, PM)
- Paul (10.11., Running Meetings That Don't Waste Time)
- Alfons (17.11., methodology)
- Justus (24.11., Debugging+Logging in the Backend)
- Andrei (01.12., performance, RQ, Method)
- Paul: (15.12 efficient issue refinement)
- Moritz (29.12., pitfalls about pagination&endless scrolling)
- Johannes (05.01., Introduction to OpenTelemetry)
- Christoph Schreiner: 12.1. final thesis presentation, developer-central
- Chris(toph) Kraus (02.02., workflow+developer perspective of e2e tests)
Statistics (06.02.2026 - 12.02.2026)
Merge Request approved
Raab, Markus: 11 Graßl, Patrick: 8 Muth, Moritz: 6 Adelsberger, Moritz: 2 Kraus, Christoph: 2 Mokshantseva, Elizaveta: 2 Kuzmishyna, Maiia: 1 Müller, Alfons: 1 Weilguni, Justus: 1 Zettl, Hannes: 1 Ziehengraser, Johannes Leonhard: 1
Issue progress (status changes + closed)/ total assigned
Adelsberger, Moritz: 0/1 Dinu-Coreth, Andrei Cristian: 0/2 Graßl, Patrick: 2/7 Kraus, Christoph: 3/11 Kuzmishyna, Maiia: 7/12 Levchenko, Vseslav: 2/8 Mokshantseva, Elizaveta: 0/8 Muth, Moritz: 0/7 Müller, Alfons: 4/8 Schlegel, Ben: 0/8 Schreiner, Christoph: 0/9 Weilguni, Justus: 5/13 Wutscher, Richard: 0/2 Zettl, Hannes: 0/6 Ziehengraser, Johannes Leonhard: 2/3 Total: 25 / 105
Did Not Approve Last Meeting Notes In Time
(Based on MR #2111)
- Ben
- Christoph Schreiner
Meeting Notes
- 09:00 start
- Meeting notes: Patrick (Backup: Ben)
- status round: tool expertise (whiteboard)
- Ben: frontend, TankStack query
- Chris: e2e
- Christoph: Postgresql, Python
- Hannes: Docker
- Johannes: DevOps, IT-Security, Log Collection
- Justus: Rust, Git
- Liza: Python, Scripts, Git
- Maiia: React, (little) Copilot
- Moritz: JavaScript/TypeScript, HTML, CSS, React, (Java, Spring, ..)
- Mo: Cybersec, Python, Git, Linux, Java, static typed languages
- Patrick: Pipeline, Cybersec (more of an interest)
- Vseslav: Postgresql, Git, Python, Java, C++
- Verein news:
- searching for sys admin
- Justus: will implement member onboarding from today
- Paul: will implement new production+hot-standby, with support of infrastructure team
- Anna still sick
- status round:
- progress
- infrastructure news:
- cloud.perma.health migrated: faster, calender working, thanks Hannes
- PM news:
- please update calender again
- CI news:
- greetings from Lukas, is happy that PermaplanT is developing so well
- keycloak collaboration error
- keycloak testuser update
- Paul will be working on Keycloak and will link up with Johannes
- e2e tests won't run locally on devcontainer, see #2491
- Thesis: Methods or Methodology?
- Introduction:
- make goal clear, which is answer the RQ. RQ is part of the introduction and should lead to the RQ, with the needed background to understand it, arguments to why it is important as well as context. Provides outline of the paper.
- explain contributions:
- answered RQ, did implementation, etc. is common
- quality papers can be good guidance on style, most importantly stay consistent
- related work:
- usually after the results, comparing approaches and results
- background:
- similar to related work, it's rather the starting ground
- Introduction:
- gitlab notifications are down, mo will write TU IT
- 1.0.1:
- Onboarding Preise
- neuer Blog entry
- Personen auf Startseite
- fix von bildern
- gitlab notifications are down, Mo will write TU IT
- 1.0.1 (issue created):
- fix von bildern
- link zu neuer Onboarding seite
- Preise update
- neuer Blog entry
- Personen auf Startseite aktualisieren
- frontend architecture utility&patterns done by Maiia, issue created for:
- backend and frontend sync
- SSE vs. direct response
- detect offline state by using TANstack query state https://gitlab.tuwien.ac.at/perma/apps/planT/-/issues/1906
- Development Board:
- @all help review issues
- Alfons
- Ben
- Chris(toph) Kraus
- Christoph Schreiner
- Hannes
- Johannes
- Justus
- Liza
- Maiia
- decision for minimal set of libraries
- Moritz
- Mo(ritz) Adelsberger
- Patrick
- Vseslav Levchenko
- Tasks for Everyone
Meeting 23.02.2026
Attendees
- Markus
- Alfons
- Chris(toph) Kraus
- Christoph Schreiner
- Justus
- Liza
- Lukas
- Maiia
- Mo(ritz) Adelsberger
- Patrick
- Vseslav Levchenko
Cannot come (excused):
- Ben
- Hannes
- Moritz
Buddies
- Moritz & Patrick
- Maiia & Alfons
- Christoph & Liza & Vseslav
- Ben & Chris
- Justus & Hannes
Success Partners
- Maiia & Moritz (Frontend)
- Ben & Alfons (Frontend)
- Liza & Christoph (Libero)
- Hannes & Chris (Tooling)
- Patrick & Justus (Backend)
Special Partners
- Johannes & Lukas (Übergabe Opentelemetry)
- Maiia & Lukas (Übergabe Performance)
- Christoph & Vseslav (Übergabe Scraper Data)
- Alfons & Vseslav (Übergabe Guided Tour)
- Mo & Vseslav & Lukas (Onboarding)
Agenda
- 09:00 start
- Meeting notes: Justus
- Welcome Lukas
- please share/advertise https://survey.permaplant.at (German) and https://survey.permaplant.net
- Verein news:
- searching for sys admin
- Justus: onboarding
- map/1
- hints and tipps for maps
- use them locally by importing dump
- for all MRs:
- manual test cases
- guided tour
- future: performance (new workflow)
- English writing
- references to text: Chapter~\ref and Table~\ref
- in results be very close to what can immediately seen or calculated
- Project vs. Initiative
- Perma vs. Verein
- product vs. service
- customer vs. member
- bad object 67b05edaa654ecee833b01b89cff4349bba05c6c
- roles
- refinement is to be done during issue::issue-review
- new tour owner: Vseslav (was Alfons)
- new performance assurance: Lukas (was Maiia)
- new review manager: Mo (was Liza)
- Warme Dusche Alfons
- 1.0.1 release
- finish up this week (release critical)
- Tester: Vseslav
- rename chat and folder to PermaDev
- survey
- Development Board:
- Alfons
- Ben (not here)
- Chris(toph) Kraus
- Christoph Schreiner
- Hannes (not here)
- Justus
- Liza
- Lukas
- Maiia
- Moritz (not here)
- Mo(ritz) Adelsberger
- Patrick
- Vseslav Levchenko
- Tasks for Everyone
Outlook
- 1.0.* decision states (editor decision, brushing)
- Moritz: experimental+vite
- status round:
- roles
Tasks for Everyone
Today 23.02.2026:
- please share/advertise https://survey.permaplant.at (German) and https://survey.permaplant.net
Tasks to be done until latest Thursday 26.02.2026 23:59:
- release critical issues
- Weekly Regular Tasks
- RQ: Terminonlogy
Talks
- upcoming talks:
- Hannes (02.03., Debugging Nextcloud Images, CORS etc.)
- Patrick (09.03, Security from DevOps)
- Ben (16.03., FLOSS refactoring on library upgrades)
- Mo (TBD)
- Lukas (TBD)
- Vseslav (TBD)
- done talks:
- Maiia (27.10. socratic questioning on RQ)
- Liza (03.11.2025, PM)
- Paul (10.11., Running Meetings That Don't Waste Time)
- Alfons (17.11., methodology)
- Justus (24.11., Debugging+Logging in the Backend)
- Andrei (01.12., performance, RQ, Method)
- Paul: (15.12 efficient issue refinement)
- Moritz (29.12., pitfalls about pagination&endless scrolling)
- Christoph Schreiner: 12.1. final thesis presentation, developer-central
- Chris(toph) Kraus (02.02., workflow+developer perspective of e2e tests)
Statistics (13.02.2026 - 19.02.2026)
Merge Request approved
Kuzmishyna, Maiia: 7 Levchenko, Vseslav: 6 Muth, Moritz: 6 Graßl, Patrick: 5 Müller, Alfons: 5 Schreiner, Christoph: 5 Raab, Markus: 4 Kraus, Christoph: 3 Adelsberger, Moritz: 2 Ziehengraser, Johannes Leonhard: 2 Bachinger, Paul: 1 Mokshantseva, Elizaveta: 1 Schlegel, Ben: 1 Weilguni, Justus: 1 Zettl, Hannes: 1
Issue progress (status changes + closed)/ total assigned
Adelsberger, Moritz: 2/4 Dinu-Coreth, Andrei Cristian: 0/2 Graßl, Patrick: 2/7 Kraus, Christoph: 4/12 Kuzmishyna, Maiia: 9/12 Levchenko, Vseslav: 11/13 Mokshantseva, Elizaveta: 2/8 Muth, Moritz: 4/13 Müller, Alfons: 15/17 Schlegel, Ben: 0/8 Schreiner, Christoph: 2/9 Weilguni, Justus: 2/12 Zettl, Hannes: 2/7 Ziehengraser, Johannes Leonhard: 2/2 Total: 57 / 128
Meeting Notes
- 09:00 start
- Meeting notes: Justus
- Moritz: experimental+vite
- please share/advertise https://survey.permaplant.at
(German) and https://survey.permaplant.net
- last chance to fill out the survey
- Welcome Lukas
- Verein news:
- searching for sys admin
- Justus: onboarding
- Benchmarking on maps
- view manuel testcases to figure out relationships between plants
- for all MRs:
- manual test cases
- guided tour
- future: performance (new workflow)
- English writing
- references to text: Chapter~\ref and Table~\ref
- in results be very close to what can immediately seen
- Project vs. Initiative
- Perma vs. Verein
- product vs. service
- customer vs. member
- use active and strong verbs as early as possible
- roles
- refinement is to be done during issue::issue-review
- new tour owner: Vseslav (was Alfons)
- new performance assurance: Lukas (was Maiia)
- new review manager: Mo (was Liza)
- status round:
- roles
- Warme Dusche Alfons
- 1.0.1 release
- reset of the production database
- finish up this week (release critical)
- release this week
- Tester: Vseslav
- rename chat and folder to PermaDev
- survey
- fill it out today!
- Development Board:
- Alfons
- review MRs of Alfons
- Ben
- Chris(toph) Kraus
- Did not have much time last week
- Christoph Schreiner
- no questions
- still has to work on some issues for handover of tasks
- Hannes
- Justus
- Liza
- closing MRs
- Lukas
- Maiia
- Fixing map lag has not shown major improvement
- Issues with flakiness on pipelines
- Chris found flakiness issue with undo
- Moritz
- Mo(ritz) Adelsberger
- did not yet meet with Johannes
- done with onboarding
- Patrick
- Vseslav Levchenko
- Notes issue: caused by a utility
- Still an issue with drawing object
- Tasks for Everyone
- review MRs
Meeting 02.03.2026
Attendees
- Markus
- Ben
- Chris(toph) Kraus
- Christoph Schreiner
- Hannes
- Justus
- Liza
- Maiia
- Mo(ritz) Adelsberger
- Moritz
- Vseslav Levchenko
Cannot come (excused):
- Lukas
- Patrick
Buddies
- Moritz & Patrick
- Maiia & Alfons
- Christoph & Liza & Vseslav
- Ben & Chris
- Justus & Hannes
Success Partners
- Maiia & Moritz (Frontend)
- Ben & Alfons (Frontend)
- Liza & Christoph (Libero)
- Hannes & Chris (Tooling)
- Patrick & Justus (Backend)
Special Partners
- Maiia & Lukas (Übergabe Performance)
- Christoph & Vseslav (Übergabe Scraper Data)
Agenda
- 09:00 start
- Meeting notes: Liza
- status round
- Ben (02.03., FLOSS refactoring on library upgrades)
- new license
- LICENSE
- which licenses to be allowed for dev use? Apache?
- new contributors agreement: https://cloud.perma.health/s/JGjafNMLEyjRXSo
- bitte unterschriebenen Contributors Agreement mit dem Dateinamen vorname_nachname_matrnr.pdf auf https://cloud.perma.health/s/C7NwRCckz6mcTFN hochladen
- AI tools not allowed to generate code (unclear license)
- contributors agreement will be also included in Onboarding for members (Justus)
- offboarding:
- Richard+Johannes abgeschlossen
- next: Maiia
- dev setups
.env:- fix URL auth.perma.health
- fix localhost, 0.0.0.0 as preferred
- thesis:
- sequential reading: forward references
- context, support different
- abstract (4 sentences: context, problem, method, results)
- infrastructure:
- hz-production
- keycloak handover to Mo and Lukas
- please create incidents if anything does not work
- 1.0.1 release
- this Thursday
- finish up this week (release critical)
- release-critical issue management: Liza
- release-critical review management: Mo
- Ben: Tan Stack
- Chris: workflow
- Christoph: scraper-data update before constraints
- Tester: Vseslav (Friday ok)
- Hannes: Nextcloud Maintenance Window starting Tuesday 8:00
- Development Board:
- Ben
- Chris(toph) Kraus
- Christoph Schreiner
- Hannes*
- Justus*
- Liza*
- Lukas (not here)
- Maiia
- Moritz
- Mo(ritz) Adelsberger*
- Patrick
- Vseslav Levchenko
- Tasks for Everyone
Outlook
- Chris: new test workflow
- retrospective
- 1.0.* decision states (editor decision, brushing)
- Moritz: experimental+vite
- Warme Dusche Maiia
- status round:
- roles
Tasks for Everyone
Tasks to be done until latest Thursday 05.03.2026 23:59:
- as always: approve and/or comment on the license
- unterschriebenen Contributors Agreement mit dem Dateinamen vorname_nachname_matrnr.pdf auf https://cloud.perma.health/s/C7NwRCckz6mcTFN hochladen
- release critical issues+MRs reviewen+fixen
- Weekly Regular Tasks
- RQ: Terminonlogy reviewen
- dev setups
.envfixen:- fix URL auth.perma.health
- fix localhost, 0.0.0.0 as preferred
Statistics (19.02.2026 - 26.02.2026)
Merge Request approved
Raab, Markus: 13 Müller, Alfons: 8 Mokshantseva, Elizaveta: 6 Adelsberger, Moritz: 5 Kuzmishyna, Maiia: 5 Schreiner, Christoph: 5 Levchenko, Vseslav: 4 Muth, Moritz: 4 Graßl, Patrick: 3 Bachinger, Paul: 2 Stummer, Eszter: 2 Kraus, Christoph: 1 Schlegel, Ben: 1 Weilguni, Justus: 1
Issue progress (status changes + closed)/ total assigned
Adelsberger, Moritz: 5/5 Bachinger, Paul: 2/4 Dinu-Coreth, Andrei Cristian: 0/2 Graßl, Patrick: 1/8 Kraus, Christoph: 1/12 Kuzmishyna, Maiia: 8/13 Levchenko, Vseslav: 7/14 Mokshantseva, Elizaveta: 5/9 Muth, Moritz: 2/13 Müller, Alfons: 15/15 Oberhauser, Lukas: 3/4 Schlegel, Ben: 0/8 Schreiner, Christoph: 3/9 Weilguni, Justus: 8/16 Wutscher, Richard: 0/2 Zettl, Hannes: 0/5 Total: 60 / 139
Did Not Approve Last Meeting Notes In Time
- Hannes
Talks
- upcoming talks:
- Patrick (09.03, Security from DevOps)
- Hannes (TBD, Debugging Nextcloud Images, CORS etc.)
- Mo (TBD)
- Lukas (TBD)
- Vseslav (TBD)
- done talks:
- Ben (02.03., FLOSS refactoring on library upgrades)
- Maiia (27.10. socratic questioning on RQ)
- Liza (03.11.2025, PM)
- Paul (10.11., Running Meetings That Don't Waste Time)
- Alfons (17.11., methodology)
- Justus (24.11., Debugging+Logging in the Backend)
- Andrei (01.12., performance, RQ, Method)
- Paul: (15.12 efficient issue refinement)
- Moritz (29.12., pitfalls about pagination&endless scrolling)
- Christoph Schreiner: 12.1. final thesis presentation, developer-central
- Chris(toph) Kraus (02.02., workflow+developer perspective of e2e tests)
Meeting Notes
- 09:00 start
- Meeting notes: Liza
- status round
- Christoph: continued work on database constraints
- Ben: reviewed MRs and did presentation
- Hannes: biggest MR about to merge
- Justus: worked on thesis
- Liza: problems with caching
- Maiia: reviews, talked with Vseslav, worked on new issues
- Mo: worked on some issues
- Moritz: did some reviews, didn't have much time
- Vseslav: worked on issues
- Ben (02.03., FLOSS refactoring on library upgrades)
- Refactor: no new logic, just improved readability
- Why? maintainability
- Example: renamed functions
- start small
- Validation: does it still work the same?
- new license
- LICENSE
- which licenses to be allowed for dev use?
- Apache? suggest other licenses you would need
- new contributors agreement: https://cloud.perma.health/s/JGjafNMLEyjRXSo
- bitte unterschriebenen Contributors Agreement mit dem Dateinamen vorname_nachname_matrnr.pdf auf https://cloud.perma.health/s/C7NwRCckz6mcTFN hochladen
- AI tools not allowed to generate code (unclear license)
- contributors agreement will be also included in Onboarding for members (Justus)
- offboarding:
- Richard+Johannes abgeschlossen
- next: Maiia
- dev setups
.env:- fix URL auth.perma.health
- fix localhost, 0.0.0.0 as preferred
- thesis:
- sequential reading
- context
- abstract (4 sentences: context, problem, method, results)
- infrastructure:
- Create incident, if something doesn't work
- hz-production
- keycloak handover to Mo and Lukas
- please create incidents if anything does not work
- 1.0.1 release
- this Thursday
- finish up this week (release critical)
- release-critical issue management: Liza
- look if issues are in review by Wednesday
- release-critical review management: Mo
- Tester: Vseslav (Friday)
- Development Board:
- Alfons
- Ben
- Chris(toph) Kraus
- Christoph Schreiner
- Hannes
- Justus
- Liza
- Lukas
- Maiia
- Moritz
- Mo(ritz) Adelsberger
- Patrick
- Vseslav Levchenko
- Tasks for Everyone
Meeting 09.03.2026
Attendees
- Markus
- Chris(toph) Kraus
- Christoph Schreiner
- Elia
- Hannes
- Justus
- Liza
- Lukas
- Maiia
- Mo(ritz) Adelsberger
- Moritz
- Patrick
- Peter
- Vseslav
Not here:
- Ben
Buddies
- Moritz & Patrick
- Maiia & Alfons
- Christoph & Liza & Vseslav
- Ben & Chris
- Justus & Hannes
- Elia & Peter
Success Partners
- Maiia & Moritz (Frontend)
- Ben & Alfons (Frontend)
- Liza & Christoph (Libero)
- Hannes & Chris (Tooling)
- Patrick & Justus (Backend)
Special Partners
- Hannes & Peter (Nextcloud)
- Maiia & Lukas (Übergabe Performance)
- Maiia & Elia (Übergabe Frontend)
- Vseslav & Elia (Übergabe Guided Tour)
- Christoph & Vseslav (Übergabe Scraper Data)
Agenda
-
09:00 start
-
Welcome: Elia and Peter
- Beitrag zur Nachhaltigkeit (https://cloud.perma.health/f/1792059)
-
Meeting notes: Patrick (Backup: Moritz)
-
Status release 1.0.1:
- master gemerged
- rolled out master+www in progress
- mr.permaplant.net
- hot fixes (landing page) pending
- Vseslav: testing today (Monday)
-
signatures
- Unterschrift sollte voller Name inkl. Titel sein.
- Nachnamen mit Maus zeichnen, oder auch Unterschrift mit copy&paste reinschneiden (e.H. daneben dazuschreiben weil faksimiliert)
-
1.0.* decision states (editor decision, brushing): Peter
-
status round:
- roles
-
Warme Dusche Maiia
-
- Ben (not here)
- Chris(toph) Kraus (not here)
- Christoph Schreiner
- Elia
- Hannes
- Justus
- Liza
- Lukas
- Maiia
- Moritz
- Mo(ritz) Adelsberger
- Patrick
- Peter
- Vseslav Levchenko
- Tasks for Everyone
Outlook
- Liza: retrospective
- Chris: new e2e test workflow
- checkbox in MR template
- Moritz: experimental+vite
- environment
Tasks for Everyone
Tasks to be done until latest Thursday 12.03.2026 23:59:
- Weekly Regular Tasks
- contributors agreement: https://cloud.perma.health/s/JGjafNMLEyjRXSo
- bitte unterschriebenen mit dem Dateinamen vorname_nachname_matrnr.pdf auf https://cloud.perma.health/s/C7NwRCckz6mcTFN hochladen
- update to recent dev branch (because of Perma Realm and e2e fixes)
- think about date+topic for your talk
- reflect on your contribution on future stability and maturing of PermaplanT
- working title for your thesis in submissions repository
Statistics (26.02.2026 - 05.03.2026)
Merge Request approved
Raab, Markus: 13 Müller, Alfons: 8 Mokshantseva, Elizaveta: 6 Adelsberger, Moritz: 5 Kuzmishyna, Maiia: 5 Schreiner, Christoph: 5 Levchenko, Vseslav: 4 Muth, Moritz: 4 Graßl, Patrick: 3 Bachinger, Paul: 2 Stummer, Eszter: 2 Kraus, Christoph: 1 Schlegel, Ben: 1 Weilguni, Justus: 1
Issue progress (status changes + closed)/ total assigned
Adelsberger, Moritz: 5/5 Bachinger, Paul: 2/4 Dinu-Coreth, Andrei Cristian: 0/2 Graßl, Patrick: 1/8 Kraus, Christoph: 1/12 Kuzmishyna, Maiia: 8/13 Levchenko, Vseslav: 7/14 Mokshantseva, Elizaveta: 5/9 Muth, Moritz: 2/13 Müller, Alfons: 15/15 Oberhauser, Lukas: 3/4 Schlegel, Ben: 0/8 Schreiner, Christoph: 3/9 Weilguni, Justus: 8/16 Wutscher, Richard: 0/2 Zettl, Hannes: 0/5 Total: 60 / 139
Did Not Approve Last Meeting Notes In Time
- Chris
- Ben
Talks
- upcoming talks:
- Liza: 16.03, retrospective
- Patrick (TBD, Security from DevOps)
- Hannes (TBD, Debugging Nextcloud Images, CORS etc.)
- Mo (TBD)
- Lukas (TBD)
- Vseslav (TBD)
- Peter (TBD)
- Elia (TBD)
- done talks:
- Ben (02.03., FLOSS refactoring on library upgrades)
- Maiia (27.10. socratic questioning on RQ)
- Liza (03.11.2025, PM)
- Paul (10.11., Running Meetings That Don't Waste Time)
- Alfons (17.11., methodology)
- Justus (24.11., Debugging+Logging in the Backend)
- Andrei (01.12., performance, RQ, Method)
- Paul: (15.12 efficient issue refinement)
- Moritz (29.12., pitfalls about pagination&endless scrolling)
- Christoph Schreiner: 12.1. final thesis presentation, developer-central
- Chris(toph) Kraus (02.02., workflow+developer perspective of e2e tests)
Meeting Notes
- 09:00 start
- Meeting notes: Patrick (Backup: Moritz)
- Welcome: Elia and Peter
- Slides: https://bbb.perma.health/bigbluebutton/presentation/4012c26140cb7f68e9deac0851b48a919c0849d8-1773042458006/4012c26140cb7f68e9deac0851b48a919c0849d8-1773042458006/3aa9ed1b6e98efacaedeb8099cf3782115b8ff12-1773042458044/pdf/wy7tddmy222c5fjx/annotated_slides.pdf
- Peter: backend & (nextcloud) integration
- Elia: guided tour & usability
- Beitrag zur Nachhaltigkeit - see Slides
- went over partners/buddies and hand overs
- Patrick (09.03, Security from DevOps)
- moved to next week due to sickness
- talks added to tasks for everyone for the new semester / members
- Status release 1.0.1:
- rebase onto dev to fix perma realm rename consequences, which broke a lot of references and services
- master gemerged
- mr.permaplant.net
- hot fixes (landing page) pending
- signatures
- Unterschrift sollte voller Name inkl. Titel sein.
- Nachnamen mit Maus zeichnen, oder auch Unterschrift mit copy&paste reinschneiden (e.H. daneben dazuschreiben weil faksimiliert)
- Markus: reassigned decisions, usecases and workflows as part of meeting MR
- Assignment Review
- Chris: new e2e test workflow
- moved to next week, post release
- 1.0.* decision states (editor decision, brushing): Peter
- Moritz: experimental+vite
- break
- Warme Dusche Maiia
- status round:
- roles
- Development Board:
- Ben: not present
- Chris(toph) Kraus: was not here
- Christoph Schreiner: test cases, plant hierarchy hand over to Vseslav
- Elia
- Hannes: h1 work is sluggish due to the slow network connection - will be revisited on Friday
- Justus: keycloak is in progress, mautic and nextcloud account creation will follow, landing page fixes, onboarding waiting for container, suggested staging keycloak server
- Liza: hand over workflow to Peter,
- Lukas: error fetching collaborators persists, keycloak staging issue added
- Maiia: decision will be made for broken marker bug, performance issues will be handover to Lukas
- Moritz: usability wil be handed over to Lukas, focus on thesis
- Mo(ritz) Adelsberger: tls will be done via dns/http challenge to avoid port problem
- Patrick: hz-production jenkins agent deployed for now as v2 is in work
- Peter: onboarding, issue review
- Vseslav Levchenko: testing
- Tasks for Everyone:
- retrospective next week, think about possible improvements
- sign and upload new agreement
- think about talk topic and date;
- Tasks for new members:
- submit working title for thesis in submission repo
Meeting 16.03.2026
Attendees
- Markus
- Christoph Schreiner
- Chris(toph) Kraus
- Elia
- Hannes
- Ines (first time)
- Justus
- Liza
- Lukas
- Maiia
- Moritz
- Mo(ritz) Adelsberger
- Patrick
- Peter
- Vseslav
Not here (unexcused):
- Ben (unexcused)
Buddies
- Moritz & Patrick *
- Christoph & Liza *
- Ben & Chris
- Justus & Hannes *
- Elia & Peter *
- Vseslav & Ines
- Lukas & Mo *
Success Partners
- Maiia & Moritz (Frontend) *
- Ben & Elia (Frontend)
- Vseslav & Chris (Tooling) *
- Mo & Justus (Backend) *
- Ines & Liza (Quality)
- Peter & Hannes (Nextcloud) *
- Patrick & Lukas (Infrastructure) *
Special Partners
- Hannes & Peter (Nextcloud)
- Maiia & Ines (Übergabe Performance)
- Maiia & Elia & Ines (Übergabe Frontend)
- Vseslav & Elia (Übergabe Guided Tour)
- Christoph & Vseslav (Übergabe Scraper Data)
Agenda
- 09:00 start
- Meeting notes: Hannes
- Liza: retrospective
- Weather Report
- Better review motivation+guidelines+workflows
- better quality MRs to review: review guidelines etc.
- Welcome: Ines
- Describe your Buddy or Success Partner
- One-Word Check‑In, ask everyone to share one word that describes how they’re arrived to the meeting.
- Quick Intro in Qualities
- focus on quality, take your time
- no hurry
- Chris: workflow talk
- how to write manual tests
- how to create issues about e2e failures
- Talk next week: Patrick?
- 1.0.1 update:
- Monday:
- landing page updates (Elia)
- maybe some doc/bug fixes (that don't have risks to introduce problems)
- help out with release critical MRs, also do rebase etc. as needed
- maybe Keycloak upgrade (Lukas)
- Tuesday:
- Lukas: Testing and release
- Wednesday:
- Announcements etc.
- First Members
- Moritz: experiences with experimental+vite
- Status round:
- Development Board:
- Ben (not here)
- Chris(toph) Kraus *
- Christoph Schreiner *
- Elia *
- Hannes *
- Justus *
- Liza *
- Lukas *
- Maiia *
- Moritz *
- Mo(ritz) Adelsberger *
- Patrick *
- Peter *
- Vseslav Levchenko *
- Ines *
- Tasks for Everyone
Outlook
- Chris Talk: new e2e test workflow
- checkbox in MR template
- reviews motivation (20%)+process
- focus on quality, take your time
- no hurry
Tasks for Everyone
Tasks to be done until latest Thursday 19.03.2026 23:59:
- Weekly Regular Tasks
- search background paper, add a sentece about it in submissions repo
- update README.md in submissions as needed (working title, buddies, etc.)
Statistics (05.03.2026 - 12.03.2026)
Merge Request approved
Raab, Markus: 13 Müller, Alfons: 8 Mokshantseva, Elizaveta: 6 Adelsberger, Moritz: 5 Kuzmishyna, Maiia: 5 Schreiner, Christoph: 5 Levchenko, Vseslav: 4 Muth, Moritz: 4 Graßl, Patrick: 3 Bachinger, Paul: 2 Stummer, Eszter: 2 Kraus, Christoph: 1 Schlegel, Ben: 1 Weilguni, Justus: 1
Issue progress (status changes + closed)/ total assigned
Adelsberger, Moritz: 5/5 Bachinger, Paul: 2/4 Dinu-Coreth, Andrei Cristian: 0/2 Graßl, Patrick: 1/8 Kraus, Christoph: 1/12 Kuzmishyna, Maiia: 8/13 Levchenko, Vseslav: 7/14 Mokshantseva, Elizaveta: 5/9 Muth, Moritz: 2/13 Müller, Alfons: 15/15 Oberhauser, Lukas: 3/4 Schlegel, Ben: 0/8 Schreiner, Christoph: 3/9 Weilguni, Justus: 8/16 Wutscher, Richard: 0/2 Zettl, Hannes: 0/5 Total: 60 / 139
Did Not Approve Last Meeting Notes In Time
Talks
- upcoming talks:
- Liza: 16.03, retrospective
- Patrick (TBD, Security from DevOps)
- Hannes (TBD, Debugging Nextcloud Images, CORS etc.)
- Mo (TBD)
- Lukas (TBD)
- Vseslav (TBD)
- Peter (TBD)
- Elia (TBD)
- Ines (TBD)
- done talks:
- Ben (02.03., FLOSS refactoring on library upgrades)
- Maiia (27.10. socratic questioning on RQ)
- Liza (03.11.2025, PM)
- Paul (10.11., Running Meetings That Don't Waste Time)
- Alfons (17.11., methodology)
- Justus (24.11., Debugging+Logging in the Backend)
- Andrei (01.12., performance, RQ, Method)
- Paul: (15.12 efficient issue refinement)
- Moritz (29.12., pitfalls about pagination&endless scrolling)
- Christoph Schreiner: 12.1. final thesis presentation, developer-central
- Chris(toph) Kraus (02.02., workflow+developer perspective of e2e tests)
Meeting Notes
- weather report: mostly partly cloudy, very happy with 1.0.1 release
- Retrospective:
- retro report:
- pain sight (what hurts):
- regressions
- slow MRs and reviews
- unstable e2e tests
- stability of infrastructure host environments and jenkins
- change durability issues (changes disappearing in deployments)
- insight (what works):
- infrastructure team is stable now
- keycloak issues resolved
- 1.0.1 release went very well
- new hetzner environment (hz servers work very well)
- foresight (what next):
- implementaion of e2e workflow and improvements
- landing page update
- get MRs merged
- move slower and focus on quality improvements and stability of what we have currently in place
- takeaways:
- review process needs to be improved (too few people available for review and review process is slow)
- engagement in Gitlab can be improved
- workflow improvements
- little steps from now on + focus on the quality
- we have a very stable team now
- introduction round as welcome for Ines:
- success partners and buddies have changed and mixed up so it makes more sense
- we introduced either our buddy or successpartner or ourselves
- Maiia introduces Moritz:
- frontend with focus on mobile
- does things very thorougly
- Moritz introduces Patrick:
- nice and chill guy
- focused on infrastructure
- Patrick introduces Lukas:
- still new to the project, but nice to work with
- focuses on keycloak
- Lukas introduces Mo:
- mostly infrastructure (ansible, certificates, proxmox)
- very helpful and always here to help
- Mo introduces Justus:
- pretty new in infrastructure
- Rust and Backend work, very solid things
- add-on from Justus: in transition from backend
- Justus introduces Hannes:
- mostly in infrastructure (nexcloud especially)
- seems like chill guy
- Hannes introduces himself and Peter
- also does maintenance and works on the staging infrastructure
- seems like a nice guy
- Peter introduces himself
- new to the project
- Elia introduces himself:
- new to the project
- works on frontend
- Christoph introduces Liza:
- works on project management
- does good work there
- nice person
- Liza introduces Christoph:
- working on the scraper data mostly
- very nice person
- Chris introduces Vseslav:
- not too much interaction yet
- very productive with his reviews
- works on e2e mainly
- Vseslav introduces Chris:
- very good quality reviews
- nice person and knowledgeable about his topics
- Moritz introduces Maiia:
- mostly works on frontend + frontend performance
- gives good input for Moritz's topics
- a lot of knowledge in React
- Ines introduces herself:
- new to the project
- bsc thesis in performance improvement
- Markus's guide on Issues:
- focus on making issues clear, so ask questions, reduce ambiguity, enforce clarity
issue-confirmedlabel is when above is done- in one week we should look into
issue-review, then move it toissue-confirmed, afterwardscurrent-sprint, andin-progress - ideally, issues are resolved in 3 weeks
- in the current week, we need excpetions due to the release and the changes in the team
- Landing page status update: update the landing page with the goal that on wednesday the onboarding works for a real user
Meeting 23.03.2026
Attendees
- Markus
- Chris(toph) Kraus
- Christoph Schreiner
- Hannes
- Ines
- Justus
- Liza
- Maiia
- Moritz
- Mo(ritz) Adelsberger
- Peter
- Vseslav
Not here (unexcused):
- Ben
- Lukas
Cannot come (sick):
- Elia
- Patrick
Buddies
- Moritz & Patrick
- Christoph & Liza
- Ben & Chris
- Justus & Hannes
- Elia & Peter
- Vseslav & Ines
- Lukas & Mo
Success Partners
- Maiia & Moritz (Frontend)
- Ben & Elia (Frontend)
- Vseslav & Chris (Tooling)
- Mo & Justus (Backend)
- Ines & Liza (Quality)
- Peter & Hannes (Nextcloud)
- Patrick & Lukas (Infrastructure)
Special Partners
- Hannes & Peter (Nextcloud)
- Maiia & Ines (Übergabe Performance)
- Maiia & Elia & Ines (Übergabe Frontend)
- Vseslav & Elia (Übergabe Guided Tour)
- Christoph & Vseslav (Übergabe Scraper Data)
Agenda
- 09:00 start
- Meeting notes: Vseslav
- Everyone picks an emoji that represents their day and explains it in one sentence.
- Vote: Should CI automatically fix formatting errors?
- Vote: Language?
- apricots and cherry blossom 🌸
- motivation:
- not only the grade
- create sustainable earth surface
- being proud excellent work
- diversity
- relay
- commit as many mistakes as possible
- but not twice
- be open about them
- and report so that we can learn from them
- process/learning is part of finishing thesis
- round: what you learned from mistakes
- if issue is unclear reflect in own words
- gitlab workflow
- Pq4r method for understading information like academic texts or documentation or descriptions: https://subjectguides.york.ac.uk/study-revision/pq4r-method
- testing first
- iteration also on thesis (feature scope)
- focus on quality, take your time
- no hurry
- less is more
- Chris Talk: new e2e test workflow
- Presentation:
- checkbox in MR template
- 10/20/70 rule
- reviews motivation (20%)+process
- further weekly iteration obligations
- move along all issues and give feedback to your issues
- report if anything is blocking you/took much time so that PM can improve
- 1.0.1 after-release status
- BaseLayerImages
- cloud.perma.health update
- now perma.health transition completed
- Keycloak login is default
- new announcements: https://cloud.perma.health/call/h94fhiqk
- Justus Warme dusche
- make MR Checklists shorter:
- "Details of what I changed are in the commit messages." removed
- also several lines in changelog are okay
- Please keep the "Delete source branch" ticked
- review workflows: do tests or do code review, write what you did
- Development Board:
-
Ben (not here)
-
Chris(toph) Kraus
-
Christoph Schreiner
-
Elia (not here)
-
Hannes
-
Justus
-
Liza
-
Lukas (not here)
-
Maiia
-
Ines
-
Moritz
-
Mo(ritz) Adelsberger
-
Patrick (not here)
-
Peter
-
Vseslav Levchenko
-
Tasks for Everyone
-
Outlook
Tasks for Everyone
Tasks to be done until latest Thursday 26.03.2026 23:59:
- Weekly Regular Tasks
- search background paper, add a sentence about it in submissions repo
- update README.md in submissions as needed (working title, buddies, etc.)
- get topic+date for talk
Statistics (12.03.2026 - 19.03.2026)
Merge Request approved
Raab, Markus: 13 Müller, Alfons: 8 Mokshantseva, Elizaveta: 6 Adelsberger, Moritz: 5 Kuzmishyna, Maiia: 5 Schreiner, Christoph: 5 Levchenko, Vseslav: 4 Muth, Moritz: 4 Graßl, Patrick: 3 Bachinger, Paul: 2 Stummer, Eszter: 2 Kraus, Christoph: 1 Schlegel, Ben: 1 Weilguni, Justus: 1
Issue progress (status changes + closed)/ total assigned
Adelsberger, Moritz: 5/5 Bachinger, Paul: 2/4 Dinu-Coreth, Andrei Cristian: 0/2 Graßl, Patrick: 1/8 Kraus, Christoph: 1/12 Kuzmishyna, Maiia: 8/13 Levchenko, Vseslav: 7/14 Mokshantseva, Elizaveta: 5/9 Muth, Moritz: 2/13 Müller, Alfons: 15/15 Oberhauser, Lukas: 3/4 Schlegel, Ben: 0/8 Schreiner, Christoph: 3/9 Weilguni, Justus: 8/16 Wutscher, Richard: 0/2 Zettl, Hannes: 0/5 Total: 60 / 139
Did Not Approve Last Meeting Notes In Time
- Ben
Talks
- upcoming talks:
- Patrick (TBD, Security from DevOps)
- Hannes (TBD, Debugging Nextcloud Images, CORS etc.)
- Mo (TBD)
- Lukas (TBD)
- Vseslav (TBD)
- Peter (TBD)
- Elia (TBD)
- Ines (TBD)
- done talks:
- Liza: 16.03, retrospective
- Ben (02.03., FLOSS refactoring on library upgrades)
- Maiia (27.10. socratic questioning on RQ)
- Liza (03.11.2025, PM)
- Paul (10.11., Running Meetings That Don't Waste Time)
- Alfons (17.11., methodology)
- Justus (24.11., Debugging+Logging in the Backend)
- Andrei (01.12., performance, RQ, Method)
- Paul: (15.12 efficient issue refinement)
- Moritz (29.12., pitfalls about pagination&endless scrolling)
- Christoph Schreiner: 12.1. final thesis presentation, developer-central
- Chris(toph) Kraus (02.02., workflow+developer perspective of e2e tests)
Meeting Notes
- 09:00 start
- Meeting notes: Lukas (Backup: Vseslav)
- Everyone picks an emoji that represents their day and explains it in one sentence.
- Vote: Which language should we use in meetings?
Both fine - 8 English - 2
Decision - stick to English.
- Vote: Should CI automatically fix formatting errors?
Yes - 3 No - 6 I don't care - 1 Both fine - 1
Decision - no.
- apricots and cherry blossom 🌸
- motivation:
- not only the grade
- create sustainable earth surface
- being proud excellent work
- commit as many mistakes as possible
- but not twice
- and report so that we can learn from them
- process/learning is part of finishing thesis
- round: what you learned from errors
Markus: - biggest mistake: putting too much into one release, making it take longer - fix: split things, put non-critical things off when possible
Chris: - biggest mistake: not having a clean and stable for e2e tests - fix: a stable environment that's well used for tests
Christoph: - biggest mistake: always trying to make a perfect MR fixing everything, including things that aren't problems - fix: some things can be split or put off
Hannes: - biggest mistake: difficult to know when it's ok to go and ask for help - fix: structurally write down and recite what is my understanding of something and then ask someone to verify it (this helps to think more clearly)
Ines: - biggest mistake: often confused by git commands - fix: learn and practice more
Justus: - biggest mistake: tend to lose the scope when researching something, hard to maintain structure - fix: focus on one topic without getting too much off track
Liza: - biggest mistake: working on bigger ideas and forgetting smaller issues - fix: work on smaller issues more
Maiia: - biggest mistake: honey shouldn't be microwaved for more than a couple of seconds; implementing new solution with not enough testing - fix: any kind of experimental solution has to be tested as early as possible
Mo: - biggest mistake: rolling playbooks out on production - fix: wait/test until rolling out major infrastructure features
Moritz: - biggest mistake: always trying to get everything right the first time - fix: more efficient, iterated ways of implementation
Peter: - biggest mistake: underestimating how long certain issues take - fix: plan for pitfalls, edge cases, etc.
Vseslav: - biggest mistake: rushing to implement features without looking up existing code/templates/solutions for specific issues - fix: learn off other people's code for more efficiency
- Chris Talk: new e2e test workflow
- Overview:
- E2E tests check if the whole system works as expected, from start to finish, just like a real user would interact with it
- Currently 82 E2E tests; 70 more are in MR !2193
- Goal - make sure most "Done" use cases are covered by E2E tests
- Running E2E tests is a required step in the CI/CD pipeline before code gets deployed
- Debugging:
- Check
test-report/report.htmlfor E2E runs console output - Videos of test runs are available
- Use
--slowdownoption to slow down the tests and actually see - Trace files are generated (use https://trace.playwright.dev/) for better debugging
- To see the browser in action, use
--headedflag while running the tests
- Check
- Workflow introduction:
- Purpose: standardize process for transforming use cases to E2E tests
- Audience: developers, testers, QA
- Ensures comprehensive, reliable, automatic and consistent test coverage
- Step 1.
- Who: developer, tester, QA
- When: new features, before marking use case "done", expanding coverage, fixing bugs
- Actions:
- Read use case docs
- Check for missing/unclear tests
- Review manual & E2E test files
- Create issues for missing/unclear tests
- Result: issues created for writing or improving tests
- Step 2.
- Who: developer, domai nexpert, tester, QA
- Actions:
- Analyze which scenarios need tests (main, alt, error)
- Decide on manual vs e2e
- Identify smoke tests, dependencies, complexity
- Result: Issue has detailed test proposal for prioritization
- Step 3.
- Who: product manager (with dev/QA input)
- Actions:
- PM sets Level of Criticality
- Dev/QA provides technical metrics (complexity, regression likelihood, execution time)
- Step 4.
- Who: tester/contributor
- When: during feature impl. or after issue creation
- Actions:
- Write Gherkin test cases
- Follow manual testing guidelines
- Measure and record exec time
- Result: manual tests ready for MR
- Step 5. Create MR
- Step 6. Merge
- Step 7. Implement E2E tests
- Who: developer
- When: after manual tests are merged
- Actions:
- Create e2e scenarios
- follow e2e guidelines
- tag tests as needed
- remove automated scenarios for manual tests
- Result: e2e tests ready for MR
- Step 8. Create E2E MR
- Step 9. Test and merge
- Step 10. Update use case with coverage status
- Who: developer/tester
- When: after all MRs for a use case are merged
- Actions:
- Mark use case as done if fully covered
- Update doc with tests
- Result: use cases fully covered
- Special cases
- If a use case is already marked done but test cases are missing: follow full workflow
- If feature is merged before tests are ready: create high priority issue to add missing tests
- Overview:
Vote: Do you need videos for e2e tests on CI? No - 6 Abstained - 1 Maybe - 4
- checkbox in MR template
- 10/20/70 rule
- reviews motivation (20%)+process
- further weekly iteration obligations
- move along all issues and give feedback to your issues
- report if anything is blocking you/took much time so that PM can improve
- focus on quality, take your time
- no hurry
- less is more
- 1.0.1 after-release status
- BaseLayerImages
- icons
- base layer
- Maiia
- cloud.perma.health update
- now perma.health transition completed
- Keycloak login is default
- new announcements: https://cloud.perma.health/call/h94fhiqk
- Justus Warme dusche
- make MR Checklists shorter:
- "Details of what I changed are in the commit messages." removed
- also several lines inc hangelog are okay
- Please keep the "Delete source branch" ticked
- review workflows: do tests or do code review, write what you did
- Development Board:
- Ben (not here)
- Chris(toph) Kraus
- Christoph Schreiner
- Elia (not here)
- Hannes
- Justus
- Liza
- Lukas (not here)
- Maiia
- Moritz
- Mo(ritz) Adelsberger
- Patrick (not here)
- Peter
- Vseslav Levchenko
- Ines
- Tasks for Everyone
Meeting 30.03.2026
Next Meeting
Due to holiday next week is no meeting, we see each other again 13.01.2026. Nevertheless we do normal weekly iterations, simply without a meeting.
Attendees
- Markus
- Chris(toph) Kraus
- Christoph Schreiner
- Elia
- Hannes
- Ines
- Liza
- Lukas
- Moritz
- Mo(ritz) Adelsberger
- Patrick
- Peter
- Vseslav
- Helene (only listen)
Not here:
- Ben
Buddies
- Moritz & Patrick
- Christoph & Liza
- Ben & Chris
- Justus & Hannes
- Elia & Peter
- Vseslav & Ines
- Lukas & Mo
Success Partners
- Maiia & Moritz (Frontend)
- Ben & Elia (Frontend)
- Vseslav & Chris (Tooling)
- Mo & Justus (Backend)
- Ines & Liza (Quality)
- Peter & Hannes (Nextcloud)
- Patrick & Lukas (Infrastructure)
Special Partners
- Hannes & Peter (Nextcloud)
- Maiia & Ines (Übergabe Performance)
- Maiia & Elia & Ines (Übergabe Frontend)
- Vseslav & Elia (Übergabe Guided Tour)
- Christoph & Vseslav (Übergabe Scraper Data)
Agenda
- 09:00 start
- Talks:
- Patrick: Security from DevOps Perspective: DevSecOps
- Meeting notes: Chris(toph) Kraus
- Security:
- Security incident about passwords from testing accounts
- Nextcloud Passwords
- Keycloak 2FA:
- https://auth.perma.health/realms/Perma/protocol/openid-connect/auth?client_id=PermaplanT-Prod&response_type=code&scope=openid&redirect_uri=https%3A%2F%2Fwww.permaplant.net&kc_action=CONFIGURE_TOTP
- Liza: intro in PM/dev workflows
- Liza: time estimation in issue template via /
- One-Word Check-In
Everyone describes how they feel in exactly one word.
Twist: The next person must choose a word starting with the last letter of the previous one. - technicalities:
- different comments in GitLab
- pushing vs. suggestions
- incident vs. issues
- English writing:
- use of symbols in thesis, e.g., parentheses (say that information this information is not essential but also function call etc.)
- consistency, also symbols or formatting can be defined
- proper workflows:
- first clarify terminology (glossary), workflows and guidelines
- it is easy to create mess, difficult to clean up
- please read documentation guidelines:
- small clarifications in usage of links
- feedback round: terminology, workflows and guidelines
- next step: cleanup of MRs
- manually triggered pipeline with branch selection
- Verein:
- Saison gestartet
- we have first members!
- Statuten ab 1.3. voll rechtskräftig (gemeinnützig und mildtätig)
- Org:
- meeting notes always in "meetings" branch, initially copied by Markus
- invitation&reminding
- Dev:
- Moritz: experimental branch proper setup?
- Development Board
- Chris(toph) Kraus*
- Christoph Schreiner*
- Elia*
- Hannes*
- Liza*
- Lukas*
- Ines*
- Moritz*
- Mo(ritz) Adelsberger*
- Patrick*
- Peter*
- Vseslav Levchenko
Outlook
Tasks for Everyone
Tasks to be done until latest Thursday 02.04.2026 23:59 (normal iteration!):
- suggest a talk in the meeting MR
- cleanup of your MRs: check if there are issues in iteration to all your open MRs
- submit some text with some terms/definitions relevant for your thesis
- Weekly Regular Tasks
Statistics (19.03.2026 - 26.03.2026)
Merge Request approved
Raab, Markus: 13 Müller, Alfons: 8 Mokshantseva, Elizaveta: 6 Adelsberger, Moritz: 5 Kuzmishyna, Maiia: 5 Schreiner, Christoph: 5 Levchenko, Vseslav: 4 Muth, Moritz: 4 Graßl, Patrick: 3 Bachinger, Paul: 2 Stummer, Eszter: 2 Kraus, Christoph: 1 Schlegel, Ben: 1 Weilguni, Justus: 1
Issue progress (status changes + closed)/ total assigned
Adelsberger, Moritz: 5/5 Bachinger, Paul: 2/4 Dinu-Coreth, Andrei Cristian: 0/2 Graßl, Patrick: 1/8 Kraus, Christoph: 1/12 Kuzmishyna, Maiia: 8/13 Levchenko, Vseslav: 7/14 Mokshantseva, Elizaveta: 5/9 Muth, Moritz: 2/13 Müller, Alfons: 15/15 Oberhauser, Lukas: 3/4 Schlegel, Ben: 0/8 Schreiner, Christoph: 3/9 Weilguni, Justus: 8/16 Wutscher, Richard: 0/2 Zettl, Hannes: 0/5 Total: 60 / 139
Did Not Approve Last Meeting Notes In Time
Meeting invitation was messed up, in the last iteration we had two meeting MRs.
Talks
- upcoming talks:
- Hannes (TBD, Debugging Nextcloud Images, CORS etc.)
- Mo (TBD)
- Lukas (TBD)
- Vseslav (TBD)
- Peter (TBD)
- Elia (TBD)
- Ines (TBD)
- done talks:
- Patrick (30.03, Security from DevOps)
- Liza: 16.03, retrospective
- Ben (02.03., FLOSS refactoring on library upgrades)
- Maiia (27.10. socratic questioning on RQ)
- Liza (03.11.2025, PM)
- Paul (10.11., Running Meetings That Don't Waste Time)
- Alfons (17.11., methodology)
- Justus (24.11., Debugging+Logging in the Backend)
- Andrei (01.12., performance, RQ, Method)
- Paul: (15.12 efficient issue refinement)
- Moritz (29.12., pitfalls about pagination&endless scrolling)
- Christoph Schreiner: 12.1. final thesis presentation, developer-central
- Chris(toph) Kraus (02.02., workflow+developer perspective of e2e tests)
Meeting Notes
- 09:00 start
- Talks:
- Patrick (Security from DevOps)
- Moritz asked: Any concerns running Ansible under a root user. Patrick says that if hardened correctly the risk can be minimized, but its a weakpoint.
- Markus: new strategy to normally not execute Ansible directly on the production machine.
- Meeting notes: Chris(toph)
- Liza: intro in PM/dev workflows
- Do time estimations in your issues to review.
- Write into the calender how much time you have next week.
- If an issues takes more than 40h, it should be split up.
- Questions:
- Markus: What analytics are you gathering? what are you trying to find out.
- Liza: How long an issues takes to finish, from the Issue Review to Done.
- One-Word Check-In
- Everyone describes how they feel in exactly one word.
- Twist: The next person must choose a word starting with the last letter of the previous one.
- Chris: Workflow
- Christoph: Wonderful
- Elia: LittleBitOfTired
- Hannes: Dreamy
- Helene: Yawn
- Ines: Nice
- Lukas: Euphoric
- Mo: Coding
- Moritz: Grumpy
- Patrick: Yawn
- Peter: N
- Vseslav: Driven
- technicalities:
- different comments in GitLab
- pushing vs. suggestions
- incident vs. issues
- English writing:
- use of symbols in thesis, e.g., parentheses: in normal English it says that information this information is not essential but in computer science it might mean a function call
- can be distinguished by formatting, like monospace
- consistency is important
- also symbols or formatting can be defined
- proper workflows:
- first clarify terminology (glossary), workflows and guidelines
- it is easy to create mess, difficult to clean up
- please read documentation guidelines:
- usage of links
- Keycloak 2FA:
- News:
- Maiia got certificate
- Verein:
- Saison gestartet
- we have first members!
- Statuten ab 1.3. voll rechtskräftig (gemeinnützig und mildtätig)
- Org:
- meeting notes always in "meetings" branch, initially copied by Markus
- invitation&reminding
- Dev:
- Moritz: experimental branch proper setup?
- Keycloak changes: language, OTP
- status round:
- Development Board
- Ben
- Chris(toph) Kraus: workflow feedback, enable image based tests again
- Christoph Schreiner: works on scraper override step
- Elia: FAQ for the help page
- Hannes: Terminology, define basic terms
- Liza: working on structure of thesis
- Lukas: started with research question this week
- Ines: looking at frontend performance and onboarding. Wants to start working on benchmarking.
- Moritz:
- Mo(ritz) Adelsberger: setting up staging with Hannes.
- Patrick: working on unexpected downtime of the pipeline
- Peter: setting up local dev env, now working on concepts how to do Nextcloud integration.
- Vseslav Levchenko: Wants to find a more specific topic for the thesis. Will finish up MRs.
Meeting 13.04.2026
Attendees
- Markus
- Elia
- Hannes
- Ines
- Liza
- Moritz
- Mo(ritz) Adelsberger
- Peter
- Vseslav
Cannot come:
- Lukas (excused)
Not here:
- Patrick (unexcused)
- Chris(toph) Kraus (unexcused)
- Christoph Schreiner (unexcused)
- Ben (unexcused)
Buddies
- Moritz & Patrick
- Christoph & Liza
- Ben & Chris
- Justus & Hannes
- Elia & Peter
- Vseslav & Ines
- Lukas & Mo
Success Partners
- Ben & Elia & Moritz (Frontend)
- Vseslav & Chris (Tooling)
- Mo & Justus (Backend)
- Ines & Liza (Quality)
- Peter & Hannes (Nextcloud)
- Patrick & Lukas (Infrastructure)
Special Partners
- Hannes & Peter (Nextcloud)
- Vseslav & Elia (Übergabe Guided Tour)
- Christoph & Vseslav (Übergabe Scraper Data)
Agenda
- 09:00 start
- Meeting notes: Liza
- Success Partner rearrangement (Frontend Success Partners)
- great to see many new submissions
- PermaplanTreffen:
- Juli/August/September?
- weekends?
- Welcome game: Everyone shares two true statements and one false one, and the group guesses which is the lie.
- right order:
- "Begin at the beginning and go on till you come to the end: then stop." (Alice in Wonderland)
- method before doing benchmarks
- correctness before speed
- concepts before details
- glossary before introduction
- confirm issues before working on them
- do reviews, invite others for review
- method: clustering/mind map
- can be done both on topic and your text
- sometimes very helpful to get a different view
- critical path:
- do issue reviews
- check if there are blockers (missing terminology, methods, challenging implementations)
- use GitLab to indicate blockers, create issues as needed
- status round:
- how are you?
- current blockers
- break until 09:58
- how to learn?
- read good papers, e.g. Johnson, A theoretician's guide to the experimental analysis of algorithms (partial help, they show end results, but don't help you with the process)
- write review guidelines: what do you want to have checked
- in case of doubt: summary in the review
- review more, it is the way to learn
- probably not AI https://arxiv.org/pdf/2506.08872v1
- already much more is known about GPS: https://www.sciencedirect.com/science/article/pii/S0272494424001907?via%3Dihub
- release planning:
- release next week
- PWA
- Zooming
- Development Board
- Chris(toph) Kraus (not here)
- Christoph Schreiner (not here)
- Elia
- Hannes
- Liza
- Lukas (not here)
- Ines
- Moritz
- Mo(ritz) Adelsberger
- Patrick (not here)
- Peter
- Vseslav
- next talks
- Tasks for everyone
Outlook
Tasks for Everyone
Tasks to be done until latest Thursday 16.04.2026 23:59:
- check for your release critical tasks: https://issues.permaplant.net/?sort=created_date&state=opened&label_name%5B%5D=priority%3A%3Arelease-critical&first_page_size=100
- Weekly Regular Tasks
- Umfrage PermaplanT welches Wochende Treffen (Sommer-Umfrage) https://cloud.perma.health/apps/polls/s/isHaV9zx
- wenn Contributors Agreement noch nicht gemacht (Justus, Ben, Chris, Hannes, Moritz): herunterladen von https://cloud.perma.health/s/JGjafNMLEyjRXSo und dann unterschrieben mit dem Dateinamen vorname_nachname_matrnr.pdf auf https://cloud.perma.health/s/C7NwRCckz6mcTFN hochladen
Optional Tasks:
Did Not Approve Last Meeting Notes In Time
- Elia
- Ben
- Ines
Statistics (03.04.2026 - 09.04.2026)
Merge Request approved
Levchenko, Vseslav: 3 Raab, Markus: 2 Graßl, Patrick: 1 Stummer, Eszter: 1
Issue progress (status changes + closed)/ total assigned
Adelsberger, Moritz: 1/4 Dinu-Coreth, Andrei Cristian: 0/1 Graßl, Patrick: 3/11 Kraus, Christoph: 1/10 Kuzmishyna, Maiia: 0/1 Levchenko, Vseslav: 3/13 Mokshantseva, Elizaveta: 0/8 Mrkonjic, Peter: 0/14 Muth, Moritz: 3/9 Oberhauser, Lukas: 0/4 Schlegel, Ben: 0/8 Schnabl, Ines Katharina: 2/13 Schreiner, Christoph: 2/10 Weilguni, Justus: 0/9 Wenty, Elia: 2/9 Zettl, Hannes: 0/1 Total: 17 / 125
Talks
- upcoming talks:
- Hannes (20.04., Maintenance from Dev perspective, report CI bugs)
- Vseslav (20.04., PostgreSQL tools&tricks, compare)
- Ines (27.04. static analysis, eslint, workflow)
- Peter (27.04. Nextcloud folder structure, )
- Elia (4.5. presenting study and dev feedback)
- Moritz (4.5., thesis presentation)
- Mo (DevOps)
- Lukas (TBD)
- done talks:
- Patrick (30.03, Security from DevOps)
- Liza: 16.03, retrospective
- Ben (02.03., FLOSS refactoring on library upgrades)
- Liza (03.11.2025, PM)
- Paul (10.11., Running Meetings That Don't Waste Time)
- Justus (24.11., Debugging+Logging in the Backend)
- Andrei (01.12., performance, RQ, Method)
- Paul: (15.12 efficient issue refinement)
- Moritz (29.12., pitfalls about pagination&endless scrolling)
- Christoph Schreiner: 12.1. final thesis presentation, developer-central
- Chris(toph) Kraus (02.02., workflow+developer perspective of e2e tests)
Meeting Notes
- 09:00 start
- Meeting notes: Liza
- Success Partner rearrangement (Frontend Success Partners)
- great to see many new submissions
- PermaplanTreffen:
- Juli/August/September?
- weekends?
- Results:
- Juli (4)
- August (4)
- September (4)
- Weekends (6)
- Other days (3)
- So Friday+Saturday are mostly in the survey, September will follow later as needed
- Welcome game: Everyone shares two true statements and one false one, and the group guesses which is the lie.
- right order:
- "Begin at the beginning and go on till you come to the end: then stop." (Alice in Wonderland)
- method before doing benchmarks
- correctness before speed
- concepts before details
- glossary before introduction
- confirm issues before working on them
- do reviews, invite others for review
- get a different view
- method: clustering/mind map
- can be done both on topic and your text
- sometimes very helpful to get a different view
- critical path:
- do issue reviews
- check if there are blockers (missing terminology, methods, challenging implementations)
- use GitLab to indicate blockers, create issues as needed
- status round:
- how are you?
- current blockers
- Elia: no reviews on research question
- Hannes: trying to reduce issue count
- Ines: lacking Motivation is the blocker
- Liza: Thesis
- Moritz: reviews missing
- Mo: not enough time
- how to learn?
- read good papers, e.g. Johnson, A theoretician's guide to the experimental analysis of algorithms (partial help, they show end results, but don't help you with the process)
- see also in submission repo
- only shows end result, not the process
- write review guidelines: what do you want to have checked
- if unsure: ask to paraphrase/summarize
- review more, it is the way to learn
- probably not AI https://arxiv.org/pdf/2506.08872v1
- already much more is known about GPS: https://www.sciencedirect.com/science/article/pii/S0272494424001907?via%3Dihub
- read good papers, e.g. Johnson, A theoretician's guide to the experimental analysis of algorithms (partial help, they show end results, but don't help you with the process)
- release planning: (see priority:release critical) https://issues.permaplant.net/?sort=created_date&state=opened&label_name%5B%5D=priority%3A%3Arelease-critical&first_page_size=100
- release next week
- PWA
- Zooming
- Development Board
- Chris(toph) Kraus
- Christoph Schreiner
- Elia
- Hannes
- Liza
- Lukas (not here)
- Ines
- Moritz
- Mo(ritz) Adelsberger
- Patrick
- Peter
- Vseslav
- next talks
- see above
- Tasks for everyone
- see above
Meeting 20.04.2026
Attendees
- Markus
- Chris(toph) Kraus
- Hannes
- Ines (bis 10:00)
- Liza
- Mo(ritz) Adelsberger
- Patrick
- Vseslav
Not here (unexcused):
- Lukas (unexcused)
- Christoph Schreiner (unexcused)
Cannot come (excused):
- Moritz (excused)
- Peter (excused)
- Elia (excused)
Buddies
- Moritz & Patrick
- Christoph & Liza
- Chris & Hannes
- Elia & Peter
- Vseslav & Ines
- Lukas & Mo
Success Partners
- Elia & Moritz (Frontend)
- Vseslav & Chris (Tooling)
- Mo & Justus (Backend)
- Ines & Liza (Quality)
- Peter & Hannes (Nextcloud)
- Patrick & Lukas (Infrastructure)
Special Partners
- Hannes & Peter (Nextcloud)
- Vseslav & Elia (Übergabe Guided Tour)
- Christoph & Vseslav (Übergabe Scraper Data)
Agenda
- 09:00 start
- Meeting notes: Mo
- Welcome game short, structured, energizing, Rose-Thorn-Bud
- Rose: something positive
- Thorn: something difficult
- Bud: something looking forward to
- “My Rose is one positive highlight, my Thorn is one current challenge, and my Bud is something I’m looking forward to.”
- Hannes (20.04., Maintenance from Dev perspective, report CI bugs)
- how to diagnose CI problems
- comment with "jenkins build please"
- how to report problems:
- assign Patrick
- template: CI
- use Incidents
- Vseslav (20.04., PostgreSQL tools&tricks, compare)
- EXPLAIN ANALYZE
- compare database
- PermaplanTreffen Fotos
- submissions repo
- self-merge
- make MRs dedicated for reviewing
- comment more about what you understand (or not), not what you would do
- review others, help with issues
- planT repo
- improvement of planT is the primary goal
- add test cases
- improve docu
- add then review guidelines to manage review nevertheless
- how to better progress
- Morgenseiten
- Abend entspannen
- what would help you for:
- better questions in issues
- smaller MRs
- more reviews
- feedback:
- follow-up issues
- better assignment, topics
- better description, less interpretation needed
- Hannes: more verbosity
- valuable feedback: how big is an issue
- Liza: Internet did not work
- status round
- where was progress
- what holds you back
- Release
- everyone: improve&review release critical MR https://pulls.permaplant.net/?sort=created_date&state=opened&label_name%5B%5D=priority%3A%3Arelease-critical&first_page_size=100
- Elia: planT testing
- Mo: release workflow
- Development Board
- Chris(toph) Kraus
- Christoph Schreiner (not here)
- Elia (not here)
- Hannes
- Ines
- Liza
- Lukas (not here)
- Mo(ritz) Adelsberger
- Moritz (not here)
- Patrick
- Peter (not here)
- Vseslav (not here)
- next talks
- Tasks for everyone
Outlook
- status thesis
- fun with reviews
- test case guidelines
- BaseLayerImages
- More about PermaplanTreffen
- change in Buddies: Chris & Hannes
- infrastructure roles
Tasks for Everyone
Tasks to be done until latest Tuesday 21.04.2026 23:59:
- check and update for your release-critical issues: https://issues.permaplant.net/?sort=created_date&state=opened&label_name%5B%5D=priority%3A%3Arelease-critical&first_page_size=100
- help review others release-critical MRs: https://pulls.permaplant.net/?sort=created_date&state=opened&label_name%5B%5D=priority%3A%3Arelease-critical&first_page_size=100
Tasks to be done until latest Thursday 23.04.2026 23:59:
- Umfrage PermaplanT welches Wochende Treffen (Sommer-Umfrage) https://cloud.perma.health/apps/polls/s/isHaV9zx
- 3rd iteration in submission, this week integration: integrate what you learned from the review
- Weekly Regular Tasks
Optional Tasks, if not done yet:
Did Not Approve Last Meeting Notes In Time
- Ben (several weeks now)
- Christoph (Schreiner)
- Elia
- Ines
- Justus
- Moritz
- Peter
Statistics (10.04.2026 - 16.04.2026)
Merge Request approved
Raab, Markus: 3 Levchenko, Vseslav: 2 Adelsberger, Moritz: 1 Graßl, Patrick: 1 Kraus, Christoph: 1 Mokshantseva, Elizaveta: 1 Oberhauser, Lukas: 1 Wenty, Elia: 1 Zettl, Hannes: 1
Issue progress (status changes + closed)/ total assigned
Adelsberger, Moritz: 2/4 Dinu-Coreth, Andrei Cristian: 1/1 Graßl, Patrick: 3/11 Kraus, Christoph: 1/10 Kuzmishyna, Maiia: 1/1 Levchenko, Vseslav: 4/13 Mokshantseva, Elizaveta: 1/9 Mrkonjic, Peter: 4/15 Muth, Moritz: 1/9 Oberhauser, Lukas: 0/4 Schlegel, Ben: 0/8 Schnabl, Ines Katharina: 3/13 Schreiner, Christoph: 1/10 Stummer, Eszter: 0/2 Weilguni, Justus: 1/10 Wenty, Elia: 6/11 Zettl, Hannes: 0/1 Total: 29 / 132
Talks
- upcoming talks:
- Ines (27.04. static analysis, eslint, workflow)
- Peter (27.04. Nextcloud folder structure, )
- Elia (4.5. presenting study and dev feedback)
- Moritz (4.5., thesis presentation)
- Mo (DevOps)
- Lukas (TBD)
- done talks:
- Patrick (30.03, Security from DevOps)
- Liza: 16.03, retrospective
- Ben (02.03., FLOSS refactoring on library upgrades)
- Liza (03.11.2025, PM)
- Paul (10.11., Running Meetings That Don't Waste Time)
- Justus (24.11., Debugging+Logging in the Backend)
- Andrei (01.12., performance, RQ, Method)
- Paul: (15.12 efficient issue refinement)
- Moritz (29.12., pitfalls about pagination&endless scrolling)
- Christoph Schreiner: 12.1. final thesis presentation, developer-central
- Chris(toph) Kraus (02.02., workflow+developer perspective of e2e tests)
Notes
- 09:00 start
- Meeting notes: Lukas
- Hannes (20.04., Maintenance from Dev perspective, report CI bugs)
- Vseslav (20.04., PostgreSQL tools&tricks, compare)
- Welcome game short, structured, energizing, Rose-Thorn-Bud
- Rose: something positive
- Thorn: something difficult
- Bud: something looking forward to
- “My Rose is one positive highlight, my Thorn is one current challenge, and my Bud is something I’m looking forward to.”
- Hannes Talk about Maintenance
- restart pipeline manually with 'jenkins build please'
- rerun pipeline to test if the issue was temporary
- otherwise create issue and assign Patrick
- Vseslav talk about DBs
WITH RECURSIVEfor Graph Traversal (temp table)EXPLAIN ANALYZEfor performance measurementsCREATE INDEXdoes not always help- Scraper compare script
- PermaplanTreffen
- some Fotos: special highlight Mantis found in the garden!
- vote on poll for meetingdate
- submissions repo
- self-merge
- make MRs dedicated for reviewing
- comment more about what you understand (or not), now what you would do
- review others, help with issues
- planT repo
- fine grained MR
- improvement of planT is the primary goal
- add test cases
- improve docu
- add then review guidelines to manage review nevertheless
- how to better progress
- Morgenseiten, write in the morning
- Abend entspannen
- Release
- everyone: improve&review release critical MR https://pulls.permaplant.net/?sort=created_date&state=opened&label_name%5B%5D=priority%3A%3Arelease-critical&first_page_size=100
- Elia: planT testing
- Mo: onboarding release
- Lukas: planT release
- Thoughts on MRs/Issues:
- Chris: create follow up issues (usually Issues should already be created in a way that follow up issues are not needed) , focus on MRs you're familiar with
- Hannes: doesn't like receiving Issues with only a title and no body since he has to investigate till he knows the whole scope Progress and what holds you back:
- Liza: Current MRs, thesis stuck
- Vseslav: release critical MRs
- Patrick: On site with herbert
- Mo: Backup
- Development Board
- Chris(toph) Kraus
- Christoph Schreiner
- Elia (not here)
- Hannes
- Ines
- Liza
- Lukas
- Mo(ritz) Adelsberger
- Moritz (not here)
- Patrick
- Peter (not here)
- Vseslav
- next talks
- Tasks for everyone
Meeting 27.04.2026
Attendees
- Markus
- Chris(toph) Kraus
- Christoph Schreiner
- Elia
- Hannes
- Ines
- Liza
- Vseslav
- Moritz
- Lukas
- Peter
Not here (excused):
- Patrick
- Mo(ritz) Adelsberger (partly)
Buddies
- Moritz & Patrick
- Christoph & Liza
- Chris & Hannes
- Elia & Peter
- Vseslav & Ines
- Lukas & Mo
Success Partners
- Elia & Moritz (Frontend)
- Vseslav & Chris (Tooling)
- Mo & Justus (Backend)
- Ines & Liza (Quality)
- Peter & Hannes (Nextcloud)
- Patrick & Lukas (Infrastructure)
Special Partners
- Hannes & Peter (Nextcloud)
- Vseslav & Elia (Übergabe Guided Tour)
- Christoph & Vseslav (Übergabe Scraper Data)
Agenda
- 09:00 start
- Welcome game: This or That
- Wake up Round, callout a name, and give quick choices (e.g., Coffee or tea, Laptop or notebook, Early bird or night owl). Participants answer instantly.
- Meeting notes: Lukas, Oberhauser
- change in Buddies: Chris & Hannes (Ben disappeared, please don't invite him for reviews)
- Reinsaat Frühlingsfest
- 200 flyers all given away
- mention at talk
- product vs. people
- 1.0.2 release
- rebase MRs
- Retrospective by Liza link
- efficient working
- important: self-review MRs
- split issues and MRs, rule of thumb: create 3 and review 7 MRs per week
- don't try to save time in quality
- Balance new and what you can do well, please feedback what you can do well
- Feedback: What can you do with ease? What are challenges for you?
- news from infrastructure:
- login docs
- login Jenkins
- Nextcloud Enterprise for 20.000 users
- Talk Ines (27.04. static analysis, eslint, workflow)
- writing thesis
- different way of thinking, many ways of thinking
- status thesis
- PermaplanTreffen
- please vote
- testuser image access
- BaseLayerImages
- Development Board
- Chris(toph) Kraus
- Christoph Schreiner
- Elia
- Hannes
- Ines
- Liza
- Lukas
- Mo(ritz) Adelsberger
- Moritz
- Patrick
- Peter
- Vseslav
- next talks
- Tasks for everyone
- Talk Peter (27.04. Nextcloud folder structure)
Outlook
- workflows:
- improvements of coding guidelines
- adding new plants
- design decisions: should be complete, Peter is manager
- fun with reviews
- code review guidelines
- test case guidelines
- infrastructure roles
- Jenkins and doc login
- code quality
- efficient glab hacks: approve+comment
- More about PermaplanTreffen
- wo wir sind
- was wir machen
- +1
Tasks for Everyone
Tasks to be done until latest Thursday 30.04.2026 23:59:
- Umfrage PermaplanTreffen welches Wochende Treffen (Sommer-Umfrage) https://cloud.perma.health/apps/polls/s/isHaV9zx
- cleanup: bring all your MRs to ready to merge, split them if they are big
- please create MRs with search phrases for related work (+related work itself if already done) in submission
- Weekly Regular Tasks
Did Not Approve Last Meeting Notes In Time
- Kraus, Christoph
- Elia
Statistics (16.04.2026 - 23.04.2026)
Merge Request approved
Raab, Markus: 3 Adelsberger, Moritz: 2 Graßl, Patrick: 1 Levchenko, Vseslav: 1 Mrkonjic, Peter: 1 Weilguni, Justus: 1 Wenty, Elia: 1
Issue progress (status changes + closed)/ total assigned
Adelsberger, Moritz: 1/5 Dinu-Coreth, Andrei Cristian: 0/1 Graßl, Patrick: 5/12 Kraus, Christoph: 0/10 Levchenko, Vseslav: 2/10 Mokshantseva, Elizaveta: 0/8 Mrkonjic, Peter: 3/14 Muth, Moritz: 2/10 Oberhauser, Lukas: 0/4 Schlegel, Ben: 0/8 Schnabl, Ines Katharina: 2/13 Schreiner, Christoph: 0/9 Weilguni, Justus: 0/9 Wenty, Elia: 6/10 Zettl, Hannes: 0/1 Total: 21 / 124
Talks
- upcoming talks:
- Elia (4.5. presenting study and dev feedback)
- Moritz (4.5., thesis presentation)
- Peter (11.05. Nextcloud folder structure)
- Mo (DevOps)
- Lukas (TBD)
- done talks:
- Ines (27.04. static analysis, eslint)
- Patrick (30.03, Security from DevOps)
- Liza: 16.03, retrospective
- Ben (02.03., FLOSS refactoring on library upgrades)
- Liza (03.11.2025, PM)
- Paul (10.11., Running Meetings That Don't Waste Time)
- Justus (24.11., Debugging+Logging in the Backend)
- Andrei (01.12., performance, RQ, Method)
- Paul: (15.12 efficient issue refinement)
- Moritz (29.12., pitfalls about pagination&endless scrolling)
- Christoph Schreiner: 12.1. final thesis presentation, developer-central
- Chris(toph) Kraus (02.02., workflow+developer perspective of e2e tests)
Notes
- Meeting notes: Lukas, Oberhauser
- Reinsaat festival was a huge success.
- 200 flyers were used.
- Permaplant was shortly mentioned in a talk on stage.
- Really crowded, lot of people.
- Release last week with lots of bug fixes.
- Big thanks to everyone.
- Retrospective:
- Most people are happy (sunny to partly cloudy) with the release
- Some people wanted to get more done for the release
- Lot of liked, learned and lacked
- From Markus:
- Give more feedback and questions on issues (description, comments)
- Break for 15 min.
- Status round of everybody.
- News from infrastructure:
- Docs will be back soon, Jenkins more complicated
- Nextcloud gave us enterprise license for up to 20.000 users
- Ines Talk: ESLINT, code quality
- Use a max length of only 120 chars per line (in code and comments)
- No magic numbers (only -1, 0, 1) all other numbers should be variables
- Does CI fail on those warnings? -> Does not fail?
- Further rules that may need to be added? To be investigated.
- Improvements in code quality are important
- Writing theses:
- Ways of thinking: For different chapters different ways to think:
- Introduction: Background of the thesis, research question, should motivate the reader.
- Related work and background: Papers that help to solidify your work. Comperative analysis of others.
- Find related work or phrases you used. Other may help already with the phrases you used not only the related work/papers.
- Ways of thinking: For different chapters different ways to think:
- Permaplant Treffen vote.
- Status round (Dev Board)
Mockups
This folder contains mockups as images (not shown in mdbook)
OpenTelemetry
This folder contains information on Open Telemetry and its integration.
OpenTelemetry in the Frontend
What is being tracked
All that is tracked is defined in frontend/src/otel.ts. How to explore this data is described in Signoz
1. Network Requests (Distributed Tracing)
The OpenTelemetrySDK integrated monitoring how your frontend talks to backends. This is crucial for creating and collecting telemetry data allowing you to see a request's journey from the browser to the server.
- Fetch & XHR: Every time the app uses
fetch()orXMLHttpRequest(AJAX) to call an API, a span is created. - Trace Propagation: The
propagateTraceHeaderCorsUrlssetting ensures that specialized headers (traceparent) are attached to requests sent to your specific domains (e.g.,permaplant.net). This "links" the frontend trace to the backend trace. - Automatic Context: It captures request URLs, HTTP methods, status codes, and timing.
This is archived by the W3CTraceContextPropagator and W3CTraceContextPropagator.
2. Page Performance (Document Load)
The DocumentLoadInstrumentation tracks the "life cycle" of the web page.
From requesting the first bytes, while it is used until it gets closed.
It captures:
- Resource Timing: How long CSS, JS, and images take to load.
- Navigation Timing: Time to first byte (TTFB), DOM content loaded, and the final
window.loadevent. - Document Fetch: How long the initial HTML document took to arrive.
3. User Behavior (Interactions)
The UserInteractionInstrumentation captures physical actions taken by the user.
It specifically listens for:
click: When a user clicks buttons, links, or other elements.input: When a user types into form fields.submit: When a user submits a form.
Note: These interactions are automatically wrapped in "Spans," allowing you to see exactly which network requests were triggered by a specific button click.
4. Technical Infrastructure & Metadata
Beyond specific events, the SDK tracks the context of the data:
- Service Name: All data is tagged with
service.name: 'frontend', making it easy to filter in your observability backend (Signoz in our case). - Async Context: The
ZoneContextManagerensures that even if an operation involves promises or timeouts, the "trace ID" isn't lost across asynchronous boundaries. - Metrics: A
MeterProvideris active, meaning the system is prepared to track numerical data (like memory usage or custom counters) and export them every 45 seconds.
What can be adjusted/refined?
The metrics are exported every 45 seconds. This means also that there is network traffic every 45s which might impact future e2e tests that expect no network traffic for a longer duration.
Signoz
SigNoz uses a columnar storage format (ClickHouse) for logs, making high-cardinality searches significantly faster than traditional text-based stores.
Is available at apm.perma.health.
The official documentation can be found here.
Credentials:
developer@permaplant.net:OYD@ayu6@SV@Omd0rczMy#vrIlVn#IVt
Overview
We integrated telemetry data creation, export and collection via Opentelemetry.

Its integration is described in the architecture proposal.
1. Metrics (Service Health & Infrastructure)
SigNoz aggregates metrics via the OTel Collector. This section is used for high-level monitoring and performance profiling.
You can query all metrics in the summary overview or in the dashboards.
-
Dashboards: Pre-built or custom JSON-defined dashboards using ClickHouse as the storage engine. You can query metrics using PromQL or the Clickhouse Query builder.
-
Key Views: * Service Overview: Automatically calculated RED metrics (Rate, Errors, Duration) derived from span data.
-
DB/External Calls: Latency and throughput for downstream dependencies (SQL queries, Redis commands, HTTP egress).
-
Usage: Metrics are powerful for more than just monitoring. They also help in setting up Alerts on specific metrics like P99 latency thresholds or error rate percentage spikes.
2. Traces (Distributed Request Context)
The Traces tab provides a granular view of request flow across distributed systems.
- Search & Filter: Filter by tags like
http.status_code,service.name,deployment.environmentor custom business logic attributes injected into the span context. At the time there are no custom attributes added. - Flamegraphs & Gantt Charts: Analyze the execution path of a single TraceId. You can identify synchronous blocking calls or inefficient sequential processing.
- Span Details: View raw metadata for each operation, including the
service.name,operation, and any associatedEvents(like exceptions) attached to the span. - Usage: Essential for identifying tail latency and debugging failures in complex microservice orchestrations.
3. Logs (Structured Event Data)
The Logs tab shows all logs gathered and provide a view to follow logs through the whole application stack.
- Log Management: Supports structured logging (JSON). Fields like
severity_text,body, andattributesare automatically indexed. - Trace-Log Correlation: This is the "killer feature". If your application logs include the
trace_idandspan_id, SigNoz provides a one-click pivot from a specific log line to the distributed trace that generated it (and vice versa). - Usage: Searching for stack traces, specific
user_idcontexts, or debugging internal state transitions that aren't captured by spans.
Releases
This folder contains release notes for each release. Furthermore it contains:
- dev.md: preparation for next release (dev branch)
- template.md: template to be copied to dev.md after release
Changelog
For upcoming release.
All notable changes for developers or end users will be documented in this file. Please always update this file within every MR, note:
- use links pointing to your use case and/or issue (See Documentation Guidelines), and
- use several lines with a sentence each in the right categories (add sub-categories as needed)
For example, Max Power would write in the documentation section:
- Clarified wording for [shade layer use case](usecases/done/shade_layer.md), fixes [#1873](https://issues.permaplant.net/1873). _(Max Power)_
Highlights
Landing Page
Important Changes for Developers
Meetings
- Meeting Agenda&Notes for 16.03.2026 9:00 (Markus Raab, Hannes Zettl)
- Meeting Agenda&Notes for 23.03.2026 9:00 (Markus Raab, Vseslav Levchenko)
- Meeting Agenda&Notes for 30.03.2026 9:00 (Markus Raab, Chris(toph) Kraus)
- Meeting Agenda&Notes for 30.03.2026 9:00 (Markus Raab, Elizaveta Mokshantseva)
- Meeting Agenda&Notes for 20.04.2026 9:00 (Markus Raab, Moritz Adelsberger)
- Meeting Agenda&Notes for 27.04.2026 9:00 (Markus Raab, Lukas Oberhauser)
Compatibility
Migrations
- No migrations were added.
Scraper Data
Bug Fixes
Frontend
Features
Bug Fixes
Development
- Add general touchscreen controls to map #2154(Moritz Muth)
- Add panning and zooming gestures to map #2154(Moritz Muth)
Libraries
Backend
Features
Bug Fixes
Libraries
Tools
Build System
CI
Documentation
- Finalized release notes and cleaned changelog for v1.0.2 #2613 (Moritz Adelsberger)
- Cleaned dev.md changelog for new release cycle #2529 (Paul Bachinger)
- Fixed release notes URL in release issue template #2529 (Paul Bachinger)
- Added Peter to contributor docs #2526 (Peter Mrkonjic)
- Added Ines to contributor docs #2540 (Ines Schnabl)
- Added Peter to contributor docs #2177 (Peter Mrkonjic)
- Add Elia to authors as part of onboarding #2525 (Elia Wenty)
- Replaced permaplant.net URIs with perma.health #2552 (Lukas Oberhauser)
- Marked known problematic tests in the templates #2549 (Vseslav Levchenko)
- Fixed typos in meeting docu for 16.03 #2557 (Vseslav Levchenko)
- Updated frontend architecture decision and created guideline on frontend utilities 2253 (Maiia Kuzmishyna)
- Frontend utility library decision #2356 (Maiia Kuzmishyna)
- Created frontend self-assessment onboarding checklist #2543 (Maiia Kuzmishyna)
- Moved plant markers and highlight searched plants use cases to done #2565 (Maiia Kuzmishyna)
- Added manual test report #2613 (Justus Weilguni)
Workflows
Use Cases
Tests
Unit Tests
Manual Tests
E2E
Statistics
TODO add
Changes Affecting Guided Tour
- Add panning and zooming gestures to map #2154(Moritz Muth)
Release Notes
Here all release notes for PermaPlant are collected. Each release note is stored in its own markdown file.
0.7.0 Summer
We are proud to release 0.7.0 with 931 commits 379 files changed, 15306 insertions(+), 5985 deletions(-)
Highlights
- Copy & Paste introduced, thanks to Moritz Muth
- Markers for current date and same plants introduced, thanks to Maiia Kuzmishyna
- Lazy Loading, thanks to Stefanie Feldmann
Contributors
- Andrei Cristian Dinu-Coreth e1631854@student.tuwien.ac.at
- Stefanie Feldmann e1609368@student.tuwien.ac.at
- Richard Wutscher e12022492@student.tuwien.ac.at
- Elizaveta Mokshantseva e12313407@student.tuwien.ac.at
- Filip Markovic filmar1409@gmail.com
- Johannes Leonhard Ziehengraser johannesziehengraser@student.tuwien.ac.at
- Christoph Schreiner christoph.schreiner.fb@gmail.com
- Moritz Muth e1529037@student.tuwien.ac.at
- Christoph Kraus christoph.kraus@tuwien.ac.at
- Ben Schlegel ben5.schlegel@gmail.com
- Chris christoph.kraus@tuwien.ac.at
- Maiia Kuzmishyna e12123663@student.tuwien.ac.at
- Markus Raab markus.raab@tuwien.ac.at
Meetings
- Meeting Agenda&Notes for 07.07.2025 9:00 (Markus Raab, Richard Wutscher)
- Meeting Agenda&Notes for 30.06.2025 9:00 (Markus Raab, Johannes Ziehengraser)
- Meeting Agenda&Notes for 23.06.2025 9:00 (Markus Raab, Christoph Schreiner)
- Meeting Agenda&Notes for 16.06.2025 9:00 (Markus Raab, Maiia Kuzmishyna)
- Meeting Agenda&Notes for 09.06.2025 9:00 (Markus Raab, Moritz Muth)
- Meeting Agenda&Notes for 02.06.2025 9:00 (Markus Raab, Ben Schlegel)
- Meeting Agenda&Notes for 26.05.2025 9:00 (Markus Raab, Andrei Dinu-Coreth)
- Meeting Agenda&Notes for 19.05.2025 9:00 (Markus Raab, Chris Kraus)
Landing Page
- Add myself to the team (Elizaveta Mokshantseva)
- Add Rosa-Fiene Gronski, Julian Maindok and myself to the team (Ben Schlegel)
- Add "summer" blog entry (Markus Raab, Ben Schlegel)
Compatibility
Migrations
- No Migration added.
Scraper Data
- No update.
New Features
- Implement copy&paste within the same map #1321 (Moritz Muth)
- While placing plants, highlight their instances on the map. Implements #1714. (Maiia Kuzmishyna)
- Highlight plantings that were planted on current day. Implements #1972. (Maiia Kuzmishyna)
Bug Fixes
- Unlock ratio when diagonally resizing distortable map elements (Moritz Muth)
- Fully clear selection when using selection rect #1990 (Moritz Muth)
- Fix switching between different drawing layers (Moritz Muth)
- Prevent hiding active layer (Moritz Muth)
- Translate seed form plant names on language change (Moritz Muth)
- Improve debounced form input handling #1995 (Moritz Muth)
- Fix devcontainer setup by updating feature links (Ben Schlegel)
- Fix special characters displayed incorrectly in delete map dialog #1998 (Maiia Kuzmishyna)
- Fix plants with different seeds being marked as same #2031(Maiia Kuzmishyna)
Development
Breaking Changes
- Changelog now divided in sections. (Markus Raab)
- Releases are now in separate files. (Markus Raab)
- Changelog of already done releases is in separate file. (Markus Raab)
Frontend
- Fix mobile header and scrollbar overlap (Moritz Muth, Maiia Kuzmishyna)
- Show same/different plantings name in attributes (Moritz Muth)
- Improve map bound editing (Moritz Muth)
- Add user id to plant attributes (Moritz Muth)
- Show map last modified date (Moritz Muth)
- Cleanup package.json (Part 1: UI/Mobile) #2009 (Moritz Muth)
- Improve plant multi select toolbar label #2025 (Moritz Muth)
- Grid Legend is now moved to the bottom right of the map (Andrei Dinu-Coreth)
- fixed dark mode loading indicator and select search input (Stefanie Feldmann)
- added lazy loading to plant layer #1637 (Stefanie Feldmann)
- Fixed plantings not getting properly unselected on layer change #1971 (Maiia Kuzmishyna)
- Fixed discrepancy between null and undefined types in frontend and backend (#1922, #1851) (Maiia Kuzmishyna)
- Mark current year, month, and day in timeline #2035 (Maiia Kuzmishyna)
- Add close title to all status panels #2022(Maiia Kuzmishyna)
Build System
- Add build time in
/version(Markus Raab) - Add bradlc.vscode-tailwindcss + SonarSource.sonarlint-vscode vscode extensions to devcontainer setup (#2000) (Ben Schlegel)
CI
- fix migrations checker (Richard Wutscher)
Documentation
- Define mobile quality goals (Moritz Muth)
- Add usability scenarios #1821 (Moritz Muth)
- Added guidelines for displaying planting group names and cleaned up hierarchy.md #2025 (Moritz Muth)
- Extend setup documentation for Devcontainers on Windows and WSL (Andrei Dinu-Coreth)
- added custom fps and heap size script to benchmark docs #1941 (Stefanie Feldmann)
- added map performance improvements to docs #1637 (Stefanie Feldmann)
- fixed postgres version number in documentation (Johannes Ziehengraser)
- added sql queries for map statistics (Johannes Ziehengraser)
- Extend devcontainers documentation (Ben Schlegel)
Use Cases
Tests
- Created manual test report for 0.6 dev.permaplant.com (ChrisK)
- improving manual test cases as a basis for e2e tests (ChrisK)
- Created manual test report for 0.7 dev.permaplant.com (ChrisK)
Unit Tests
- None added.
E2E
- fix broken e2e test by adjusting seed used for testing (ChrisK)
- Fix broken e2e test by adjusting password field locator (Moritz Muth)
Statistics
- Plant data stayed the same, so statistics omitted.
0.8.0
We are proud to release 0.8.0 with 409 commits, 264 files changed, 8160 insertions(+), 4380 deletions(-)
Highlights
- Enhanced relation lines to support colorblindness and ambivalent plant relations, thanks to Maiia Kuzmishyna
- Improved plant markers with same-day highlighting and better scaling, thanks to Maiia Kuzmishyna
- Major state management refactoring with namespace organization, thanks to Andrei Dinu-Coreth
- Upgraded to Tailwind v4, thanks to Moritz Muth
Contributors
- Andrei Cristian Dinu-Coreth
- Ben Schlegel
- Christoph Kraus
- Christoph Schreiner
- Elizaveta Mokshantseva
- Filip Markovic
- Maiia Kuzmishyna
- Markus Raab
- Moritz Muth
- Paul Bachinger
- Richard Wutscher
New Features
- Improved scraper run output, fixes #1891 (Christoph Schreiner)
- Enhanced relation lines to support colorblindness and ambivalent plant relations #2030 (Maiia Kuzmishyna)
- Improved scaling of plant markers when zooming out #2054 (Maiia Kuzmishyna)
- Show plant relation lines immediately #2082 (Moritz Muth)
Meetings
- Meeting Agenda&Notes for 14.07.2025 9:00 (Markus Raab, Chris Kraus)
- Meeting Agenda&Notes for 21.07.2025 9:00 (Markus Raab, Ben)
- Meeting Notes for Biology Meeting 16.07.2025 14:00 (Markus Raab, Christoph Schreiner)
- Meeting Agenda&Notes for 28.07.2025 9:00 (Markus Raab, Moritz Muth)
- Meeting Agenda&Notes for 04.08.2025 9:00 (Markus Raab, Maiia Kuzmishyna)
- Meeting Agenda&Notes for 11.08.2025 9:00 (Markus Raab, Andrei Dinu-Coreth)
- Meeting Agenda&Notes for 18.08.2025 9:00 (Markus Raab, Paul Bachinger)
- Meeting Agenda&Notes for 25.08.2025 9:00 (Markus Raab, Richard Wutscher)
Landing Page
- Added Paul Bachinger to authors documentation and team page, fixes #2077. (Paul Bachinger)
Compatibility
Migrations
- MIGRATION: fix down migrations (Richard Wutscher)
- MIGRATION: cleanup TODO comment in hierarchy migration (Paul Bachinger)
Scraper Data
- Fixed expanding relationships not working (Christoph Schreiner)
Bug Fixes
- Fix copying, cutting and pasting in form input components #2068 (Moritz Muth)
- Fix issue with hydration of stored map info on application initialisation (Andrei Dinu-Coreth)
- Fix issue with hydrated state not getting merged correctly into store default values. (Andrei Dinu-Coreth)
- Fix plants overlapping plant labels and relations #2037 (Moritz Muth)
- Quick Fix for CI Bug - Outdated Keyring for package validation, fixes #2095. (Paul Bachinger)
- Fix base layer image offset not accepting certain values #2055. (Andrei Dinu-Coreth)
Development
Frontend
- Add relation lines to paster #2008 (Moritz Muth)
- Do not allow plant's width and length to be 0 or negative. #2016 (Andrei Dinu-Coreth)
- Increased chunk size warning to 3MB #2049 (Maiia Kuzmishyna)
- Refactor plant cursor #2065 (Moritz Muth)
- Refactored drawing layer's status content panel to use the common component #2047 (Maiia Kuzmishyna)
- Refactor MapStoreTypes by grouping together actions under namespaces #1304 (Andrei Dinu-Coreth)
- Move tracking of drawing layer settings (tab, color, stroke width, fill pattern) to stored map info, to be persisted per map/drawing layer. (Andrei Dinu-Coreth)
- Added license notice to icon used in same day plant marker #2054 (Maiia Kuzmishyna)
- Add copy and paste icons #1322 (Moritz Muth)
- Rename Yard Stick/Grid Legend to Scale Bar for consistency #1986 (Andrei Dinu-Coreth)
- Unify plantings comparison #2039 (Moritz Muth)
- Make brushes more round #1907 (Maiia Kuzmishyna)
- Show plant relation lines immediately #2082 (Moritz Muth)
- Remove unused dependencies in package.json #2010 (Ben Schlegel)
Frontend Libraries
- Upgrade to Tailwind v4 #2034 (Moritz Muth)
Backend
- Added version and build date to log on start (Elizaveta Mokshantseva)
- changed duration of map and layer deletion to 60 days #1611 (Elizaveta Mokshantseva)
Build System
- Add .DS Store to .gitignore for macOS compatibility. #2102 (Paul Bachinger)
CI
- add script to gather release facts (Richard Wutscher)
- Add automatic workspace cleanup to Jenkinsfile. #2112 (Paul Bachinger)
Documentation
- changelog and template added, changelog reset after release. (Markus Raab)
- Improved Release.md checklist clarity and documented automation opportunities, fixes #2122. (Paul Bachinger)
- Add automated version bumping script in tools/release/ with consistency checks and semantic versioning support, fixes #2122. (Paul Bachinger)
- Add Tablericons to guidelines #363 (Moritz Muth)
- add acronyms to glossary #1920 (Ben Schlegel)
- Added useful commands in doc/contrib/ #2018 (Christoph Schreiner)
- Fix links in keyhandling guideline. (Andrei Dinu-Coreth)
- Added more detailed description about contribution. #2064 (Elizaveta Mokshantseva)
- Added Troubleshooting documentation to backend #2111. (Paul Bachinger)
- Document frontend editor decision #2007 (Moritz Muth)
- Expand z-index documentation #2037 (Moritz Muth)
- Add utility function guidelines #2039 (Moritz Muth)
- Added guideline for the new structuring of frontend store actions. #1304 (Andrei Dinu-Coreth)
- Add documentation about Default View Behaviour of the map #1965 (Andrei Dinu-Coreth)
- added docs for importing maps (Richard Wutscher)
- Add required image documentation for test users #2116 (Filip Markovic)
- Add Jenkins MR comments to ci.md docu #1801 (Filip Markovic)
- add nextcloud deployment decision (Richard Wutscher)
Use Cases
- Added use case for Persistent Multi Selection. (Andrei Dinu-Coreth)
- Added use case for selecting all plants of the same type. (Andrei Dinu-Coreth)
Tests
- Update heatmap testcases to reflect current scraper data (ChrisK)
- Added manual tests for remembering viewing state scenarios. (Andrei Dinu-Coreth)
- Created manual test report for 0.7 master.permaplant.com (Elizaveta Mokshantseva)
- Comprehensive manual testing for release 0.8.0 with detailed issue analysis #2151 (Paul Bachinger)
- Update map scripts (Filip Markovic)
Statistics
Merge Approvals (incl. change requests) (21.07- 29.08)
Raab, Markus: 32 Muth, Moritz: 28 Kuzmishyna, Maiia: 19 Dinu-Coreth, Andrei Cristian: 18 Bachinger, Paul: 15 Schlegel, Ben: 14 Schreiner, Christoph: 14 Mokshantseva, Elizaveta: 12 Ziehengraser, Johannes Leonhard: 10 Wutscher, Richard: 8 Kraus, Christoph: 6 Feldmann, Stefanie: 1
Progress of release assigned issues
Kraus, Christoph: 0/1 Mokshantseva, Elizaveta: 1/1 Muth, Moritz: 2/2 Schreiner, Christoph: 1/1 Wutscher, Richard: 0/1
0.9.0
We are proud to release 0.9.0 with 1370 commits, 520 files changed, 16704 insertions(+), 2926 deletions(-).
Highlights
- Access control is now active (Justus Weilguni)
- Plant attributes can now be inherited to lower ranks, which is already used for icons (Christoph Schreiner)
- Upgrade react-router to version 7 (Ben Schlegel)
- PM improvements (Elizaveta Mokshantseva)
- New improved release procedure (Paul Bachinger)
New Features
- Add OpenGraph link preview information #305 (Andrei Dinu-Coreth)
- Allow copy and paste between maps of same user #1323 (Moritz Muth)
- Make relation lines fade with growing distance between plantings #739 (Maiia Kuzmishyna)
- Plant attributes can now be inherited to lower ranks (Christoph Schreiner)
- Access control is now active (Justus Weilguni)
- Added toolbox button to turn all plant markers on or off #2137 (Maiia Kuzmishyna)
- Highlight plants which are removed on the next day with marker #2136 (Maiia Kuzmishyna)
- Added newsletter subscription to landing page #2239 (Alfons Mueller)
Important Changes for Developers
MODEmust be added tobackend/.env- Going forward, MRs or issues that affect the guided tour must include descriptive text in release notes
Statistics
Merge Approvals (incl. change requests) (Aug 29 - Dec 5)
Raab, Markus: 119 Bachinger, Paul: 75 Muth, Moritz: 74 Müller, Alfons: 41 Kuzmishyna, Maiia: 38 Dinu-Coreth, Andrei Cristian: 27 Schlegel, Ben: 23 Mokshantseva, Elizaveta: 21 Weilguni, Justus: 17 Zettl, Hannes: 16 Graßl, Patrick: 15 Ziehengraser, Johannes Leonhard: 15 Lakits, Lukas Anton: 14 Schreiner, Christoph: 14 Kraus, Christoph: 9
Progress of release assigned issues
Bachinger, Paul: 45 Dinu-Coreth, Andrei Cristian: 6 Graßl, Patrick: 4 Gronski, Rosa-Fiene: 1 Kainz, Kerstin: 1 Kraus, Christoph: 9 Kuzmishyna, Maiia: 13 Lakits, Lukas Anton: 8 Mokshantseva, Elizaveta: 24 Muth, Moritz: 12 Müller, Alfons: 7 Raab, Markus: 16 Schlegel, Ben: 8 Schreiner, Christoph: 13 Weilguni, Justus: 6 Wutscher, Richard: 4 Zettl, Hannes: 9 Ziehengraser, Johannes Leonhard: 3
Contributors
- Alfons Mueller
- Andrei Cristian Dinu
- Ben Schlegel
- Christoph Kraus
- Christoph Schreiner
- Elizaveta Mokshantseva
- Hannes Zettl
- Jannis Adamek
- Johannes Ziehengraser
- Justus Weilguni
- Lukas Anton Lakits
- Maiia Kuzmishyna
- Markus Raab
- Moritz Muth
- Patrick Grassl
- Paul Bachinger
- Richard Wutscher
Landing Page
- Team list updated #2199 (Hannes Zettl)
- Added Alfons Mueller to authors.md and landing page (Alfons Mueller)
- Added final touches for 1.0 #2312(Alfons Mueller)
Meetings
- Meeting Notes for Project Management Meeting 06.08.2025 09:00 (Markus Raab, Paul Bachinger)
- Meeting Agenda&Notes for 01.09.2025 9:00 (Markus Raab, Johannes Ziehengraser)
- Meeting Agenda&Notes for 08.09.2025 9:00 (Markus Raab, Elizaveta Mokshantseva)
- Meeting Agenda&Notes for 15.09.2025 9:00 (Markus Raab, Moritz Muth)
- Meeting Agenda&Notes for 22.09.2025 9:00 (Markus Raab, Ben Schlegel)
- Frontend Meeting Agenda&Notes for 25.09.2025 14:00 (Markus Raab, Maiia Kuzmishyna)
- Meeting Agenda&Notes for 29.09.2025 9:00 (Markus Raab, Paul Bachinger)
- Meeting Agenda&Notes for 06.10.2025 9:00 (Markus Raab, Elizaveta Mokshantseva)
- Meeting Agenda&Notes for 13.10.2025 9:00 (Markus Raab, Andrei Dinu-Coreth)
- Meeting Agenda&Notes for 20.10.2025 9:00 (Markus Raab, Justus Weilguni)
- Meeting Agenda&Notes for 27.10.2025 9:00 (Markus Raab, Alfons Müller)
- PM Meeting Agenda & Notes for 24.10.2025 11:30 (Markus Raab, Paul Bachinger)
- PM Meeting Agenda & Notes for 31.10.2025 12:30 (Markus Raab, Elizaveta Mokshantseva)
- Meeting Agenda&Notes for 03.11.2025 9:00 (Markus Raab, Moritz Muth)
- PM Meeting Agenda & Notes for 07.11.2025 12:30 (Markus Raab, Paul Bachinger)
- Meeting Agenda&Notes for 10.11.2025 9:00 (Markus Raab, Elizaveta Mokshantseva)
- PM Meeting Agenda & Notes for 14.11.2025 12:30 (Markus Raab, Elizaveta Mokshantseva)
- Meeting Agenda&Notes for 17.11.2025 9:00 (Markus Raab, Christoph Kraus)
- PM Meeting Agenda & Notes for 21.11.2025 11:30 (Markus Raab, Paul Bachinger)
- Meeting Agenda&Notes for 24.11.2025 9:00 (Markus Raab, Hannes Zettl)
- PM Meeting Agenda & Notes for 28.11.2025 11:30 (Markus Raab, Elizaveta Mokshantseva)
Compatibility
Migrations
- MIGRATION: Added icon path field to plants (Christoph Schreiner)
- MIGRATION: Added migration for ambivalent spatial relations (Christoph Schreiner)
- MIGRATION: fix down migrations (Richard Wutscher)
- MIGRATION: cleanup TODO comment in hierarchy migration (Paul Bachinger)
- MIGRATION: prepare migrations for v0.9.0 release by adding READY TO MERGE INTO MASTER headers (Paul Bachinger)
- MIGRATION: update migration headers after merge to master to mark migrations as already run on production (Paul Bachinger)
Scraper Data
- Plant icons are now set in the scraper, saved in the database and explicitly provided to the frontend (Christoph Schreiner)
- Plant attributes can now be inherited to lower ranks (Christoph Schreiner)
- Added support for ambivalent spatial relations (Christoph Schreiner)
- Convert spatial relations to temporal relations (Christoph Schreiner)
Bug Fixes
- Fix map editor crashes due to null plant icon paths #2268 (Paul Bachinger)
- Fix issues with certain actions being broken when measurement tool is active #1969. (Andrei Dinu-Coreth)
- Markers overlap small plant icons making them unrecognizable #2121 (Maiia Kuzmishyna)
- Only allow map bound editing for map owner and admins #1993 (Moritz Muth)
- Fixed performance issue when planting many plants with the same image #1894 (Maiia Kuzmishyna)
- Ensured correct attributes are shown in attribute forms when changing selected elements #2187, #2069 (Maiia Kuzmishyna)
- Fix "removed on"/"added on" date of plants unable to be cleared #2088 (Ben Schlegel)
- Fixed map elements sometimes not loading for a correct date #2192 (Maiia Kuzmishyna)
- Fixed elements disappearing in map editor in Chrome #2223 (Maiia Kuzmishyna)
Frontend
Development
- Finalize mobile map design #2091 (Moritz Muth)
- Remove anchors for transforming areas (Lukas Anton Lakits)
- Fix Area selection #2176 (Lukas Anton Lakits)
- Partly sort maps by modified date #2133 (Ben Schlegel)
- Fix pasting into plant search #2168 (Moritz Muth)
- Make map toolbars hidable #2139 (Moritz Muth)
- Base Layer fix autoscaling sometimes not working #1570 (Andrei Dinu-Coreth)
- Make map timeline hidable #2141 (Moritz Muth)
- Refactor map to use full screen #2145(Moritz Muth)
- Use react query for searchPlants/react-select-async-paginate #1101 (Ben Schlegel)
- Update OpenGraph link preview information #305 (Andrei Dinu-Coreth)
- Show same plant marker also when plants are selected #2189 (Maiia Kuzmishyna)
- Fix XSS vulnerability in MD-Editor #2006 (Moritz Muth)
- Improve map layout default behavior #2143 (Moritz Muth)
- Reverted premature merge that made PermaplanT unusable (Markus Raab)
- Added myself to team #2156 (Justus Weilguni)
- Added warning when collaborator is added to map #2135 (Alfons Mueller)
- Added myself to team #2270 (Patrick Grassl)
- Fixed heatmap flickering issue #1879 (Alfons Mueller)
- Fix area of plantings #2365. (Markus Raab)
Security
- Fix XSS vulnerability in MD-Editor #2006 (Moritz Muth)
- Improved ESLint error messages #2320 (Patrick Grassl)
- Reduce height of navbar #2140 (Moritz Muth)
- Fix issue with default base layer image positioning 2262 (Andrei Dinu-Coreth)
Libraries
- Cleanup unused dependencies #2059 (Moritz Muth)
Backend
Development
- Added support for ambivalent spatial relations (Christoph Schreiner)
- Adapt Heatmap effect size for spatial and temporal relations #1885 (Lukas Anton Lakits)
- Change Heatmap color to red for antagonist spatial relations #2169 (Lukas Anton Lakits)
- Add ambivalent spatial relations to heatmap with orange effect #2096 (Lukas Anton Lakits)
- Consider rotation of area of plantings in heatmap algorithm and fix weak effect #1954 (Lukas Anton Lakits)
- Added basic map access control #480 (Justus Weilguni)
- Changed privileges a user has based on the
MODEin the env for the backend #2293 (Justus Weilguni) - Improved SSE performance testing and fixed race condition in action ordering #1752 (Jannis Weilguni)
- Added access checks for different roles and map privacy levels #2236 (Justus Weilguni)
- Added missing plant attributes to dto and entity. #1862 (Justus Weilguni)
Libraries
- Upgrade react-router to version 7 #2061. (Ben Schlegel)
Tools
- Added auto rebase script for release process 2122 (Paul Bachinger)
- Updated auto-rebase script messages to reflect actual GitLab API behavior and ensure changelog verification #2266 (Paul Bachinger)
Build System
- Update Rust version to 1.91.0 and Debian 13 for dev containers (Richard Wutscher)
- Standardize all Dockerfiles to Rust 1.91.0 and Debian Trixie, add book/html/Dockerfile to upgrading.md checklist #2103 (Paul Bachinger)
- Dev Container compatibility for Apple Silicon Macs 2101 (Paul Bachinger)
- Fix broken make command for hierarchy.csv 19441981 (Johannes Ziehengraser)
CI
- Released 0.8.0 #2151. (Paul Bachinger)
- Merged v0.8.0 release into master branch (Paul Bachinger)
- Fix Jenkins pipeline hanging on offline nodes with 1-minute timeout #2201 (Paul Bachinger)
- Remove DOCKER*NODE_CONSTRAINT and add retry(3) to e2e tests to improve pipeline flexibility and reduce flakiness #2210 *(Paul Bachinger)_
- Fixed Makefile targets for migration redo tests not running in CI #134 (Paul Bachinger)
Pre-commit
- Fix prettier version to 3.3.3 also in .pre-commit-config.yaml and document where to update (Markus Raab)
- Refactored release template with detailed process steps and improved workflow after 0.8.0 release #2122. (Paul Bachinger)
Documentation
- Fix mdbook configuration for compatibility with mdBook 0.5 by removing deprecated 'multilingual' field #2366 (Paul Bachinger)
- Add plant markers use case #1 (Maiia Kuzmishyna)
- terminology: current/actual time (Markus Raab)
- Added CODEOWNERS and added more info to contribution #2090 (Elizaveta Mokshantseva)
- Create standardized workflow template and reformat existing workflow documents #2221 (Paul Bachinger)
- Add Label documentation/snapshot. #2131 (Paul Bachinger)
- Added issue triage workflow #2233 (Paul Bachinger)
- Added issue creation workflow #2251 (Paul Bachinger)
- Add CI merge request template for streamlined CI/CD change reviews #2325 (Paul Bachinger)
- Added meeting workflow #2123 (Elizaveta Mokshantseva)
- Added workflow for iteration planning. #2124 (Elizaveta Mokshantseva)
- Refactor workflows with template. #2221 (Paul Bachinger)
- Added template workflow draft document #2221. (Paul Bachinger)
- Created iteration planning workflow template to match documentation guidelines and improve clarity #2220. (Paul Bachinger)
- Updated 02devcontainer.md to include information about gitlab login. #2238 (Alfons Mueller)
- Added review workflow #2125 (Elizaveta Mokshantseva)
- Document frontend editor decision #2007 (Moritz Muth)
- Expand z-index documentation #2037 (Moritz Muth)
- Add documentation about Default View Behaviour of the map #1965 (Andrei Dinu-Coreth)
- Add Label documentation/snapshot. #2131 (Paul Bachinger)
- Added meeting workflow #2123 (Elizaveta Mokshantseva)
- Added more Codeowners #2209 (Elizaveta Mokshantseva)
- Added Mautic integration documentation #2132 (Paul Bachinger)
- add manual smoke test report template (Chris K)
- Added CODEOWNERS to onboarding template #2271 (Elizaveta Mokshantseva)
- Extended frontend react guideline with a more in-depth memoization section #2193 (Maiia Kuzmishyna)
- Document frontend timeline date picker decision #2310 (Moritz Muth)
- Removed TODO's from entity.rs #1542 (Justus Weilguni)
Workflows
- Introduce Workflow Workflow #2222 (Markus Raab)
- Implemented Workflows workflow infrastructure. #2231 (Paul Bachinger)
- Added first version of issue refinement workflow #2220 (Paul Bachinger)
- Implemented Issue Creation Workflow with updated templates, labels, and documentation #2321 (Paul Bachinger)
- Restructured workflow folder with status-based organization (draft/implemented) and added 3-month review cycle with check dates #2306 (Paul Bachinger)
- Added first version of issue refinement workflow #2220 (Paul Bachinger)
- Simplified iteration planning template and restructured workflow documentation to follow TEMPLATE.md format #2305 (Paul Bachinger)
- Update authors (Moritz Muth)
- Added a new template for the incoming unification of the entries in
doc/authors.md#2202 (Hannes Zettl) - Updated Paul B's entry in authors.md with complete information (Paul Bachinger)
- Updated Maiia K's entry in authors.md with complete information (Maiia Kuzmishyna)
- Introduce Workflow Decisions (Markus Raab)
- Created script for personal analytics #2183 (Elizaveta Mokshantseva)
Use Cases
Tests
- Update manual testing guidelines (ChrisK)
- Added hierarchy test cases (Christoph Schreiner)
- Manual testing for release 0.8.0 #2151. (Paul Bachinger)
- Add test case for spatial relations #1904 (Lukas Anton Lakits)
- Improved manual testing processes with standardized test report template, clearer recording guidelines, automation tool for counting test results, and enforced guided tour execution order #1513 (Paul Bachinger)
Unit Tests
- Add react router core functionality tests #2196 (Ben Schlegel)
E2E
- refactor testcases to match usecases. (ChrisK)
- Improved reliability of seed search tests and added skip logic for image (Nextcloud) dependent tests (ChrisK)
- Reduced flakiness of E2E login tests by waiting for the alert toast notification before asserting (ChrisK)
Infrastructure
This actually happens mostly in other repositories:
- Keycloak fix. (Johannes Ziehengraser)
- allow 5 additional local IP addresses next to localhost. (Johannes Ziehengraser)
1.0.0 "Solid Foundation"
We are proud to release 1.0.0 with 489 commits, 331 files changed, 12,060 insertions(+), 5,210 deletions(-).
Project-wide Statistics (since inception):
- Total commits: 12,637
- Total file changes: 27,346
- Total insertions: 1,404,510
- Total deletions: 1,150,695
Highlights
- Make database migrations more future-proof (Alfons Mueller, Justus Weilguni, Andrei Dinu-Coreth)
- Cleanup of database, fixing corresponding code #2388 (Alfons Mueller, Justus Weilguni)
- Adding more constraints to the database (Alfons Mueller, Justus Weilguni, Christoph Schreiner)
- Doing release on staging and migrating to new production servers. (Paul Bachinger)
Statistics
Issue Progress
Based on milestone v1.0.0 window (Dec 4, 2025 – Dec 27, 2025):
- 60 issues completed
Merge Request Approvals
Based on milestone v1.0.0 window (Dec 4, 2025 – Dec 27, 2025):
- Markus Raab: 45 approvals
- Paul Bachinger: 37 approvals
- Moritz Muth: 12 approvals
- Alfons Müller: 12 approvals
- Elizaveta Mokshantseva: 9 approvals
- Andrei Cristian Dinu-Coreth: 8 approvals
- Justus Weilguni: 8 approvals
- Maiia Kuzmishyna: 7 approvals
- Patrick Graßl: 4 approvals
- Ben Schlegel: 2 approvals
- Christoph Schreiner: 2 approvals
- Johannes Leonhard Ziehengraser: 2 approvals
- Christoph Kraus: 1 approval
- Hannes Zettl: 1 approval
Contributors
- Alfons Mueller
- Andrei Cristian Dinu
- Ben Schlegel
- Christoph Kraus
- Christoph Schreiner
- Elizaveta Mokshantseva
- Justus Weilguni
- Markus Raab
- Moritz Muth
- Patrick Grassl
- Paul Bachinger
Honorable Mentions
- Paul Bachinger and Andrei Dinu-Coreth finish.
Landing Page
- Added blog entry for release (Markus Raab)
Important Changes for Developers
- We restructured the repository layout. (Paul Bachinger)
- We now have a regex to avoid inconsistent branch names or branches that start with
usernameby accident. (Paul Bachinger) - Database migrations were squashed, so only the new 1.0.0 dump works, other dumps cannot be used anymore.
Meetings
- From now on PM Meeting Notes will be in the PM repo.
- PM Meeting Agenda & Notes for 05.12.2025 11:30 (Markus Raab, Paul Bachinger)
- Meeting Agenda&Notes for 08.12.2025 9:00 (Markus Raab, Patrick Grassl)
- Meeting Agenda&Notes for 15.12.2025 9:00 (Markus Raab, Alfons Müller)
- Meeting Agenda&Notes for 22.12.2025 9:00 (Markus Raab, Justus Weilguni)
Compatibility
This release we squashed all migrations the last time. 1.0.0 database is not compatible to previous releases. For an upgrade, the database needs to be wiped and imported freshly again.
The migrations of 1.0.0 will be compatible with all future releases.
Migrations
- MIGRATION: Fixed squashed migration down.sql to use CASCADE when dropping extensions for proper redo support #2400. (Paul Bachinger)
- Prepared squashed migration for 1.0.0 release by adding required comment markers, re-enabling redo migration tests, and fixing down.sql to use CASCADE when dropping extensions #2400. (Paul Bachinger)
- Standardized MIGRATION file headers: up.sql files now have "DO NOT MODIFY" disclaimer, down.sql files use standard "undo" header #2378. (Paul Bachinger)
- MIGRATION: Added trail audit fields to entities (Justus Weilguni)
- MIGRATION: Added pause state tracking for guided tours (Justus Weilguni)
- MIGRATION: Moved drawing variants from JSONB to tables (Justus Weilguni)
- Removed all past migrations and added base migration for squashed 1.0.0 setup #2389 (Alfons Mueller)
Scraper Data
- Improve scraper reproducibility (Christoph Schreiner)
Frontend
- Fixed bug causing multiple guided tours to start at the same time #2364 (Alfons Mueller)
- Improve bezier polygon position #2387 (Moritz Muth)
- Removed unused honors and visited counters from maps #2388 (Alfons Mueller)
Bug Fixes
- Fixed repo urls after project restructuring in CI/CD. (Paul Bachinger)
- Fix plant icons trying to load with invalid icon path #2297 (Ben Schlegel)
- Add proper scaling to copy & paste #2435 (Moritz Muth)
Development
- Fix overlapping text when creating or resizing planting area #2120 (Andrei Dinu-Coreth)
- Layer reordering disabled when measurement is active #2257 (Andrei Dinu-Coreth)
- Finalize Copy & Paste #1324 (Moritz Muth)
- Finalize Frontend Access Control #2219 (Moritz Muth)
- Fix selected plants getting unselected by lazy loading 2078 (Andrei Dinu-Coreth)
Backend
Bug Fixes
- Fixed JWT token validation failing due to audience claim causing 401 errors on all authenticated API requests #2420 (Paul Bachinger)
- Changed ORM to work with trail audit fields #1938 (Justus Weilguni)
- Removed left-over uuid v4 replaced with uuid v7 #2414 (Justus Weilguni)
- Adapted drawings ORM to work without JSONB. #2371 (Justus Weilguni)
- Changed Floats in API to Int. #2348 (Justus Weilguni)
- Switch to using UUID V7 #2390 (Andrei Dinu-Coreth and Justus Weilguni)
Development
- Added pause state tracking for guided tours #2315 (Justus Weilguni)
- Added CORS entry for www.staging.permaplant.net and master.staging.permaplant.net (Patrick Grassl)
Libraries
- Updated 128 packages via cargo update, known ring 0.16.20 vulnerability remains (tracked in #1857), #2355. (Paul Bachinger)
- Updated reqwest from 0.11 to 0.12 #1856. (Justus Weilguni)
- Added module for encoding in testcases #2158 (Justus Weilguni)
- Added dev-dependencies for testing and upgraded jsonwebtoken to 9.3.0 #2158 (Justus Weilguni)
Tools
- Added GitLab backup script for Phase 0 of project structure refactoring #2147 (Paul Bachinger)
- Added automated changelog cleanup script for release preparation, removes duplicates and normalizes links #2357 (Paul Bachinger)
- Reorganized release notes into doc/releases/notes/ subdirectory for cleaner structure #2357 (Paul Bachinger)
PM
- Added dynamic label documentation generator that fetches all GitLab labels and generates
doc/contrib/labels.mdautomatically #2397. (Paul Bachinger) - Removed globally managed MR and issue templates (Paul Bachinger)
CI
- Migrated CI/CD to use SSH key authentication instead of username/password credentials for GitLab authentication, improving security by avoiding credential exposure in Docker image layers. (Paul Bachinger)
- Updated Jenkinsfile for deployment to mr.staging.permaplant.net #2396 (Patrick Grassl)
- Updated Jenkinsfile for deployment to master.staging.permaplant.net #2419 (Patrick Grassl)
- Fixed pipeline failures caused by Diesel CLI and Rust version mismatches between CI and deployment servers, added version management to Ansible playbooks #2423. (Paul Bachinger)
- Improved E2E test retry mechanism by fixing incorrect sleep placement, adding database cleanup between retries, and removing duplicate retry logic #2351 (Paul Bachinger)
Pre-commit
- Updated release workflow template to include staging infrastructure testing and diagnostic procedures #2318 (Paul Bachinger)
- Updated migration check script to support dual migration status for master-as-testing workflow #2379. (Paul Bachinger)
- Updated migration check script to enforce new migration header standards (DO NOT MODIFY disclaimer for production migrations, standard header for down.sql files) #2378. (Paul Bachinger)
Documentation
- Changed meeting workflow to include issue creation during meeting #2261 (Elizaveta Mokshantseva)
Workflows
- Cleanup dev.md after release (Markus Raab)
- Added install-scraper command in makefile #2110 (Christoph Schreiner)
- Write guidelines for manual test case creation (ChrisK)
- Update frontend editor decision #2227 (Moritz Muth)
- Created decision document for canvas dependency resolution strategy #2294 (Paul Bachinger)
- Updated Release.md template to document migration header standards #2378. (Paul Bachinger)
- Implemented issue triage workflow improvements. #2260 (Paul Bachinger)
- Extracted guidelines from workflows into separate guideline documents for better reusability and maintainability. Created new guideline documents: review.md, issue-triage.md, issue-refinement.md, issue-reporting.md, and iteration-planning.md. #2259 (Paul Bachinger)
Tests
Testing Summary
For the 1.0.0 "Solid Foundation" release, comprehensive testing was performed across all layers:
Manual Testing:
- Tester: Moritz Muth
- Date: 23.12.2025
- Test Cases: 118 planned, 97 executed
- Results: 110 passed, 5 problematic, 3 failed
- Report: Manual Test Report #2413
Frontend Tests (Vitest):
- Test Files: 40 passed
- Test Cases: 195 passed, 4 skipped (199 total)
- Browser: Modern JavaScript engines (Vitest)
E2E Tests (Playwright + pytest-bdd):
- Browser: Chromium (via Playwright)
- Feature Files: 10
- Test Scenarios: 32
- Framework: pytest-bdd with BDD-style scenarios
Backend Tests (Rust):
- Test Cases: 716
- Test Build Time: 31.97 seconds
- Framework: Rust standard test framework
Total Test Cases: 1,142 automated tests (716 backend + 195 frontend + 199 manual + 32 e2e)
Test Reports
- Added manual test report for 0.9.0 #2354 (Alfons Mueller)
- Added manual test report for 1.0.0 #2413 (Moritz Muth)
E2E
- Refactor testcases to match usecases. (ChrisK)
1.0.1
We are proud to release 1.0.1 with 1735 commits, 683 files changed, 25,330 insertions(+), 7,999 deletions(-).
Highlights
- User progress in the guided tour is now tracked per step, enabling users to resume where they left off and ensuring that users who previously completed the tour only see newly added steps. (Alfons Mueller)
- Added OpenTelemetry instrumentation for backend observability. (Johannes Ziehengraser)
- Various bug fixes and performance improvements. (Maiia Kuzmishyna)
Statistics
Closed Issues
Based on milestone 1.0.1 (Jan 1, 2026 – Mar 13, 2026):
- 134 closed issues
| Contributor | Issues |
|---|---|
| Alfons Mueller | 23 |
| Christoph Kraus | 18 |
| Maiia Kuzmishyna | 12 |
| Justus Weilguni | 12 |
| Johannes Ziehengraser | 11 |
| Vseslav Levchenko | 10 |
| Moritz Adelsberger | 7 |
| Paul Bachinger | 7 |
| Elizaveta Mokshantseva | 7 |
| Christoph Schreiner | 7 |
| Moritz Muth | 6 |
| Patrick Grassl | 5 |
| Lukas Oberhauser | 4 |
| Markus Raab | 3 |
| Andrei Dinu-Coreth | 2 |
| Hannes Zettl | 2 |
Merge Request Approvals
Based on milestone 1.0.1 window (Jan 1, 2026 – Mar 13, 2026):
- Markus Raab: 69 approvals
- Moritz Muth: 45 approvals
- Patrick Grassl: 30 approvals
- Vseslav Levchenko: 25 approvals
- Alfons Mueller: 25 approvals
- Maiia Kuzmishyna: 24 approvals
- Christoph Schreiner: 21 approvals
- Moritz Adelsberger: 20 approvals
- Elizaveta Mokshantseva: 17 approvals
- Christoph Kraus: 16 approvals
- Hannes Zettl: 15 approvals
- Justus Weilguni: 14 approvals
- Paul Bachinger: 13 approvals
- Johannes Ziehengraser: 12 approvals
- Ben Schlegel: 5 approvals
- Lukas Oberhauser: 2 approvals
- Eszter Stummer: 2 approvals
- Andrei Dinu-Coreth: 1 approval
Contributors
- Alfons Mueller
- Andrei Dinu-Coreth
- Ben Schlegel
- Christoph Kraus
- Christoph Schreiner
- Elizaveta Mokshantseva
- Eszter Stummer
- Hannes Zettl
- Johannes Ziehengraser
- Justus Weilguni
- Lukas Oberhauser
- Maiia Kuzmishyna
- Markus Raab
- Moritz Adelsberger
- Moritz Muth
- Patrick Grassl
- Paul Bachinger
- Richard Wutscher
- Vseslav Levchenko
Landing Page
- Add Eszter to team-members on the landing page #2484 (Moritz Adelsberger)
- Move Alfons to inactive on the landing page #2515 (Alfons Mueller)
- Move Johannes to inactive on the landing page #2516 (Johannes Ziehengraser)
Important Changes for Developers
Meetings
- Meeting Agenda&Notes for 29.12.2025 9:00 (Markus Raab, Ben Schlegel)
- Meeting Agenda&Notes for 05.01.2026 9:00 (Markus Raab, Christoph Schreiner)
- Meeting Agenda&Notes for 12.01.2026 9:00 (Markus Raab, Johannes Ziehengraser)
- Meeting Agenda&Notes for 19.01.2026 9:00 (Markus Raab, Maiia Kuzmishyna)
- Meeting Agenda&Notes for 26.01.2026 9:00 (Markus Raab, Moritz Muth)
- Add presentation slides to meeting notes for 29.12.2025 9:00 (Moritz Muth)
- Meeting Agenda&Notes for 02.02.2026 9:00 (Markus Raab, Hannes Zettl)
- Meeting Agenda&Notes for 09.02.2026 9:00 (Markus Raab, Christoph Kraus)
- Meeting Agenda&Notes for 16.02.2026 9:00 (Markus Raab, Patrick Grassl)
- Meeting Agenda&Notes for 23.02.2026 9:00 (Markus Raab, Ben Schlegel)
- Meeting Agenda&Notes for 02.03.2026 9:00 (Markus Raab, Elizaveta Mokshantseva)
Compatibility
Migrations
- MIGRATION: Added database constraints for the hierarchy (Christoph Schreiner)
- MIGRATION: Fix existing plant rows violating rank consistency before adding hierarchy constraint (Paul Bachinger)
- Added migration to add uuidv4 constraints to fields holding user ids #2432 (Alfons Mueller)
- Standardized migration header comments for release preparation #2529 (Paul Bachinger)
Scraper Data
- Added function to delete and merge plants #1412 (Christoph Schreiner)
- Added text replacements to scraper pipeline #1740 (Christoph Schreiner)
Bug Fixes
Frontend
- Fixed timeline date picker scrolls to incorrect date on page refresh #2265 (Maiia Kuzmishyna)
- Implement silent sign-in if user is already logged in #2256 (Christoph Kraus)
- Plantings are sometimes not loaded due to incorrect visible bounds #2284 (Maiia Kuzmishyna)
- Added guided tour frontend functionality for dark mode, pausing and tracking user progress #2481 (Alfons Mueller)
- Added warning when opening the inventory to notify users it is work in progress #2376 (Alfons Mueller)
- Handle server shutdown message in frontend and enable readonly mode #2410 (Alfons Mueller)
- Fix map sorting and pagination #2195 (Moritz Muth)
- Renamed PermaplanT realm to Perma. #2508 (Lukas Oberhauser)
New Features
Bug Fixes
- Display file-alert icon for missing Nextcloud images #2178 (Maiia Kuzmishyna)
- Fix local dev not working anymore #2452 (Johannes Ziehengraser)
- Optimized performance of toolbars resizing #2440 (Maiia Kuzmishyna)
- Improved UX of Nextcloud image error handling #1776 (Maiia Kuzmishyna)
- Changed auth server url where used #2494 (Johannes Ziehengraser)
- Fixed timeline not auto-collapsed when going below a certain window size #2488 (Maiia Kuzmishyna)
- No telemetry sending if no endpoint defined #2470 (Johannes Ziehengraser)
- Fixed automatically removed plantings now being marked in timeline #1566 (Maiia Kuzmishyna)
- Fixed error messages on logout #1515 (Maiia Kuzmishyna)
- Fixed Notes text box losing focus during planting edit #2383 (Vseslav Levchenko)
- Fixed timeline not adjusting day when resizing #1086 (Vseslav Levchenko)
- Fixed E2E base layer tests passing int instead of string to Playwright assertions (Paul Bachinger)
Development
- Reopen toolbars automatically #2290 (Moritz Muth)
- Improve positioning of map overlay toggles #2275 (Moritz Muth)
Libraries
- Change to using ua-parser-js v1 to use MIT License #1732 (Andrei Dinu-Coreth)
Backend
- Added Backend functionality for guided tour pausing and incremental progress #2480 (Alfons Mueller)
- Add goodbye message sent on server shutdown #578 (Justus Weilguni)
- Add check for membership when creating seeds and maps #2471 (Justus Weilguni)
- Refactor map search to retrieve results in a single query #2195 (Justus Weilguni)
- Added sorting to the maps find endpoint. #2411 (Justus Weilguni)
- Renamed PermaplanT realm to Perma. #2507 (Lukas Oberhauser)
New Features
- Add OpenTelemetry #1806 (Johannes Ziehengraser)
- Add OpenTelemetry instrumentation for tokio #2451 (Johannes Ziehengraser)
Bug Fixes
- Have make generate a schema.rs if not present #2466 (Justus Weilguni)
Libraries
Tools
- Updated auto-rebase-mrs.sh to handle new repository domain name and enhanced overall reliability. #2463 (Patrick Grassl)
- Fixed auto-rebase-mrs.sh #2496 (Patrick Grassl)
Build System
- Upgrade pgAdmin dependency #2445 (Moritz Muth)
- Added clippy constraints to make run-backend #2311 (Justus Weilguni)
CI
- Added hybrid job allocation strategy to Jenkins deployment pipelines to improve resource utilization and reduce wait times #2437 (Paul Bachinger)
- Pinned docker images with hash #2400 (Paul Bachinger)
- Improved Jenkins pipeline resilience by adding agent fallback logic and configurable execution flags for staging and E2E tests. #2456 (Patrick Grassl)
- Adjusted Jenkins pipeline and E2E tests according to current hardware specifications. #2474 (Patrick Grassl)
- Added hz-production-agent to
DOCKER_BUILD_NODESfor reliable local Docker build capacity #760 (Paul Bachinger)
Documentation
- Added new status label documentation #2246 (Elizaveta Mokshantseva)
- Simplified scraper documentation #634 (Christoph Schreiner)
- Added opentelemetry design decisions #1976 (Johannes Ziehengraser)
- Bumped version and finalized release notes #2400 (Paul Bachinger)
- Fixed deprecated links #2400 (Paul Bachinger)
- Fixed blog date and team role (Paul Bachinger)
- Added documentation for scope::database label #2446 (Elizaveta Mokshantseva)
- Add documentation for bigint and date usage in backend and typeshare #2421 (Justus Weilguni)
- Add documentation on where .env files are located #2448 (Johannes Ziehengraser)
- Added subfolders for decisions #2285 (Alfons Mueller)
- Fixed broken links #2456 (Patrick Grassl)
- Add documentation on how to use SigNoz #2448 (Johannes Ziehengraser)
- Moved decisions to correct folders and fixed links (Alfons Mueller)
- Added 'Resolve Merge Conflicts Section' #2477 (Moritz Adelsberger)
- Added guided tour improvement ideas #2180 (Alfons Mueller)
- Added guided tour overview documentation #2180 (Alfons Mueller)
- Added decision on the use of JSON #1823 (Alfons Mueller)
- Added technical overview of data handling relevant for GDPR guidelines #1591 (Alfons Mueller)
- Added Vseslav to contributors as part of onboarding #2486 (Vseslav Levchenko)
- Added Environment Variables Section to Docker Development Setup #2472 (Moritz Adelsberger)
- Added decision document for polygon overlap handling #2288 (Alfons Mueller)
- Renamed PermaplanTDev Nextcloud folder and chat to PermaDev in Onboarding template #2503 (Vseslav Levchenko)
- Added decision on replacement library for hull.js #1889 (Alfons Mueller)
- Add Mo to contributors #2464 (Moritz Adelsberger)
- Add Lukas to contributors as part of onboarding #2502 (Lukas Oberhauser)
- Added decision for nextcloud baselayer images #2304 (Alfons Mueller)
- Offboarding Richard (Richard Wutscher)
- Fixed Markdown in database table description #2520 (Vseslav Levchenko)
- Fixed typo and updated URL in dev setup documentation #2521 (Vseslav Levchenko)
- Fixed broken external links: updated Zustand docs URLs, replaced dead board.permaplant.net link #2529 (Paul Bachinger)
Workflows
- Added guided tour update workflow #2226 (Alfons Mueller)
- Added guideline on frontend images error handling #1776 (Maiia Kuzmishyna)
- Add documentation on the usage of new affects guided-tour label #2319 (Alfons Mueller)
- Updated access control usecase #2361 (Justus Weilguni)
- Removed contributors from CODEOWNERS #2447 (Elizaveta Mokshantseva)
Tests
Unit Tests
- Fixed broken heatmap tests #2422 (Christoph Schreiner)
E2E
- Improved E2E test stability by adding retries and unique names for failures #2350 (Christoph Kraus)
- Removed time.sleep(5) during login and improved flakiness of login test #1901 (Christoph Kraus)
- Print map name on create for debugging, refactor tour closing for less useless information, improved map opening steps to search first #2460 (Christoph Kraus)
- Enable image based e2e tests again after canvas changes and nextcloud 401 fix #2273 (Christoph Kraus)
- Changed rm to rm -f to avoid errors when state file is not present #2040 (Christoph Kraus)
- Implemented multi-select E2E tests using drag-and-drop selection #841 (Christoph Kraus)
- Upgrade playwright version to 1.58.0 #2493 (Christoph Kraus)
- Added E2E test to verify date validation error is shown when end date is before start date in planting details #2489 (Christoph Kraus)
- Implement remember selected layer between map visits in E2E tests #2459 (Christoph Kraus)
- Enabled image based e2e tests again after nextcloud fix #2485 (Christoph Kraus)
- Add missing undo/redo in existing e2e tests #2045 (Christoph Kraus)
1.0.2
We are proud to release 1.0.2 with 541 commits, 298 files changed, 7249 insertions(+), 1344 deletions(-)
Highlights
- added first set of plant attributes
- improved onboarding
- important fixes, like default path and resolution of base layer images
Statistics
Merge Request Approvals
Based on milestone 1.0.2 window (Mar 14, 2026 – Apr 13, 2026):
- Markus Raab: 33 approvals
- Vseslav Levchenko: 13 approvals
- Moritz Muth: 10 approvals
- Moritz Adelsberger: 9 approvals
- Peter Mrkonjic: 7 approvals
- Lukas Oberhauser: 7 approvals
- Paul Bachinger: 6 approvals
- Patrick Grassl: 6 approvals
- Christoph Kraus: 6 approvals
- Christoph Schreiner: 6 approvals
- Elizaveta Mokshantseva: 3 approvals
- Justus Weilguni: 3 approvals
- Maiia Kuzmishyna: 2 approvals
- Eszter Stummer: 2 approvals
- Elia Wenty: 2 approvals
- Hannes Zettl: 2 approvals
- Ines Katharina Schnabl: 1 approval
Contributors
- Andrei Dinu-Coreth
- Christoph Kraus
- Christoph Schreiner
- e12111940
- Elia Wenty
- Elizaveta Mokshantseva
- Eszter Stummer
- Ines Katharina Schnabl
- Justus Weilguni
- Lukas Oberhauser
- Maiia Kuzmishyna
- Markus Raab
- Moritz Adelsberger
- Moritz Muth
- Patrick Grassl
- Peter Mrkonjic
- Vseslav Levchenko
Landing Page
- various improvements and adjustments according study, office hours, blog entries (Markus Raab)
- use onboarding.perma.health instead of e-mail for onboarding (Justus Weilguni)
- fix prize per year and email protection (Elia Wenty)
- add blog posts (Eszter Stummer)
- add Alisa to landing page (Ines Schnabl)
Meetings
- Meeting Agenda&Notes for 16.03.2026 9:00 (Markus Raab, Hannes Zettl)
- Meeting Agenda&Notes for 23.03.2026 9:00 (Markus Raab, Vseslav Levchenko)
- Meeting Agenda&Notes for 30.03.2026 9:00 (Markus Raab, Chris(toph) Kraus)
- Meeting Agenda&Notes for 30.03.2026 9:00 (Markus Raab, Elizaveta Mokshantseva)
Compatibility
Migrations
- Added migration to make plant IDs required in the seeds table #991 (Vseslav Levchenko)
- Added missing migration headers for release #2613 (mo)
Resolution
- Fix default resolution of base layer images #2574
Bug Fixes
- Fixed hybrid detection in scraper with leading multiplication sign #2555. (Christoph Schreiner)
- Fixed base layer image file path (Markus Raab)
- Change default from plant markers (Markus Raab)
- Added Access Control checks to plantings (Justus Weilguni)
- Added Access Control checks to base layer images, Fixed broken testcase (Justus Weilguni)
Frontend
New Features
- Disabled remembering map planning time #2589 (Vseslav Levchenko)
- Added life cycle, functions, edible boolean and warning list as shown plant attributes in the Toolbar #476 (Vseslav Levchenko)
- Added preferred locale to the newsletter subscription #2604 (Justus Weilguni)
Bug Fixes
- Fixed resizing plantings with plant markers #2424 (Maiia Kuzmishyna)
- Disabled automatic list continuation in Markdown editor #2026 (Vseslav Levchenko)
- Fix alignment of plant attributes #2609 (Moritz Muth)
- Fix alignment of plant attributes #2620 (Vseslav Levchenko)
Libraries
- Bump versions and fix trivial security vulnerabilities #2613 (Moritz Adelsberger)
Backend
Bug Fixes
- Fixed heatmap breaking for area of plants if the plant spread is Null #2587 (Christoph Schreiner)
Libraries
- Bump versions and fix trivial security vulnerabilities #2613 (Moritz Adelsberger)
Tools
- Fixed the local development setup #2501 (Moritz Adelsberger)
CI
- Added Jenkins pipeline for Gitlab triage #2373 (Moritz Adelsberger)
- Fix Jenkins Pipeline CPS method mismatches and improve formatting #2581 (Patrick Grassl)
- Implement proper docker image cleanup #2582 (Patrick Grassl)
- Add cleanup for triage pipeline #2584 (Patrick Grassl)
- Fix Gitlab-Triage Secret Type mismatch (Moritz Adelsberger)
Documentation
- Cleaned dev.md changelog for new release cycle #2529 (Paul Bachinger)
- Fixed release notes URL in release issue template #2529 (Paul Bachinger)
- Added Peter to contributor docs #2526 (Peter Mrkonjic)
- Added Ines to contributor docs #2540 (Ines Schnabl)
- Added Peter to contributor docs #2177 (Peter Mrkonjic)
- Add Elia to authors as part of onboarding #2525 (Elia Wenty)
- Replaced permaplant.net URIs with perma.health #2552 (Lukas Oberhauser)
- Marked known problematic tests in the templates #2549 (Vseslav Levchenko)
- Fixed typos in meeting docu for 16.03 #2557 (Vseslav Levchenko)
- Updated frontend architecture decision and created guideline on frontend utilities #2253 (Maiia Kuzmishyna)
- Frontend utility library decision #2356 (Maiia Kuzmishyna)
- Created frontend self-assessment onboarding checklist #2543 (Maiia Kuzmishyna)
- Moved plant markers and highlight searched plants use cases to done #2565 (Maiia Kuzmishyna)
Workflows
- Add separate file for Zustand guidelines with examples #2339 (Andrei Dinu-Coreth)
- Move myself and other inactive authors to inactive section in authors.md and landing page #2339 (Andrei Dinu-Coreth)
- Add workflow for creating manual and e2e test from use case #2463 (Christoph Kraus)
Tests
Manual Tests
- Add additional copy & paste test cases #2413 (Moritz Muth)
- Updated certain manual test cases for Plant Layer, Hierarchy and Heatmap; marked them as "Can be broken on scraper data change" #2182 (Vseslav Levchenko)
E2E
- Added E2E tests to verify selected tab is remembered when reopening map #1726 (Christoph Kraus)
Releases
0.6.0 - 13.05.2025
With 415 commits there was a lot of progress in one month:
- 229 files changed, 8011 insertions(+), 4886 deletions(-)
Scraper-data now exploded to:
- 814 temporal relations
- 1.213 spatial relations
- 12.445 plants
Authors
- Dinu-Coreth, Andrei Cristian
- Feldmann, Stefanie
- Filip Markovic
- Kraus, Christoph
- Kuzmishyna, Maiia
- Muth, Moritz
- Raab, Markus
- Richard Wutscher
- Schreiner, Christoph
- Wutscher, Richard
- Ziehengraser, Johannes
Changes
- Update Rust to 1.86 (Johannes Ziehengraser)
- DEV: because of release and other changes, all MRs need to do #1873
- Added Meeting Agenda&Notes for 07.04.2025 9:00 (Markus Raab, Ben Schlegel)
- Added Meeting Agenda&Notes for 14.04.2025 9:00 (Markus Raab, Stefanie Feldmann)
- Added Meeting Agenda&Notes for 21.04.2025 9:00 (Markus Raab, Christoph Kraus)
- Added Meeting Agenda&Notes for 28.04.2025 9:00 (Markus Raab, Christoph Schreiner)
- Added Meeting Agenda&Notes for 05.05.2025 9:00 (Markus Raab, Johannes Ziehengraser)
- Fixed brushing areas with thick stroke (Maiia Kuzmishyna)
- Fixed e2e pipeline, can't close tour (ChrisK)
- Fixed timeline rerendering too often (Maiia Kuzmishyna)
- document current status of CI/CD pipeline testing (ChrisK)
- Ensuring e2e waits for maps to load (ChrisK)
- Changed default size of new (non-area) plantings to 100cm (Maiia Kuzmishyna)
- Fixed relation not updating on undo and incorrectly updating on rotation or resize (Maiia Kuzmishyna)
- MIGRATION: Implemented basic plant hierarchy (Christoph Schreiner)
- Added scraper pipeline step to expand relationship files (Christoph Schreiner)
- remaining issues about PR -> MR from GitLab migration (Andrei Dinu-Coreth, Markus Raab)
- Add package to avoid build error related to storybook. (Andrei Dinu-Coreth)
- Fix plant width and height attributes of plant being shown as invalid due to empty value. (Andrei Dinu-Coreth)
- Add documentation about the usage of null vs undefined in the Frontend (Andrei Dinu-Coreth)
- SCRAPERDATA: Updated scraper code for new scraper data file structure (Christoph Schreiner)
- SCRAPERDATA: Fixed creating the hierarchy and expanding relationships (Christoph Schreiner)
- Updated plant hierarchy decision (Christoph Schreiner)
- Created manual test report for dev (ChrisK)
- Fix e2e user change (Johannes Ziehengraser)
- Update null and undefined guidelines (Maiia Kuzmishyna)
- Update hull.js with new GitHub source (Andrei Dinu-Coreth)
- Replace math floor with round in several scale calculations for better accuracy (Andrei Dinu-Coreth)
- Improve keybindings and fix keylisteners over-listening (Andrei Dinu-Coreth)
- Fix language of tour not updating correctly when language changed (Andrei Dinu-Coreth)
- When measurement is active, do not hide previously shown toolbar (Andrei Dinu-Coreth)
- Updated authors.md and TeamPage. Added the "Q&A Engineer" role to the Frontend Landing Page (ChrisK)
- CI: change deployed dump name (Filip Markovic)
- Separate map information (layer opacity, layer visibility, selected layer, timeline date, view state, plant labels visibility) and persist it in local storage. (Andrei Dinu-Coreth)
- Added documentation on how to use and extend the local-storage-persisted stored map information. (Andrei Dinu-Coreth)
- Map area now limited to actual visible area, so the right toolbar does not cover a part of the map. (Andrei Dinu-Coreth)
- Map now stays centered on the same center coordinate when browser window or toolbars resize. (Andrei Dinu-Coreth)
- General responsivity improvements (Moritz Muth)
- Hide action buttons for other maps (Moritz Muth)
- Allow area of plantings creation of any size (Moritz Muth)
- Update modified on date when planting changed (Moritz Muth)
- Update plant relations on date change (Moritz Muth)
- Fix update remove date plant reverse action (Moritz Muth)
- Fix section titles on map overview (Moritz Muth)
- Add new use cases (Mobile usability) (Moritz Muth)
- Add new use cases (Highlight searched plants, Brushing) (Maiia Kuzmishyna)
- Add frontend react guidelines (Maiia Kuzmishyna)
- Add touchscreen and responsiveness guidelines (Moritz Muth)
- fix check-migrations pipeline step (Richard Wutscher)
- added map performance improvements to docs (Stefanie Feldmann)
- updated logout functionality and button styles (Stefanie Feldmann)
- Exclude docs from PWA (Richard Wutscher)
- fixed sealed soil texture on first load for Firefox (Stefanie Feldmann)
- added scraper data to release pipeline (Richard Wutscher)
- Write blog entry (Markus Raab)
0.5.0 - 09.04.2025
With 1754 commits this is probably the biggest release so far: 642 files changed, 54425 insertions(+), 21055 deletions(-)
Important note:
E2E tests are broken and fail silently Manual tests were done by Christoph Kraus
- DEV: Updated .devcontainer (Johannes Ziehengraser)
- Fix bug that breaks map deletion (Johannes Ziehengraser)
- Updated E2E testuser and documentation (Johannes Ziehengraser)
- Small changes to E2E to try reduce failure rate (Andrei Dinu)
- Moved inactive authors (Markus Raab)
- Unsquashed seed, drawing and planting migrations (Richard Wutscher, Christoph Schreiner)
- MIGRATION: Marked migrations as stable and ready to be merged for 0.5.0 (Richard Wutscher, Christoph Schreiner, Markus Raab)
- CI: Fix rust container which used old diesel version (Johannes Ziehengraser)
- Added testing strategy and planning documentation (Johannes Ziehengraser, Moritz Muth)
- Remaining issues about PR -> MR from GitLab migration (Andrei Dinu-Coreth, Markus Raab)
- Add package to avoid build error related to storybook. (Andrei Dinu-Coreth)
- Fix Heatmap still showing after pressing escape while planting. (Andrei Dinu-Coreth)
- CI: Pump version of Playwright (E2E) (Johannes Ziehengraser)
- Fix bug in e2e testing regarding time.sleep (Johannes Ziehengraser)
- DEV: Update rust to 1.83 (Johannes Ziehengraser)
- E2E: Activate timeline scenario (Johannes Ziehengraser)
- Add doc to reset guided tours (Johannes Ziehengraser)
- Added fail on JS errors in e2e (Johannes Ziehengraser)
- add SQL import (Filip Markovic)
- Changed e2e testing to reuse auth session for non login tests (Johannes Ziehengraser)
- Add onboarding issue template (Markus Raab)
- Added Meeting Agenda&Notes for 19.08.2024 9:00 (Markus Raab, Christoph Schreiner)
- Added Meeting Agenda&Notes for 26.08.2024 9:00 (Markus Raab, Stefanie Feldmann)
- Added Meeting Agenda&Notes for 09.09.2024 9:00 (Markus Raab, Filip Markovic/Lukas Anton Lakits)
- Added Meeting Agenda&Notes for 16.09.2024 9:00 (Markus Raab, Jannis Adamek)
- Added Meeting Agenda&Notes for 23.09.2024 9:00 (Markus Raab, Lukas Anton Lakits)
- Added Meeting Agenda&Notes for 30.09.2024 9:00 (Markus Raab, Jannis Adamek)
- Added Meeting Agenda&Notes for 07.10.2024 9:00 (Markus Raab, Christoph Schreiner)
- Added Meeting Agenda&Notes for 14.10.2024 9:00 (Markus Raab, Filip Markovic/Stef)
- Added Meeting Agenda&Notes for 21.10.2024 9:00 (Markus Raab, Andrei Dinu)
- Added Meeting Agenda&Notes for 28.10.2024 9:00 (Markus Raab, Lukas Anton Lakits)
- Added Meeting Agenda&Notes for 04.11.2024 9:00 (Markus Raab, Stefanie Feldmann)
- Added Meeting Agenda&Notes for 11.11.2024 9:00 (Markus Raab, Jannis Adamek)
- Added Meeting Agenda&Notes for 23.11.2024 9:00 (Markus Raab, Andrei Dinu-Coreth)
- Added Meeting Agenda&Notes for 02.12.2024 9:00 (Markus Raab, Filip Markovic)
- Added Meeting Agenda&Notes for 09.12.2024 9:00 (Markus Raab, Johannes Ziehengraser)
- Added Meeting Agenda&Notes for 16.12.2024 9:00 (Markus Raab, Jannis Adamek)
- Added Meeting Agenda&Notes for 13.01.2025 9:00 (Markus Raab, Stefanie Feldmann)
- Added Meeting Agenda&Notes for 20.01.2025 9:00 (Markus Raab, Andrei Dinu-Coreth)
- Added Meeting Agenda&Notes for 27.01.2025 9:00 (Markus Raab, Jannis Adamek)
- Added Meeting Agenda&Notes for 03.02.2025 9:00 (Markus Raab, Stefanie Feldmann)
- Added Meeting Agenda&Notes for 10.02.2025 9:00 (Markus Raab, Johannes Ziehengraser)
- Added Meeting Agenda&Notes for 17.02.2025 9:00 (Markus Raab, Stefanie Feldmann)
- Added Meeting Agenda&Notes for 24.02.2025 9:00 (Markus Raab, Andrei Dinu-Coreth)
- Added Meeting Agenda&Notes for 03.03.2025 9:00 (Markus Raab, Christoph Schreiner)
- Added Meeting Agenda&Notes for 10.03.2025 9:00 (Markus Raab, Johannes Ziehengraser)
- Added Meeting Agenda&Notes for 17.03.2025 9:00 (Markus Raab, Moritz Muth)
- Added Meeting Agenda&Notes for 24.03.2025 9:00 (Markus Raab, Richard Wutscher)
- Added Meeting Agenda&Notes for 31.03.2025 9:00 (Markus Raab, Maiia Kuzmishyna)
- MIGRATION: Cleanup entity rs (Jannis Adamek)
- Fix base layer toolbar form re-rendering on save (Andrei Dinu)
- DEV: introduce keyword DEV (Markus Raab)
- Adapt distance input component to make entering negative values easier (Andrei Dinu)
- Change default offset value for the base layer to be 0 instead of 10cm (Andrei Dinu)
- Rework heatmap use cases (Markus Raab, Lukas Anton Lakits)
- Fix clearing remove date for plants and shade (Andrei Dinu)
- Add documentation for used shared Nextcloud resources (Filip Markovic)
- Make aborting autoscaling work consistently across all three options (Andrei Dinu)
- CI: exclude a7 from 'cargo-clippy-doc' job (Filip Markovic)
- Fix broken multiselection. (Andrei Dinu)
- Add scripts for api calls to PermaplanT (Filip Markovic)
- Add application*settings guide *(Filip Markovic)_
- Add union merge for changelog.md (Filip Markovic)
- Add height and creation meta data to PlantingDto (Jannis Adamek)
- Add decision for raw SQL (Jannis Adamek)
- CI: Jenkinsfile refactoring (Filip Markovic)
- CI: fix pipeline not failing (Filip Markovic)
- add git diff on failing pre-commit check (Filip Markovic)
- add Keycloak Everyone group documentation (Filip Markovic)
- CI: fix version file being deleted (Filip Markovic)
- Add auth to Python SSE test script (Jannis Adamek)
- Fix map delete button title attribute. (Christoph Schreiner)
- Mark WIP migrations and update release documentation (Christoph Schreiner)
- Fix add missing shade layers migration (Christoph Schreiner)
- Created manual test report for dev (Stefanie Feldmann, Christoph Schreiner)
- Add SSE benchmark scripts (Jannis Adamek)
- Add Authentication to SEE endpoint (Jannis Adamek)
- Add areas as concept for shadings, hydrologies and soil textures (Jannis Adamek)
- Add hydrology layer to frontend (Lukas Anton Lakits)
- Add soiltexture layer to frontend (Lukas Anton Lakits)
- DEV: Pump Rust Version to 1.81 (Jannis Adamek)
- Fix Rust compilation in Docker container (Jannis Adamek)
- replace old cloud.permaplant.net public share ID (Filip Markovic)
- Adjust branch naming info in docs (Jannis Adamek)
- add load test (Filip Markovic)
- Add tutorial for layer and element creation (Jannis Adamek)
- Add Keycloak research documentation (Filip Markovic)
- CI: bring back E2E stage (Filip Markovic)
- CI: remove a7 from cargo-clippy-doc stage to fix cargo document error (Filip Markovic)
- CI: added new changelog for 0.4.2 (Filip Markovic)
- Created manual test report for master (Stefanie Feldmann)
- Add correct links to README and add links to PermplanT (Filip Markovic)
- CI: fix dev e2e and import scraper data (Filip Markovic)
- CI: add loase map to mr and dev (Filip Markovic)
- Handle UpdateDrawingNotes in frontend and rename actions. (Jannis Adamek)
- Extend documentation for WaterRequirement, remove SoilWaterRetention (Jannis Adamek)
- Remove duplicate changelog entries (Filip Markovic)
- Implement map deletion (Moritz Schalk)
- Document frontend testing strategy (Moritz Schalk)
- Update frontend packages (Andrei Dinu)
- Place HeatmapLayer to always be positioned directly below PlantsLayer (Daniel Steinkogler)
- Add first draft of hydrology layer in frontend (Lukas Anton Lakits)
- Add BasicAttributeEditForm for abstraction of add-date and remove-date (Lukas Anton Lakits)
- Add tests for all actions (Lukas Anton Lakits)
- Extract tests for plant layer actions into own file and add additional tests (Lukas Anton Lakits)
- Add browser compatibility popup (Andrei Dinu-Coreth)
- Add manual tests for occupied space, hydrology and soil texture layers in heatmap (Lukas Anton Lakits)
- MIGRATION: Add migrations for crop rotation named temporal relation (Lukas Anton Lakits)
- Add notes (left toolbar) to drawing & shading layers (Lukas Anton Lakits)
- Fix test for base layer actions (Lukas Anton Lakits)
- Extend scraper for importing for crop rotation data (Lukas Anton Lakits)
- Add crop rotation with temporal relations to heatmap (Lukas Anton Lakits)
- Only allow placement of area of plants with left mouse button (Lukas Anton Lakits)
- Move heatmap functions from migrations to
sql_files(Lukas Anton Lakits) - MIGRATION: Cleanup & squash migrations (Lukas Anton Lakits)
- Update Dev-Setup Documentation & Add docker folder (Jannis, Lukas)
- Fix heatmap generation date to be timeline date (Lukas Anton Lakits)
- Rename plant relations to spatial relations (Lukas Anton Lakits)
- Adapt heatmap shading calculations & remove permanent deep shade in heatmap algorithm (Lukas Anton Lakits)
- Remove permanent deep shade from frontend & backend (Lukas Anton Lakits)
- Add width to left toolbar for all plants (Lukas Anton Lakits)
- Add height, createdAt and modifiedAt to PlantingAttributeEditForm (Lukas Anton Lakits)
- Cleanup shade layer frontend and remove unused code (Lukas Anton Lakits)
- Update use cases for brushing layers (Lukas Anton Lakits)
- Restructure manual tests (Lukas Anton Lakits)
- MIGRATION: Extend heatmap for hydrology & soil texture layers (Lukas Anton Lakits)
- Prevent scraper from inserting
permanent deep shadeinto plants (Lukas Anton Lakits) - CI: fix changelog check for dev (Filip Markovic)
- CI: add automatic scraper data to master and prod (Filip Markovic)
- Keep editor background always in light mode (Lukas Anton Lakits)
- Add sun (using noShade) shading type in the frontend (Lukas Anton Lakits)
- Add
life_cycleto plants API (Jannis Adamek) - Fix map delete button title attribute. (Christoph Schreiner)
- Mark WIP migrations and update release documentation (Christoph Schreiner)
- Changed heatmap algorithm and backend to use traffic light colors (Christoph Schreiner)
- Re-enable backend tests for heatmap (Lukas Anton Lakits)
- Add not found component for maps (also used when no permission for access) (Lukas Anton Lakits)
- Add manual test case for autoscaling base layer image and visual adaptations (Lukas Anton Lakits)
- Fix wrong coordinate location for osm map (Andrei Dinu-Coreth)
- Fix master/prod Plant images from Nextcloud (Filip Markovic)
- Add locations to map on landing page, change icon for location with link, update placeholder image to reflect changes. (Andrei Dinu-Coreth)
- Extend readonly-mode in frontend to whole application (Lukas Anton Lakits)
- Make public maps readonly for non-members (Lukas Anton Lakits)
- Prevent readonly-mode for admin-users (Lukas Anton Lakits)
- Adapt follow-up things for brushing layers (Lukas Anton Lakits)
- Improve performance of heatmap algorithm (Christoph Schreiner)
- Add indication for occupied space in heatmap (Lukas Anton Lakits)
- Enable map deletion (Moritz)
- Fix E2E test failure caused by changed username input label (Christoph Schreiner)
- Fix heatmap to use colors from database settings table. (Christoph Schreiner)
- CI: add db reset and e2e tests to dev (Filip Markovic)
- Refactor selection of elements (Daniel Steinkogler)
- Add map collaborator API (Paul)
- CI: add dev Jenkinsfile(.release) to master (Filip Markovic)
- Add myself to team (Moritz Muth)
- Minor documentation and spelling updates (Moritz Muth)
- Add Jürgen Cito to team (Moritz Muth)
- Reset plant cursor and relations when switching plant (Moritz Muth)
- Rename overlapping event namespace (Moritz Muth)
- Minor setup and documentation improvements (Moritz Muth)
- Add myself to team (Kuzmishyna Maiia)
- Layout-Cleanup for the map create/edit form with focus on mobile usability. (Moritz Muth)
- Clarified useEffect code guideline (Maiia Kuzmishyna)
- Minor improvements to dev setup documentation (Maiia Kuzmishyna)
- Add manual testcases for temporal relations in heatmap (Lukas Anton Lakits)
- Adapt heatmap calculations for temporal relations according to new manual tests (Lukas Anton Lakits)
- Add demo brush implementation (Daniel Steinkogler)
- Add notes to shadings same as plantings and drawings (Jannis Adamek)
- Finish shade layer use case (Lukas Anton Lakits)
- Use Konva Groups instead of Layers (Moritz)
- Updated cursor on opacity slider hover (Stefanie Feldmann)
- Fixed measurement bugs, updated status panel texts, updated cursor when measuring (Stefanie Feldmann)
- Added e2e tests for seeds and maps with more than 30 objects (Stefanie Feldmann,Christoph Schreiner)
- Fixed text capitalization on base layer form (Stefanie Feldmann)
- Updated docs with supported browser versions (Stefanie Feldmann)
- Updated issue template (Johannes Ziehengraser)
- CI: fix master pipeline before 0.4.3 release (Filip Markovic)
- CI: pump rust version in backend dockerfile (Filip Markovic)
- Zooming in is limited to a certain scale (Andrei Dinu)
- Fix clearing remove date for plants (Andrei Dinu)
- Updated landing page design, added new blog posts (Stefanie Feldmann)
- Added heatmap when clicking on an existing plant (Stefanie Feldmann)
- converted landing page hero image to webp (Stefanie Feldmann)
- disabled plant labels by default (Stefanie Feldmann)
- updated query keys for heatmap query to update on date change (Stefanie Feldmann)
- updated colors for hydrology, soil texture and shade layer (Stefanie Feldmann)
- added draft of new use cases (plant attributes, search icons) (Stefanie Feldmann)
- Add 'Richard Wutscher' as team member (Richard Wutscher)
- updated hover color of seed overview (Stefanie Feldmann)
- Added new team members, hide inactive members on default (Stefanie Feldmann)
- change remaining crlf line endings in files to lf (Ben Schlegel)
- (was reverted) updated
.gitattributesto automatically handle and convert line endings to lf where applicable (Ben Schlegel) - Add missing migration notices (Richard Wutscher)
0.4.4 - 04.11.2024
- Fix landing page mobile bugs (Stefanie Feldmann)
- Fix version number in frontend (Johannes Ziehengraser)
- Added check to ensure no migrations in master are changed during merge requests (Richard Wutscher)
- MIGRATIONS: Added CI check to prevent changing migrations that already ran on master (Richard Wutscher)
0.4.3 - 24.10.2024
- Added Meeting Agenda&Notes for 05.08.2024 9:00 (Markus Raab, Andrei)
- Added Meeting Agenda&Notes for 12.08.2024 9:00 (Markus Raab, Jannis)
- CI: added new changelog for 0.4.2 (Filip Markovic)
- Created manual test report for master (Stefanie Feldmann)
- CI: add dev Jenkinsfile(.release) to master (Filip Markovic)
- CI: fix master pipeline before 0.4.3 release (Filip Markovic)
- CI: pump rust version in backend dockerfile (Filip Markovic)
- Zooming in is limited to a certain scale (Andrei Dinu)
- Fix clearing remove date for plants (Andrei Dinu)
- Updated landing page design, added new blog posts (Stefanie Feldmann)
0.4.2 - 02.08.2024
- Reset size of new maps to old size (Andrei Dinu)
- Update documentation of frontend architecture (Daniel Steinkogler)
- CI: remove console.log before deployment (Filip Markovic)
- Fix migration regarding non-nullable notes (Jannis Adamek)
- Enable pagination on map overview screen (Moritz)
- CI: fix pre commit in pipeline (Filip Markovic)
- CI: fix Jenkinsfile.release for release (Filip Markovic)
- Added tile view for file selector (Daniel Steinkogler)
- Fix placing images in Drawing Layer (Daniel Steinkogler)
- Get use cases done (Daniel Steinkogler)
- Add GitLab template for "release" (Andrei Dinu)
- CI: pump version and fix security issues (Filip Markovic)
- Prevent placing plants when timeline is loading (Daniel Steinkogler)
- Implement measurement mode (Moritz)
- Draw new drawings in separate layer (Daniel Steinkogler)
- Updated database documentation (temmey, Christoph Schreiner)
- CI: check pipeline stability (Filip Markovic)
- Fix the bug where fill patterns are not correctly rendered in Firefox (Daniel Steinkogler)
- Enable map search in Frontend (Moritz Schalk)
- CI: add pr -> mr docs and show mr version on mr.permaplant.net (Filip Markovic)
- Add
notestodrawingsto matchplantings. #close 1385 (Jannis Adamek) - Add missing authors to doc/authors.md (Lukas Anton Lakits)
- Added missing contributors and updated texts on landing page (Stefanie Feldmann)
- Updated landing page order and added slider to blog posts (Stefanie Feldmann)
- CI: show prettier git log for (dev|master|mr).permaplant.net/version (Filip Markovic)
- Added Meeting Agenda&Notes for 27.05.2024 9:00 (Markus Raab, Daniel)
- Added Meeting Agenda&Notes for 03.06.2024 9:00 (Markus Raab, Jannis)
- Added Meeting Agenda&Notes for 10.06.2024 9:00 (Markus Raab, Moritz)
- Added Meeting Agenda&Notes for 17.06.2024 9:00 (Markus Raab, Christoph)
- Added Meeting Agenda&Notes for 24.06.2024 9:00 (Markus Raab, Moritz)
- Added Meeting Agenda&Notes for 27.06.2024 14:00 (Markus Raab, Christoph)
- Added Meeting Agenda&Notes for 15.07.2024 09:00 (Markus Raab, Lukas)
- Added Meeting Agenda&Notes for 22.07.2024 09:00 (Markus Raab, Christoph)
- Added Meeting Agenda&Notes for 02.08.2024 09:00 (Markus Raab, Stefanie)
0.4.1 - 29.05.2024
- CI: added pipeline for master.permplant.net and other name changes for pages (Filip Markovic)
- Added Meeting Agenda&Notes for 15.04.2024 9:00 (Markus Raab, Daniel)
- Added Meeting Agenda&Notes for 22.04.2024 9:00 (Markus Raab, Christoph)
- Added Meeting Agenda&Notes for 05.05.2024 9:00 (Markus Raab, Lukas)
- Added Meeting Agenda&Notes for 13.05.2024 9:00 (Markus Raab, Jannis)
- Added Meeting Agenda&Notes for 20.05.2024 9:00 (Markus Raab, Moritz)
- Add auditability metadata to plantings and maps (Jannis Adamek)
- When creating plantings set
remove_dateaccording tolife_cycle. #close 724 (Jannis Adamek) - Users can now create, update, rename, reorder and deleted layers. #close 1336 (Jannis Adamek, Daniel Steinkogler)
- Add
notestodrawingsto matchplantings(Jannis Adamek) - Removed Blossoms from Frontend (Text from guided tour, awarding Blossoms at the end of the tour) (Andrei Dinu)
- Added templates for Issues and Merge Requests in GitLab, removed GitHub folder (Andrei Dinu)
- Adjusted size and position of initial view of map, as well as default map polygon, to have entire map in view by default (Andrei Dinu)
- Fixed tour skipping steps related to timeline, corrected text entries for tour related to timeline. (Andrei Dinu)
- Fixed warning text from left toolbar being cut by map elements. (Andrei Dinu)
- Added paragraph about z-index usage to Frontend UI Usability Guideline in Docs (Andrei Dinu)
- Scraper: Error message of missing csv files now contains file name (Christoph Schreiner)
- Make plant labels the same size regardless of zoom level (Moritz Schalk)
- Add tests for hooks in frontend/layers (Lukas Anton Lakits)
- Add automatic scroll pagination to plant search (Lukas Anton Lakits)
- Add warn signs to sizes for multi-selected plant-areas (Lukas Anton Lakits)
- Add tutorial for creating new layers in Frontend (Lukas Anton Lakits)
- Extend tutorial for creating new layers in Frontend (Lukas Anton Lakits)
- Change keybindings (entf) from delete to remove (Lukas Anton Lakits)
- Add use case for crop rotation (Lukas Anton Lakits)
- Increase debounce submit delay (Lukas Anton Lakits)
- Change style of selected tabs in drawing layer right toolbar (Lukas Anton Lakits)
- Disable flipping of elements on map (Lukas Anton Lakits)
- Add points in middle of bezier polygon (Daniel Steinkogler)
- Return 409 Conflict when creating a map with taken name (Jannis Adamek)
- CI: take mdbook from gitlab (Filip Markovic)
- Provide specific toast message to user when backend returns 409 conflict for map with taken name (Andrei Dinu)
- Add toast messages for actions failing (Andrei Dinu)
- Change error texts to make translation of "sorry" consistent (Andrei Dinu)
- Automatically focus created text label after creation (Daniel Steinkogler)
- Hide transformer handles when editing bezier polygons (Daniel Steinkogler)
- CI: avoid cargo index rebuild (Filip Markovic)
- CI: change cleandb.py script to avoid confusion in pipeline errors (Filip Markovic)
- Add manual test for 0.4.1 release (Filip Markovic)
- Fixed bug to re-enable Ctrl+A in text inputs (Daniel Steinkogler)
- CI: implement changes for new branch system into Jenkinsfile (Filip Markovic)
- Fix drawing issues with overlapping bezier polygons (Daniel Steinkogler)
- CI: re-enable and try to fix E2E tests (Filip Markovic)
- change mentions of Github Permaplant to Gitlab (Filip Markovic)
- Increase cargo net.retry configuration to handle random network errors during CI. (Christoph Schreiner)
- Disable selection of other shapes when editing bezier polygon (Daniel Steinkogler)
- Fix timezone issue when calculating timeline data (Daniel Steinkogler)
- Added fill patterns, labels and images to drawing layer (Daniel Steinkogler)
- Prevent removal of plants and drawings on addDate with keybinding (Lukas Anton Lakits)
0.4.0 - 12.4.2024
- Display lines at y=0 and x=0 on the grid. (Moritz)
- Fix a bug that caused the yard stick to jump around while zooming the map (Moritz)
- needs new migrations
- needs new scraper data (integer for plant spread and height)
- pin python package versions for e2e tests #1200 (4ydan)
- Remove variety from table seeds (Jannis Adamek)
- Add timeline API that summarizes plantings #967 (Jannis Adamek)
- Add migration to add drawing layer to existing maps #1234 (Jannis Adamek)
- Refactor react query error handling (Daniel Steinkogler)
- Add notes to plantings in backend #1156 (Jannis Adamek)
- Fix seed routes and add naming convention guideline (Daniel Steinkogler)
- Enable automatic image scaling in base layer (Moritz)
- changed release name from 0.3.7 to 0.4.0 (Filip Markovic)
- Add guideline and decisions for key handling) (Daniel Steinkogler)
- Fix ref warning in PlantLabel, center labels as intended (Paul)
- Fix planting cursor preventing the placement of an area of plants (Paul)
- Refactor nearly all api calls to idiomatic react query (Paul)
- Add an area of plant indicator (Paul)
- CI: fixed bug for release in Jenkinsfile.release (cargo doc not running in backend folder) (Filip Markovic)
- Added Meeting Agenda&Notes for 20.10.2023 9:00 (Markus Raab, Samuel)
- Added Meeting Agenda&Notes for 27.10.2023 9:00 (Markus Raab, Jannis)
- Added Meeting Agenda&Notes for 04.12.2023 9:00 (Markus Raab, Daniel)
- Added Meeting Agenda&Notes for 11.12.2023 9:00 (Markus Raab)
- Added Meeting Agenda&Notes for 18.12.2023 9:00 (Markus Raab, Christoph)
- Added Meeting Agenda&Notes for 27.12.2023 9:00 (Markus Raab, Daniel)
- Added Meeting Agenda&Notes for 02.01.2024 9:00 (Markus Raab, Daniel)
- Added Meeting Agenda&Notes for 08.01.2024 9:00 (Markus Raab, Christoph @chr_schr)
- Added Meeting Agenda&Notes for 15.01.2024 9:00 (Markus Raab, Moritz)
- Added Meeting Agenda&Notes for 22.01.2024 9:00 (Markus Raab, Daniel)
- Added Meeting Agenda&Notes for 29.01.2024 9:00 (Markus Raab, Jannis)
- Added Meeting Agenda&Notes for 05.02.2024 9:00 (Markus Raab, Christoph)
- Added Meeting Agenda&Notes for 12.02.2024 9:00 (Markus Raab, Christoph)
- Added Meeting Agenda&Notes for 19.02.2024 9:00 (Markus Raab, Daniel)
- Added Meeting Agenda&Notes for 11.03.2024 9:00 (Markus Raab, Jannis)
- Added Meeting Agenda&Notes for 25.03.2024 9:00 (Markus Raab, Moritz)
- Added Meeting Agenda&Notes for 02.04.2024 9:00 (Markus Raab, Lukas)
- Added Meeting Notes for 04.04.2024 14:00 (Andrei Dinu)
- Added Meeting Agenda&Notes for 08.04.2024 9:00 (Markus Raab, Filip)
- Add 'Christoph Schreiner' as team member (Christoph Schreiner)
- Migrate from Jest to Vitest, update Vite to v5, update Node to 20, .env should be .env.local (Paul)
- Fix broken .env reading for scraper (Paul)
- Add a dev env variable for react query when developing in offline env (e.g. plane) (Paul)
- Collect events from planting layer and add it to timeline (Daniel Steinkogler)
- Flatten bezier polygon line after deleting point (Daniel Steinkogler)
- Remove error messages in console if a seed was not found (Moritz)
- Add drawing layer functionality including rectangles, ellipses, lines and bezier polygons (Daniel Steinkogler, Jannis Adamek)
- Landing page: Added blog entries, updated team members, minor text changes (Christoph Schreiner)
- Fix the markdown so that mdbook tests pass (Daniel Steinkogler)
- Improved the scraper: Fixed a bug and improved cleaning for German common names (temmey)
- Scraper: Separate fetching of German common names from merging datasets (Christoph Schreiner)
- Scraper: Allow applying overrides to merged dataset (Christoph Schreiner)
- Make map geometry viewable and editable (Moritz)
- Improve documentation of schema.rs patch workflow. (Jannis @horenso, Christoph @chr_schr)
- Prevent propagating enft key on markdown editor (Daniel Steinkogler)
- Enable deletion of selected plants via DEL shortcut (Daniel Steinkogler)
- Refactoring of timeline state and add unit tests (Daniel Steinkogler)
- Fix link to Plant image for Openstreetmap (Andrei Dinu)
- Add key combinations for map geometry (Daniel Steinkogler)
- Add documentation for adding a new field to an entity (Christoph Schreiner)
- Add tooltips to show keybindings (Daniel Steinkogler)
- Use arrow keys to navigate between timepicker sliders and fix timeline performance issues (Daniel Steinkogler)
- Use integer for plant spread and height (Christoph Schreiner)
- Increased zoom scaling factor for Map Editor / faster zooming (Samuel)
- Added PermaplanT logo to link previews in meta tag and replaced default React logo (Andrei Dinu)
- wrap api queries using react query (Daniel Steinkogler)
- CI: running pr deployment only on pr and not master branch (Filip Markovic)
- CI: unstash schemas in release pipeline in build-backend (4ydan)
- CI: added check if schema.rs changes in remigration (Filip Markovic)
- CI: updated unsafe packages for release & fixed release github template (4ydan, Filip Markovic)
- Fixed German common names not being used when language is set to German (Christoph Schreiner)
- added manual testing for 0.3.7 (successful) (Filip Markovic)
- Fixed map label and common name capitalization issues (Christoph Schreiner)
- fixed broken tour and blog date for release (Filip Markovic)
- CI: added deployment of doc and README links to doc (Filip Markovic)
- Add decision for polygon libraries (Daniel Steinkogler)
- Added keybindings for undo and redo (Daniel Steinkogler)
- E2E: fix planting cursor tests (4ydan & absurd-turtle)
- Added planting notes to planting details (Daniel Steinkogler)
- CI: mark duplicate code (4ydan & Filip Markovic)
- Added keybinding configuration for macOS (Daniel Steinkogler)
- Up the rust version to 1.74 (4ydan)
- Display a rectangle for area of plantings (Paul)
- Refactor the planting api to batch processing (Paul, Jannis)
- Area of plants resizing. Rename width & height of plantings to
size_x&size_y. Removescalefrom plantings. (Paul) - Refactor transformer into a separate store (Paul)
- Replace old date picker with new timeline component using sliders to select date (Daniel Steinkogler)
- Fix broken dark mode for LanguageSwitcher, SelectMenu & PaginatedSelectMenu (Lukas Anton Lakits)
- Fix validation in PlantingAttributeEditForm for multi-selected plants and areas (Lukas Anton Lakits)
- Fixed small issues in the documentation (typos/links/phrasing) (Andrei Dinu)
0.3.6 - 21.11.2023 (151 commits)
- Add guideline and decisions for key handling) (Daniel Steinkogler)
- Plantings now store seed information if they were created using a seed (Moritz)
- Tooltips show the full plant for plantings that were created using a seed (Moritz)
- Refactor base layer toolbar using react hook form (Moritz)
- fixed: slider displays wrong value after toolbar resize (Samuel)
- Added Meeting Agenda&Notes for 13.11. 9:00 (Markus Raab, Adi)
- Hamburger menu opens a full page navigation on small viewports (Samuel)
- Fix regression where Full plant names are not shown (Moritz)
- CI: disable E2E tests in master #1055 (4ydan)
- Close modals with escape #1027 (Daniel Steinkogler)
- Display the plant icon next to the cursor in placement mode (Samuel)
- Plant layer is selected per default (Samuel)
- E2E: Increase e2e timeline/baselayer test stability, replace timeouts with sleep #1010 (4ydan)
- Release: npm audit fix #1077 (4ydan)
0.3.5 - 06.11.2023 (320 commits)
- Calculation of scaling now fixed, please (auto)scale your map again.
- Fix similar toasts appearing multiple times on screen (Moritz)
- Fix browser browserlists #954 (4ydan)
- Decide about which use cases to include for 1.0 (Markus Raab and Yvonne Markl with the help of PermaplanTeam)
- Enable automatic image scaling in base layer (Moritz)
- Add concept for key handling (Daniel Steinkogler)
- Refactor keybindings according to new keybinding concept (Daniel Steinkogler)
- Plantings now store seed information if they were created using a seed (Moritz)
- Tooltips show the full plant for plantings that were created using a seed (Moritz)
- Decide about which use cases to include for 1.0 (Markus Raab and Yvonne Markl with the help of PermaplanTeam)
- Plantings now store seed information if they were created using a seed (Moritz)
- Tooltips show the full plant for plantings that were created using a seed (Moritz)
- Enable seed search in plant layer (Moritz)
- Finish seed use case (Moritz)
- Add decision for api mocking tool (Daniel Steinkogler)
- Rename section "Seeds" to "Inventory" (Moritz)
- Added Meeting Agenda&Notes for 23.10. 9:00 (Markus Raab, Daniel Steinkogler)
- Added Meeting Agenda&Notes for 30.10. 9:00 (Markus Raab, Christoph N.)
- add decision for timeline concept (Daniel Steinkogler)
- Improve UI and responsiveness of file selector #1011 (tschawax)
- Add frontend UI and usability guide #918 (tschawax)
- Improve wordings, usability and UI of guided tour #871 (tschawax)
- Fix tour-completion logic of cancel-confirmation dialog in guided tour #986 (tschawax)
- Improve styling of login and logout button #983 (tschawax)
- Add horizontal scrolling to toolbars #981 (tschawax)
- Improve vertical scrollbar behaviour #970 (tschawax)
- Split and rewrite copy & paste usecase #1 (tschawax)
- Create remember-viewing-state usecase #1 (tschawax)
- Create multi-select usecase #1 (tschawax)
- Fix transformer rotation handle and moving selected plants #1013 (tschawax)
- Clean up the asset file structure in frontend (Moritz)
- Implement multi-select usecase #727 (tschawax)
- Fix plant deletion in guided tour on small screens #861 (tschawax)
- Enable ctrl, shift, command to modify selection #979 (tschawax)
- Fix tooltips on plant hovering in multi selection #1033 (tschawax)
- Add status-specific toolbox icon design and add toolbox icon support to icon button component #1025 (tschawax)
- Improve design and behavior of undo/redo icons and improve focus design #657 (tschawax)
- Added Meeting Agenda&Notes for 06.11. 9:00 (Markus Raab, Moritz)
- Added Meeting Agenda&Notes for 23.10. 9:00 (Markus Raab, Daniel Steinkogler)
- Added Meeting Agenda&Notes for 30.10. 9:00 (Markus Raab, Christoph N.)
- Enable planting a field of a plant #1039 (tschawax)
- Add status-specific toolbox icon design and add toolbox icon support to icon button component #1025 (tschawax)
- Improve design and behavior of undo/redo icons and improve focus design #657 (tschawax)
- Replace notes field in create seed form with markdown editor (Daniel Steinkogler)
- Improve dark mode design of danger variant buttons #1029 (tschawax)
- Improve loading spinner size in file selector and improve file selector responsiveness #1026 (tschawax)
- Improve tooltip wordings of toolbox icons and extract them into new single file #1028 (tschawax)
- E2E: Refactor data-testid according to naming convention (4ydan)
- pump versions (4ydan)
- CI: Run e2e tests on dev.permaplant (4ydan)
0.3.4 - 14.10.2023 (203 commits)
- Exit planting mode with escape (Daniel Steinkogler)
- Renaming of layer list components (Daniel Steinkogler)
- Fix ordering of seeds by expiration date (Moritz)
- Re-enable seed search. It will now take the entire plant name into account. (Moritz)
- Make plant names in select menu more consistent with seed overview (Moritz)
- Doc: refinement of timeline use cases (Daniel Steinkogler)
- Rectify order of name parts in plant names (Moritz)
- Added Meeting Agenda&Notes for 18.9. 9:00 (Markus Raab, 4ydan)
- Added Meeting Agenda&Notes for 25.9. 9:00 (Markus Raab, Moritz)
- Added Meeting Agenda&Notes for 2.10. 9:00 (Markus Raab, Daniel)
- Added Meeting Agenda&Notes for 9.10. 9:00 (Markus Raab, Christoph)
- Update seed use case (Moritz)
- Implement central facilities for displaying plant names (Moritz)
- Make sure that two seeds can't have the same combination of user, name and plant (Moritz)
- Restrict seed names to make complete names less confusing (Moritz)
- Fix "harvest year" column title wrapping inappropriately (Moritz)
- Make resetting in search input component cross-browser compatible and adapt resetting of search results #761 (tschawax)
- Update Zustand documentation #957 (tschawax)
- Fix dead end of step 8 of plants layer in guided tour #955 (tschawax)
- Doc: Reduce e2e entry barriers #917 (4ydan)
- Fix textarea not allowing more than one line of text (Moritz)
- E2E: Increase click on canvas robustness (4ydan)
- Fix cargo deny check (4ydan)
- Fix: release pipeline mdbook build stage (4ydan)
- Improve Makefile #681 (4ydan)
- CI: Tag docker images #931 (4ydan)
0.3.3 - 15.09.2023 (536 commits)
- Archive seeds instead of deleting them (with undo) #872 (Moritz)
- Expand seed overview with additional table fields (Moritz)
- Updated UC for guided tour and gaining blossoms (Thorben)
- Added a cancel confirmation to the editor tour (Thorben)
- Finish documentation of custom UI elements (Moritz)
- Fix seeds being set to Indian Abelia after edit (Moritz)
- Order seeds by use by and harvest year (Moritz)
- Add toggleable plant labels (Moritz)
- Fix various validation bugs in seed form (Moritz)
- Link seeds page in the navbar (Moritz)
- Disable seed search (Moritz)
- Enable seeds to be edited and deleted (Giancarlo & Moritz)
- Update UC for timeline and plants layer (Paul)
- Fix bug in updating of the plant selection (Paul)
- Added Meeting Agenda for 28.8. 9:00 (Markus Raab)
- Added Meeting Agenda for 4.9. 9:00 (Markus Raab)
- Added Meeting Agenda for 11.9. 9:00 (Markus Raab)
- update
doc/database/hierarchy.mdto clarify how we render plant names (temmey) - updated sqlfluff config, remove unused .sql files (temmey)
- Add Christoph Nemeth as Teammember (tschawax)
- Fix middle mouse button to only move the stage or select individual plants #817 (tschawax)
- Fix selections being kept after choosing a plant from the search list #787 (tschawax)
- Fix placing new plants onto existing plants #890 (tschawax)
- Fix select box while being in placement mode #886 (tschawax)
- Fix selecting invisible plants #805 (tschawax)
- Seeds: translate quality and quantity columns (Moritz)
- Fix drag select not working and add appropriate e2e regression tests #852 (4ydan & Moritz)
- CI: Update doc (4ydan)
- Doc: Update testing strategy #864 (4ydan)
- E2E: Add new e2e test for undoing deletions #889 (4ydan)
- E2E: Seeds tests (4ydan)
- CI: Add changelog test to CI, only in PR stages #857 (4ydan)
- E2E: Worker uuids fixture #837 (4ydan)
- GIT: Add data analysis jupyter notebook #843 (4ydan)
- MDB: Fold all chapters #818 (4ydan)
- CI: Add codespell pre-commit #811 (4ydan)
- E2E: Add base layer tests #777 (4ydan)
- E2E: Add timeline tests #796 (4ydan)
- E2E: Add layer visibility tests #797 (4ydan)
0.3.2 - 07.08.2023 (42 commits)
- Fix a bug where an 'empty' but visible selection box would be left behind (Paul)
- Fix a bug where seemingly random date change actions would be fired (Paul)
- Fix dimensions of canvas (Paul)
- npm audit fix + test protocol (Markus)
- E2E: Add undo/redo e2e tests # (4ydan)
- E2E: Improve documentation/usage #784 (4ydan)
0.3.1 - 03.08.2023 (54 commits)
- Added a cancel confirmation to the editor tour (Thorben)
- Disabled retry on Nextcloud plant icons in PlantSearch (Samuel)
- Commented out disabled buttons for user study (Samuel)
- Basic baseLayerConfig validation - fixed bugfix/734-base-layer-image-gets-lost (Samuel)
- Fix a bug where texts in the editor tour were swapped (Thorben)
- Map: Remove Step/History info #745 (4ydan)
- E2E: Add planting e2e tests #766 (4ydan)
- E2E: Add plant search e2e tests #751 (4ydan)
- CI: Add most of pre-commit hooks to sanity stage #736 (4ydan)
0.3.0 - 28.07.2023 (273 commits)
- Added Guided Tour for the Map Editor (Thorben)
- Remove error toast when adding a plant without an icon in Nextcloud. (Moritz)
- commented out properties in table plants for now to improve build time. (temmey)
- set all enums in DB to lowercase (temmey)
- added component to display plant names correctly formatted (temmey)
- fixed issues with correctly displaying plant names (temmey)
- Add grid functionality. (Moritz)
- sizes of plant in map editor depend on their spread value (temmey)
- Handle events of same user, discard events in same tab (Paul)
- Fix a bug in the date handling actions of plants (Paul)
- updated scraper to translate spread&height into new enum types (temmey)
- Add debouncing to base layer toolbar (Moritz)
- Fix a bug in loading images (Paul)
- Fix a bug where the wrong value is assigned to an input field (Moritz)
- Give feedback when plant search is empty (Moritz)
- Display icon in plant search if available. (Moritz)
- DEV: squashed migrations (temmey)
- DEV: start using sqlfluff in pre-commit (temmey) and Benjamin
- CI: Improve pipeline parallelization #577 (4ydan)
- CI: Add groovy pre-commit hook #685 (4ydan)
- CI: Optimized mdbook docker image #585 (4ydan)
- CI: Test
dieselmigrations in PR and master #134 (4ydan) - CI: Remove cargo check, put clippy before doc #688 (4ydan)
- E2E: login/logout e2e tests #625 (4ydan)
- E2E: map creation e2e tests #707 (4ydan)
0.2.3 - 18.07.2023 (165 commits)
- integrated FileSelector in BaseLayer (Samuel)
- introduced file selection components to select and upload Nextcloud files (Samuel)
- Finish implementation of seed search (Moritz)
- A timeline date can be set and changed by a date picker. Plantings exist relative to a date. (Paul)
- The add/remove date of plants can be changed in the toolbar. (Paul)
- Added
zodas form validation library. (Paul) - Finish implementation of seed search (Moritz)
- CI: Check package-lock.json #597 (4ydan)
- Further Makefile targets #630 (4ydan)
- DOC: Improve manual test case docu (4ydan)
- CI: mdbook linkchecker policy set to error #628 (4ydan)
- Up webdav to 5.2.2 and vite to 3.2.7 due to security issues #629 (4ydan)
- backend: add endpoint to generate the heatmap (Gabriel)
- UX: Revised existing error notifications and added new ones for other API calls (Thorben)
- backend: add scheduled task to remove maps #90 (GabrielThorben)
0.2.2 - 12.07.2023 (282 commits)
- Added Nextcloud integration documentation in
/doc/research/nextcloud_integration.md(Samuel) - Fix wrong placement of plantings (Paul)
- CI: Send email when master fails #109 (4ydan)
- CI: Add link checker to CI pipeline #555 (4ydan)
- Fix bug in relations (Paul)
- UI: Added hover tooltip to edit map button (Thorben)
- UX: Revised existing error notifications and added new ones for other API calls (Thorben)
- Remove anchors to prevent nonuniform scaling of elements (Paul)
- CI: Cancel previous builds #557 (4ydan)
- CI: Parallel stage: fail fast & timeout & deleteDir #591 (4ydan)
- Display version number on the navbar and move github link #574 (4ydan)
- Improved user visible texts in map editor (Thorben)
- DEV: Makefile added #549 (4ydan)
- added plant relations import script to scraper (temmey)
- added Christoph Kraus as Teammember (temmey)
0.2.1 - UNRELEASED (1024 commits)
- Test strategy written (4ydan)
- CI: Storybook/Typedoc build and stashed in Jenkins pipeline PR/Master/Release #438 (4ydan)
- DOC: Fix broken links #554 (4ydan)
- CI: Devcontainer support #552 (4ydan)
- CI: Added mdbook build to pipeline (4ydan)
- DEV: Small devcontainer improvements #563 (4ydan)
- DEV: Issue forms added. #537 (4ydan)
0.2.0 - 29.06.2023
- Nextcloud Konva image component: can be used to create image items on a layer (Samuel)
- Nextcloud image gallery including Nextcloud image components for unauthenticated and authenticated use, Nextcloud utilities for fetching data from Nextcloud public share (Samuel)
- most of discussed UI/UX improvements done: disabled icons, tooltips for buttons in left bar, tooltips for plants, images for plants, notification border color, select one plant of selection for attribute editor (needs some polishing still) (Paul and Samuel)
- Fetch corresponding layer IDs of a map during initialization of the map editor (Paul and Thorben)
- Use the correct layer ID for create and fetch actions (for plantings) in the map editor, enabling the possibility for multiple independent maps (Paul and Thorben)
- Location picker map in map creation form only loads after actively pressing a button (Thorben)
- Maps can be duplicated from the map overview (in PR #515) (Thorben)
- Login use case done. (Gabriel and Samuel)
- Layers visibility use case done. (Samuel)
0.1.0 - 19.04.2023
- Created Landingpage (PermaplanTeam)
Changelog
For upcoming release.
All notable changes for developers or end users will be documented in this file. Please always update this file within every MR, note:
- use links pointing to your use case and/or issue (See Documentation Guidelines), and
- use several lines with a sentence each in the right categories (add sub-categories as needed)
For example, Max Power would write in the documentation section:
- Clarified wording for [shade layer use case](usecases/done/shade_layer.md), fixes [#1873](https://issues.permaplant.net/1873). _(Max Power)_
Highlights
Landing Page
Important Changes for Developers
Meetings
Compatibility
Migrations
- No migrations were added.
Scraper Data
Bug Fixes
Frontend
Features
Bug Fixes
Development
Libraries
Backend
Features
Bug Fixes
Libraries
Tools
Build System
CI
Documentation
Workflows
Use Cases
Tests
Unit Tests
Manual Tests
E2E
Statistics
TODO add
Changes Affecting Guided Tour
Research
Guided Tour Overview
What is the guided tour?
To guide new users of the app through learning the functionalities of map planning we have the guided tour.
When a new user opens their first map they immediately enter the tour.
The tour consists of multiple steps that appear as popups for the user and give some information about app functions or ask the user to complete some simple actions.
The tour can be paused or dismissed at any step in the tour.
Every pause increases the time the tour is not shown again to the user. (maxing out at 30 days)
Backend
There are 2 database tables used in the context of the guided tour; guided_tour_progress and guided_tour_states.
guided_tour_progress
| Column | Data Type | Description |
|---|---|---|
| user_id | uuid | Unique identifier of the user |
| step_key | text | Identifier of the guided tour step |
| completed_at | timestamp(0) without time zone | Timestamp when the step was completed |
guided_tour_progress is used to track the tour progress of all users.
If an entry exists for a user id and a step key this user has completed that step.
guided_tour_states
| Column | Data Type | Description |
|---|---|---|
| user_id | uuid | Unique identifier of the user |
| paused_at | timestamp(0) without time zone | Timestamp when the tour was paused |
| pause_count | integer | Number of times the tour was paused |
guided_tour_states is used to track if a user has paused their tour.
There is a row for each user that has paused their tour at least once.
paused_at and pause_count determine if the tour is still paused.
Endpoints
The backend contains endpoints to interact with these tables (controller/guided_tour.rs):
- pause (POST): increments
pause_countand setspaused_attonow()for the requesting user. - complete_step (POST): marks the singular transmitted step key as completed in the database for the requesting user.
- complete_steps_bulk (POST): marks all transmitted step keys as completed in the database for the requesting user.
- find_by_user (GET): returns a list of all completed step keys and a boolean specifying if the tour is currently paused for the requesting user.
The boolean specifying if the tour is still paused is derived from paused_at and pause_count of the requesting user.
The pause duration is determined by the Fibonacci number corresponding to pause_count, capped at 30 days.
This is calculated in backend/model/dto/guided_tour_impl.rs:
/// How many days not to show the tour based on `pause_count`
/// Fibonacci with max of 30 days
fn backoff_days(pause_count: i32) -> i64 {
if pause_count <= 0 {
return 0;
}
let n = pause_count;
let mut a: i64 = 0;
let mut b: i64 = 1;
for _ in 0..n {
let temp = a;
a = b;
b += temp;
}
a.min(30)
}
The tour remains paused as long as the current timestamp of the backend is earlier than paused_at plus this computed duration.
Frontend
Sheperd.js is the framework we use for the guided tour frontend.
What step keys exist and what their corresponding tour steps do is defined in the frontend.
The guided tour is initialized in MapWrapper.ts.
This is where the backend call is made to check what steps the user has already completed and if their tour is currently paused.
If the backend returns that the tour is currently paused then nothing is shown to the user.
If the tour is not currently paused for the user then the completed step keys from the backend are compared to the list of steps currently defined in the frontend.
This ensures that steps which have already been completed are not shown again and the user resumes their tour where they left off last time.
Users who previously completed the entire tour will only see newly added steps that were introduced after their tour completion.
This is done in this part of MapWrapper.ts:
const steps = useMemo(() => {
if (tourStatus.paused || isReadOnly) return [];
return guidedTourSteps(tourStatus.completed_steps ?? []);
}, [tourStatus.completed_steps, tourStatus.paused, isReadOnly]);
The tour is also not shown if the user entered a readonly map.
This is what isReadOnly does in the code.
guidedTourSteps(...) is a function from the util file GuidedTour.ts and contains the definition of all the steps currently featured in the guided tour.
It takes the completed tour step keys from the backend as an argument and detracts them from all steps included in the tour.
It then returns only the steps that are not yet marked as completed and should be shown.
The returned steps are used in MapWrapper.ts to initialize the tour.
More detailed information about step definition and how to add new steps is included in adding_guided_tour_steps.md.
Guided Tour Coverage
This section details what parts of the map editor are currently covered by the guided tour.
What app functionality is currently covered by the tour:
- Welcome
- Toolbox intro
- Layers panel
- Timeline
- Plant placement
- Search
- Select
- Place
- Edit
- Delete
- Remove
- Undo functionality
- Plant relationships (allies/antagonists)
What is currently NOT covered:
- Selecting base layer image
- Scaling base layer image
- Setting map boundaries
- Copy/paste/cut functionality (Toolbox.tsx:150-173)
- Shading and other environmental factors layers (ShadeLayer.tsx etc.)
- Toolbar buttons
- Grid
- Labels
- Markers
- Measurement toggle
- Layer creation functionality
- Reordering layers
- Renaming layers
- Deleting layers
- Dark and light mode
- Toolbar hide/show functionality
- Drawing layer
- Drawing
- Adding text
- Adding pictures
Keycloak Basics
Keycloak is an open-source Identity and Access Management (IAM) solution. It provides authentication, authorization, and user management for modern applications. Below are the basic concepts for Keycloak.
Key Concepts
All following concepts can be realized in the Keycloak admin interface.
Realm
A Realm is an isolated space within Keycloak where you manage a set of users, credentials, roles, and groups.
Realms allow you to manage different users for different applications.
Keycloak comes with a default realm called Master, which is intended for administrative purposes.
We use a realm called PermaplanT to manage all PermaplanT users.
Client
A Client is an entity that can request authentication from Keycloak. Clients are typically applications (e.g., web apps, mobile apps, APIs) that rely on Keycloak for authentication.
We have a client that allows us to get users for each PermaplanT instance:
- localhost: users for localhost PermaplanT
- PermaplanT-MR: users for mr.permaplant.net
- PermaplanT-Dev: users for dev.permaplant.net
- PermaplanT-Master: users for master.permaplant.net
- PermaplanT-Prod: users for www.permaplant.net
- permaplant-cloud: users for our Nextcloud
The backend communicates with Nextcloud by using the tokens from the PermaplanT-(MR|Dev|Master|Prod) clients. The client permaplant-cloud is currently not used for this communication and some problems of this are described in Keycloak User Tokens with Nextcloud user_oidc.
User
A User is a person who can log into a client managed by Keycloak. Users can be created manually in the Keycloak Admin UI.
User Groups
Users can be part of groups, with different permissions. For PermaplanT we have the following groups:
- Everyone: every user is part of this group, read only access to maps, currently can't view plants
- Testing: full access to all the testing maps (SUT_*).
- Developer: full access to the maps created via CI (maps/1, 1000 plantings etc.).
- Member/Regular Member: full access to their associated maps.
- Member/Contributing Member: full access to their associated maps.
- Member/Supporting Member: full access to their associated maps.
- Admin: full access to all the maps, regardless of permissions.
Role
Roles define the permissions that a user or group has. You can assign roles at both the realm level (global roles) and the client level (specific to a particular application).
We are not using any roles at the moment.
Keycloak Authentication Workflow
We use Keycloak for an authentication process with bearer tokens.
This is described in more detail in the backend documentation.
Getting user token as User
The tokens are JWT tokens.
To receive a token as a user an API request to Keycloak has to be made.
client_id: id of Client we want to get the access token fromclient_secret: password of Client we want to get the access token fromusername: username of User we want to get access token forpassword: password of User we want to get access token for
curl --location 'https://auth.perma.health/realms/Perma/protocol/openid-connect/token' \
--header 'Content-Type: application/x-www-form-urlencoded' \
--data-urlencode 'grant_type=password' \
--data-urlencode 'client_id=localhost' \
--data-urlencode 'client_secret=EXAMPLE_CLIENT_SECRET' \
--data-urlencode 'username=filip' \
--data-urlencode 'password=EXAMPLE_PASSWORD'
The returned access token can be used to make requests to PermaplanT and Nextcloud, by setting Authorization: Bearer <returned_access_token> in the header.
Keycloak User Tokens with Nextcloud user_oidc
Since a new update, the Nextcloud plugin user_oidc expects two extra fields when checking the JWT token.
The fields are:
- azp (Authorized Party): The Keycloak client that provided the token
- aud (Audience): The audience the token is meant for
If we access e.g. www.permaplant.net we get the token PermaplanT-Prod and with it access Nextcloud, which expects a token from permaplant-cloud. In this case azp is wrong and aud is not set at all by default by Keycloak.
Possibilities to solve this are:
- Use one single Keycloak PermaplanT Client for all tokens and set aud with an extra setting for all Clients in the token
- Disable azp and aud checking for the tokens
- Mixture of both solutions
We decided for the moment for solution 2. This solution is still secure, since users need to still authenticate with their password.
Nextcloud integration
The documentation about which images on Nextcloud need token identification is found in ./nextcloud_integration.md.
Map Performance
Implemented ways to improve map performance or usability will be documented here.
Layer-based lazy loading
The plant layer (PlantsLayer.tsx) lazy loads its given elements.
It does this by calculating the currently visible bounds of the canvas and then checks which elements intersect with these bounds.
Those are then saved into a Set and we iterate over this Set and render the elements.
The used utility can be found in lazy-load-util.ts to make it easy to reuse in other layers.
This gives us better overall performance and memory savings as we are only loading and rendering elements as soon as they are necessary. Using this we could lazy load any elements on the canvas, probably putting the performance toll of rendering and loading all elements to a minimum.
This approach could be further improved upon however, because currently we still iterate over all elements to find out which are intersecting and which are not. Finding a way to not having to do that, with certain data structures for example, would make this improvement even more significant.
Concepts that could improve performance and loading times when using the map:
Images
Use .webp
WebP is a modern image format that offers smaller file sizes while maintaining high quality. It provides better compression than JPEG and PNG, reducing bandwidth usage and improving loading speeds. By using WebP, we can enhance performance, reduce storage needs, and create a faster, more efficient user experience without compromising image quality.
Plant Icons
The plant icons come from our Nextcloud instance and should be relatively small in size (max. 500 KB) and use .webp.
Dynamic Image Resizing
We could also resize the images based on scale (zoom level). This is something that can be configured in Nextcloud (https://docs.nextcloud.com/server/latest/admin_manual/configuration_files/previews_configuration.html) by getting an image in multiple resolutions and then dynamically switching them out when the user zooms in or out.
Caching
All images (especially those, that won't change a lot) should be cached in the browser to reduce load times.
Mautic Integration
Overview
PermaplanT uses Mautic, an open-source marketing automation platform, for managing newsletter subscriptions and email campaigns. The Mautic instance is hosted at https://mautic.perma.health/s/dashboard and handles all newsletter-related functionality for the PermaplanT initiative.
Why Mautic?
- Open Source: Aligns with PermaplanT's commitment to open-source software
- Self-Hosted: Complete control over subscriber data and privacy
- Marketing Automation: Supports campaigns, segments, and contact management
- Double Opt-In: Built-in support for GDPR-compliant subscription workflows
- Multi-Source Tracking: Can handle newsletter subscriptions from multiple websites (PermaplanT, Libelektra, etc.)
Newsletter Subscription Workflow
1. Form Submission
Users submit their name and email through a form on the PermaplanT website. The form POSTs to:
https://mautic.perma.health/form/submit?formId=4
Required Fields:
mauticform[first_name]- User's namemauticform[email]- User's email addressmauticform[formId]- Set to4mauticform[formName]- Set topermaplantnewslettersubscriptionmauticform[return]- Empty stringmauticform[submit]- Set to1mauticform[subscription_source]- Website URL (e.g.,https://permaplant.net)
The subscription_source field is critical as it:
- Tracks where the subscription originated
- Determines which tags are applied to the contact
- Controls where users are redirected after confirmation
2. Double Opt-In Process
Mautic implements a GDPR-compliant double opt-in workflow:
Note: The user should get a information popup when submitting the form with information about needing to confirm the subscription within the next 3 days.
- Immediate Response: User receives a confirmation email after form submission
- 3-Day Window: User has 3 days to click the confirmation link
- Confirmation Action:
- ✅ Confirmed: Contact is tagged and redirected to their
subscription_sourceURL - ❌ Not Confirmed: Contact is automatically deleted after 3 days
- ✅ Confirmed: Contact is tagged and redirected to their
3. Contact Tagging
After confirmation, contacts are automatically tagged based on their subscription_source:
subscription_source = "https://permaplant.net"→ Tagged with "Permaplant_Newsletter"subscription_source = "https://libelektra.org"→ Tagged with "Libelektra" specific tags
This allows for:
- Source-specific newsletters
- Targeted campaigns
- Analytics by subscription source
Infrastructure
Hosting Details
- Platform: LXC container on Proxmox
- Domain: mautic.perma.health
- SSL/TLS: Handled by reverse proxy on markus-raab.org
- Automation: Ansible-managed deployment
Backups
- Automated Daily Backups: Database and files
- Retention: 365 days
For More Information
- Infrastructure Documentation: Complete setup and maintenance guide
- Mautic Documentation: https://docs.mautic.org/
Nextcloud Integration
Authentication Setup
Keycloak and Nextcloud run as separate services. Users are created in Keycloak instead of in Nextcloud/PermaplanT and users can then log in via Keycloak. In the PermaplanT frontend the user is redirected to the Keycloak login screen. They are prompted for their credentials and then they get redirected back to the PermaplanT web application. From then on all requests are authorized via JWT. We use the recommended variant which is Authorization Code Flow with PKCE. This and other variants are described in detail in the OAuth2.0 specification. The backend then validates the tokens and extract roles/user information. The same token is used to fetch resources from Nextcloud.
To enable the OIDC functionality on Nextcloud we installed a plugin called user_oidc developed by Nextcloud. With this plugin OIDC providers can be configured in Nextcloud. After successful configuration the provider appears on the login screen and the user can log in with their credentials from the provider.
Files
WebDAV Protocol
"WebDAV (Web Distributed Authoring and Versioning) is a set of extensions to the Hypertext Transfer Protocol (HTTP), which allows user agents to collaboratively author contents directly in an HTTP web server by providing facilities for concurrency control and namespace operations, thus allowing Web to be viewed as a writeable, collaborative medium and not just a read-only medium." wikipedia
Access Files
Nextcloud implements the webDAV protocol. This means that we can access files in Nextcloud with any webdav client. There are popular file managers like 'Konqueror' from the KDE team and 'GNOME Files' from the GNOME team which implement the webDAV protocol. However webDAV is not exclusive to file managers. In PermaplanT we use a Javascript library named webdav to access files in Nextcloud. For files available on public shares we send the requests directly with axios.
Public shares are directories where a public link is created. The last part of the link is the share token. E.g. for the URL 'https://cloud.perma.health/s/Ha2fkaJf3jPqHSS' the share token is 'Ha2fkaJf3jPqHSS'. This share token can be used as username and password to access files from the directory. Files at the top level as well as files in subdirectories can be accessed using the share token. E.g. when following directory structure is given:
nextcloud_root_dir
├── Documents
│ └── secret-doc.txt
├── Photos
└── Public
├── Icons
│ ├── add.svg
│ └── delete.svg
├── Maps
│ └── map.json
└── Pictures
└── tree.png
and the directory 'Public' is accessed with the share token.
All files ('add.svg', 'delete.svg', 'map.json', 'tree.png') in all subdirectories ('Icons', 'Maps', 'Pictures') of 'Public' can be accessed.
The path for fetching a file starts at the shared directory, in this case 'Public'.
To access the file 'add.svg' following URI is used: 'https://cloud.perma.health/public.php/webdav/Icons/add.svg'.
The first part: 'https://cloud.perma.health/' is the scheme and host for our Nextcloud instance.
The next part /public.php/webdav/ is the endpoint used to access files from the public share directory specified by the share token.
The share token is given as username and password in the request.
The last part 'Icons/add.svg' is the path to the requested file starting from the public share directory.
When we want to fetch add.svg, we use the following request:
curl -X GET -O -u Ha2fkaJf3jPqHSS:Ha2fkaJf3jPqHSS https://cloud.perma.health/public.php/webdav/Icons/add.svg
In PermaplanT we use the public shares for data which should be accessible by unauthenticated users. E.g. images on the landing page or icons for plants.
To fetch resources from directories which are not available for the public some form of authentication has to be used. The easiest way to authenticate with the Nextcloud instance is to use the username and password in the request. This is called basic authentication. However, this is not secure when the requests are sent from the browser as this information can be easily sniffed. So we decided to use 'OpenID Connect' for authentication. Details on why we decided to use 'OpenID Connect' can be found in the decision document.
All we need to know here is that requests from authenticated users are populated with the access token in the Authorization header.
Now we can make requests against the '/remote.php/webdav' endpoint. This endpoint enables us to fetch files starting from the root directory of the logged in user. Given the previously defined directory structure we can now access the file 'secret-doc.txt' with the following URI: 'https://cloud.perma.health/remote.php/webdav/Documents/secret-doc.txt'
Directory Structure
In the PermaplanT Nextcloud instance we have following directory structure for each user:
PermaplanT/
└── Maps
├── map_01
│ ├── BaseLayer
│ │ └── base_layer_image.png
│ └── PhotoLayer
│ ├── photo1.jpg
│ └── photo2.jpg
└── map_02
├── BaseLayer
│ └── base_layer_image.png
└── PhotoLayer
├── photo1.jpg
└── photo2.jpg
When a PermaplanT map is shared between different users the corresponding Nextcloud directory has to be shared as well. When a directory is shared in Nextcloud it gets added to users root directory (if not configured otherwise). We have to move the newly added directory to the correct place in the hierarchy after it was added.
Each map directory must have a globally unique name to avoid conflicts with shared maps. The name of each map directory is the same as the name of the map in the PermaplanT database. This insures that the name is unique because the name in the database is unique.
The location of public directories does not matter as they are identified by the public share token. They are not visible to all of the users in Nextcloud, so they are not included in the directory hierarchy above.
Shares and Permissions
When we want to add additional members to our PermaplanT map we also have to share the Nextcloud resources with them. To share and manage permissions on Nextcloud directories we generally use Nextcloud Circles. The major difference to groups is that Circles can be created by normal users while groups need higher privileges to manage.
Unfortunately the Circles API is not well documented. The implementation of the API can be found on the corresponding github repository.
First we need to create a Circle. This can be achieved by following API call:
"method": "POST",
"headers": [
"OCS-APIRequest": true,
"Content-Type": "application/json"
],
"body": {
"name": "map_01",
"personal": false,
"local": false
},
"scheme": "https",
"host": "cloud.perma.health",
"filename": "/ocs/v2.php/apps/circles/circles"
The name of the Circle is the same as the name of the map. Now the Circle has to be added to the shares for the map directory. This can be done with the OCS Share API which is documented here. Following API call can be used:
"method": "POST",
"headers": [
"OCS-APIRequest": true
],
"body": {
"path": "PermaplanT/Maps/map_01",
"shareType": 7,
"permissions": 31,
"shareWith": "<circleId>"
},
"scheme": "https",
"host": "cloud.perma.health",
"filename": "/ocs/v2.php/apps/files_sharing/api/v1/shares"
The argument shareType specifies what kind of share we want to create.
The options are:
- 0 = user
- 1 = group
- 3 = public link
- 4 = email
- 6 = federated cloud share
- 7 = circle
- 10 = Talk conversation
We chose 7 to share the directory with the newly created Circle.
If not specified the permissions for the share are set to 31 which means all.
If we want to have more granular control of the permission we can set the permissions parameter to one of these values:
- 1 = read
- 2 = update
- 4 = create
- 8 = delete
- 16 = share
- 31 = all
If we want even more granular permission control we can set the permissions for each layer directory individually.
To remove a share we use following request:
"method": "DELETE",
"headers": [
"OCS-APIRequest": true
],
"scheme": "https",
"host": "cloud.perma.health",
"filename": "/ocs/v2.php/apps/files_sharing/api/v1/shares/<share_id>"
And to update a share we use:
"method": "PUT",
"headers": [
"OCS-APIRequest": true
],
"body": {
"permissions": 1
},
"scheme": "https",
"host": "cloud.perma.health",
"filename": "/ocs/v2.php/apps/files_sharing/api/v1/shares/<share_id>"
Note that we can only update one value at a time with the PUT request.
React Components
There are a number of components which help with interacting with Nextcloud files.
Image Components
There are four components that handle fetching and displaying images from Nextcloud.
- NextcloudImage: This component fetches an image from the user directory in Nextcloud and renders it.
- PublicNextcloudImage: This component fetches and renders an image from a public share.
- NextcloudKonvaImage: This component fetches an image from the user directory in Nextcloud and creates a shape for Konva (Canvas library used in PermplanT).
- PublicNextcloudKonvaImage: This component fetches an image from the Nextcloud public share and creates a shape for Konva.
File Selection
Component which shows the content of a Nextcloud directory and lets the user choose a file.
Will be implemented in #475.
Further Related Resources
- https://docs.nextcloud.com/server/latest/developer_manual/client_apis/WebDAV/comments.html
- https://docs.oracle.com/cd/E12839_01/portal.1111/e10235/webdav007.htm#POUSR1607
- https://docs.nextcloud.com/server/25/user_manual/en/files/access_webdav.html#
- http://www.webdav.org/specs/rfc4918.html
Limitations
CORS (Cross-Origin Resource Sharing)
"CORS is an HTTP-header based mechanism that allows a server to indicate any origins (domain, scheme, or port) other than its own from which a browser should permit loading resources." -- Mozilla MDN
Nextcloud offers no options to change the CORS configuration. This means that all requests coming from a different origin than the one Nextcloud is hosted on are blocked.
The PermaplanT production environment has following structure:
- Frontend: "https://www.permaplant.net".
- Backend: "https://www.permaplant.net/api"
- Nextcloud: "https://cloud.perma.health"
- Keycloak: "https://auth.perma.health/realms/Perma"
This means the origin for Nextcloud differs from the origin of the PermaplanT frontend. Consequently CORS has to be configured to allow requests from the frontend origin otherwise the requests to Nextcloud are blocked by the browser. To circumvent the restrictions or the lack of configuration options by Nextcloud we implemented a proxy in front of the Nextcloud instance which sets the needed headers for the OPTIONS preflight which is performed by the browser.
Research about other Nextcloud Features
calendar
Nextcloud Calendar App is a frontend for the Nextcloud CalDAV backend.
resources
- CalDavBackend implementation
- CalDAV
Contacts
Contacts are stored in vCards and can be managed with CardDAV. nextcloud/contacts is based on sabredav(most popular WebDAV framework for PHP) nextcloud/contacts implements CardDAV:
"vCard Extensions to WebDAV (CardDAV) is an address book client/server protocol designed to allow users to access and share contact data on a server. CardDAV is based on WebDAV, which is based on HTTP, and it uses vCard for contact data.(2)" wikipedia
- https://apps.nextcloud.com/apps/contacts
- github repository
- https://github.com/nextcloud/contacts/blob/main/lib/Dav/PatchPlugin.php
- CardDAV clients
- CardDAV libraries
Groups
Groups are part of the user management and not to be confused with circles. While circles offer similar functionality, they are more versatile and can be created by all users while groups can only be created by admins.
Circles API
API test with curl (USERNAME, PSWD and BASE_URL have to be set):
curl -u USERNAME:PSWD -X GET 'https://BASE_URL/nextcloud/ocs/v2.php/apps/circles/circles' -H "OCS-APIRequest: true"
This returns a list of circles visible to the authenticated user.
Working API calls (tested with NC version 25.0.4-1~deb11):
- add member
curl -u USERNAME:PSWD -X POST 'https://BASE_URL/nextcloud/ocs/v2.php/apps/circles/circles/CIRCLE_ID/members/multi' -H "OCS-APIRequest: true" -H "Content-Type: application/json" -d '{"members":[{"id":"USER_ID","type":1}]}'
- create circle
curl -u USERNAME:PSWD -X POST 'https://BASE_URL/nextcloud/ocs/v2.php/apps/circles/circles' -H "OCS-APIRequest: true" -H "Content-Type: application/json" -d '{"name":"test_circle_3","personal":false,"local":false}'
- delete member from circle
curl -u USERNAME:PSWD -X DELETE 'https://BASE_URL/nextcloud/ocs/v2.php/apps/circles/circles/CIRCLE_ID/members/MEMBER_ID' -H "OCS-APIRequest: true"
- get circles
curl -u USERNAME:PSWD -X GET 'https://BASE_URL/nextcloud/ocs/v2.php/apps/circles/circles' -H "OCS-APIRequest: true"
- get members
curl -u USERNAME:PSWD -X GET 'https://BASE_URL/nextcloud/ocs/v2.php/apps/circles/circles/CIRCLE_ID/members' -H "OCS-APIRequest: true"
resources
- https://docs.nextcloud.com/server/stable/admin_manual/configuration_server/occ_command.html#http-user-label
- https://github.com/nextcloud/circles
- Circle routes
Maps
The maps Nextcloud plugin offers a REST API. The documentation can be found here.
The GET endpoint /favorite was tested with curl and basic authentication:
curl -u USERNAME:PSWD -X GET 'https://BASE_URL/nextcloud/index.php/apps/maps/api/1.0/favorites'
Chat
sending a message:
// sends once, Err if it does not work on network or nextcloud level
fn send_message (
&self,
message: String,
chat: String,
) -> Result<reqwest::Response, reqwest::Error> {
let mut headers = header::HeaderMap::new();
headers.insert("Content-Type", "application/json".parse().unwrap());
headers.insert("Accept", "application/json".parse().unwrap());
headers.insert("OCS-APIRequest", "true".parse().unwrap());
let result = reqwest::Client::new()
.post(&format!(
"{}/ocs/v2.php/apps/spreed/api/v1/chat/{}",
&self.url, chat
))
.basic_auth(&self.user, self.pass.as_ref())
.headers(headers)
.body(format!(
"{{\"token\": \"{}\", \"message\": \"{}\"}}",
chat, message
))
.send();
match result {
Ok(response) => match response.error_for_status() {
Ok(response) => Ok(response),
Err(error) => Err(error),
},
Err(error) => Err(error),
}
}
or via CURL:
curl -sS -d "{\"token\": \"$CHAT\", \"message\": \"$*\"}" -H "Content-Type: application/json" -H "Accept: application/json" -H "OCS-APIRequest: true" -u "user:password" https://nextcloud.markus-raab.org/nextcloud/ocs/v2.php/apps/spreed/api/v1/chat/$CHAT
List of Nextcloud shares
Currently used token for shared folder in PermaplanT: 'Ha2fkaJf3jPqHSS'.
URLs with public.php indicate a public folder that can be accessed with the share token.
URLs with remote.php indicate a private folder that can only be accessed by authenticated users.
The accessed URLs were identified by opening www.permaplant.net, inspecting the Network Tab of Chrome and identifying requests made to cloud.perma.health.
- Landing Page
- BlogOverview: https://cloud.perma.health/public.php/webdav/Avatars/
- GeoMap: https://cloud.perma.health/public.php/webdav/Maps/permaplant-map-placeholder.png
- PhotoGallery: https://cloud.perma.health/public.php/webdav/Pictures/
- Teammembers: https://cloud.perma.health/public.php/webdav/Avatars/
- Map Planning
- Drawings: https://cloud.perma.health/remote.php/webdav/
- Drawings File Selector: https://cloud.perma.health/remote.php/webdav/
- Baselayer: https://cloud.perma.health/remote.php/webdav/Photos/
- Baselayer File selector: https://cloud.perma.health/remote.php/webdav/Photos/
- Plants
- Plant image: https://cloud.perma.health/public.php/webdav/Icons/
- Seed image: https://cloud.perma.health/public.php/webdav/Icons/
OpenTelemetry
OpenTelemetry is a Framework and Toolkit that can generate, collect and export telemetry data such as traces, metrics and logs.
Goals
To make the system observable is our main goal. The system is the whole stack from frontend, backend to the database as well as services our application consumes (Keycloak, Nextcloud, etc.). We want to see how different services interact with each other, notice errors when they occur and see where our applications take too long to respond. We want to trace a users action through our whole system to make the application as easy and comfortable to use. By providing our developers an easy way to observe such requests they spend less time analyzing where and why a problem occurs.
Generated data has to be exported, which can be done via including the framework in the applications where you have control over the source code. This can be archived by instrumenting the applications. Other applications possibly can be configured to export their data too. The exported data then has to be collected and can be made available via observability backends.
Observability Backends
Observability backends make the data observable by providing ways to visualize and alert on logs, traces and metrics events. For our use case we would prefer an all-in-one solution, which can handle every type of telemetry data and can be self-hosted. Another thing to keep in mind is that we want the used software to have an active developing community while also being open-source. Ideally we would also have some experienced users in our team or have an observability backend that is easy to use, setup and maintain.
Excluding paid tools and tools that can't be self-hosted it comes down to:
| Application | Handles LOGS | Handles TRACES | Handles METRICS | Pros | Cons |
|---|---|---|---|---|---|
| Signoz | YES | YES | YES | -Easy setup (docker compose) -active community | -not a mature software yet (<v1.0.0) |
| Grafana Tempo | YES | YES | YES | -depends on object storage(s3, GCS,..) | |
| Jaeger | YES | YES | YES | -focus on kubernetes | |
| Prometheus | YES | YES | YES | -focus on kubernetes | |
| CheckMK | NO | NO | YES | -already used by us | -doesn't provide everything we need -needs update to support it (still beta) |
Privacy
This folder contains research documents regarding privacy.
PermaplanT Technical Data Processing Documentation
1. Overview
PermaplanT processes personal and usage-related data to provide user authentication, collaborative map creation, seed collection management, and gamification features within the platform.
The application relies on multiple components:
- its own backend,
- a PostgreSQL database,
- Keycloak for identity management,
- and Nextcloud for file storage.
This document provides a technical overview of what data is collected, where it is stored, how it is processed, and which third-party systems are involved.
It focuses purely on technical data flows, not legal interpretation.
The contents serve as a foundation for drafting the official privacy policy and for supporting GDPR-related evaluations.
2. Server Logging
2.1 What is logged
We don't log IPs or other sensitive data.
We use actix_web Logger middleware for HTTP request logging.
The backend uses env_logger together with log as a logging framework.
env_logger allows to configure logging via the environment variable RUST_LOG.
2.2 Logging Configuration
The dev build uses debug level and only prints to stdout/stderr.
Logs are written to a file for the production environment.
Logs are also relayed via OpenTelemetry for SigNoz.
2.3 Log storage & retention
Running the app locally/in the devcontainer doesn't produce log files, but for production the logging stream is written to a file.
How long logs are stored in this file isn't specified. (indefinitely)
3. Cookies & Browser Storage
3.1 Cookies
We don't use tracking cookies.
We don't use cookies for authentication.
3.2 sessionStorage / localStorage
Session storage is only used for authentication tokens.
Example:

Local storage is only used for MapStore and basic layout settings.
Example:

4. User Data in Database
4.1 User Profile Fields
Guided Tours
| Column name | Data type | Example | Additional information |
|---|---|---|---|
| user | uuid | 00000000-0000-0000-0000-000000000000 | PRIMARY KEY |
| editor_tour_completed | boolean | false | has the user completed the Map Editor Tour |
For each user we only store if they completed the guided tour.
4.3 Map-Related Data
Users can create maps that are then linked to their user id in the database.
Maps can include custom layers, plants and drawings created by the user.
Maps can be set to be private, public or protected.
4.4 Seed Collection Data
Users can create their own seed collection in the seeds table.
Seeds include information like name, harvest year, origin and custom notes created by the user.
Seeds are linked to a user by user id.
4.5 Notes
Users can add personal notes to almost any object placed in a map, as well as to their saved seeds. Users might choose to include personal information in these notes.
4.6 Collaboration & Sharing
Maps that are set to public can be viewed by all other users.
Map owners can set other users as collaborators, allowing them to view and edit the map owners map.
5. Third-Party Services
5.1 Keycloak
For identity and access management we use self hosted Keycloak.
Info about Keycloak database?
Detailed information about the usage of Keycloak
5.2 Nextcloud
We use Nextcloud to store files uploaded by the user.
Detailed information about the usage of Nextcloud
6. Authentication & Session Management
We use OIDC with keycloak.
Maybe detailed authentication flow here?
Detailed information about authentication
6.1 Data flow
Nextcloud and Keycloak are both running as separate services.
Users are created in Keycloak with certain roles and permissions.
When a user wants to log in to PermaplanT they get redirected to Keycloak and after logging in using their credentials they get redirected back to PermaplanT with an access token.
The returned access token they get from Keycloak can be used to make requests to PermaplanT and Nextcloud, by setting Authorization: Bearer <returned_access_token> in the header.
The token is stored in the session storage and sent to the backend with every request.
Tokens are valid for 5 minutes.
Detailed information about token usage
7. Data Retention
User created content is marked with a deleted_at timestamp when a user chooses to delete it.
There is a cronjob in the backend that permanently deletes maps and layers that have been marked for deletion 60 days in the past.
If maps are still in the database, they can still be recovered.
7.1 User account data retention
We don't have a structured process for the deletion of users yet.
Probably we will simply remove them from the membership group in Keycloak.
7.2 Log retention
I don't think we have specified how long we retain logs for.
7.3 Nextcloud file retention
We use the default behaviour for file deletions in nextcloud.
Deleted files get moved to the trashbin.
Deleted files stay there until deleted either after 30 days (by default) or when space is needed.
In config.php admins can adjust when the trashbin is cleared.
Example: 'trashbin_retention_obligation' => 'auto, 30';
Where auto means auto-cleanup to avoid quota overflow,
and 30 specifies the maximum age in days.
Typeshare
Typeshare is a tool that supports the synchronisation of type definitions between Rust and other languages.
How we use it in PermaplanT
In our application, Typeshare is used to extract type definitions from the backend Rust code and generate corresponding TypeScript definitions for the frontend. This ensures that both the backend and frontend share the same data structures, reducing the risk of type mismatches and improving overall code consistency and reliability.
Typeshare is integrated in the build scripts for the frontend, so the corresponding types are kept up to date every time the application is built.
Important remarks:
Optional properties
One special situation with the type translation had to be handled additionally in the Frontend code:
-
In Rust,
Optionproperties are defined as either a specific Type ornull -
In Typescript, the equivalent
Optionproperty, represented by a?, is defined as either a specific Type orundefined(in general, Typescript discourages the use ofnullto represent empty values) -
As such, the Typeshare generated types in the frontend, when containing
Optionproperties, they get translated as a typescript optional?. -
In theory this is not an issue, but because of the way that our data is passed between the backend and frontend through our API, an interesting behaviour can be observed:
- First, a Backend object with an 'empty' optional property gets serialized (using serde) into a JSON object to be passed through a request to the Frontend.
In this process, the value for that empty property gets set to
null, according to the type definition in Rust. - This object gets received by the API request in the Frontend, where it is typed automatically into the type generated by Typeshare.
For an optional property, this means allowing either the specific type or
undefinedas allowed values. - But, due to Type coercion in Typescript/Javascript not really checking the value for each property of the object, in this scenario the property value ends up being
nullinstead ofundefined. - Similarly, a new Object of that type, if generated by the Frontend code (for example, in a form), will have the empty properties as
undefinedvalues. When sending this through a POST/PUT request to the Backend, the Rust code (with serde) will correctly map theundefinedvalue to thenullvalue needed in the Backend type logic.
- First, a Backend object with an 'empty' optional property gets serialized (using serde) into a JSON object to be passed through a request to the Frontend.
In this process, the value for that empty property gets set to
-
In most cases in the Frontend code, this stray
nulldoes not end up being an issue, as we usually check such missing properties with a simple negation (!object.property), and in JS/TS!undefined === !null. -
The problems arise for the scenarios where we need to compare an old value with a new one, as in JS/TS
undefined !== null -
A specific scenario where this was an issue was in Forms which include optional number properties. This was an issue, as a value loaded from the Backend, as
null, would correctly show an empty input field, but that would not be equivalent with an input field that was empty (or for example was emptied by deleting the value). In this latter case, the value isundefined. As such, form validation, as well as change-tracking for that value was causing issues and had to be handled individually. -
For this, a mapping util function was used, to make sure we would map the value of the object, when loading the form and when tracking changes, to be represented by
undefinedfor all cases that were not a valid numerical input. This would ensure consistency between values asundefined/null/NaNand treat them as equivalent.
BigInt Current State and Possible Improvements
Current implementation
- Backend entities use 64-bit integers (
i64) for the IDs of themaps,seeds, andplantstables, as well as other tables related to them. - Before sending DTOs to the frontend, these values are downcast from
i64toi32. - This is done because Typeshare does not support types like
i64, andi64cannot be safely represented as a JavaScriptnumberdue to its limited integer precision.
Problems with the current approach
- Data loss / overflow risk
Downcastingi64 → i32truncates values outside thei32range and can silently break behavior for large IDs. Users will be unable to open or create any maps after map ID 2,147,483,647. After this point, -1 will be returned to the frontend, resulting in a map not found error. - Limited scalability
As data grows, more fields may exceedi32, increasing the risk of subtle production issues.
Desired behavior
- Preserve full 64-bit values end-to-end without precision loss.
- Make data type constraints explicit at the API boundary.
- Keep backend DTOs and generated frontend types consistent.
Possible improvements
Serialize as a string
Adopt a string representation for 64-bit integers:
- Keep Rust DTO fields as
i64. - Serialize
i64values as JSON strings using Serde. - Configure Typeshare to generate a corresponding frontend type (typically
string). - In the frontend:
- Treat the value as
stringif it is only displayed or compared. - Convert to
bigint(BigInt(value)) when arithmetic is required.
- Treat the value as
This approach may add minor overhead (string parsing) but avoids precision loss and reduces the risk of unforeseen issues later on.
Keep track of Typeshare improvements
There is currently an open pull request that aims to improve this situation:
It proposes to:
- Allow users to explicitly override how disallowed types are mapped, on a per-field or per-type basis.
- Give developers control over how Typeshare represents
i64,u64, and similar types in the target language (e.g., TypeScript). - Enable projects to define how 64-bit integers should be exposed to the frontend (e.g., as
string,bigint, or a custom type), without needing to downcast toi32.
Date handling with NaiveDate and NaiveDateTime
Current implementation
- Backend DTOs use
chrono::NaiveDateandchrono::NaiveDateTime. - These values are serialized via Serde and exposed to the frontend as strings through Typeshare.
- No timezone information is included, matching the semantics of the
Naive*types. - Currently,
chrono::NaiveDateTimeis used for fields such ascreated_atandmodified_at. These fields are not yet used by the frontend; they are set exclusively by the backend and the database.
Semantics of the current types
- NaiveDate
- Represents a calendar date without time or timezone.
- NaiveDateTime
- Represents a local date and time without a timezone.
- Does not represent an absolute instant in time.
- Requires an implicit or explicit timezone decision when interpreted.
Problems and risks
- Ambiguity in the frontend
- A
NaiveDateTimestring parsed as a JavaScriptDatewill implicitly apply the browser’s local timezone, which may lead to unintended time shifts.
- A
Possible backend improvements
- Standardize and document the serialization format
- Define the exact formats the API guarantees:
NaiveDate:YYYY-MM-DDNaiveDateTime:YYYY-MM-DDTHH:mm:ss(.SSS)(noZ, no offset)
- Ensure all endpoints follow the same convention, including the policy for fractional seconds.
- Define the exact formats the API guarantees:
Testing Strategy
Testing Approach
The software testing strategy aims to ensure the delivery of high-quality software by employing a comprehensive testing approach throughout the development lifecycle. This strategy combines various testing types and levels to validate the functionality, performance, and security of the software.
The testing approach for PermaplanT will follow a mix of unit testing, integration testing, and system testing.
- Unit testing will be conducted for individual components and functions to ensure that they are working as expected.
- Integration testing will be conducted for API endpoints and interactions between components to ensure that they are functioning correctly together.
- System testing will be conducted as manual tests and automated e2e tests to ensure the proper functionality of the system as a whole.
The effort necessary to write and maintain the tests should match their impact. Therefore, it is important to identify and use the appropriate types of tests for the current use case. Non-trivial single-component functionality should be covered by unit tests. Non-trivial multi-component functionality should additionally be covered by integration tests. Wherever possible and reasonable system tests should be automated to avoid the variance in scope and granularity that comes with manual testing.
Goals
- Prefer tests that are easy to maintain, e.g., prefer unit tests for detailed logic tests.
- Ensure that the software meets functional requirements and operates as intended.
- Identify and mitigate risks associated with software defects and failures.
- Enhance user experience by maintaining low bug rate and responsiveness.
- Improve overall software quality and reliability.
- Ensure that the 'mr', 'dev', and 'master' environments are tested with full End-to-End (E2E) tests.
- Ensure that the 'www' environment is tested with smoke tests.
Objectives
- Maintain an 80% backend branch coverage.
- Run tests with all environments.
- TBD frontend objectives
- TBD additional objectives
In Scope:
- E2E testing of use cases
- E2E testing of UI for different sizes/devices
- Integration testing of various modules and components
- System tests
- Performance tests
- Security tests
- Regression testing
- User acceptance testing
- Compatibility testing on different platforms, browsers, and devices
Out of Scope:
- Database tests
- Stress tests
Current State of CI/CD Tests
For further information about the environments see doc/ci.md
Production Environment (www)
- Testing: No Tests are currently run on the production environment.
- Since the production environment deploys the master branch, which has already been tested in the CI/CD pipeline, it is not necessary to run additional non-E2E tests.
Master Branch
- Testing: The master branch is currently missing E2E tests.
Test Coverage Across Environments
| Test Name | Merge Request | Development | Master | Production |
|---|---|---|---|---|
cargo-test | ✔ | ✔ | ✔ | ✘ |
frontend-test | ✔ | ✔ | ✔ | ✘ |
mdbook-test | ✔ | ✔ | ✔ | ✘ |
E2E Test | ✔ | ✔ | ✘ | ✘ |
Goals
The goal is to ensure that all environments pass all tests. Specifically:
-
Production:
- Must pass at least E2E and smoke tests.
- If these tests fail, administrators should be alerted immediately.
-
Master:
- E2E tests must be added and pass consistently.
- If this test fail, administrators should be alerted immediately.
Testing Types and Levels
1. Unit Testing
Unit tests are used to test individual units of code in isolation from the rest of the system. This is important because it allows us to validate that each unit is working as intended, without interference from other parts of the system.
- Unit tests must be created by every developer during the development process, following the Arrange-Act-Assert (AAA) pattern.
Short example:
#![allow(unused)] fn main() { struct Plants; #[cfg(test)] mod tests { use super::*; #[test] fn test_abs_for_a_negative_number() { // Arrange let negative = -5; // Act let answer = abs(negative); // Assert assert_eq!(answer, 5); } } }
Frontend
For the frontend unit tests will be used to test the following areas:
- State management logic: Since the frontend relies heavily on state management, it is important to ensure that the state is being properly managed and updated.
- Functions that handle data manipulation, such as sorting or filtering
- Components that render UI elements
- Correct event handling
- Form validation and submission
Backend
For the backend, unit tests will be used to test the following areas:
- Database queries and operations
- Business logic and data manipulation, e.g. code that performs calculations, manipulates data, or makes decisions based on input
- Authentication and authorization
- Error handling
In the backend unit tests can be found in the src/test directory.
2. Integration Testing
Integration tests are used to test the integration between different parts of the system. This is important because it allows us to validate that the different parts of the system are working together correctly.
In the application the integration tests will be used to test the following areas:
- Continuous Integration (CI) pipelines must run integration tests for different modules and components.
Frontend
- API calls using a mock API
Backend
- API endpoints
- Database queries
In the backend integration tests can be found in the src/test/ directory.
The whole module is annotated with #[cfg(test)] and will therefore only be compiled for tests.
3. System Testing
System testing will include end-to-end testing of the application to ensure overall functionality and user experience. This will include testing of all features, navigation, and error handling.
- System test scenarios must be derived from the use cases and the requirements they imply.
- Manual system tests are documented in
doc/tests/manual/.- See Manual Testing Guidelines for test case format and execution standards.
- See Manual Testing Workflow for the complete testing process.
- Automated system tests (e2e tests) can be found in the top-level
e2efolder. - Both are specified in Gherkin syntax.
- Exploratory testing techniques must be utilized to uncover potential issues and edge cases.
- A subset of system tests (and e2e tests), called smoke tests, must be run on the production environment to ensure that the most important features are working as expected and that the application is healthy.
4. Performance Testing
Load testing will be used to measure system reliability, performance.
5. Security Testing
TBD by @e12022492?
Test Environment and Infrastructure
- Test environments must mirror production environments as closely as possible.
- Virtualization and containerization technologies, such as Docker must be utilized for test environment management.
- Test environments must be version controlled and easily reproducible.
Testing Tools
- E2E: Python Playwright & Pytest + plugins
- Backend: Rust built-in tests by cargo
- Frontend: Vitest
Test Data Management
- Test data must be synthetic.
- Test data must cover a variety of scenarios, including at least valid and invalid cases.
- Equivalence partitioning and boundary value analysis tests should be done when it makes sense.
Test Execution and Reporting
- Test cases must be executed manually or automated, as appropriate for each testing type.
- All automated tests must be executed by CI.
- Integration tests must be executed by the CI pipeline on every push to PR and every merge to master.
- Test metrics, such as test coverage and test execution time, must be tracked in the pipeline.
- System tests and User acceptance tests must be performed before every release.
- Manual test reports are documented under
doc/tests/manual/reports- See Manual Testing Workflow for the complete process.
- An Email is sent whenever master fails, with a small report containing information since last build.
Test Automation
- Unit and Integration tests must be fully automated.
- Security and Performance tests may be manual.
- System tests are automated (if possible) according to the e2e guidelines.
Other Considerations
- Tests should be run before committing via pre-commit hooks
- Tests should be run on different configurations (e.g. production, staging)
Backend Testing
Auth
As Actix is validating tokens in integration tests you need to send authenticated requests.
To do that use the token provided by the function init_test_app and insert it into the Authorization header.
There is no need for an authorization server during tests.
The token will be created using a jwk that was specifically created for tests.
The same jwk will be used to validate the tokens.
Frontend testing
Libraries
PermaplanT uses the Vitest testing framework.
React Test Renderer, React Testing Library and User Event are available as companion libraries.
Types and organization of tests
We distinguish three different kinds of tests in the frontend of PermaplanT.
- Render tests
- DOM tests
- Logic tests
Each of these test-types may be used for unit testing or integration testing.
All tests related to a component can be found under the same directory in <component name>.test.tsx
Render tests
Render tests make use of React Test Renderer to check if a components layout has unexpectedly changed by transforming it to plain html. Since most components are made up of other sub-components, most tests of this kind are considered to be integration tests.
After a new render test is run for the first time, React Test Renderer will record a snapshot of the selected component and store it in the __snapshots__ subfolder.
If the same component renders differently in the future, e.g. because a subcomponent was changed, the test will fail.
To fix the issue, the programmer has to decide if the changes are intentional and then either fix the issue, or regenerate the affected snapshots using:
npm run test -- --updateSnapshot
DOM tests
DOM tests are used to test a components response to user interaction. In the current test setup this is accomplished using a simulated DOM provided by React Testing Library and js-dom. This makes it possible to run these tests even when a browser is not available (e.g. as part of the CI-pipeline).
If possible, User Event should be used to mock user input.
Logic Tests
The remaining tests are used to test our helper functions and in general code that is not tied to the DOM.
Vitest provides plenty of APIs that can be used to mock functions for this purpose.
Mocking API requests should be done with MSW.
There is an example of this in src/__test_utils__/msw_handlers/plants.ts.
The gist is, MSW intercepts all requests, for which a handler is defined returns the handler's response instead of the backend's.
Testing strategy
Frontend tests should generally follow these principles:
- Concentrate on writing meaningful tests instead of increasing code coverage for the sake of increasing code coverage.
- After fixing a bug, add regression tests wherever possible.
- Focus on testing code that is hard to verify using E2E or manual testing.
- DOM and Snapshot tests have low priority. They are a nice tool to detect unexpected changes while restyling or reorganizing components, but provide little utility otherwise.
In practice this means that most "CRUD" style components will usually require little to no frontend tests whatsoever.
The main utility of frontend tests is to ensure that more complex algorithms and calculations such as those in
frontend/features/map_planning/layers/utils/PolygonUtils.ts are implemented correctly.
Furthermore, frontend tests are handy to ensure that PermaplanTs state management system is updated as expected.
Of course there are plenty more use cases for frontend testing, but the ones presented above should give a general idea.
Optimizing code for testability
Avoid side effects as much as possible. It is generally easiest to test pure functions (i.e. functions without side effects).
Separating UI code (React Components) from code that performs other tasks - such as state mutation - facilitates testing immensely.
Performance tests
Frontend performance must always be viewed from a user centered perspective. To avoid premature optimization always keep in mind that our main target is to ensure that a majority of users don't experience noticeable slowdowns on our targeted hardware during average use cases.
Manual testing as well as user testing is therefore the best strategy for detecting the most relevant performance issues. Automated performance testing, e.g. using Google Lighthouse, should only be used to avoid sudden, unexpected performance degradations or to monitor long term performance trends. Under no circumstances should any performance metric be used as a target.
Manual Tests
This directory contains all manual testing documentation for the Perma initiative.
Structure
- testcases/ - Individual test case files written in GIVEN-WHEN-THEN format
README.md- Test case template and generation instructions
- reports/ - Historical test reports from completed testing cycles
README.md- Report naming conventions and structure
Workflow
For the complete manual testing workflow, see Manual Testing Workflow
Test Reports
This directory contains test reports from manual testing cycles.
What is a Test Report?
A test report is the execution record of a test protocol, containing:
- Report header with test metadata
- Executed test cases with results
- Error analysis and issue links
- Closing remarks and assessment
Reports may execute a subset of available test cases but should document which tests were skipped.
Naming Convention
Report files must be named using the date format: YYMMDD.md
Examples: 250131.md, 241215.md
Guidelines
For detailed guidelines on test report structure and requirements, see: Manual Testing Guidelines
README
Manual Tests Reports 2023
Heatmap with Shade
General
- Tester: Gabriel
- Date/Time: 31.07.2023 21:50
- Duration: 15 min
- Commit/Tag: a8b0079cbdd638aea5600373434d8dddcca8e7e7
- Planned tests: 1
- Executed tests: 1
- Passed tests: 1
- Failed tests: 0
Error Analysis
Closing remarks
This test was executed to show how the heatmap can be generated without the frontend being fully implemented.
Testcases
TC-007 - Heatmap
- Get a clean database with all migrations:
cd backend && diesel database reset. - Insert the plants and relations using the scraper (
cd scraper && npm run insert) - Start the backend (
cd backend && cargo run). - Create a map (via Postman, equivalent cURL below - remember to insert the token).
curl --location 'http://localhost:8080/api/maps' \
--header 'Authorization: Bearer <token>' \
--header 'Content-Type: application/json' \
--data '{
"name": "Test1",
"creation_date": "2023-07-06",
"is_inactive": false,
"zoom_factor": 100,
"privacy": "public",
"description": "",
"geometry": {
"rings": [
[
{
"x": 0.0,
"y": 0.0
},
{
"x": 100.0,
"y": 0.0
},
{
"x": 100.0,
"y": 100.0
},
{
"x": 50.0,
"y": 100.0
},
{
"x": 50.0,
"y": 50.0
},
{
"x": 0.0,
"y": 50.0
},
{
"x": 0.0,
"y": 0.0
}
]
],
"srid": 4326
}
}'
The result should be:
{
"id": 1,
"name": "Test1",
"creation_date": "2023-07-06",
"deletion_date": null,
"last_visit": null,
"is_inactive": false,
"zoom_factor": 100,
"privacy": "public",
"description": "",
"location": null,
"owner_id": "361c7c28-020f-4b31-84ea-cc629cc43180",
"geometry": {
"rings": [
[
{
"x": 0.0,
"y": 0.0,
"srid": 4326
},
{
"x": 100.0,
"y": 0.0,
"srid": 4326
},
{
"x": 100.0,
"y": 100.0,
"srid": 4326
},
{
"x": 50.0,
"y": 100.0,
"srid": 4326
},
{
"x": 50.0,
"y": 50.0,
"srid": 4326
},
{
"x": 0.0,
"y": 50.0,
"srid": 4326
},
{
"x": 0.0,
"y": 0.0,
"srid": 4326
}
]
],
"srid": 4326
}
}
- Create a shading.
curl --location 'http://localhost:8080/api/maps/1/layers/shade/shadings' \
--header 'Content-Type: application/json' \
--header 'Authorization: Bearer <token>' \
--data '{
"layerId": 3,
"shade": "light shade",
"geometry": {
"rings": [
[
{
"x": 0.0,
"y": 0.0
},
{
"x": 20.0,
"y": 0.0
},
{
"x": 20.0,
"y": 20.0
},
{
"x": 0.0,
"y": 20.0
},
{
"x": 0.0,
"y": 0.0
}
]
],
"srid": 4326
},
"actionId": "00000000-0000-0000-0000-000000000000"
}'
The result should be:
{
"id": "21c9ca45-5ff4-492a-a537-7eb64c134613",
"layerId": 3,
"shade": "light shade",
"geometry": {
"rings": [
[
{
"x": 0.0,
"y": 0.0,
"srid": 4326
},
{
"x": 20.0,
"y": 0.0,
"srid": 4326
},
{
"x": 20.0,
"y": 20.0,
"srid": 4326
},
{
"x": 0.0,
"y": 20.0,
"srid": 4326
},
{
"x": 0.0,
"y": 0.0,
"srid": 4326
}
]
],
"srid": 4326
},
"addDate": null,
"removeDate": null
}
- Execute the request.
curl -o file.png --location 'http://localhost:8080/api/maps/1/layers/plants/heatmap?plant_id=1&plant_layer_id=2&shade_layer_id=3' \
--header 'Authorization: Bearer <token>'
- Verify:
- The bottom left corner should be transparent, everything else should be green.
- The top left corner should be green (as there is shade there and plant with id 1 likes shade); the rest should be yellow.
Manual Test Report (pre v0.3 case study release)
General
- Tester: Aydan Namdar Ghazani
- Date/Time: 25 July 2023
- Duration: 15 minutes
- Commit/Tag: af6b307
- Setup: local build
- Planned tests: 14
- Executed tests: 14
- ✔️Passed tests: 10
- ⚠️Problematic tests: 3
- ❌Failed tests: 1
Error Analysis
-
TC-007: Functional deviation or limitation.
-
TC-009: The test case worked, just the image loading error appeared.
-
TC-010: Same as 009.
-
TC-013: Functional deviation or limitation. Priority: TBD.
Closing remarks
How is the current state of the software?
The software seems to be a in a reasonable state with almost all core functionalities working.
Only the timeline had some slight issues and one bug (issue #699) seemed to be present on the map creating page.
Have the quality objectives been achieved?
There were no defined quality objectives at this time.
What are the consequences drawn from the current state, including: how can future errors be avoided, how can the development process be improved?
It worked quite well! More tests could be automated to decrease manual effort for testing.
Testcases
TC-001 - Login
- Description: Successfully login to PermaplanT
- Preconditions:
- Test Steps:
- Press the login button on the navbar.
- Enter credentials.
- Press Login.
- Expected Result:
- Get redirected to the homepage.
- Be logged in.
- See a Hello message pop up.
- Actual Result:
- Test Result: ✔️
- Notes:
TC-002 - Translation
- Description: Switch language on website
- Preconditions:
- Test Steps:
- Change the language in the navbar
- Expected Result:
- Language should be changed after selecting a new one.
- Actual Result:
- Test Result: ✔️
- Notes:
TC-003 - Use Case: Map Creation
- Description: Successfully create a new map.
- Preconditions:
- Be logged in.
- Test Steps:
- Go to the map editor page.
- Create a new map.
- Enter valid stuff.
- Expected Result:
- Map should be successfully created.
- Actual Result:
- Test Result: ✔️
- Notes:
TC-004 - Map Creation (Negative)
- Description: Can't create a map with a name that exists
- Preconditions:
- Be logged in.
- Test Steps:
- Go to the map editor page.
- Create a map with a name that already exists.
- Enter valid stuff.
- Expected Result:
- Map should not be created.
- Error message pops up on the top right.
- Actual Result:
- Test Result: ✔️
- Notes:
TC-005 - Plant Search
- Description: Show a selection of plants if the search input is empty.
- Preconditions:
- No search input has been provided in the plant search.
- Test Steps:
- Naviagate to the map page.
- Select a map.
- Select the plant layer in the right map menu.
- Push the search icon in the lower right menu.
- Expected Result:
- A selection of plants is shown to the user.
- Actual Result:
- Test Result: ✔️
- Notes:
TC-006 - Plant Search
- Description: Return expected results for a given search in the selected language.
- Preconditions:
- The search term "tomato" has been typed into the search field.
- Test Steps:
- Naviagate to the map page.
- Select a map.
- Select the plant layer in the right map menu.
- Push the search icon in the lower right menu.
- Write "tomato" into the search field.
- Expected Result:
- The plants shown contain the string "tomato" in part of the datacolumns as outlined in the usecase document.
- Actual Result:
- Test Result: ✔️
- Notes:
TC-007 - Plant Search
- Description: Returns results for searches in the language that was not selected.
- Preconditions:
- The search term "fichte" has been typed into the search field.
- Test Steps:
- Navigate to the map page.
- Select a map.
- Select the plant layer in the right map menu.
- Push the search icon in the lower right menu.
- Write "fichte" into the search field.
- Expected Result:
- Firs (Latin Picea, German "Fichten") are part of the search results in addition to English matches.
- Matches on english data fields are ranked above english matches.
- Actual Result: Only plants with the name firs.
- Test Result: ⚠️
- Notes: I can see plants with the name spruce, but where are the plants with the name firs?
TC-008 - Heatmap
- SKIPPED
TC-009 - Timeline
- Description: Change the date of the map to 'hide' plantings.
- Preconditions:
- User must be on the map planning screen.
- Test Steps:
- Add a planting to the map.
- Click on the date selection on the bottom of the screen.
- Navigate to a date in the past.
- Wait 1 second.
- Expected Result:
- The indicator was briefly blue, indicating a loading state.
- The indicator beside the input is green.
- The Date on the bottom/right corner of the screen shows a date in the past.
- The planting previously planted is gone.
- Actual Result:
- Test Result: ⚠️
- Notes: Issue #699, image loading error was present.
TC-010 - Timeline
- Description: Change the date of the map to 'unhide' plantings.
- Preconditions:
- User must be on the map planning screen.
- Test Steps:
- Add a planting to the map.
- Click on the date selection on the bottom of the screen.
- Navigate to a date in the past.
- Wait 1 second.
- Navigate to today.
- Expected Result:
- The indicator was briefly blue, indicating a loading state.
- The indicator beside the input is green.
- The Date on the bottom/right corner of the screen shows the current day.
- The planting previously planted was gone while being in the past.
- The planting is visible again.
- Actual Result:
- Test Result: ⚠️
- Notes: Issue #699, image loading error was present.
TC-011 - Timeline
- Description: Change the
add_dateof a planting to 'hide' it. - Preconditions:
- User must be on the map planning screen.
- Test Steps:
- Add a planting to the map.
- Click on the planting.
- Click on the
Add Datedate selector in the left lower toolbar. - Change the date to a date in the future.
- Expected Result:
- The indicator was briefly blue, indicating a loading state.
- The indicator beside the input is green.
- The planting previously planted is gone.
- Actual Result:
- Test Result: ✔️
- Notes:
TC-012 - Timeline
- Description: Change the
remove_dateof a planting to 'hide' it. - Preconditions:
- User must be on the map planning screen.
- The plants date has to be in the past.
- Test Steps:
- Add a planting to the map.
- Click on the planting.
- Click on the
Remove Datedate selector in the left lower toolbar. - Change the date to today.
- Expected Result:
- The indicator was briefly blue, indicating a loading state.
- The indicator beside the input is green.
- The planting previously planted is gone.
- Actual Result:
- Test Result: ✔️
- Notes:
TC-013 - Timeline
- Description: Change the
add_dateof a planting to 'unhide' it. - Preconditions:
- User must be on the map planning screen.
- Test Steps:
- Add a planting to the map.
- Click on the planting.
- Click on the
Add Datedate selector in the left lower toolbar. - Change the date to a date in the future.
- Wait one second
- Remove the date
- Expected Result:
- The indicator was briefly blue, indicating a loading state.
- The indicator beside the input is green.
- The planting previously planted was gone while its
add_datewas in the future. - The planting is visible now with its
add_dateunset.
- Actual Result: The plant did not appear again.
- Test Result: ❌
- Notes: Was tested multiple times and on a fresh map.
TC-014 - Base Layer
- Description: Check whether the maps background image is displayed correctly.
- Preconditions:
- A map has been created.
- The user has navigated to the map.
- The base layer has to be selected as the active layer.
- Test Steps:
- Select a base layer image.
- Set the base layer rotation to 45 degrees.
- Scale the base layer image to 50 px per meter.
- Close and reopen the current map.
- Expected Result:
- The selected base layer image is displayed after it has been selected.
- Applying rotation was successful (the image is rotated by 45 degrees).
- Applying scale was successful (the image is twice as large).
- The state of the base layer does not change when closing and reopening the map.
- Actual Result:
- Test Result: ✔️
- Notes:
TC-015 - Grid
- Description: Display a point grid on the screen.
- Preconditions:
- User must be on the map screen.
- Test Steps:
- Press the grid button in the left upper menu bar.
- Zoom all the way in.
- Zoom all the way out.
- Expected Result:
- The grid is displayed.
- Each press on the grid button toggles the grid of/on.
- Zooming in, grid spacing should switch from one meter to ten centimeters.
- Zooming out, grid spacing should switch ten centimeters to one meter to ten meter.
- Actual Result:
- Test Result: ✔️
- Notes:
Manual Test Report (v0.3 case study release)
General
- Tester: Yvonne Markl
- Date/Time: 26 July 2023
- Duration: ~ 50 minutes
- Commit/Tag: 4e0bdc0e173f113ac0c155e012e6a68ff846a991
- Setup: dev.permaplant.net
- Planned tests: 14
- Executed tests: 14
- ✔️Passed tests: 14
- ⚠️Problematic tests: 5
- ❌Failed tests: 0
Error Analysis
-
TC-002: Bei Language Switch popt nochmal "Hallo Yvonne" auf
-
TC-005:
-
⚠️ PTC-006: je weiter unten, umso abweichendere Suchergebnisse, z.B. "Lacinato (Brassica oleracea acephala 'Lacinato')" --> kommt "tomato" nicht vor
-
⚠️ PTC-007:
- zu 'precondition' gehört auch 'English has been selected'
- Icons in search are missing #712
-
⚠️ PTC-013: "The planting is visible now with its add_date unset." --> bei mir muss ich immer erst das Kartendatum ändern (z.B. 1 Tag zurückspringen), dann erst wird die Pflanze wieder angezeigt
-
⚠️ PTC-014: "The selected base layer image is displayed after it has been selected." Image wurde erst angezeigt, als ich Rotation und Skalierung eingestellt hatte, evtl. #662
-
⚠️ PTC-015:
- "Press the grid button in the left upper menu bar." --> dann ist Grid DEaktiviert!
- "Zoom all the way in." ---> site becomes unresponsive
Manual Test Report (v0.3.1)
General
- Tester: Aydan Namdar Ghazani
- Date/Time: 08 August 2023
- Duration: 12 minutes
- Commit/Tag: master 25624e3
- Setup: localhost
- Planned tests: 17
- Executed tests: 16
- ✔️Passed tests: 16
- ⚠️Problematic tests: 0
- ❌Failed tests: 0
- Skipped tests: 1
Error Analysis
No errors occurred.
Closing remarks
How is the current state of the software?
The software is in a fully working state with no issues.
Have the quality objectives been achieved?
There were no defined quality objectives at this time.
What are the consequences drawn from the current state, including: how can future errors be avoided, how can the development process be improved?
It worked quite well! More tests could be automated to decrease manual effort for testing.
TC-001 - Login
- Description: Successfully login to PermaplanT
- Preconditions:
- Test Steps:
- Press the login button on the navbar.
- Enter credentials.
- Press Login.
- Expected Result:
- Get redirected to the homepage.
- Be logged in.
- See a Hello message pop up.
- Actual Result:
- Test Result: ✔️
- Notes:
TC-002 - Translation
- Description: Switch language on website
- Preconditions:
- Test Steps:
- Change the language in the navbar
- Expected Result:
- Language should be changed after selecting a new one.
- Actual Result:
- Test Result: ✔️
- Notes:
TC-003 - Use Case: Map Creation
- Description: Successfully create a new map.
- Preconditions:
- Be logged in.
- Test Steps:
- Go to the map editor page.
- Create a new map.
- Enter valid stuff.
- Expected Result:
- Map should be successfully created.
- Actual Result:
- Test Result: ✔️
- Notes:
TC-004 - Map Creation (Negative)
- Description: Can't create a map with a name that exists
- Preconditions:
- Be logged in.
- Test Steps:
- Go to the map editor page.
- Create a map with a name that already exists.
- Enter valid stuff.
- Expected Result:
- Map should not be created.
- Error message pops up on the top right.
- Actual Result:
- Test Result: ✔️
- Notes:
TC-005 - Plant Search
- Description: Show a selection of plants if the search input is empty.
- Preconditions:
- No search input has been provided in the plant search.
- Test Steps:
- Navigate to the map page.
- Select a map.
- Select the plant layer in the right map menu.
- Push the search icon in the lower right menu.
- Expected Result:
- A selection of plants is shown to the user.
- Actual Result:
- Test Result: ✔️
- Notes:
TC-006 - Plant Search
- Description: Return expected results for a given search in the selected language.
- Preconditions:
- The search term "tomato" has been typed into the search field.
- Test Steps:
- Navigate to the map page.
- Select a map.
- Select the plant layer in the right map menu.
- Push the search icon in the lower right menu.
- Write "tomato" into the search field.
- Expected Result:
- The plants shown contain the string "tomato" in part of the datacolumns as outlined in the usecase document.
- Actual Result:
- Test Result: ✔️
- Notes:
TC-007 - Plant Search
- Description: Returns results for searches in the language that was selected.
- Preconditions:
- Language English has been selected
- Test Steps:
- Navigate to the map page.
- Select a map.
- Select the plant layer in the right map menu.
- Push the search icon in the lower right menu.
- Write "Tomato" and "Potato" into the search field.
- Expected Result:
- "Tomato" and "Potato" should be the first match.
- Actual Result:
- Test Result: ✔️
- Notes:
TC-008 - Heatmap
SKIPPED
TC-009 - Timeline
- Description: Change the date of the map to 'hide' plantings.
- Preconditions:
- User must be on the map planning screen.
- Test Steps:
- Add a planting to the map.
- Click on the date selection on the bottom of the screen.
- Navigate to a date in the past.
- Wait 1 second.
- Expected Result:
- The indicator was briefly blue, indicating a loading state.
- The indicator beside the input is green.
- The Date on the bottom/right corner of the screen shows a date in the past.
- The planting previously planted is gone.
- Actual Result:
- Test Result: ✔️
- Notes:
TC-010 - Timeline
- Description: Change the date of the map to 'unhide' plantings.
- Preconditions:
- User must be on the map planning screen.
- Test Steps:
- Add a planting to the map.
- Click on the date selection on the bottom of the screen.
- Navigate to a date in the past.
- Wait 1 second.
- Navigate to today.
- Expected Result:
- The indicator was briefly blue, indicating a loading state.
- The indicator beside the input is green.
- The Date on the bottom/right corner of the screen shows the current day.
- The planting previously planted was gone while being in the past.
- The planting is visible again.
- Actual Result:
- Test Result: ✔️
- Notes:
TC-011 - Timeline
- Description: Change the
add_dateof a planting to 'hide' it. - Preconditions:
- User must be on the map planning screen.
- Test Steps:
- Add a planting to the map.
- Click on the planting.
- Click on the
Add Datedate selector in the left lower toolbar. - Change the date to a date in the future.
- Expected Result:
- The indicator was briefly blue, indicating a loading state.
- The indicator beside the input is green.
- The planting previously planted is gone.
- Actual Result:
- Test Result: ✔️
- Notes:
TC-012 - Timeline
- Description: Change the
remove_dateof a planting to 'hide' it. - Preconditions:
- User must be on the map planning screen.
- The plants date has to be in the past.
- Test Steps:
- Add a planting to the map.
- Click on the planting.
- Click on the
Remove Datedate selector in the left lower toolbar. - Change the date to today.
- Expected Result:
- The indicator was briefly blue, indicating a loading state.
- The indicator beside the input is green.
- The planting previously planted is gone.
- Actual Result:
- Test Result: ✔️
- Notes:
TC-013 - Timeline
- Description: Change the
add_dateof a planting to 'unhide' it. - Preconditions:
- User must be on the map planning screen.
- Test Steps:
- Add a planting to the map.
- Click on the planting.
- Click on the
Add Datedate selector in the left lower toolbar. - Change the date to a date in the future.
- Wait one second
- Remove the date
- Expected Result:
- The indicator was briefly blue, indicating a loading state.
- The indicator beside the input is green.
- The planting previously planted was gone while its
add_datewas in the future. - The planting is visible now with its
add_dateunset.
- Actual Result:
- Test Result: ✔️
- Notes:
TC-014 - Base Layer
- Description: Check whether the maps background image is displayed correctly.
- Preconditions:
- A map has been created.
- The user has navigated to the map editor.
- The base layer has to be selected as the active layer.
- Test Steps:
- Select a base layer image.
- Set the base layer rotation to 45 degrees.
- Scale the base layer image to 50 px per meter.
- Close and reopen the current map.
- Expected Result:
- The selected base layer image is displayed after it has been selected.
- Applying rotation was successful (the image is rotated by 45 degrees).
- Applying scale was successful (the image is twice as large).
- The state of the base layer does not change when closing and reopening the map.
- Actual Result:
- Test Result: ✔️
- Notes:
TC-015 - Grid
- Description: Display a point grid on the screen.
- Preconditions:
- User must be in the map editor.
- Test Steps:
- Press the grid button in the left upper menu bar.
- Zoom all the way in.
- Zoom all the way out.
- Expected Result:
- The grid is not displayed anymore.
- Each press on the grid button toggles the grid off/on.
- Zooming in, grid spacing should switch from one meter to ten centimeters.
- Zooming out, grid spacing should switch ten centimeters to one meter to ten meter.
- Actual Result:
- Test Result: ✔️
- Notes: The grid scale is badly visible on the top left.
TC-016 - Map Editor Guided Tour
- Description: Check whether the Guided Tour leaves the Map Editor in its original state.
- Preconditions:
- User must not have completed the Guided Tour prior.
- User must be on the map editor screen.
- Test Steps:
- Follow the Guided Tour until its end.
- Do every step exactly as stated.
- Expected Result:
- There are no plants on the map.
- The map date is set to the current date.
- Placement mode is not active.
- Actual Result:
- Test Result: ✔️
- Notes:
TC-017 - Map Editor Guided Tour
- Description: Guided Tour only shows when not completed or explicitly cancelled.
- Preconditions:
- User must not have completed the Guided Tour prior.
- User must be on the map editor screen.
- Test Steps:
- Leave the page by entering a different URL or using the browsers navigate back button.
- Return to the map editor screen.
- Use the cancel button on the Tour step or press ESC.
- Reload the page.
- Expected Result:
- The Guided Tour will show again after returning to the map editor screen.
- After the page reload, the Guided Tour will not be displayed.
- Actual Result:
- Test Result: ✔️
- Notes:
Manual Test Report (v0.3.2)
General
- Tester: Markus Raab
- Date/Time: 07 August 2023
- Duration: 15 Min
- Commit/Tag: bcb1c1a73abe9659f50a085762c5b7eec233f7e8
- Setup: www.permaplant.net
- Planned tests: 14
- Executed tests: 14
- ✔️Passed tests: 14
- ⚠️Problematic tests: 0
- ❌Failed tests: 0
Error Analysis
- TC-015: browser hangs when zooming completely in #800
Manual Test Report (v0.3.3)
General
- Tester: Aydan Namdar Ghazani
- Date/Time: 15 September 2023
- Duration: ~10 minutes
- Commit/Tag: af6b307
- Setup: dev.permaplant.net
- Planned tests: 11
- Executed tests: 8
- ✔️Passed tests: 5
- ⚠️Problematic tests: 3
- ❌Failed tests: 0
Error Analysis
No errors occured during the test.
Closing remarks
How is the current state of the software?
The software is in a good state.
Have the quality objectives been achieved?
There were no defined quality objectives at this time.
What are the consequences drawn from the current state, including: how can future errors be avoided, how can the development process be improved?
The test protocol can be improved. There is no need to write testcases for features that are not implemented yet.
Testcases
Plant Search
- Description: Show a selection of plants if the search input is empty.
- Given I am on a map page with the plant layer active
- When I have an empty search box
- Then I can see various plants as results
- Test Result: ✔️
Heatmap
- Description: Test whether the heatmap endpoints generates the image correctly.
- Given I am on a map page with the plant layer active
- When I start planting a plant
- Then I see suitable places for that plant
- Test Result: Not Implemented
Base Layer
- Description: Check whether the maps background image is displayed correctly.
- Given I am on a map page with the base layer active
- When I select a base layer image
- Then I can see the base layer image on the canvas
- Test Result: ✔️
Grid
- Description: Display a point grid on the screen.
- Given I am on a map page
- When I Zoom in or out
- Then the grid spacing is changing
- Test Result: ✔️
Map Editor Guided Tour
- Description: Check whether the Guided Tour leaves the Map Editor in its original state.
- Given I am on a map page
- When I do the Guided Tour
- Then after I have done the Guided Tour the map is the same as before
- Actual Result:
- Test Result: ⚠️
- Notes: Was not able to test, since my user already performed the tour in the past
Map Editor Guided Tour
- Description: Guided Tour shows when not completed.
- Given I am on a map page
- When I have not completed the Guided Tour
- Then I can do the Guided Tour at any time
- Actual Result:
- Test Result: ⚠️
- Notes: Was not able to test, since my user already performed the tour in the past
Map Editor Guided Tour
- Description: Guided Tour only shows when not completed or explicitly cancelled.
- Given I am on a map page
- When I have not completed the Guided Tour
- Then I can interrupt the Tour at any time and come back later
- Actual Result:
- Test Result: ⚠️
- Notes: Was not able to test, since my user already performed the tour in the past
Edit seed
- Description: Edit seed.
- Preconditions:
- User is on the view seed page.
- Test Steps:
- Press Button "Edit seed"
- Change an attribute of the seed.
- Submit the form.
- Repeat steps 1 through 3 for every seed attribute.
- Expected Result:
- The seed attributes updated successfully.
- Test Result: ✔️
Delete seed
- Description: Edit seed.
- Preconditions:
- User is on the view seed page.
- Test Steps:
- Press Button "Delete seed"
- Expected Result:
- The selected seed is no longer available.
- Test Result: ✔️
Chat: Create conversation
- Description: A conversation can be created
- Given I am on the chat page
- When I create a new conversation
- Then I can see the conversation in the conversation list
- Actual Result:
- Test Result: Not Implemented
- Notes: Currently only works with CORS disabled.
Chat: Send message
- Description: Send a message to a Nextcloud conversation.
- Given I am on the chat page
- When I select a conversation
- Then I can send messages in that conversation
- Actual Result:
- Test Result: Not Implemented
- Notes: Currently only works with CORS disabled.
Manual Test Report (v0.3.4)
General
- Tester: Aydan Namdar Ghazani
- Date/Time: 14. October 2023
- Duration: ~5 minutes
- Commit/Tag: 1c3b54a
- Setup: dev.permaplant.net
- Planned tests: 8
- Executed tests: 8
- ✔️Passed tests: 8
- ⚠️Problematic tests: 0
- ❌Failed tests: 0
Error Analysis
No errors occured during the test.
Closing remarks
How is the current state of the software?
The software is in a good state.
Have the quality objectives been achieved?
There were no defined quality objectives at this time.
What are the consequences drawn from the current state, including: how can future errors be avoided, how can the development process be improved?
We should remove tests from the protocol which are not implemented yet (Heatmap, Chat)
Testcases
Plant Search
- Description: Show a selection of plants if the search input is empty.
- Given I am on a map page with the plant layer active
- When I have an empty search box
- Then I can see various plants as results
- Test Result: ✔️
Base Layer
- Description: Check whether the maps background image is displayed correctly.
- Given I am on a map page with the base layer active
- When I select a base layer image
- Then I can see the base layer image on the canvas
- Test Result: ✔️
Grid
- Description: Display a point grid on the screen.
- Given I am on a map page
- When I Zoom in or out
- Then the grid spacing is changing
- Test Result: ✔️
Map Editor Guided Tour
- Description: Check whether the Guided Tour leaves the Map Editor in its original state.
- Given I am on a map page
- When I do the Guided Tour
- Then after I have done the Guided Tour the map is the same as before
- Actual Result:
- Test Result: ✔️
Map Editor Guided Tour
- Description: Guided Tour shows when not completed.
- Given I am on a map page
- When I have not completed the Guided Tour
- Then I can do the Guided Tour at any time
- Actual Result:
- Test Result: ✔️
Map Editor Guided Tour
- Description: Guided Tour only shows when not completed or explicitly cancelled.
- Given I am on a map page
- When I have not completed the Guided Tour
- Then I can interrupt the Tour at any time and come back later
- Actual Result:
- Test Result: ✔️
Edit seed
- Description: Edit seed.
- Preconditions:
- User is on the view seed page.
- Test Steps:
- Press Button "Edit seed"
- Change an attribute of the seed.
- Submit the form.
- Repeat steps 1 through 3 for every seed attribute.
- Expected Result:
- The seed attributes updated successfully.
- Test Result: ✔️
Delete seed
- Description: Edit seed.
- Preconditions:
- User is on the view seed page.
- Test Steps:
- Press Button "Delete seed"
- Expected Result:
- The selected seed is no longer available.
- Test Result: ✔️
Manual Test Report (v0.3.5)
General
- Tester: Aydan Namdar Ghazani
- Date/Time: 11. November 2023
- Duration: 5 minutes
- Commit/Tag: 42000aa
- Setup: dev.permaplant.net
- Planned tests: 8
- Executed tests: 8
- ✔️Passed tests: 8
- ⚠️Problematic tests: 0
- ❌Failed tests: 0
Error Analysis
No errors occured during the tests.
Closing remarks
How is the current state of the software?
The software is in a good state.
Have the quality objectives been achieved?
There were no defined quality objectives at this time.
What are the consequences drawn from the current state, including: how can future errors be avoided, how can the development process be improved?
None
Testcases
Plant Search
- Description: Show a selection of plants if the search input is empty.
- Given I am on a map page with the plant layer active
- When I have an empty search box
- Then I can see various plants as results
- Test Result: ✔️
Base Layer
- Description: Check whether the maps background image is displayed correctly.
- Given I am on a map page with the base layer active
- When I select a base layer image
- Then I can see the base layer image on the canvas
- Test Result: ✔️
Grid
- Description: Display a point grid on the screen.
- Given I am on a map page
- When I Zoom in or out
- Then the grid spacing is changing
- Test Result: ✔️
Map Editor Guided Tour
- Description: Check whether the Guided Tour leaves the Map Editor in its original state.
- Given I am on a map page
- When I do the Guided Tour
- Then after I have done the Guided Tour the map is the same as before
- Actual Result:
- Test Result: ✔️
Map Editor Guided Tour
- Description: Guided Tour shows when not completed.
- Given I am on a map page
- When I have not completed the Guided Tour
- Then I can do the Guided Tour at any time
- Actual Result:
- Test Result: ✔️
Map Editor Guided Tour
- Description: Guided Tour only shows when not completed or explicitly cancelled.
- Given I am on a map page
- When I have not completed the Guided Tour
- Then I can interrupt the Tour at any time and come back later
- Actual Result:
- Test Result: ✔️
Edit seed
- Description: Edit seed.
- Preconditions:
- User is on the view seed page.
- Test Steps:
- Press Button "Edit seed"
- Change an attribute of the seed.
- Submit the form.
- Repeat steps 1 through 3 for every seed attribute.
- Expected Result:
- The seed attributes updated successfully.
- Test Result: ✔️
Delete seed
- Description: Edit seed.
- Preconditions:
- User is on the view seed page.
- Test Steps:
- Press Button "Delete seed"
- Expected Result:
- The selected seed is no longer available.
- Test Result: ✔️
Manual Test Report (v0.3.6)
General
- Tester: Aydan Namdar Ghazani
- Date/Time: 21. November 2023
- Duration: 5 minutes
- Commit/Tag: 671cab1
- Setup: localhost
- Planned tests: 6
- Executed tests: 6
- ✔️Passed tests: 6
- ⚠️Problematic tests: 0
- ❌Failed tests: 0
Error Analysis
"Sorry I couldnt load your image" error occured on opening a fresh map.
Closing remarks
How is the current state of the software?
The software is in a good state. The image loading error is a known bug, it still exists.
Have the quality objectives been achieved?
There were no defined quality objectives at this time.
What are the consequences drawn from the current state, including: how can future errors be avoided, how can the development process be improved?
None
Testcases
Plant Search
- Description: Show a selection of plants if the search input is empty.
- Given I am on a map page with the plant layer active
- When I have an empty search box
- Then I can see various plants as results
- Test Result: ✔️
Base Layer
- Description: Check whether the maps background image is displayed correctly.
- Given I am on a map page with the base layer active
- When I select a base layer image
- Then I can see the base layer image on the canvas
- Test Result: ✔️
Grid
- Description: Display a point grid on the screen.
- Given I am on a map page
- When I Zoom in or out
- Then the grid spacing is changing
- Test Result: ✔️
Map Editor Guided Tour
- Description: Check whether the Guided Tour leaves the Map Editor in its original state.
- Given I am on a map page
- When I do the Guided Tour
- Then after I have done the Guided Tour the map is the same as before
- Actual Result:
- Test Result: ✔️
Map Editor Guided Tour
- Description: Guided Tour shows when not completed.
- Given I am on a map page
- When I have not completed the Guided Tour
- Then I can do the Guided Tour at any time
- Actual Result:
- Test Result: ✔️
Map Editor Guided Tour
- Description: Guided Tour only shows when not completed or explicitly cancelled.
- Given I am on a map page
- When I have not completed the Guided Tour
- Then I can interrupt the Tour at any time and come back later
- Actual Result:
- Test Result: ✔️
README
Manual Tests Reports 2024
Manual Test Report (v0.4.0)
General
- Tester: Filip Markovic
- Date/Time: 10.04.2024
- Duration: 20 minutes
- Commit/Tag: 5790350
- Setup: dev.permaplant.net
- Planned tests: 10
- Executed tests: 10
- ✔️Passed tests: 10
- ⚠️Problematic tests: 0
- ❌Failed tests: 0
Error Analysis
When logging out while in a map, 4 error toast messages get shown on screen.
- When logging out while in a map, 4 error toast messages get shown on screen.
- Error has not been previously specified.
- Class 6: Cosmetic issue
Closing remarks
- How is the current state of the software?
Software looks good and working to me!
- Have the quality objectives been achieved?
No defined quality objectives.
- What are the consequences drawn from the current state, including: how can future errors be avoided, how can the development process be improved?
No drawn consquences.
Plant Search
- Description: Show a selection of plants if the search input is empty.
- Given I am on a map page with the plant layer active
- When I have an empty search box
- Then I can see various plants as results
- Actual Result:
- Test Result: ✔️
- Notes:
Layer opacity
- Description: Check whether the opacity of a layer changes.
- Given I am on a map page with a base layer image configured
- When dragging the slider for the base layer in the layer section of the toolbar to 50%
- Then I can see the change in opacity of the base layer image
- When I change the size of the toolbar
- Then I can see the slider and the filling change in size proportionally. Therefore 50% of the slider should be filled.
- Actual Result:
- Test Result: ✔️ (took some time for me to see that the layers at the top right are sliders.)
- Notes:
Base Layer
- Description: Check whether the maps background image is displayed correctly.
- Given I am on a map page with the base layer active
- When I select a base layer image
- Then I can see the base layer image on the canvas
- Actual Result:
- Test Result: ✔️
- Notes:
Grid
- Description: Display a point grid on the screen.
- Given I am on a map page
- When I Zoom in or out
- Then the grid spacing is changing
- Actual Result:
- Test Result: ✔️
- Notes:
Map Editor Guided Tour
- Description: Check whether the Guided Tour leaves the Map Editor in its original state.
- Given I am on a map page
- When I do the Guided Tour
- Then after I have done the Guided Tour the map is the same as before
- Actual Result:
- Test Result: ✔️
- Notes:
Map Editor Guided Tour
- Description: Guided Tour shows when not completed.
- Given I am on a map page
- When I have not completed the Guided Tour
- Then I can do the Guided Tour at any time
- Actual Result:
- Test Result: ✔️
- Notes:
Map Editor Guided Tour
- Description: Guided Tour only shows when not completed or explicitly cancelled.
- Given I am on a map page
- When I have not completed the Guided Tour
- Then I can interrupt the Tour at any time and come back later
- Actual Result:
- Test Result: ✔️
- Notes:
Additional name on map: plant labels
- Description: Test additional names being displayed properly.
- Given I am on the map page with the plants layer active
- When I create a new plant from a seed.
- Then I can see the additional name on the label when hovering over the plant.
- Actual Result:
- Test Result: ✔️
- Notes: The additional name must also be visible when a different account views the same map in parallel.
Additional name on map: left toolbar
- Description: Test additional names being displayed properly.
- Given I am on the map page with the plants layer active
- When I create a new plant from a seed.
- When I click on the new plant icon.
- Then I can see the additional name in the left toolbars heading.
- Actual Result:
- Test Result: ✔️
- Notes: The additional name must also be visible when a different account views the same map in parallel.
Additional name on map: updates
- Description: Test additional names being displayed properly.
- Given I am on the map page with the plants layer active
- When I create a new plant from a seed.
- When I go to the inventory page and change the seeds name.
- Then I can see the changes in the plant label and left toolbar.
- Actual Result:
- Test Result: ✔️
- Notes: The additional name must also be visible when a different account views the same map.
Manual Test Report (v0.4.1)
General
- Tester: Filip Markovic
- Date/Time: 28.05.2024, 14:55
- Duration: 20 minutes
- Commit/Tag: 3c5eb11fbabf1cb6ce6bc64e5801c3be6bfcccb7
- Setup: dev.permaplant.net
- Planned tests: 23
- Executed tests: 23
- ✔️Passed tests: 23
- ⚠️Problematic tests: 0
- ❌Failed tests: 0
Error Analysis
No major errors were encountered
Closing remarks
- How is the current state of the software?
Software looks good and working to us!
- Have the quality objectives been achieved?
No defined quality objectives.
- What are the consequences drawn from the current state, including: how can future errors be avoided, how can the development process be improved?
No drawn consquences.
Plant Search
- Description: Show a selection of plants if the search input is empty.
- Given I am on a map page with the plant layer active
- When I have an empty search box
- Then I can see various plants as results
- Actual Result:
- Test Result: ✔️
- Notes:
Layer opacity
- Description: Check whether the opacity of a layer changes.
- Given I am on a map page with a base layer image configured
- When dragging the slider for the base layer in the layer section of the toolbar to 50%
- Then I can see the change in opacity of the base layer image
- When I change the size of the toolbar
- Then I can see the slider and the filling change in size proportionally. Therefore 50% of the slider should be filled.
- Actual Result:
- Test Result: ✔️
- Notes:
Base Layer
- Description: Check whether the maps background image is displayed correctly.
- Given I am on a map page with the base layer active
- When I select a base layer image
- Then I can see the base layer image on the canvas
- Actual Result:
- Test Result: ✔️
- Notes:
Grid
- Description: Display a point grid on the screen.
- Given I am on a map page
- When I Zoom in or out
- Then the grid spacing is changing
- Actual Result: The jump when zooming out too much is strong
- Test Result: ✔️
- Notes:
Map Editor Guided Tour
- Description: Check whether the Guided Tour leaves the Map Editor in its original state.
- Given I am on a map page
- When I do the Guided Tour
- Then after I have done the Guided Tour the map is the same as before
- Actual Result:
- Test Result: ✔️
- Notes:
Map Editor Guided Tour
- Description: Guided Tour shows when not completed.
- Given I am on a map page
- When I have not completed the Guided Tour
- Then I can do the Guided Tour at any time
- Actual Result:
- Test Result: ✔️
- Notes:
Map Editor Guided Tour
- Description: Guided Tour only shows when not completed or explicitly cancelled.
- Given I am on a map page
- When I have not completed the Guided Tour
- Then I can interrupt the Tour at any time and come back later
- Actual Result:
- Test Result: ✔️
- Notes:
Additional name on map: plant labels
- Description: Test additional names being displayed properly.
- Given I am on the map page with the plants layer active
- When I create a new plant from a seed.
- Then I can see the additional name on the label when hovering over the plant.
- Actual Result:
- Test Result: ✔️
- Notes: The additional name must also be visible when a different account views the same map in parallel.
Additional name on map: left toolbar
- Description: Test additional names being displayed properly.
- Given I am on the map page with the plants layer active
- When I create a new plant from a seed.
- When I click on the new plant icon.
- Then I can see the additional name in the left toolbars heading.
- Actual Result:
- Test Result: ✔️
- Notes: The additional name must also be visible when a different account views the same map in parallel.
Additional name on map: updates
- Description: Test additional names being displayed properly.
- Given I am on the map page with the plants layer active
- When I create a new plant from a seed.
- When I go to the inventory page and change the seeds name.
- Then I can see the changes in the plant label and left toolbar.
- Actual Result:
- Test Result: ✔️
- Notes: The additional name must also be visible when a different account views the same map.
Layer Management: Initial Order of Layers
- Description: Test initial order of layers
- When I create a new map
- Then Base Layer is at bottom of layer list and Plant Layer is on top of layer list
- Actual Result:
- Test Result: ✔️
- Notes:
Layer Management: Correct konva rendering of layer order on new map
- Description: Test correct rendering order of konva layers.
- Given I am on a new map
- When I add a background image in Base Layer
- When I add a filled rectangle in Drawing Layer
- When I add a plant in plant layer
- Then Plant in is front of rectangle and rectangle is in front of background image
- Actual Result:
- Test Result: ✔️
- Notes:
Layer Management: Renaming of layer
- Description: Test if Drawing Layer can be renamed.
- Given I am on a new map
- When I rename the Drawing Layer
- Then The new name is visible in the layer list
- Actual Result:
- Test Result: ✔️
- Notes:
Layer Management: Creation of new layer
- Description: Test if new layer can be created.
- Given I am on a new map
- When I select a layer and create a new one
- Then The new layer is visible above currently selected layer
- Actual Result:
- Test Result: ✔️
- Notes:
Layer Management: Change order of layers
- Description: Test if the order of layers can be updated correctly.
- Given I am on a map with 2 drawing layers with overlapping rectangles
- When I select the upper Drawing Layer and move it below the other one
- Then The order in the layer list is updated and the rectangle of the new upper drawing layer is shown in front of the lower one on the map.
- Actual Result:
- Test Result: ✔️
- Notes:
Layer Management: Delete Drawing Layer
- Description: Test if Drawing Layer can be deleted
- Given I am on a map with some drawing on a Drawing Layer.
- When I delete the Drawing Layer
- Then The layer disappears from layer list and drawings are deleted from map
- Actual Result:
- Test Result: ✔️
- Notes:
Layer Management: Deletion of Plant Layer not possible
- Description: Test if deletion of Plant layer is disabled
- Given I am on a new map.
- When I select the Plant Layer
- Then Button to delete layer is disabled
- Actual Result:
- Test Result: ✔️
- Notes:
Layer Management: Deletion of Base Layer not possible
- Description: Test if Deletion of Base layer is disabled
- Given I am on a new map.
- When I select the Base Layer
- Then Button to delete layer is disabled
- Actual Result:
- Test Result: ✔️
- Notes:
Layer Management: Undo deletion
- Description: Test if deleted layer can be restored
- Given I am on a map with some drawing on a drawing layer.
- When I delete the drawing layer
- Then Layer disappears from layer list and drawings are deleted from map
- When I press undo
- Then Layer appears again at same position as it was before deletion and drawings are visible again.
- Actual Result:
- Test Result: ✔️
- Notes:
Layer Management: Top layer cannot be moved up
- Description: Test if the top layer cannot be moved up
- Given I am on a new map.
- When I select the top layer.
- Then Button to to move layer up is disabled
- Actual Result:
- Test Result: ✔️
- Notes:
Layer Management: Bottom layer cannot be moved down
- Description: Test if the bottom layer cannot be moved down
- Given I am on a new map.
- When I select the bottom layer.
- Then Button to to move layer down is disabled
- Actual Result:
- Test Result: ✔️
- Notes:
Layer Management: Renaming of Plant Layer not possible
- Description: Test if Renaming of Plant layer is not possible
- Given I am on a new map.
- When I select the Plant Layer
- Then Button to rename layer is disabled
- Actual Result:
- Test Result: ✔️
- Notes:
Layer Management: Renaming of Base Layer not possible
- Description: Test if Renaming of Base layer is not possible
- Given I am on a new map.
- When I select the Base Layer
- Then Button to rename layer is disabled
- Actual Result:
- Test Result: ✔️
- Notes:
General
- Tester: Filip, Stefanie
- Date/Time: 01.08.2024
- Duration: 30 Minutes
- Commit/Tag: 03e97dadad765070e8efcbdb4c9f1dc55479c298
- Setup: master.permaplant.net
- Planned tests: 27
- Executed tests: 26
- ✔️Passed tests: 26
- ⚠️Problematic tests: 0
- ❌Failed tests: 0
Error Analysis
Closing remarks
- How is the current state of the software? Overall in a good state, minor errors and UI issues.
- Have the quality objectives been achieved? Usability can be improved.
- What are the consequences drawn from the current state, including: how can future errors be avoided, how can the development process be improved? Usability Tests, Mockups
Errors found
1. When logging out while in a map, 4 error toast messages get shown on screen.
2. Error has been previously specified.
3. Class 6: Cosmetic issue
4. Level 3: Correction will be done opportunistically
1. When using the measurement tool, it is not clear that the right button stops the measuring.
2. No
3. Class 6: Cosmetic issue
4. Level 3: Correction will be done opportunistically
1. When using the measurement tool, closing the bottom status bar draws a measuring to the X of the status bar.
2. No
3. Class 6: Cosmetic issue
4. Level 3: Correction will be done opportunistically
1. When changing opacity of a layer, the cursor could better indicate that the line is changeable
2. Not yet identified
3. Class 6: Cosmetic issue
4. Level 3: Correction will be done opportunistically
Test cases
Plant Search
- Description: Show a selection of plants if the search input is empty.
- Given I am on a map page with the plant layer active
- When I have an empty search box
- Then I can see wanted plants as results
- Actual Result:
- Test Result: ✔️
- Notes:
Layer opacity
- Description: Check whether the opacity of a layer changes.
- Given I am on a map page with a base layer image configured
- When dragging the slider for the base layer in the layer section of the toolbar to 50%
- Then I can see the change in opacity of the base layer image
- When I change the size of the toolbar
- Then I can see the slider and the filling change in size proportionally. Therefore 50% of the slider should be filled.
- Actual Result:
- Test Result: ✔️
- Notes:
Base Layer
- Description: Check whether the maps background image is displayed correctly.
- Given I am on a map page with the base layer active
- When I select a base layer image
- Then I can see the base layer image on the canvas
- Actual Result:
- Test Result: ✔️
- Notes:
Grid
- Description: Display a point grid on the screen.
- Given I am on a map page
- When I Zoom in or out
- Then the grid spacing is changing
- Actual Result:
- Test Result: ✔️
- Notes:
Map Editor Guided Tour
- Description: Check whether the Guided Tour leaves the Map Editor in its original state.
- Given I am on a map page
- When I do the Guided Tour
- Then after I have done the Guided Tour the map is the same as before
- Actual Result: Description of plant relations says what a red line indicates, but no red line is shown on the map.
- Test Result: ✔️
- Notes: Check if all actions can be done as described.
Additional name on map: plant labels
- Description: Test additional names being displayed properly.
- Given I am on the map page with the plants layer active
- When I create a new plant from the inventory.
- Then I can see the additional name on the label when hovering over the plant.
- Actual Result:
- Test Result: ✔️
- Notes: The additional name must also be visible when a different account views the same map in parallel.
Additional name on map: left toolbar
- Description: Test additional names being displayed properly.
- Given I am on the map page with the plants layer active
- When I create a new plant from the inventory.
- When I click on the new plant icon.
- Then I can see the additional name in the left toolbars heading.
- Actual Result:
- Test Result: ✔️
- Notes: The additional name must also be visible when a different account views the same map in parallel.
Additional name on map: updates
- Description: Test additional names being displayed properly.
- Given I am on the map page with the plants layer active
- When I create a new plant from the inventory.
- When I go to the inventory page and change the seeds name.
- Then I can see the changes in the plant label and left toolbar.
- Actual Result:
- Test Result: ✔️
- Notes: The additional name must also be visible when a different account views the same map.
Layer Management: Initial Order of Layers
- Description: Test initial order of layers
- When I create a new map
- Then Base Layer is at bottom of layer list and Plant Layer is on top of layer list
- Actual Result:
- Test Result: ✔️
- Notes:
Layer Management: Correct konva rendering of layer order on new map
- Description: Test correct rendering order of konva layers.
- Given I am on a new map
- When I add a background image in Base Layer
- When I add an overlapping rectangle in Drawing Layer
- When I add an overlapping plant in plant layer
- Then Plant in is front of rectangle and rectangle is in front of background image
- Actual Result:
- Test Result: ✔️
- Notes:
Layer Management: Renaming of layer
- Description: Test if Drawing Layer can be renamed.
- Given I am on a new map
- When I rename the Drawing Layer
- Then The new name is visible in the layer list
- Actual Result:
- Test Result: ✔️
- Notes:
Layer Management: Creation of new layer
- Description: Test if new layer can be created.
- Given I am on a new map
- When I select a layer and create a new one
- Then The new layer is visible above currently selected layer
- Actual Result:
- Test Result: ✔️
- Notes:
Layer Management: Change order of layers
- Description: Test if the order of layers can be updated correctly.
- Given I am on a map with 2 drawing layers with overlapping rectangles
- When I select the upper Drawing Layer and move it below the other one
- Then The order in the layer list is updated and the rectangle of the new upper drawing layer is shown in front of the lower one on the map.
- Actual Result:
- Test Result: ✔️
- Notes:
Layer Management: Delete Drawing Layer
- Description: Test if Drawing Layer can be deleted
- Given I am on a map with some drawing on a Drawing Layer.
- When I delete the Drawing Layer
- Then The layer disappears from layer list and drawings are deleted from map
- Actual Result:
- Test Result: ✔️
- Notes:
Layer Management: Deletion of Plant Layer not possible
- Description: Test if deletion of Plant layer is disabled
- Given I am on a new map.
- When I select the Plant Layer
- Then Button to delete layer is disabled
- Actual Result:
- Test Result: ✔️
- Notes:
Layer Management: Deletion of Base Layer not possible
- Description: Test if Deletion of Base layer is disabled
- Given I am on a new map.
- When I select the Base Layer
- Then Button to delete layer is disabled
- Actual Result:
- Test Result: ✔️
- Notes:
Layer Management: Undo deletion
- Description: Test if deleted layer can be restored
- Given I am on a map with some drawing on a drawing layer.
- When I delete the drawing layer
- Then Layer disappears from layer list and drawings are deleted from map
- When I press undo
- Then Layer appears again at same position as it was before deletion and drawings are visible again.
- Actual Result:
- Test Result: ✔️
- Notes:
Layer Management: Top layer cannot be moved up
- Description: Test if the top layer cannot be moved up
- Given I am on a new map.
- When I select the top layer.
- Then Button to to move layer up is disabled
- Actual Result:
- Test Result: ✔️
- Notes:
Layer Management: Bottom layer cannot be moved down
- Description: Test if the bottom layer cannot be moved down
- Given I am on a new map.
- When I select the bottom layer.
- Then Button to to move layer down is disabled
- Actual Result:
- Test Result: ✔️
- Notes:
Layer Management: Renaming of Plant Layer not possible
- Description: Test if Renaming of Plant layer is not possible
- Given I am on a new map.
- When I select the Plant Layer
- Then Button to rename layer is disabled
- Actual Result:
- Test Result: ✔️
- Notes:
Layer Management: Renaming of Base Layer not possible
- Description: Test if Renaming of Base layer is not possible
- Given I am on a new map.
- When I select the Base Layer
- Then Button to rename layer is disabled
- Actual Result:
- Test Result: ✔️
- Notes:
Heatmap (only in dev branch)
- Description: Test whether the heatmap endpoints generates the image correctly.
- Given I am on a map page with the plant layer active
- When I start planting a plant
- Then I see suitable places for that plant
- Actual Result:
- Test Result:
- Notes:
Map Overview: More than 30 Maps should be visible
- Description: Test that pagination works on the map overview screen
- Given I am on the map overview screen
- When I create more than 30 maps
- Then I can see all maps after scrolling to the bottom of the page.
- Actual Result:
- Test Result: ✔️
- Notes:
Measurement: Measure a distance
- Description: Test whether distance can be measured successfully
- Given I am on a map page
- When I click on the measurement button
- When I measure a distance
- Then I see a measurement line
- Then I see the measured distance
- Actual Result:
- Test Result: ✔️
- Notes:
Measurement: Cancel measurement without deleting measurements
- Description: Verify that measured distances don't disappear when the measurement mode is canceled using the button in the status panel.
- Given I am on a map page
- When I click on the measurement button
- When I measure a distance
- When I cancel the measurement mode using the status panel
- Then the measurement layer is no longer active
- Then I can still see the measured distance
- Actual Result:
- Test Result: ✔️
- Notes:
Measurement: Cancel measurement and delete all measurement lines
- Description: Verify that measured distances disappear when the measurement mode is canceled using the measurement button.
- Given I am on a map page
- When I click on the measurement button
- When I measure a distance
- When I cancel the measurement mode using the measurement button in the toolbar
- Then I can no longer see the measured distance
- Actual Result:
- Test Result: ✔️
- Notes:
Measurement: Delete measurements after measurement mode is deactivated
- Description: Verify that measured distances don't disappear when the measurement mode is canceled using the button in the status panel.
- Given I am on a map page
- When I click on the measurement button
- When I measure a distance
- When I cancel the measurement mode using the status panel
- When I click on the measurement button
- Then I can no longer see the measured distance
- Actual Result:
- Test Result: ✔️
- Notes:
General
- Tester: Stefanie, Christoph
- Date/Time: 01.08.2024 19:26
- Duration: 1h
- Commit/Tag: a5658b7abfda3d4b990cb27d8119fd0ce7623d79
- Setup: local dev
- Planned tests: -52
- Executed tests: -38 (skipped duplicates and no longer relevant tests)
- ✔️Passed tests: -38
- ⚠️Problematic tests: -0
- ❌Failed tests: -0
Error Analysis
- Class 1: Faulty specification
- Class 2: System crash
- Class 3: Essential functionality is faulty
- Class 4: Functional deviation or limitation
- Class 5: Minor deviation
- Class 6: Cosmetic issue
Priority
- Level 1: Immediate resolution
- Level 2: Fix in next version
- Level 3: Correction will be done opportunistically
- Level 4: Correction planning is still open
Closing remarks
- How is the current state of the software? Overall in a good state, improvements can be made on some features
- Have the quality objectives been achieved? Mostly yes, for improvements see notes
- What are the consequences drawn from the current state, including: how can future errors be avoided, how can the development process be improved? Same as on master test report: Usability tests, Mockups
Manual Test Protocol
Notes (not errors)
Currently there are no plants in the database on dev.permaplant.net, so the test were done locally.
The scaling steps when zooming on the map are a bit harsh and could be improved by reducing the step size.
Loading indicator barely visible in dark mode
Scrollbar while changing shading type
Distance measurement:
- Improve help message
- Click on X in status panel or pressing escape adds another line
Improve manual tests:
- Extend test by shades "Layer Management: Correct konva rendering of layer order on new map"
- Move test "Map Editor Guided Tour" to top of list
- Specify what are "Problematic tests"
- 11 tests are duplicates (marked DUPLICATE)
- Three tests are no longer relevant (marked NO LONGER RELEVANT)
Plant Search
- Description: Show a selection of plants if the search input is empty.
- Given I am on a map page with the plant layer active
- When I have an empty search box
- Then I can see various plants as results
- Actual Result:
- Test Result: ✔️
- Notes:
Heatmap
- Description: Test whether the heatmap endpoints generates the image correctly.
- Given I am on a map page with the plant layer active
- When I start planting a plant
- Then I see suitable places for that plant
- Actual Result:
- Test Result: ✔️
- Notes:
Layer opacity
- Description: Check whether the opacity of a layer changes.
- Given I am on a map page with a base layer image configured
- When dragging the slider for the base layer in the layer section of the toolbar to 50%
- Then I can see the change in opacity of the base layer image
- When I change the size of the toolbar
- Then I can see the slider and the filling change in size proportionally. Therefore 50% of the slider should be filled.
- Actual Result:
- Test Result: ✔️
- Notes:
Base Layer
- Description: Check whether the maps background image is displayed correctly.
- Given I am on a map page with the base layer active
- When I select a base layer image
- Then I can see the base layer image on the canvas
- Actual Result:
- Test Result: ✔️
- Notes:
Base Layer: move image
- Description: Check whether the maps background image is displayed correctly.
- Given I am on a map page with the base layer active
- When I select a base layer image
- When I increase the base layers x position
- Then I can see the base layer image is moved to the right
- Actual Result:
- Test Result: ✔️
- Notes:
Grid
- Description: Display a point grid on the screen.
- Given I am on a map page
- When I Zoom in or out
- Then the grid spacing is changing
- Actual Result:
- Test Result: ✔️
- Notes:
Map Editor Guided Tour
- Description: Check whether the Guided Tour leaves the Map Editor in its original state.
- Given I am on a map page
- When I do the Guided Tour
- Then after I have done the Guided Tour the map is the same as before
- Actual Result:
- Test Result: ✔️
- Notes: Check if all actions can be done as described.
Additional name on map: plant labels
- Description: Test additional names being displayed properly.
- Given I am on the map page with the plants layer active
- When I create a new plant from the inventory.
- Then I can see the additional name on the label when hovering over the plant.
- Actual Result: ✔️
- Test Result:
- Notes: The additional name must also be visible when a different account views the same map in parallel.
Additional name on map: left toolbar
- Description: Test additional names being displayed properly.
- Given I am on the map page with the plants layer active
- When I create a new plant from the inventory.
- When I click on the new plant icon.
- Then I can see the additional name in the left toolbars heading.
- Actual Result:
- Test Result: ✔️
- Notes: The additional name must also be visible when a different account views the same map in parallel.
Additional name on map: updates
- Description: Test additional names being displayed properly.
- Given I am on the map page with the plants layer active
- When I create a new plant from the inventory.
- When I go to the inventory page and change the seeds name.
- Then I can see the changes in the plant label and left toolbar.
- Actual Result:
- Test Result: ✔️
- Notes: The additional name must also be visible when a different account views the same map.
Layer Management: Initial Order of Layers
- Description: Test initial order of layers
- When I create a new map
- Then Base Layer is at bottom of layer list and Plant Layer is on top of layer list
- Actual Result:
- Test Result: ✔️
- Notes:
Layer Management: Correct konva rendering of layer order on new map
- Description: Test correct rendering order of konva layers.
- Given I am on a new map
- When I add a background image in Base Layer
- When I add an overlapping rectangle in Drawing Layer
- When I add an overlapping plant in plant layer
- Then Plant in is front of rectangle and rectangle is in front of background image
- Actual Result:
- Test Result: ✔️
- Notes:
Layer Management: Renaming of layer
- Description: Test if Drawing Layer can be renamed.
- Given I am on a new map
- When I rename the Drawing Layer
- Then The new name is visible in the layer list
- Actual Result:
- Test Result: ✔️
- Notes:
Layer Management: Creation of new layer
- Description: Test if new layer can be created.
- Given I am on a new map
- When I select a layer and create a new one
- Then The new layer is visible above currently selected layer
- Actual Result:
- Test Result: ✔️
- Notes:
Layer Management: Change order of layers
- Description: Test if the order of layers can be updated correctly.
- Given I am on a map with 2 drawing layers with overlapping rectangles
- When I select the upper Drawing Layer and move it below the other one
- Then The order in the layer list is updated and the rectangle of the new upper drawing layer is shown in front of the lower one on the map.
- Actual Result:
- Test Result: ✔️
- Notes:
Layer Management: Delete Drawing Layer
- Description: Test if Drawing Layer can be deleted
- Given I am on a map with some drawing on a Drawing Layer.
- When I delete the Drawing Layer
- Then The layer disappears from layer list and drawings are deleted from map
- Actual Result:
- Test Result: ✔️
- Notes:
Layer Management: Deletion of Plant Layer not possible
- Description: Test if deletion of Plant layer is disabled
- Given I am on a new map.
- When I select the Plant Layer
- Then Button to delete layer is disabled
- Actual Result:
- Test Result: ✔️
- Notes:
Layer Management: Deletion of Base Layer not possible
- Description: Test if Deletion of Base layer is disabled
- Given I am on a new map.
- When I select the Base Layer
- Then Button to delete layer is disabled
- Actual Result:
- Test Result: ✔️
- Notes: The additional name must also be visible when a different account views the same map.
Layer Management: Initial Order of Layers
- Description: Test initial order of layers
- When I create a new map
- Then Base Layer is at bottom of layer list and Plant Layer is on top of layer list
- Actual Result:
- Test Result:
- Notes: DUPLICATE
Layer Management: Correct konva rendering of layer order on new map
- Description: Test correct rendering order of konva layers.
- Given I am on a new map
- When I add a background image in Base Layer
- When I add a rectangle in Drawing Layer
- When I add a plant in plant layer
- Then Plant in is front of rectangle and rectangle is in front of background image
- Actual Result:
- Test Result:
- Notes: DUPLICATE
Layer Management: Renaming of layer
- Description: Test if Drawing Layer can be renamed.
- Given I am on a new map
- When I rename the Drawing Layer
- Then The new name is visible in the layer list
- Actual Result:
- Test Result:
- Notes: DUPLICATE
Layer Management: Creation of new layer
- Description: Test if new layer can be created.
- Given I am on a new map
- When I select a layer and create a new one
- Then The new layer is visible above currently selected layer
- Actual Result:
- Test Result:
- Notes: DUPLICATE
Layer Management: Change order of layers
- Description: Test if the order of layers can be updated correctly.
- Given I am on a map with 2 drawing layers with overlapping rectangles
- When I select the upper Drawing Layer and move it below the other one
- Then The order in the layer list is updated and the rectangle of the new upper drawing layer is shown in front of the lower one on the map.
- Actual Result:
- Test Result:
- Notes: DUPLICATE
Layer Management: Delete Drawing Layer
- Description: Test if Drawing Layer can be deleted
- Given I am on a map with some drawing on a Drawing Layer.
- When I delete the Drawing Layer
- Then The layer disappears from layer list and drawings are deleted from map
- Actual Result:
- Test Result:
- Notes: DUPLICATE
Layer Management: Deletion of Plant Layer not possible
- Description: Test if deletion of Plant layer is disabled
- Given I am on a new map.
- When I select the Plant Layer
- Then Button to delete layer is disabled
- Actual Result:
- Test Result:
- Notes: DUPLICATE
Layer Management: Deletion of Base Layer not possible
- Description: Test if Deletion of Base layer is disabled
- Given I am on a new map.
- When I select the Base Layer
- Then Button to delete layer is disabled
- Actual Result:
- Test Result:
- Notes: DUPLICATE
Layer Management: Undo deletion
- Description: Test if deleted layer can be restored
- Given I am on a map with some drawing on a drawing layer.
- When I delete the drawing layer
- Then Layer disappears from layer list and drawings are deleted from map
- When I press undo
- Then Layer appears again at same position as it was before deletion and drawings are visible again.
- Actual Result:
- Test Result: ✔️
- Notes:
Layer Management: Top layer cannot be moved up
- Description: Test if the top layer cannot be moved up
- Given I am on a new map.
- When I select the top layer.
- Then Button to to move layer up is disabled
- Actual Result:
- Test Result: ✔️
- Notes:
Layer Management: Bottom layer cannot be moved down
- Description: Test if the bottom layer cannot be moved down
- Given I am on a new map.
- When I select the bottom layer.
- Then Button to to move layer down is disabled
- Actual Result:
- Test Result: ✔️
- Notes:
Layer Management: Renaming of Plant Layer not possible
- Description: Test if Renaming of Plant layer is not possible
- Given I am on a new map.
- When I select the Plant Layer
- Then Button to rename layer is disabled
- Actual Result:
- Test Result: ✔️
- Notes:
Layer Management: Renaming of Base Layer not possible
- Description: Test if Renaming of Base layer is not possible
- Given I am on a new map.
- When I select the Base Layer
- Then Button to rename layer is disabled
- Actual Result:
- Test Result: ✔️
- Notes:
Shade layer: add shading
- Description: Add a new Shading to the map.
- Given I am on the map page with the shade layer active
- When I click on the 'Light' button
- When I click on the map
- Then I can see that a new shading was added
- Actual Result:
- Test Result: ✔️
- Notes: Repeat this test for all Shading types
Shade layer: remove shading
- Description: Remove a Shading from the map.
- Given I am on the map page with the shade layer active and a Shading is selected
- When I click on 'Delte' in the left toolbar
- Then I can see that a new shading was deleted
- Actual Result:
- Test Result: ✔️
Shade layer: edit shade type
- Description: Change the shade of a shading.
- Given I am on the map page with the shade layer active and a Shading is selected
- When I select different shade from the drop-down menu in the left toolbar
- Then I can see that the shade is changed successfully
- Actual Result:
- Test Result: ✔️
- Notes: select each shading type at least once
Shade layer: set creation date in the future
- Description: Update the date from which the shading should be active
- Given I am on the map page with the shade layer active and a Shading is selected
- When I select the current date in the timeline
- When I select a creation date in the future
- Then I can see that the shading is no longer shown on the map
- Actual Result:
- Test Result: ✔️
Measurement: Measure a distance
- Description: Test whether distance can be measured successfully
- Given I am on a map page
- When I click on the measurement button
- When I measure a distance
- Then I see a measurement line
- Then I see the measured distance
- Actual Result:
- Test Result: ✔️
- Notes:
Measurement: Cancel measurement without deleting measurements
- Description: Verify that measured distances don't disappear when the measurement mode is canceled using the button in the status panel.
- Given I am on a map page
- When I click on the measurement button
- When I measure a distance
- When I cancel the measurement mode using the status panel
- Then the measurement layer is no longer active
- Then I can still see the measured distance
- Actual Result:
- Test Result: ✔️
- Notes:
Measurement: Cancel measurement and delete all measurement lines
- Description: Verify that measured distances disappear when the measurement mode is canceled using the measurement button.
- Given I am on a map page
- When I click on the measurement button
- When I measure a distance
- When I cancel the measurement mode using the measurement button in the toolbar
- Then I can no longer see the measured distance
- Actual Result:
- Test Result: ✔️
- Notes:
Measurement: Delete measurements after measurement mode is deactivated
- Description: Verify that measured distances don't disappear when the measurement mode is canceled using the button in the status panel.
- Given I am on a map page
- When I click on the measurement button
- When I measure a distance
- When I cancel the measurement mode using the status panel
- When I click on the measurement button
- Then I can no longer see the measured distance
- Actual Result:
- Test Result: ✔️
- Notes:
Measurement: Measure a distance
- Description: Test whether distance can be measured successfully
- Given I am on a map page
- When I click on the measurement button
- When I measure a distance
- Then I see a measurement line
- Then I see the measured distance
- Actual Result:
- Test Result:
- Notes: DUPLICATE
Measurement: Cancel measurement without deleting measurements
- Description: Verify that measured distances don't disappear when the measurement mode is canceled using the button in the status panel.
- Given I am on a map page
- When I click on the measurement button
- When I measure a distance
- When I cancel the measurement mode using the status panel
- Then the measurement layer is no longer active
- Then I can still see the measured distance
- Actual Result:
- Test Result: ✔️
- Notes:
Measurement: Cancel measurement and delete all measurement lines
- Description: Verify that measured distances disappear when the measurement mode is canceled using the measurement button.
- Given I am on a map page
- When I click on the measurement button
- When I measure a distance
- When I cancel the measurement mode using the measurement button in the toolbar
- Then I can no longer see the measured distance
- Actual Result:
- Test Result:
- Notes: DUPLICATE
Measurement: Delete measurements after measurement mode is deactivated
- Description: Verify that measured distances don't disappear when the measurement mode is canceled using the button in the status panel.
- Given I am on a map page
- When I click on the measurement button
- When I measure a distance
- When I cancel the measurement mode using the status panel
- When I click on the measurement button
- Then I can no longer see the measured distance
- Actual Result:
- Test Result:
- Notes: DUPLICATE
Shade layer: set removal date in the future
- Description: Update the date from which the shading should be active
- Given I am on the map page with the shade layer active and a Shading is selected
- When I select the current date in the timeline
- When I select a creation date in the past
- When I select a removal date in the future
- Then I can see that the shading is shown on the map
- Actual Result: ✔️
- Test Result:
Shade layer: set removal date in the past
- Description: Update the date until which the shading should be active
- Given I am on the map page with the shade layer active and a Shading is selected
- When I select the current date in the timeline
- When I select a creation date in the past
- When I select a removal date in the past after the creation date
- Then I can see that the shading is no longer shown on the map
- Actual Result: ✔️
- Test Result:
Shade layer: add polygon point
- Description: Edit the polygon of a shading
- Given I am on the map page with the shade layer active and a Shading is selected
- When I press the pencil button in the left toolbar
- Then I can see that a message describing the selected action is shown in the status bar
- Then I can see that a highlighted border is drawn around the polygon
- When I click anywhere on the map
- Then I can see that a point has been added to the nearest polygon edge
- Actual Result:
- Test Result:
- Notes: NO LONGER RELEVANT
Shade layer: remove polygon point
- Description: Edit the polygon of a shading
- Given I am on the map page with the shade layer active and a Shading is selected
- When I press the eraser button in the left toolbar
- Then I can see that a message describing the selected action is shown in the status bar
- Then I can see that a highlighted border is drawn around the polygon
- When I click on a polygon point
- Then I can see that the point has been removed from the polygon
- Actual Result:
- Test Result:
- Notes: NO LONGER RELEVANT
Shade layer: move polygon point
- Description: Edit the polygon of a shading
- Given I am on the map page with the shade layer active and a Shading is selected
- When I press the cursor button in the left toolbar
- Then I can see that a message describing the selected action is shown in the status bar
- Then I can see that a highlighted border is drawn around the polygon
- When I drag and release a polygon point
- Then I can see that the point is now at a new position
- Actual Result:
- Test Result:
- Notes:
- Notes: NO LONGER RELEVANT
Map Search
- Description: Appropriate maps should be displayed for each search term
- Given I am on a map overview page
- When I search for as map using the search field
- Then the maps are filtered appropriately
- Actual Result:
- Test Result: ✔️
- Notes:
Map Deletion
- Description: A map should no longer be available after it has been deleted.
- Given I am on a map overview page
- When I delete a map
- Then the map is no longer available in the overview
- Actual Result:
- Test Result: ✔️
- Notes:
Heatmap: Plant layer should be above heatmap
- Description: Verify that the PLant Layer is above the Heatmap Layer
- Given I am on a map page
- When I place some tomatoes on the map
- When I select a potato and try to place it near the tomatoes so that heatmap is shown
- Then I can see that the heatmap is below the plants
- Actual Result:
- Test Result: ✔️
- Notes:
Heatmap: Change position of plant layer
- Description: Verify that the heatmap changes its position when the plant layer is moved in priority
- Given I am on a map page where plant layer is above an drawing layer
- When I place some tomatoes on the plant layer
- When I draw a filled rectangle on the drawing layer so that it overlaps with the tomatoes
- When I select a potato and try to place it near the tomatoes so that heatmap is shown
- Then I can see that the heatmap is below the plants and above the rectangle
- When I move the plant layer below the drawing layer
- Then I can see that the heatmap is below the rectangle and below the plants
- Actual Result:
- Test Result: ✔️
- Notes:
Seeds with more than 30 objects
General
- Tester: Stefanie Feldmann
- Date/Time: 02.08.2024 15:00
- Duration: 1h
- Commit/Tag: a5658b7abfda3d4b990cb27d8119fd0ce7623d79
- Setup: local build
- Planned tests: 5
- Executed tests: 4
- ✔️Passed tests: 3
- ⚠️Problematic tests: 1
- ❌Failed tests: 0
Notes
Last test case could not be tested due to the failure of the test case before (archiving a seed).
Some minor improvement ideas regarding seed management:
- Overview page: Search input and action button should switch width or places (and this change should also be consistent with the map overview).
- Overview page: On dark mode the hover effect on a row is very bright and makes the text hard to read and the icons almost invisible.
- Overview page: Generally speaking you want to avoid two scrollbars on one page (Only the case, when there are a lot of seed entries), so the table should not have its on scrollbar.
- Overview page: When clicking on the archiving icon, a confirmation dialog could be appropriate, because this could be clicked accidentally and the toast with the possibility to restore it is also limited.
- Creation page: On dark mode the search text for the plant name input is dark and barely visible.
Error analysis
1. Archiving a seed does not instantly change the seed overview or the particular seed in any way.
2. Not yet identified.
3. Class 5: Minor deviation
4. Level 3: Correction will be done opportunistically
Test cases
Seed creation
- Description: Adds a new seed to the overview after creating one.
- Given I am logged in and add a valid seed.
- When I submit the form for seed creation
- Then I see my newly added seed in the overview.
- Actual Result:
- Test Result: ✔️
- Notes:
Seed creation with more than 30 objects
- Description: After creating 30 seeds, everything should be shown correctly on the overview page.
- Given I am logged in and add 30 valid seeds.
- When I go to my inventory
- Then I see all my newly added seeds in the overview.
- Actual Result:
- Test Result: ✔️
- Notes:
Edit seed name
- Description: After renaming a seed, the new name should be visible in the seed overview.
- Given I am logged in and edit a seed name.
- When I go to my inventory
- Then I see the new name of the edited seed.
- Actual Result:
- Test Result: ✔️
- Notes:
Archive seed
- Description: After archiving a seed, it should be removed from the overview or marked as archived in some way.
- Given I am logged in and archive a seed.
- When I go to my inventory
- Then I don't see the archived seed anymore, or it is marked as archived.
- Actual Result: The archived seed is still visible in the overview and not marked as archived in any way. After a reload the seed is not visible anymore.
- Test Result: ⚠️
- Notes:
Restore an archived seed
- Description: After restoring an archived seed, it should be added to the overview again or not marked as archived anymore.
- Given I am logged in and archive a seed and then restore it.
- When I go to my inventory
- Then I see the restored seed again.
- Actual Result:
- Test Result:
- Notes:
General
- Tester: Filip Markovic
- Date/Time: 23.10.2024
- Duration: 10 Minutes
- Commit/Tag: a7b162a0c1e802e9269cbeead57feba6bb28e38a
- Setup: master.permaplant.net
- Planned tests: -26
- Executed tests: -26
- ✔️Passed tests: -26
- ⚠️Problematic tests: -0
- ❌Failed tests: -0
Error Analysis
- Identifying the error: Is it indeed a genuine software defect, or is it a faulty test case, incorrect test execution, etc.?
- Has the error already been identified in previous tests?
- Error specifictation
- Class 1: Faulty specification
- Class 2: System crash
- Class 3: Essential functionality is faulty
- Class 4: Functional deviation or limitation
- Class 5: Minor deviation
- Class 6: Cosmetic issue
- Priority
- Level 1: Immediate resolution
- Level 2: Fix in next version
- Level 3: Correction will be done opportunistically
- Level 4: Correction planning is still open
Closing remarks
- How is the current state of the software?
All looks good, and the new landing page looks very nice.
- Have the quality objectives been achieved?
Yes, the new landing page looks more inviting and all functionality is working
- What are the consequences drawn from the current state, including: how can future errors be avoided, how can the development process be improved?
No conclusions drawn
Manual Test Protocol
Plant Search
- Description: Show a selection of plants if the search input is empty.
- Given I am on a map page with the plant layer active
- When I have an empty search box
- Then I can see wanted plants as results
- Actual Result:
- Test Result: ✔️
- Notes:
Layer opacity
- Description: Check whether the opacity of a layer changes.
- Given I am on a map page with a base layer image configured
- When dragging the slider for the base layer in the layer section of the toolbar to 50%
- Then I can see the change in opacity of the base layer image
- When I change the size of the toolbar
- Then I can see the slider and the filling change in size proportionally. Therefore 50% of the slider should be filled.
- Actual Result:
- Test Result: ✔️
- Notes:
Base Layer
- Description: Check whether the maps background image is displayed correctly.
- Given I am on a map page with the base layer active
- When I select a base layer image
- Then I can see the base layer image on the canvas
- Actual Result:
- Test Result: ✔️
- Notes:
Grid
- Description: Display a point grid on the screen.
- Given I am on a map page
- When I Zoom in or out
- Then the grid spacing is changing
- Actual Result:
- Test Result: ✔️
- Notes:
Map Editor Guided Tour
- Description: Check whether the Guided Tour leaves the Map Editor in its original state.
- Given I am on a map page
- When I do the Guided Tour
- Then after I have done the Guided Tour the map is the same as before
- Actual Result:
- Test Result: ✔️
- Notes: Check if all actions can be done as described.
Additional name on map: plant labels
- Description: Test additional names being displayed properly.
- Given I am on the map page with the plants layer active
- When I create a new plant from the inventory.
- Then I can see the additional name on the label when hovering over the plant.
- Actual Result:
- Test Result: ✔️
- Notes: The additional name must also be visible when a different account views the same map in parallel.
Additional name on map: left toolbar
- Description: Test additional names being displayed properly.
- Given I am on the map page with the plants layer active
- When I create a new plant from the inventory.
- When I click on the new plant icon.
- Then I can see the additional name in the left toolbars heading.
- Actual Result:
- Test Result: ✔️
- Notes: The additional name must also be visible when a different account views the same map in parallel.
Additional name on map: updates
- Description: Test additional names being displayed properly.
- Given I am on the map page with the plants layer active
- When I create a new plant from the inventory.
- When I go to the inventory page and change the seeds name.
- Then I can see the changes in the plant label and left toolbar.
- Actual Result:
- Test Result: ✔️
- Notes: The additional name must also be visible when a different account views the same map.
Layer Management: Initial Order of Layers
- Description: Test initial order of layers
- When I create a new map
- Then Base Layer is at bottom of layer list and Plant Layer is on top of layer list
- Actual Result:
- Test Result: ✔️
- Notes:
Layer Management: Correct konva rendering of layer order on new map
- Description: Test correct rendering order of konva layers.
- Given I am on a new map
- When I add a background image in Base Layer
- When I add an overlapping rectangle in Drawing Layer
- When I add an overlapping plant in plant layer
- Then Plant in is front of rectangle and rectangle is in front of background image
- Actual Result:
- Test Result: ✔️
- Notes:
Layer Management: Renaming of layer
- Description: Test if Drawing Layer can be renamed.
- Given I am on a new map
- When I rename the Drawing Layer
- Then The new name is visible in the layer list
- Actual Result:
- Test Result: ✔️
- Notes:
Layer Management: Creation of new layer
- Description: Test if new layer can be created.
- Given I am on a new map
- When I select a layer and create a new one
- Then The new layer is visible above currently selected layer
- Actual Result:
- Test Result: ✔️
- Notes:
Layer Management: Change order of layers
- Description: Test if the order of layers can be updated correctly.
- Given I am on a map with 2 drawing layers with overlapping rectangles
- When I select the upper Drawing Layer and move it below the other one
- Then The order in the layer list is updated and the rectangle of the new upper drawing layer is shown in front of the lower one on the map.
- Actual Result:
- Test Result: ✔️
- Notes:
Layer Management: Delete Drawing Layer
- Description: Test if Drawing Layer can be deleted
- Given I am on a map with some drawing on a Drawing Layer.
- When I delete the Drawing Layer
- Then The layer disappears from layer list and drawings are deleted from map
- Actual Result:
- Test Result: ✔️
- Notes:
Layer Management: Deletion of Plant Layer not possible
- Description: Test if deletion of Plant layer is disabled
- Given I am on a new map.
- When I select the Plant Layer
- Then Button to delete layer is disabled
- Actual Result:
- Test Result: ✔️
- Notes:
Layer Management: Deletion of Base Layer not possible
- Description: Test if Deletion of Base layer is disabled
- Given I am on a new map.
- When I select the Base Layer
- Then Button to delete layer is disabled
- Actual Result:
- Test Result: ✔️
- Notes:
Layer Management: Undo deletion
- Description: Test if deleted layer can be restored
- Given I am on a map with some drawing on a drawing layer.
- When I delete the drawing layer
- Then Layer disappears from layer list and drawings are deleted from map
- When I press undo
- Then Layer appears again at same position as it was before deletion and drawings are visible again.
- Actual Result:
- Test Result: ✔️
- Notes:
Layer Management: Top layer cannot be moved up
- Description: Test if the top layer cannot be moved up
- Given I am on a new map.
- When I select the top layer.
- Then Button to to move layer up is disabled
- Actual Result:
- Test Result: ✔️
- Notes:
Layer Management: Bottom layer cannot be moved down
- Description: Test if the bottom layer cannot be moved down
- Given I am on a new map.
- When I select the bottom layer.
- Then Button to to move layer down is disabled
- Actual Result:
- Test Result: ✔️
- Notes:
Layer Management: Renaming of Plant Layer not possible
- Description: Test if Renaming of Plant layer is not possible
- Given I am on a new map.
- When I select the Plant Layer
- Then Button to rename layer is disabled
- Actual Result:
- Test Result: ✔️
- Notes:
Layer Management: Renaming of Base Layer not possible
- Description: Test if Renaming of Base layer is not possible
- Given I am on a new map.
- When I select the Base Layer
- Then Button to rename layer is disabled
- Actual Result:
- Test Result: ✔️
- Notes:
Map Overview: More than 30 Layers should be visible
- Description: Test that pagination works on the map overview screen
- Given I am on the map overview screen
- When I create more than 30 maps
- Then I can see all maps after scrolling to the bottom of the page.
- Actual Result:
- Test Result: ✔️
- Notes:
Measurement: Measure a distance
- Description: Test whether distance can be measured successfully
- Given I am on a map page
- When I click on the measurement button
- When I measure a distance
- Then I see a measurement line
- Then I see the measured distance
- Actual Result:
- Test Result: ✔️
- Notes:
Measurement: Cancel measurement without deleting measurements
- Description: Verify that measured distances don't disappear when the measurement mode is canceled using the button in the status panel.
- Given I am on a map page
- When I click on the measurement button
- When I measure a distance
- When I cancel the measurement mode using the status panel
- Then the measurement layer is no longer active
- Then I can still see the measured distance
- Actual Result:
- Test Result: ✔️
- Notes:
Measurement: Cancel measurement and delete all measurement lines
- Description: Verify that measured distances disappear when the measurement mode is canceled using the measurement button.
- Given I am on a map page
- When I click on the measurement button
- When I measure a distance
- When I cancel the measurement mode using the measurement button in the toolbar
- Then I can no longer see the measured distance
- Actual Result:
- Test Result: ✔️
- Notes:
Measurement: Delete measurements after measurement mode is deactivated
- Description: Verify that measured distances don't disappear when the measurement mode is canceled using the button in the status panel.
- Given I am on a map page
- When I click on the measurement button
- When I measure a distance
- When I cancel the measurement mode using the status panel
- When I click on the measurement button
- Then I can no longer see the measured distance
- Actual Result:
- Test Result: ✔️
- Notes:
General
- Tester: Johannes Ziehengraser
- Date/Time: 04.11.2024 14:00
- Duration: 1h
- Commit/Tag: 0633057e3b0d427fa9a30e1fb343f34db99d3f49
- Setup: local build
- Planned tests: -27
- Executed tests: -26
- ✔️Passed tests: -24
- ⚠️Problematic tests: -2
- ❌Failed tests: -0
Manual Test Protocol
Plant Search
- Description: Show a selection of plants if the search input is empty.
- Given I am on a map page with the plant layer active
- When I have an empty search box
- Then I can see wanted plants as results
- Actual Result:
- Test Result: ✔️
- Notes:
Layer opacity
- Description: Check whether the opacity of a layer changes.
- Given I am on a map page with a base layer image configured
- When dragging the slider for the base layer in the layer section of the toolbar to 50%
- Then I can see the change in opacity of the base layer image
- When I change the size of the toolbar
- Then I can see the slider and the filling change in size proportionally. Therefore 50% of the slider should be filled.
- Actual Result:
- Test Result: ✔️
- Notes:
Base Layer
- Description: Check whether the maps background image is displayed correctly.
- Given I am on a map page with the base layer active
- When I select a base layer image
- Then I can see the base layer image on the canvas
- Actual Result:
- Test Result: ✔️
- Notes:
Grid
- Description: Display a point grid on the screen.
- Given I am on a map page
- When I Zoom in or out
- Then the grid spacing is changing
- Actual Result:
- Test Result: ✔️
- Notes:
Map Editor Guided Tour
- Description: Check whether the Guided Tour leaves the Map Editor in its original state.
- Given I am on a map page
- When I do the Guided Tour
- Then after I have done the Guided Tour the map is the same as before
- Actual Result:
- Test Result: ⚠️
- Notes: Check if all actions can be done as described.
- Could not be tested. The guided tour would not open for me, because I already finished it. I was not able to trigger it again. Created an Issue.
- Has not yet been noticed.
- Class 3: Essential functionality is faulty
- Level 4: Correction planning is still open
Additional name on map: plant labels
- Description: Test additional names being displayed properly.
- Given I am on the map page with the plants layer active
- When I create a new plant from the inventory.
- Then I can see the additional name on the label when hovering over the plant.
- Actual Result:
- Test Result: ✔️
- Notes: The additional name must also be visible when a different account views the same map in parallel.
Additional name on map: left toolbar
- Description: Test additional names being displayed properly.
- Given I am on the map page with the plants layer active
- When I create a new plant from the inventory.
- When I click on the new plant icon.
- Then I can see the additional name in the left toolbars heading.
- Actual Result:
- Test Result: ✔️
- Notes: The additional name must also be visible when a different account views the same map in parallel.
Additional name on map: updates
- Description: Test additional names being displayed properly.
- Given I am on the map page with the plants layer active
- When I create a new plant from the inventory.
- When I go to the inventory page and change the seeds name.
- Then I can see the changes in the plant label and left toolbar.
- Actual Result:
- Test Result: ✔️
- Notes: The additional name must also be visible when a different account views the same map.
Layer Management: Initial Order of Layers
- Description: Test initial order of layers
- When I create a new map
- Then Base Layer is at bottom of layer list and Plant Layer is on top of layer list
- Actual Result:
- Test Result: ✔️
- Notes:
Layer Management: Correct konva rendering of layer order on new map
- Description: Test correct rendering order of konva layers.
- Given I am on a new map
- When I add a background image in Base Layer
- When I add an overlapping rectangle in Drawing Layer
- When I add an overlapping plant in plant layer
- Then Plant in is front of rectangle and rectangle is in front of background image
- Actual Result:
- Test Result: ✔️
- Notes:
Layer Management: Renaming of layer
- Description: Test if Drawing Layer can be renamed.
- Given I am on a new map
- When I rename the Drawing Layer
- Then The new name is visible in the layer list
- Actual Result:
- Test Result: ✔️
- Notes:
Layer Management: Creation of new layer
- Description: Test if new layer can be created.
- Given I am on a new map
- When I select a layer and create a new one
- Then The new layer is visible above currently selected layer
- Actual Result:
- Test Result: ✔️
- Notes:
Layer Management: Change order of layers
- Description: Test if the order of layers can be updated correctly.
- Given I am on a map with 2 drawing layers with overlapping rectangles
- When I select the upper Drawing Layer and move it below the other one
- Then The order in the layer list is updated and the rectangle of the new upper drawing layer is shown in front of the lower one on the map.
- Actual Result:
- Test Result: ✔️
- Notes:
Layer Management: Delete Drawing Layer
- Description: Test if Drawing Layer can be deleted
- Given I am on a map with some drawing on a Drawing Layer.
- When I delete the Drawing Layer
- Then The layer disappears from layer list and drawings are deleted from map
- Actual Result:
- Test Result: ✔️
- Notes:
Layer Management: Deletion of Plant Layer not possible
- Description: Test if deletion of Plant layer is disabled
- Given I am on a new map.
- When I select the Plant Layer
- Then Button to delete layer is disabled
- Actual Result:
- Test Result: ✔️
- Notes:
Layer Management: Deletion of Base Layer not possible
- Description: Test if Deletion of Base layer is disabled
- Given I am on a new map.
- When I select the Base Layer
- Then Button to delete layer is disabled
- Actual Result:
- Test Result: ✔️
- Notes:
Layer Management: Undo deletion
- Description: Test if deleted layer can be restored
- Given I am on a map with some drawing on a drawing layer.
- When I delete the drawing layer
- Then Layer disappears from layer list and drawings are deleted from map
- When I press undo
- Then Layer appears again at same position as it was before deletion and drawings are visible again.
- Actual Result:
- Test Result: ✔️
- Notes:
Layer Management: Top layer cannot be moved up
- Description: Test if the top layer cannot be moved up
- Given I am on a new map.
- When I select the top layer.
- Then Button to to move layer up is disabled
- Actual Result:
- Test Result: ✔️
- Notes:
Layer Management: Bottom layer cannot be moved down
- Description: Test if the bottom layer cannot be moved down
- Given I am on a new map.
- When I select the bottom layer.
- Then Button to to move layer down is disabled
- Actual Result:
- Test Result: ✔️
- Notes:
Layer Management: Renaming of Plant Layer not possible
- Description: Test if Renaming of Plant layer is not possible
- Given I am on a new map.
- When I select the Plant Layer
- Then Button to rename layer is disabled
- Actual Result:
- Test Result: ✔️
- Notes:
Layer Management: Renaming of Base Layer not possible
- Description: Test if Renaming of Base layer is not possible
- Given I am on a new map.
- When I select the Base Layer
- Then Button to rename layer is disabled
- Actual Result:
- Test Result: ✔️
- Notes:
Heatmap (only in dev branch)
- Description: Test whether the heatmap endpoints generates the image correctly.
- Given I am on a map page with the plant layer active
- When I start planting a plant
- Then I see suitable places for that plant
- Actual Result:
- Test Result:
- Notes:
Map Overview: More than 30 Layers should be visible
- Description: Test that pagination works on the map overview screen
- Given I am on the map overview screen
- When I create more than 30 maps
- Then I can see all maps after scrolling to the bottom of the page.
- Actual Result:
- Test Result: ⚠️
- Notes:
- Could not be tested. Not enough test data maps have been created.
- Has not yet been noticed.
- Class 5: Minor deviation
- Level 4: Correction planning is still open
Measurement: Measure a distance
- Description: Test whether distance can be measured successfully
- Given I am on a map page
- When I click on the measurement button
- When I measure a distance
- Then I see a measurement line
- Then I see the measured distance
- Actual Result:
- Test Result: ✔️
- Notes:
Measurement: Cancel measurement without deleting measurements
- Description: Verify that measured distances don't disappear when the measurement mode is canceled using the button in the status panel.
- Given I am on a map page
- When I click on the measurement button
- When I measure a distance
- When I cancel the measurement mode using the status panel
- Then the measurement layer is no longer active
- Then I can still see the measured distance
- Actual Result:
- Test Result: ✔️
- Notes:
Measurement: Cancel measurement and delete all measurement lines
- Description: Verify that measured distances disappear when the measurement mode is canceled using the measurement button.
- Given I am on a map page
- When I click on the measurement button
- When I measure a distance
- When I cancel the measurement mode using the measurement button in the toolbar
- Then I can no longer see the measured distance
- Actual Result:
- Test Result: ✔️
- Notes:
Measurement: Delete measurements after measurement mode is deactivated
- Description: Verify that measured distances don't disappear when the measurement mode is canceled using the button in the status panel.
- Given I am on a map page
- When I click on the measurement button
- When I measure a distance
- When I cancel the measurement mode using the status panel
- When I click on the measurement button
- Then I can no longer see the measured distance
- Actual Result:
- Test Result: ✔️
- Notes:
Closing remarks
-
How is the current state of the software? The design got an overhaul and the frontpage got few nice fixes for small devices. But it could still improve for small displays.
-
Have the quality objectives been achieved? Yes.
-
What are the consequences drawn from the current state, including: how can future errors be avoided, how can the development process be improved?
- Upgrade to diesel@2.0.4 should be done soon. (cargo audit fix -> diesel vulnerability)
General
- Tester: Christoph K with testuser_t@permaplant.net
- Date/Time: 07.04.2025 14:00
- Duration: 3h
- Commit/Tag: 8a6d20667511b7017848913fed35efe93a310bcb
- Setup: dev.permaplant
- Planned tests: -63
- Executed tests: -63
- ✔️Passed tests: -62
- ⚠️Problematic tests: -0
- ❌Failed tests: -1
General Test Cases
Plant Search
- Description: Show a selection of plants if the search input is empty.
- Given I am on a map page with the plant layer active
- When i click on the magnifying glass icon next to the 'Pflanzen' titel
- When I have an empty search box
- Then I can see various plants as results
- Actual Result: ✔️
- Test Result: ✔️
- Notes:
Heatmap
- Description: Test whether the heatmap endpoints generates the image correctly.
- Given I am on a map page with the plant layer active
- When I start planting a plant
- Then I see suitable places for that plant
- Actual Result: ✔️
- Test Result: ✔️
- Notes:
Layer opacity
- Description: Check whether the opacity of a layer changes.
- Given I am on a map page with a base layer image configured
- When dragging the slider for the base layer in the layer section of the toolbar to 50%
- Then I can see the change in opacity of the base layer image
- When I change the size of the toolbar
- Then I can see the slider and the filling change in size proportionally. Therefore 50% of the slider should be filled.
- Actual Result: ✔️
- Test Result: ✔️
- Notes:
Base Layer
- Description: Check whether the maps background image is displayed correctly.
- Given I am on a map page with the base layer active
- When I select a base layer image
- Then I can see the base layer image on the canvas
- Actual Result: ✔️
- Test Result: ✔️
- Notes:
Base Layer: move image
- Description: Check whether the maps background image is displayed correctly.
- Given I am on a map page with the base layer active
- When I select a base layer image
- When I increase the base layers x position in steps of 1, 1.1 and 1.11 (or other decimal numbers)
- Then I can see the base layer image is moved to the right
- When I decrease the base layers x position in steps of -1, -1.1 and -1.11 (or other negative decimal numbers)
- Then I can see the base layer image is moved to the left
- When I increase the base layers y position in steps of 1, 1.1 and 1.11 (or other decimal numbers)
- Then I can see the base layer image is moved up
- When I decrease the base layers y position in steps of -1, -1.1 and -1.11 (or other negative decimal numbers)
- Then I can see the base layer image is moved down
- Actual Result: ✔️
- Test Result: ✔️
- Notes:
Base Layer: autoscaling
- Description: Check whether the maps background image is scaled according to distance entered.
- Given I am on a map page with the base layer active
- When I click on the autoscaling button
- Then I am prompted to select two points with a known distance
- When I click anywhere on the map inside the map bounds
- Then a red dot indicating the selected position appears
- When I select the end of the known distance
- Then a second red dot indicating the second selected position appears and additionally a line connecting the dots appears
- Then a window asking me to enter the selected real-life distance in meters and centimeters appears
- When I enter the value(s) for the distance and click the ok button
- Then the background image is correctly re-scaled to the distance shown in the grid
- Actual Result: ✔️
- Test Result: ✔️
- Notes:
Grid
- Description: Display a point grid on the screen.
- Given I am on a map page
- When I Zoom in or out
- Then the grid spacing is changing
- Actual Result: ✔️
- Test Result: ✔️
- Notes:
Map Editor Guided Tour
- Description: Check whether the Guided Tour leaves the Map Editor in its original state.
- Given I am on a map page
- When I do the Guided Tour
- Then after I have done the Guided Tour the map is the same as before
- Actual Result: ✔️
- Test Result: ✔️
- Notes: Check if all actions can be done as described.
Additional name on map: plant labels
- Description: Test additional names being displayed properly.
- Given I am on the map page with the plants layer active
- When I create a new plant from the inventory.
- Then I can see the additional name on the label when hovering over the plant.
- Actual Result: ✔️
- Test Result: ✔️
- Notes: The additional name must also be visible when a different account views the same map in parallel.
Additional name on map: left toolbar
- Description: Test additional names being displayed properly.
- Given I am on the map page with the plants layer active
- When I create a new plant from the inventory.
- When I click on the new plant icon.
- Then I can see the additional name in the left toolbars heading.
- Actual Result: ✔️
- Test Result: ✔️
- Notes: The additional name must also be visible when a different account views the same map in parallel.
Additional name on map: updates
- Description: Test additional names being displayed properly.
- Given I am on the map page with the plants layer active
- When I create a new plant from the inventory.
- When I go to the inventory page and change the seeds name.
- Then I can see the changes in the plant label and left toolbar.
- Actual Result: ✔️
- Test Result: ✔️
- Notes: The additional name must also be visible when a different account views the same map.
Measurement: Measure a distance
- Description: Test whether distance can be measured successfully
- Given I am on a map page
- When I click on the measurement button
- When I measure a distance
- Then I see a measurement line
- Then I see the measured distance
- Actual Result: ✔️
- Test Result: ✔️
- Notes:
Measurement: Cancel measurement without deleting measurements
- Description: Verify that measured distances don't disappear when the measurement mode is canceled using the button in the status panel.
- Given I am on a map page
- When I click on the measurement button
- When I measure a distance
- When I cancel the measurement mode using the status panel
- Then the measurement layer is no longer active
- Then I can still see the measured distance
- Actual Result: ✔️
- Test Result: ✔️
- Notes:
Measurement: Cancel measurement and delete all measurement lines
- Description: Verify that measured distances disappear when the measurement mode is canceled using the measurement button.
- Given I am on a map page
- When I click on the measurement button
- When I measure a distance
- When I cancel the measurement mode using the measurement button in the toolbar
- Then I can no longer see the measured distance
- Actual Result: ✔️
- Test Result: ✔️
- Notes:
Measurement: Delete measurements after measurement mode is deactivated
- Description: Verify that measured distances don't disappear when the measurement mode is canceled using the button in the status panel.
- Given I am on a map page
- When I click on the measurement button
- When I measure a distance
- When I cancel the measurement mode using the status panel
- When I click on the measurement button
- Then I can no longer see the measured distance
- Actual Result: ✔️
- Test Result: ✔️
- Notes:
Map Overview: More than 30 Layers should be visible
- Description: Test that pagination works on the map overview screen
- Given I am on the map overview screen
- When I create more than 30 maps
- Then I can see all maps after scrolling to the bottom of the page.
- Actual Result: ✔️
- Test Result: ✔️
- Notes:
Map Search
- Description: Appropriate maps should be displayed for each search term
- Given I am on a map overview page
- When I search for a map using the search field
- Then the maps are filtered appropriately
- Actual Result: ✔️
- Test Result: ✔️
- Notes:
Map Deletion
- Description: A map should no longer be available after it has been deleted.
- Given I am on a map overview page
- When I delete a map
- Then the map is no longer available in the overview
- Actual Result: ✔️
- Test Result: ✔️
- Notes:
Seed creation
- Description: Adding more entries to the inventory overview
- Given I am logged in and have already added entries
- When I submit the form for seed creation
- Then I see my newly added entry in the overview
- Actual Result: ✔️
- Test Result: ✔️
- Notes:
Seed creation with more than 30 objects
- Description: After creating 30 seeds, everything should be shown correctly on the overview page.
- Given I am logged in and add 30 valid seeds.
- When I go to my inventory
- Then I see all my newly added seeds in the overview.
- Actual Result: ✔️
- Test Result: ✔️
- Notes:
Edit seed name
- Description: After renaming a seed, the new name should be visible in the seed overview.
- Given I am logged in and edit a seed name.
- When I go to my inventory
- Then I see the new name of the edited seed.
- Actual Result: ✔️
- Test Result: ✔️
- Notes:
Archive seed
- Description: After archiving a seed, it should be removed from the overview or marked as archived
- Given I am logged in and archive a seed.
- When I go to my inventory
- Then I don't see the archived seed anymore, or it is marked as archived.
- Actual Result: ✔️
- Test Result: ✔️
- Notes:
Restore an archived seed
- Description: After restoring an archived seed, it should be added to the overview again
- Given I am logged in and visited the inventory page
- When I archive a seed and then restore it
- Then I see the restored seed again.
- Actual Result: ✔️
- Test Result: ✔️
- Notes:
Heatmap
Heatmap Test Cases
Plant layer should be above heatmap
- Description: Verify that the PLant Layer is above the Heatmap Layer
- Given I am on a map page
- When I place some tomatoes on the map
- When I select a potato and try to place it near the tomatoes so that heatmap is shown
- Then I can see that the heatmap is below the plants
- Actual Result: ✔️
- Test Result: ✔️
- Notes:
Change position of plant layer
- Description: Verify that the heatmap changes its position when the plant layer is moved in priority
- Given I am on a map page where plant layer is above an drawing layer
- When I place some tomatoes on the plant layer
- When I draw a filled rectangle on the drawing layer so that it overlaps with the tomatoes
- When I select a potato and try to place it near the tomatoes so that heatmap is shown
- Then I can see that the heatmap is below the plants and above the rectangle
- When I move the plant layer below the drawing layer
- Then I can see that the heatmap is below the rectangle and below the plants
- Actual Result: ✔️
- Test Result: ✔️
- Notes:
All Shade types and Allium ursinum
- Description: Verify heatmap colors for all three shade types for the plant named Wild garlic (Allium ursinum)
- Given I am on a map where three shades are drawn with one being a light shade, one being a partial shade and one being a permanent shade
- When I select the plant with the name "Allium ursinum" for planting in the plant layer
- Then I can see that the heatmap shows green areas for all three shades
- Actual Result: ✔️
- Test Result: ✔️
- Notes:
All Shade types and Allium pendulinum
- Description: Verify heatmap colors for all three shade types for the plant named Allium pendulinum (Allium pendulinum)
- Given I am on a map where three shades are drawn with one being a light shade, one being a partial shade and one being a permanent shade
- When I select the plant with the name "Allium pendulinum" for planting in the plant layer
- Then I can see that the heatmap shows two green areas for light and partial shades and red for the permanent shade
- Actual Result: ✔️
- Test Result: ✔️
- Notes:
All Shade types and Malus domestica
- Description: Verify heatmap colors for all three shade types for the plant named Apple (Malus domestica)
- Given I am on a map where three shades are drawn with one being a light shade, one being a partial shade and one being a permanent shade
- When I select the plant with the name "Malus domestica" for planting in the plant layer
- Then I can see that the heatmap shows one green area for the light shade, orange for the partial shade and red for the permanent shade
- Actual Result: ✔️
- Test Result: ✔️
- Notes:
All Shade types and Tomato
- Description: Verify heatmap colors for all three shade types for the plant named Tomato
- Given I am on a map where three shades are drawn with one being a light shade, one being a partial shade and one being a permanent shade
- When I select the plant with the name "Tomato" for planting in the plant layer
- Then I can see that the heatmap shows red areas for all three shades
- Actual Result: ✔️
- Test Result: ✔️
- Notes:
Negative temporal relation within min duration
- Description: Verify heatmap colors for temporal relation between two plantings of "Allium cepa"
- Given I am on a map where a planting of "Allium cepa" has existed 6 months ago (remove_date = current date - 6 Months)
- When I select the plant with the name "Allium cepa" for planting in the plant layer
- Then I can see that the heatmap shows a red indication on the spot the previous planting of "Allium cepa" has been
- Actual Result: No red indication, no heatmap shadow.
- Test Result: ❌
- Notes: I planted a plant at 18.4.2025. I jump forward to 18.10.2025. I select the plant "Allium cepa" and the heatmap shows no red indication. BUT. i jump back to 18.4.2025 (1 day before planting) and select the plant "Allium cepa" and the heatmap shows a black indicatesion.
Negative temporal relation exactly at min duration
- Description: Verify heatmap colors for temporal relation between two plantings of "Allium cepa"
- Given I am on a map where a planting of "Allium cepa" has existed 1 year ago (remove_date = current date - 1 year)
- When I select the plant with the name "Allium cepa" for planting in the plant layer
- Then I can see that the heatmap shows an orange indication on the spot the previous planting of "Allium cepa" has been
- Actual Result: ✔️
- Test Result: ✔️
- Notes:
Negative temporal relation between min and max duration
- Description: Verify heatmap colors for temporal relation between two plantings of "Allium cepa"
- Given I am on a map where a planting of "Allium cepa" has existed 2 years ago (remove_date = current date - 2 years)
- When I select the plant with the name "Allium cepa" for planting in the plant layer
- Then I can see that the heatmap shows an orange indication on the spot the previous planting of "Allium cepa" has been
- Actual Result: ✔️
- Test Result: ✔️
- Notes:
Negative temporal relation within min duration
- Description: Verify heatmap colors for temporal relation between "Allium fistulosum" and "Allium cepa"
- Given I am on a map where a planting of "Allium fistulosum" has existed 5 months ago (remove_date = current date - 5 months)
- When I select the plant with the name "Allium cepa" for planting in the plant layer
- Then I can see that the heatmap shows a red indication on the spot the previous planting of "Allium fistulosum" has been
- Actual Result: ✔️
- Test Result: ✔️
- Notes:
Positive temporal relation within min duration
- Description: Verify heatmap colors for temporal relation between plantings of "Allium sativum" and "Lactuca sativa"
- Given I am on a map where a planting of "Allium sativum" has existed 6 months ago (remove_date = current date - 6 months)
- When I select the plant with the name "Lactuca sativa" for planting in the plant layer
- Then I can see that the heatmap shows a green indication on the spot the previous planting of "Allium sativum" has been
- Actual Result: ✔️
- Test Result: ✔️
- Notes:
Hydrology wet area and Great Water Dock
- Description: Verify heatmap color for hydrology type wet for the plant named Great Water Dock (Rumex hydrolapathum)
- Given I am on a map where a hydrology area is drawn with the type wet
- When I select the plant with the name "Rumex hydrolapathum" for planting in the plant layer
- Then I can see that the heatmap shows a green area for the hydrology area
- Actual Result: ✔️
- Test Result: ✔️
- Notes:
Hydrology wet area and Tomato
- Description: Verify heatmap color for hydrology type wet for the plant named Tomato (Solanum lycopersicum)
- Given I am on a map where a hydrology area is drawn with the type wet
- When I select the plant with the name "Solanum lycopersicum" for planting in the plant layer
- Then I can see that the heatmap shows a red area for the hydrology area
- Actual Result: ✔️
- Test Result: ✔️
- Notes: The soil has to contain enough nutrients and be watered properly.
Soil texture sandy area and Tomato
- Description: Verify heatmap color for soil texture type sandy for the plant named Tomato (Solanum lycopersicum)
- Given I am on a map where a soil texture area is drawn with the type sandy
- When I select the plant with the name "Solanum lycopersicum" for planting in the plant layer
- Then I can see that the heatmap shows a green area for the soil texture area
- Actual Result: ✔️
- Test Result: ✔️
- Notes:
Soil texture clay area and Watermelon
- Description: Verify heatmap color for soil texture type clay for the plant named Watermelon (Citrullus lanatus)
- Given I am on a map where a soil texture area is drawn with the type clay
- When I select the plant with the name "Citrullus lanatus" for planting in the plant layer
- Then I can see that the heatmap shows a red area for the soil texture area
- Actual Result: ✔️
- Test Result: ✔️
- Notes:
Soil texture clay area and Cauliflower
- Description: Verify heatmap color for soil texture type clay for the plant named Cauliflower (Brassica oleracea botrytis)
- Given I am on a map where a soil texture area is drawn with the type clay
- When I select the plant with the name "Brassica oleracea botrytis" for planting in the plant layer
- Then I can see that the heatmap shows a green area for the soil texture area
- Actual Result: ✔️
- Test Result: ✔️
- Notes:
Occupied space with plants in the future
- Description: Verify that the heatmap indicates an occupied space with black
- Given I am on a map where any plant and an area of plants is planted
- When I go into the past one day before these exist and select any plant for planting in the plant layer
- Then I can see that the heatmap shows a black area on the spot these plants will be in the future
- Actual Result: ✔️
- Test Result: ✔️
- Notes:
Layer Management Test Cases
Initial Order of Layers
- Description: Test initial order of layers
- When I create a new map
- Then Base Layer is at bottom of layer list and Plant Layer is on top of layer list
- Actual Result: ✔️
- Test Result: ✔️
- Notes:
Correct konva rendering of layer order on new map
- Description: Test correct rendering order of konva layers.
- Given I am on a new map
- When I add a background image in Base Layer
- When I add an overlapping rectangle in Drawing Layer
- When I add an overlapping plant in plant layer
- Then Plant in is front of rectangle and rectangle is in front of background image
- Actual Result:
- Test Result: ✔️
- Notes: ✔️
Renaming of layer
- Description: Test if Drawing Layer can be renamed.
- Given I am on a new map
- When I rename the Drawing Layer
- Then The new name is visible in the layer list
- Actual Result: ✔️
- Test Result: ✔️
- Notes:
Creation of new layer
- Description: Test if new layer can be created.
- Given I am on a new map
- When I select a layer and create a new one
- Then The new layer is visible above currently selected layer
- Actual Result: ✔️
- Test Result: ✔️
- Notes:
Change order of layers
- Description: Test if the order of layers can be updated correctly.
- Given I am on a map with 2 drawing layers with overlapping rectangles
- When I select the upper Drawing Layer and move it below the other one
- Then The order in the layer list is updated and the rectangle of the new upper drawing layer is shown in front of the lower one on the map.
- Actual Result: ✔️
- Test Result: ✔️
- Notes:
Delete Drawing Layer
- Description: Test if Drawing Layer can be deleted
- Given I am on a map with some drawing on a Drawing Layer.
- When I delete the Drawing Layer
- Then The layer disappears from layer list and drawings are deleted from map
- Actual Result: ✔️
- Test Result: ✔️
- Notes:
Deletion of Plant Layer not possible
- Description: Test if deletion of Plant layer is disabled
- Given I am on a new map.
- When I select the Plant Layer
- Then Button to delete layer is disabled
- Actual Result: ✔️
- Test Result: ✔️
- Notes:
Deletion of Base Layer not possible
- Description: Test if Deletion of Base layer is disabled
- Given I am on a new map.
- When I select the Base Layer
- Then Button to delete layer is disabled
- Actual Result: ✔️
- Test Result: ✔️
- Notes:
Undo deletion
- Description: Test if deleted layer can be restored
- Given I am on a map with some drawing on a drawing layer.
- When I delete the drawing layer
- Then Layer disappears from layer list and drawings are deleted from map
- When I press undo
- Then Layer appears again at same position as it was before deletion and drawings are visible again.
- Actual Result: ✔️
- Test Result: ✔️
- Notes:
Top layer cannot be moved up
- Description: Test if the top layer cannot be moved up
- Given I am on a new map.
- When I select the top layer.
- Then Button to to move layer up is disabled
- Actual Result: ✔️
- Test Result: ✔️
- Notes:
Bottom layer cannot be moved down
- Description: Test if the bottom layer cannot be moved down
- Given I am on a new map.
- When I select the bottom layer.
- Then Button to to move layer down is disabled
- Actual Result: ✔️
- Test Result: ✔️
- Notes:
Renaming of Plant Layer not possible
- Description: Test if Renaming of Plant layer is not possible
- Given I am on a new map.
- When I select the Plant Layer
- Then Button to rename layer is disabled
- Actual Result: ✔️
- Test Result: ✔️
- Notes:
Renaming of Base Layer not possible
- Description: Test if Renaming of Base layer is not possible
- Given I am on a new map.
- When I select the Base Layer
- Then Button to rename layer is disabled
- Actual Result: ✔️
- Test Result: ✔️
- Notes:
Read Only Test Cases
Go Offline
- Description: Put Browser Offline
- Given I am on a map
- When I put the browser to the offline mode (Firefox: Alt, Datei -> Offline Arbeiten)
- Then I see the message "You are offline. The read-only mode was activated." and everything but measurement is read-only (see other test cases).
- Actual Result: ✔️
- Test Result: ✔️
- Notes:
Shade Layer Test Cases
Add Shading
- Description: Add a new Shading to the map.
- Given I am on the map page with the shade layer active
- When I click on the 'Light' button
- When I draw on the map
- Then I can see that a new shading was added
- Actual Result: ✔️
- Test Result: ✔️
- Notes: Repeat this test for all Shading types
Remove Shading
- Description: Remove a Shading from the map.
- Given I am on the map page with the shade layer active and a Shading is selected
- When I click on 'Delete shading' in the left toolbar
- Then I can see that a new shading was deleted
- Actual Result: ✔️
- Test Result: ✔️
Edit Shade Type
- Description: Change the shade of a shading.
- Given I am on the map page with the shade layer active and a Shading is selected
- When I select different shade from the drop-down menu in the left toolbar
- Then I can see that the shade is changed successfully
- Actual Result: ✔️
- Test Result: ✔️
- Notes: select each shading type at least once
Set Creation Date in the Future
- Description: Update the date from which the shading should be active
- Given I am on the map page with the shade layer active and a Shading is selected
- When I select the current date in the timeline
- When I select a creation date in the future
- Then I can see that the shading is no longer shown on the map
- Actual Result: ✔️
- Test Result: ✔️
Set Removal Date in the Future
- Description: Update the date from which the shading should be active
- Given I am on the map page with the shade layer active and a Shading is selected
- When I select the current date in the timeline
- When I select a creation date in the past
- When I select a removal date in the future
- Then I can see that the shading is shown on the map
- Actual Result: ✔️
- Test Result: ✔️
Set Removal date in the Past
- Description: Update the date until which the shading should be active
- Given I am on the map page with the shade layer active and a Shading is selected
- When I select the current date in the timeline
- When I select a creation date in the past
- When I select a removal date in the past after the creation date
- Then I can see that the shading is no longer shown on the map
- Actual Result: ✔️
- Test Result: ✔️
Closing remarks
-
How is the current state of the software?
Solid. However, missing authenticated test users are causing some tests to fail. It was not possible to prepare a map with a background image as a test user. -
Have the quality objectives been achieved?
Yes. -
What are the consequences drawn from the current state, including: how can future errors be avoided, how can the development process be improved?
The main issue was with authentication for test users.
To prevent this and improve the process, we should start automating E2E tests to reduce the growing number of manual tests.
General
- Tester: Christoph K with testuser_t@permaplant.net
- Date/Time: 12.05.2025 19:00
- Duration: 1h
- Commit/Tag: 8a73fcaa16e741ce7b7301996030301820c7b434
- Setup: dev.permaplant
- Planned tests: -63
- Executed tests: -63
- ✔️Passed tests: -55
- ⚠️Problematic tests: -1
- ❌Failed tests: -7
General Test Cases
Plant Search
- Description: Show a selection of plants if the search input is empty.
- Given I am on a map page with the plant layer active
- When i click on the magnifying glass icon next to the 'Pflanzen' titel
- When I have an empty search box
- Then I can see various plants as results
- Actual Result: ✔️
- Test Result: ✔️
- Notes:
Heatmap
- Description: Test whether the heatmap endpoints generates the image correctly.
- Given I am on a map page with the plant layer active
- When I start planting a plant
- Then I see suitable places for that plant
- Actual Result: ✔️
- Test Result: ✔️
- Notes:
Layer opacity
- Description: Check whether the opacity of a layer changes.
- Given I am on a map page with a base layer image configured
- When dragging the slider for the base layer in the layer section of the toolbar to 50%
- Then I can see the change in opacity of the base layer image
- When I change the size of the toolbar
- Then I can see the slider and the filling change in size proportionally. Therefore 50% of the slider should be filled.
- Actual Result: ✔️
- Test Result: ✔️
- Notes:
Base Layer
- Description: Check whether the maps background image is displayed correctly.
- Given I am on a map page with the base layer active
- When I select a base layer image
- Then I can see the base layer image on the canvas
- Actual Result: ✔️
- Test Result: ✔️
- Notes:
Base Layer: move image
- Description: Check whether the maps background image is displayed correctly.
- Given I am on a map page with the base layer active
- When I select a base layer image
- When I increase the base layers x position in steps of 1, 1.1 and 1.11 (or other decimal numbers)
- Then I can see the base layer image is moved to the right
- When I decrease the base layers x position in steps of -1, -1.1 and -1.11 (or other negative decimal numbers)
- Then I can see the base layer image is moved to the left
- When I increase the base layers y position in steps of 1, 1.1 and 1.11 (or other decimal numbers)
- Then I can see the base layer image is moved up
- When I decrease the base layers y position in steps of -1, -1.1 and -1.11 (or other negative decimal numbers)
- Then I can see the base layer image is moved down
- Actual Result: decimal does not work
- Test Result: ⚠️
- Notes:
Base Layer: autoscaling
- Description: Check whether the maps background image is scaled according to distance entered.
- Given I am on a map page with the base layer active
- When I click on the autoscaling button
- Then I am prompted to select two points with a known distance
- When I click anywhere on the map inside the map bounds
- Then a red dot indicating the selected position appears
- When I select the end of the known distance
- Then a second red dot indicating the second selected position appears and additionally a line connecting the dots appears
- Then a window asking me to enter the selected real-life distance in meters and centimeters appears
- When I enter the value(s) for the distance and click the ok button
- Then the background image is correctly re-scaled to the distance shown in the grid
- Actual Result: After choosing the tool, i can not select the first point. CLicking on the canvas does nothing. "Select two points with a known distance." is shown.
- Test Result: ❌
- Notes:
Grid
- Description: Display a point grid on the screen.
- Given I am on a map page
- When I Zoom in or out
- Then the grid spacing is changing
- Actual Result: ✔️
- Test Result: ✔️
- Notes:
Map Editor Guided Tour
- Description: Check whether the Guided Tour leaves the Map Editor in its original state.
- Given I am on a map page
- When I do the Guided Tour
- Then after I have done the Guided Tour the map is the same as before
- Actual Result: ✔️
- Test Result: ✔️
- Notes:
Additional name on map: plant labels
- Description: Test additional names being displayed properly.
- Given I am on the map page with the plants layer active
- When I create a new plant from the inventory.
- Then I can see the additional name on the label when hovering over the plant.
- Actual Result: ✔️
- Test Result: ✔️
- Notes: The additional name must also be visible when a different account views the same map in parallel.
Additional name on map: left toolbar
- Description: Test additional names being displayed properly.
- Given I am on the map page with the plants layer active
- When I create a new plant from the inventory.
- When I click on the new plant icon.
- Then I can see the additional name in the left toolbars heading.
- Actual Result: ✔️
- Test Result: ✔️
- Notes: The additional name must also be visible when a different account views the same map in parallel.
Additional name on map: updates
- Description: Test additional names being displayed properly.
- Given I am on the map page with the plants layer active
- When I create a new plant from the inventory.
- When I go to the inventory page and change the seeds name.
- Then I can see the changes in the plant label and left toolbar.
- Actual Result: ✔️
- Test Result: ✔️
- Notes: The additional name must also be visible when a different account views the same map.
Measurement: Measure a distance
- Description: Test whether distance can be measured successfully
- Given I am on a map page
- When I click on the measurement button
- When I measure a distance
- Then I see a measurement line
- Then I see the measured distance
- Actual Result: ✔️
- Test Result: ✔️
- Notes:
Measurement: Cancel measurement without deleting measurements
- Description: Verify that measured distances don't disappear when the measurement mode is canceled using the button in the status panel.
- Given I am on a map page
- When I click on the measurement button
- When I measure a distance
- When I cancel the measurement mode using the status panel
- Then the measurement layer is no longer active
- Then I can still see the measured distance
- Actual Result: ✔️
- Test Result: ✔️
- Notes:
Measurement: Cancel measurement and delete all measurement lines
- Description: Verify that measured distances disappear when the measurement mode is canceled using the measurement button.
- Given I am on a map page
- When I click on the measurement button
- When I measure a distance
- When I cancel the measurement mode using the measurement button in the toolbar
- Then I can no longer see the measured distance
- Actual Result: ✔️
- Test Result: ✔️
- Notes:
Measurement: Delete measurements after measurement mode is deactivated
- Description: Verify that measured distances don't disappear when the measurement mode is canceled using the button in the status panel.
- Given I am on a map page
- When I click on the measurement button
- When I measure a distance
- When I cancel the measurement mode using the status panel
- When I click on the measurement button
- Then I can no longer see the measured distance
- Actual Result: ✔️
- Test Result: ✔️
- Notes:
Map Overview: More than 30 Layers should be visible
- Description: Test that pagination works on the map overview screen
- Given I am on the map overview screen
- When I create more than 30 maps
- Then I can see all maps after scrolling to the bottom of the page.
- Actual Result: ✔️
- Test Result: ✔️
- Notes:
Map Search
- Description: Appropriate maps should be displayed for each search term
- Given I am on a map overview page
- When I search for a map using the search field
- Then the maps are filtered appropriately
- Actual Result: ✔️
- Test Result: ✔️
- Notes:
Map Deletion
- Description: A map should no longer be available after it has been deleted.
- Given I am on a map overview page
- When I delete a map
- Then the map is no longer available in the overview
- Actual Result: ✔️
- Test Result: ✔️
- Notes:
Seed creation
- Description: Adding more entries to the inventory overview
- Given I am logged in and have already added entries
- When I submit the form for seed creation
- Then I see my newly added entry in the overview
- Actual Result: ✔️
- Test Result: ✔️
- Notes:
Seed creation with more than 30 objects
- Description: After creating 30 seeds, everything should be shown correctly on the overview page.
- Given I am logged in and add 30 valid seeds.
- When I go to my inventory
- Then I see all my newly added seeds in the overview.
- Actual Result: ✔️
- Test Result: ✔️
- Notes:
Edit seed name
- Description: After renaming a seed, the new name should be visible in the seed overview.
- Given I am logged in and edit a seed name.
- When I go to my inventory
- Then I see the new name of the edited seed.
- Actual Result: ✔️
- Test Result: ✔️
- Notes:
Archive seed
- Description: After archiving a seed, it should be removed from the overview or marked as archived
- Given I am logged in and archive a seed.
- When I go to my inventory
- Then I don't see the archived seed anymore, or it is marked as archived.
- Actual Result: ✔️
- Test Result: ✔️
- Notes:
Restore an archived seed
- Description: After restoring an archived seed, it should be added to the overview again
- Given I am logged in and visited the inventory page
- When I archive a seed and then restore it
- Then I see the restored seed again.
- Actual Result: ✔️
- Test Result: ✔️
- Notes:
Heatmap
Heatmap Test Cases
Plant layer should be above heatmap
- Description: Verify that the PLant Layer is above the Heatmap Layer
- Given I am on a map page
- When I place some tomatoes on the map
- When I select a potato and try to place it near the tomatoes so that heatmap is shown
- Then I can see that the heatmap is below the plants
- Actual Result: ✔️
- Test Result: ✔️
- Notes:
Change position of plant layer
- Description: Verify that the heatmap changes its position when the plant layer is moved in priority
- Given I am on a map page where plant layer is above an drawing layer
- When I place some tomatoes on the plant layer
- When I draw a filled rectangle on the drawing layer so that it overlaps with the tomatoes
- When I select a potato and try to place it near the tomatoes so that heatmap is shown
- Then I can see that the heatmap is below the plants and above the rectangle
- When I move the plant layer below the drawing layer
- Then I can see that the heatmap is below the rectangle and below the plants
- Actual Result: ✔️
- Test Result: ✔️
- Notes:
All Shade types and Allium ursinum
- Description: Verify heatmap colors for all three shade types for the plant named Wild garlic (Allium ursinum)
- Given I am on a map where three shades are drawn with one being a light shade, one being a partial shade and one being a permanent shade
- When I select the plant with the name "Allium ursinum" for planting in the plant layer
- Then I can see that the heatmap shows green areas for all three shades
- Actual Result: ✔️
- Test Result: ✔️
- Notes:
All Shade types and Allium pendulinum
- Description: Verify heatmap colors for all three shade types for the plant named Allium pendulinum (Allium pendulinum)
- Given I am on a map where three shades are drawn with one being a light shade, one being a partial shade and one being a permanent shade
- When I select the plant with the name "Allium pendulinum" for planting in the plant layer
- Then I can see that the heatmap shows two green areas for light and partial shades and red for the permanent shade
- Actual Result: ✔️
- Test Result: ✔️
- Notes:
All Shade types and Malus domestica
- Description: Verify heatmap colors for all three shade types for the plant named Apple (Malus domestica)
- Given I am on a map where three shades are drawn with one being a light shade, one being a partial shade and one being a permanent shade
- When I select the plant with the name "Malus domestica" for planting in the plant layer
- Then I can see that the heatmap shows one green area for the light shade, orange for the partial shade and red for the permanent shade
- Actual Result: ✔️
- Test Result: ✔️
- Notes:
All Shade types and Tomato
- Description: Verify heatmap colors for all three shade types for the plant named Tomato
- Given I am on a map where three shades are drawn with one being a light shade, one being a partial shade and one being a permanent shade
- When I select the plant with the name "Tomato" for planting in the plant layer
- Then I can see that the heatmap shows red areas for all three shades
- Actual Result: ✔️
- Test Result: ✔️
- Notes:
Negative temporal relation within min duration
- Description: Verify heatmap colors for temporal relation between two plantings of "Allium cepa"
- Given I am on a map where a planting of "Allium cepa" has existed 6 months ago (remove_date = current date - 6 Months)
- When I select the plant with the name "Allium cepa" for planting in the plant layer
- Then I can see that the heatmap shows a red indication on the spot the previous planting of "Allium cepa" has been
- Actual Result: Light is green.
- Test Result: ❌
- Notes: I planted a plant at 01.01.2025. I remove it at 02.01.2025. I jump forward to 02.07.2025. (or any other date after 02.01.2025 and before 01.01.2026) I select the plant "Allium cepa" and the heatmap shows a green indication. After 02.01.2026, the heatmap shows no more indication.
Negative temporal relation exactly at min duration
- Description: Verify heatmap colors for temporal relation between two plantings of "Allium cepa"
- Given I am on a map where a planting of "Allium cepa" has existed 1 year ago (remove_date = current date - 1 year)
- When I select the plant with the name "Allium cepa" for planting in the plant layer
- Then I can see that the heatmap shows an orange indication on the spot the previous planting of "Allium cepa" has been
- Actual Result: After a year, the heatmap shows no more indication.
- Test Result: ❌
- Notes: I planted a plant at 01.01.2025. I remove it at 02.01.2025. I jump forward to 02.01.2026. I select the plant "Allium cepa" and the heatmap shows no indication.
Negative temporal relation between min and max duration
- Description: Verify heatmap colors for temporal relation between two plantings of "Allium cepa"
- Given I am on a map where a planting of "Allium cepa" has existed 2 years ago (remove_date = current date - 2 years)
- When I select the plant with the name "Allium cepa" for planting in the plant layer
- Then I can see that the heatmap shows an orange indication on the spot the previous planting of "Allium cepa" has been
- Actual Result: After two years, the heatmap shows no more indication.
- Test Result: ❌
- Notes: I planted a plant at 01.01.2025. I remove it at 02.01.2025. I jump forward to 02.01.2027. I select the plant "Allium cepa" and the heatmap shows no indication. ("Negative temporal relation exactly at min duration" also expectes a orange indication.)
Negative temporal relation within min duration
- Description: Verify heatmap colors for temporal relation between "Allium fistulosum" and "Allium cepa"
- Given I am on a map where a planting of "Allium fistulosum" has existed 5 months ago (remove_date = current date - 5 months)
- When I select the plant with the name "Allium cepa" for planting in the plant layer
- Then I can see that the heatmap shows a red indication on the spot the previous planting of "Allium fistulosum" has been
- Actual Result: No indication
- Test Result: ❌
- Notes: Notes: I planted "Allium fistulosum" at 01.01.2025. I remove it at 02.01.2025. I jump forward to 02.02.2025. (till 02.08.2025 in montly steps) I select the plant "Allium cepa" and the heatmap shows no indication. (While the plant is not removed yet (01.01.2025) trying to plant "Allium cepa" shows a orange indication.)
Positive temporal relation within min duration
- Description: Verify heatmap colors for temporal relation between plantings of "Allium sativum" and "Lactuca sativa"
- Given I am on a map where a planting of "Allium sativum" has existed 6 months ago (remove_date = current date - 6 months)
- When I select the plant with the name "Lactuca sativa" for planting in the plant layer
- Then I can see that the heatmap shows a green indication on the spot the previous planting of "Allium sativum" has been
- Actual Result: No indication
- Test Result: ❌
- Notes: I planted "Allium sativum" at 01.01.2025. I remove it at 02.01.2025. I jump forward to 02.02.2025. (till 02.08.2025 in montly steps) I select the plant "Lactuca sativa" and the heatmap shows no indication. (While the plant is not removed yet (01.01.2025) trying to plant "Lactuca sativa" shows a green indication.)
Hydrology wet area and Great Water Dock
- Description: Verify heatmap color for hydrology type wet for the plant named Great Water Dock (Rumex hydrolapathum)
- Given I am on a map where a hydrology area is drawn with the type wet
- When I select the plant with the name "Rumex hydrolapathum" for planting in the plant layer
- Then I can see that the heatmap shows a green area for the hydrology area
- Actual Result: ✔️
- Test Result: ✔️
- Notes:
Hydrology wet area and Tomato
- Description: Verify heatmap color for hydrology type wet for the plant named Tomato (Solanum lycopersicum)
- Given I am on a map where a hydrology area is drawn with the type wet
- When I select the plant with the name "Solanum lycopersicum" for planting in the plant layer
- Then I can see that the heatmap shows a red area for the hydrology area
- Actual Result: ✔️
- Test Result: ✔️
- Notes: The soil has to contain enough nutrients and be watered properly.
Soil texture sandy area and Tomato
- Description: Verify heatmap color for soil texture type sandy for the plant named Tomato (Solanum lycopersicum)
- Given I am on a map where a soil texture area is drawn with the type sandy
- When I select the plant with the name "Solanum lycopersicum" for planting in the plant layer
- Then I can see that the heatmap shows a green area for the soil texture area
- Actual Result: ✔️
- Test Result: ✔️
- Notes:
Soil texture clay area and Watermelon
- Description: Verify heatmap color for soil texture type clay for the plant named Watermelon (Citrullus lanatus)
- Given I am on a map where a soil texture area is drawn with the type clay
- When I select the plant with the name "Citrullus lanatus" for planting in the plant layer
- Then I can see that the heatmap shows a red area for the soil texture area
- Actual Result: ✔️
- Test Result: ✔️
- Notes:
Soil texture clay area and Cauliflower
- Description: Verify heatmap color for soil texture type clay for the plant named Cauliflower (Brassica oleracea botrytis)
- Given I am on a map where a soil texture area is drawn with the type clay
- When I select the plant with the name "Brassica oleracea botrytis" for planting in the plant layer
- Then I can see that the heatmap shows a green area for the soil texture area
- Actual Result: ✔️
- Test Result: ✔️
- Notes:
Occupied space with plants in the future
- Description: Verify that the heatmap indicates an occupied space with black
- Given I am on a map where any plant and an area of plants is planted
- When I go into the past one day before these exist and select any plant for planting in the plant layer
- Then I can see that the heatmap shows a black area on the spot these plants will be in the future
- Actual Result: ✔️
- Test Result: ✔️
- Notes:
Layer Management Test Cases
Initial Order of Layers
- Description: Test initial order of layers
- When I create a new map
- Then Base Layer is at bottom of layer list and Plant Layer is on top of layer list
- Actual Result: ✔️
- Test Result: ✔️
- Notes:
Correct konva rendering of layer order on new map
- Description: Test correct rendering order of konva layers.
- Given I am on a new map
- When I add a background image in Base Layer
- When I add an overlapping rectangle in Drawing Layer
- When I add an overlapping plant in plant layer
- Then Plant in is front of rectangle and rectangle is in front of background image
- Actual Result: ✔️
- Test Result: ✔️
- Notes:
Renaming of layer
- Description: Test if Drawing Layer can be renamed.
- Given I am on a new map
- When I rename the Drawing Layer
- Then The new name is visible in the layer list
- Actual Result: ✔️
- Test Result: ✔️
- Notes:
Creation of new layer
- Description: Test if new layer can be created.
- Given I am on a new map
- When I select a layer and create a new one
- Then The new layer is visible above currently selected layer
- Actual Result: ✔️
- Test Result: ✔️
- Notes:
Change order of layers
- Description: Test if the order of layers can be updated correctly.
- Given I am on a map with 2 drawing layers with overlapping rectangles
- When I select the upper Drawing Layer and move it below the other one
- Then The order in the layer list is updated and the rectangle of the new upper drawing layer is shown in front of the lower one on the map.
- Actual Result: ✔️
- Test Result: ✔️
- Notes:
Delete Drawing Layer
- Description: Test if Drawing Layer can be deleted
- Given I am on a map with some drawing on a Drawing Layer.
- When I delete the Drawing Layer
- Then The layer disappears from layer list and drawings are deleted from map
- Actual Result: ✔️
- Test Result: ✔️
- Notes:
Deletion of Plant Layer not possible
- Description: Test if deletion of Plant layer is disabled
- Given I am on a new map.
- When I select the Plant Layer
- Then Button to delete layer is disabled
- Actual Result: ✔️
- Test Result: ✔️
- Notes:
Deletion of Base Layer not possible
- Description: Test if Deletion of Base layer is disabled
- Given I am on a new map.
- When I select the Base Layer
- Then Button to delete layer is disabled
- Actual Result: ✔️
- Test Result: ✔️
- Notes:
Undo deletion
- Description: Test if deleted layer can be restored
- Given I am on a map with some drawing on a drawing layer.
- When I delete the drawing layer
- Then Layer disappears from layer list and drawings are deleted from map
- When I press undo
- Then Layer appears again at same position as it was before deletion and drawings are visible again.
- Actual Result: ✔️
- Test Result: ✔️
- Notes:
Top layer cannot be moved up
- Description: Test if the top layer cannot be moved up
- Given I am on a new map.
- When I select the top layer.
- Then Button to to move layer up is disabled
- Actual Result: ✔️
- Test Result: ✔️
- Notes:
Bottom layer cannot be moved down
- Description: Test if the bottom layer cannot be moved down
- Given I am on a new map.
- When I select the bottom layer.
- Then Button to to move layer down is disabled
- Actual Result: ✔️
- Test Result: ✔️
- Notes:
Renaming of Plant Layer not possible
- Description: Test if Renaming of Plant layer is not possible
- Given I am on a new map.
- When I select the Plant Layer
- Then Button to rename layer is disabled
- Actual Result: ✔️
- Test Result: ✔️
- Notes:
Renaming of Base Layer not possible
- Description: Test if Renaming of Base layer is not possible
- Given I am on a new map.
- When I select the Base Layer
- Then Button to rename layer is disabled
- Actual Result: ✔️
- Test Result: ✔️
- Notes:
Read Only Test Cases
Go Offline
- Description: Put Browser Offline
- Given I am on a map
- When I put the browser to the offline mode (Firefox: Alt, Datei -> Offline Arbeiten)
- Then I see the message "You are offline. The read-only mode was activated." and everything but measurement is read-only (see other test cases).
- Actual Result: ✔️
- Test Result: ✔️
- Notes:
Shade Layer Test Cases
Add Shading
- Description: Add a new Shading to the map.
- Given I am on the map page with the shade layer active
- When I click on the 'Light' button
- When I draw on the map
- Then I can see that a new shading was added
- Actual Result: ✔️
- Test Result: ✔️
- Notes: Repeat this test for all Shading types
Remove Shading
- Description: Remove a Shading from the map.
- Given I am on the map page with the shade layer active and a Shading is selected
- When I click on 'Delete shading' in the left toolbar
- Then I can see that a new shading was deleted
- Actual Result: ✔️
- Test Result: ✔️
Edit Shade Type
- Description: Change the shade of a shading.
- Given I am on the map page with the shade layer active and a Shading is selected
- When I select different shade from the drop-down menu in the left toolbar
- Then I can see that the shade is changed successfully
- Actual Result: ✔️
- Test Result: ✔️
- Notes: select each shading type at least once
Set Creation Date in the Future
- Description: Update the date from which the shading should be active
- Given I am on the map page with the shade layer active and a Shading is selected
- When I select the current date in the timeline
- When I select a creation date in the future
- Then I can see that the shading is no longer shown on the map
- Actual Result: ✔️
- Test Result: ✔️
Set Removal Date in the Future
- Description: Update the date from which the shading should be active
- Given I am on the map page with the shade layer active and a Shading is selected
- When I select the current date in the timeline
- When I select a creation date in the past
- When I select a removal date in the future
- Then I can see that the shading is shown on the map
- Actual Result: ✔️
- Test Result: ✔️
Set Removal date in the Past
- Description: Update the date until which the shading should be active
- Given I am on the map page with the shade layer active and a Shading is selected
- When I select the current date in the timeline
- When I select a creation date in the past
- When I select a removal date in the past after the creation date
- Then I can see that the shading is no longer shown on the map
- Actual Result: ✔️
- Test Result: ✔️
Closing remarks
-
How is the current state of the software?
We have issues in our data due to relation changes. Should the test cases be adapted, or do we need to fix our data? -
Have the quality objectives been achieved?
In parts yes. -
What are the consequences drawn from the current state, including: how can future errors be avoided, how can the development process be improved?
We need to ensure that changes in our data are reflected in the test cases. We will ensure that changes in plant relations are incorporated into our testing strategy.
General
- Tester: Chris K
- Date/Time: 17.07.2025 14:00
- Duration: 3h
- Commit/Tag: da84c68c0ec0048fa3f433726d22ee0b835a4f70
- Setup: dev.permaplant
- Planned tests: -83
- Executed tests: -83
- ✔️Passed tests: -77
- ⚠️Problematic tests: -1
- ❌Failed tests: -5
Error Analysis
- Identifying the error: Is it indeed a genuine software defect, or is it a faulty test case, incorrect test execution, etc.?
- Has the error already been identified in previous tests?
- Error specification
- Class 5: Minor deviation
- Priority
- Level 2: Fix in next version
Closing remarks
- How is the current state of the software? Some plant relations related to time are not displaying the heatmap correctly. I assume there is an error with the scraper data, since it was modified in this release.
- Have the quality objectives been achieved? Mostly. The core functionality of the application is present, although some features do not work correctly.
- What are the consequences drawn from the current state, including: how can future errors be avoided, how can the development process be improved?
Include heatmap tests in the E2E pipeline to catch such issues earlier.
We learned from an expert that these relationships are not fixed, future changes in data could affect these E2E tests.
Area of Plantings
Add Planting Area
- Description: Add a new area of Planting to the map.
- Given I am on the map page with the plant layer active
- When I select a plant to add to the map
- When I click and drag an area on the map
- Then I can see information about the sizes in a tooltip hovering next to the area of plantings
- Then I can see that a new planting area has been added
- When I select the new area of plantings
- Then I can see in the plant attributes that there is an area of plantings
- Then I can see that the values for Individual Plant Size, Plants per Row, Number of Rows, Total Plants, Length, and Width in "Area of Plantings" are equal to the information shown in the tooltip
- Actual Result: ✔️
- Test Result: ✔️
- Notes:
Move Planting Area
- Description: Move a Planting area around the map.
- Given I am on the map page with the plant layer active
- When I drag a planting area
- When I drop the planting area
- Then I can see that the planting area was moved
- When I select the Planting area
- Then I can see in the plant area attributes that modified at and modified by are correctly set
- Actual Result: ✔️
- Test Result: ✔️
- Notes:
Change Size Planting Area - Drag & Drop
- Description: Edit an existing Planting Area on the map.
- Given I am on the map page with the plant layer active
- When I select a plant area that is already planted
- When I select a corner/edge and drag it around
- Then I can see information about the new sizes as a tooltip hovering next to the area of plantings
- When I stop holding the mousebutton down
- Then I can see that the planting area size has changed
- Then I can see in the plant area attributes that modified at and modified by are correctly set
- Actual Result: ✔️
- Test Result: ✔️
- Notes:
Change Size Planting Area - Change Values
- Description: Edit an existing Planting Area on the map.
- Given I am on the map page with the plant layer active
- When I select a plant area that is already planted
- Then I can see detailed Information about this plant area in the left toolbox
- When I edit the Length or Width
- Then I can see that the planting area size has changed
- Then I can see in the plant area attributes that modified at and modified by are correctly set
- Actual Result: ✔️
- Test Result: ✔️
- Notes:
Base Layer
Move map border point
- Description: Move map border point.
- Given I am on the map page with the base layer active
- When I click on the 'Edit Map Bounds' button
- Then I can see that the 'Edit Map Bounds' button is shown as active
- Then I can see that a hint is shown at the bottom center of the map
- When I drag a map border point
- Then I can see that the map border point was moved
- When I click on the 'Edit Map Bounds' button again
- Then I can see that the 'Edit Map Bounds' button is shown as inactive
- Then I can see that the hint at the bottom center of the map is not shown anymore
- When I drag a map border point
- Then I can see that the map border point was not moved
- Actual Result: ✔️
- Test Result: ✔️
- Notes: Shift + M can be used instead of clicking the 'Edit Map Bounds' button Escape can be used instead of clicking the 'Edit Map Bounds' button again
Add map border point
- Description: Add map border point.
- Given I am on the map page with the base layer active
- When I click on the 'Pencil Plus' button
- Then I can see that the 'Pencil Plus' button is shown as active
- Then I can see that a hint is shown at the bottom center of the map
- When I click on the map border
- Then I can see that a new map border point was added
- When I click on the 'Pencil Plus' button again
- Then I can see that the 'Pencil Plus' button is shown as inactive
- Then I can see that the hint at the bottom center of the map is not shown anymore
- When I click on the map border
- Then I can see that no new map border point was added
- Actual Result: ✔️
- Test Result: ✔️
- Notes: Shift + A can be used instead of clicking the 'Pencil Plus' button Escape can be used instead of clicking the 'Pencil Plus' button again
Remove map border point
- Description: Remove map border point.
- Given I am on the map page with the base layer active
- When I click on the 'Eraser' button
- Then I can see that the 'Eraser' button is shown as active
- Then I can see that a hint is shown at the bottom center of the map
- When I click on a map border point
- Then I can see that the map border point was removed
- When I click on the 'Eraser' button again
- Then I can see that the 'Eraser' button is shown as inactive
- Then I can see that the hint at the bottom center of the map is not shown anymore
- When I click on a map border point
- Then I can see that the map border point was not removed
- Actual Result: ✔️
- Test Result: ✔️
- Notes: Shift + D can be used instead of clicking the 'Eraser' button Escape can be used instead of clicking the 'Eraser' button again
Add Background Image
- Description: Check whether the maps background image is displayed.
- Given I am on a map page with the base layer active
- When I select a base layer image
- Then I can see the base layer image on the canvas
- Actual Result: ✔️
- Test Result: ✔️
- Notes:
Move Background Image
- Description: Check whether the maps background image is displayed correctly after moving.
- Given I am on a map page with the base layer active
- When I select a base layer image
- When I increase the base layers x position in steps of
- Then I can see the base layer image is moved to the right
- When I decrease the base layers x position in steps of negative (-)
- Then I can see the base layer image is moved to the left
- When I increase the base layers y position in steps of
- Then I can see the base layer image is moved up
- When I decrease the base layers y position in steps of negative (-)
- Then I can see the base layer image is moved down
- Actual Result: Some values are not saved.
- Test Result: ⚠️
- Notes: The following values could not be saved and were reset to the last valid value: 1.09–1.17, 2.17–2.19, and 2.2. This issue was observed in both Firefox and Chromium. Examples: | step |
| 1 | | 1.1 | | 1.11 | | 2.5 | | 5 | | 5.55 |
Autoscaling
- Description: Check whether the maps background image is scaled according to distance entered.
- Given I am on a map page with the base layer active
- When I click on the autoscaling button
- Then I am prompted to select two points with a known distance
- When I click anywhere on the map inside the map bounds
- Then a red dot indicating the selected position appears
- When I select the end of the known distance
- Then a second red dot indicating the second selected position appears and additionally a line connecting the dots appears
- Then a window asking me to enter the selected real-life distance in meters and centimeters appears
- When I enter the value(s) for the distance and click the ok button
- Then the background image is correctly re-scaled to the distance shown in the grid
- Actual Result: ✔️
- Test Result: ✔️
- Notes: Use /Photos/Birdie.jpg for testing. All test users should have access to it.
Drawing Layer
Switch between drawing layers
- Description: Switch between drawing layers
- Given I am on the map page with a drawing layer active
- Given I can select another drawing layer
- When I click on a rectangle of the current layer
- Then I can see that the rectangle is selected
- When I switch to another drawing layer
- When I click on a rectangle of the previous layer
- Then I can see that the rectangle is not selected
- When I click on a rectangle of the current layer
- Then I can see that the rectangle is selected
- Actual Result: ✔️
- Test Result: ✔️
- Notes: Can be repeated for all types of drawings
Diagonally resize shape
- Description: Diagonally resize shape.
- Given I am on the map page with the drawing layer active and a shape selected
- When I drag a corner
- Then I can see that the new shape size has a different ratio of length to width as before
- Actual Result: ✔️
- Test Result: ✔️
- Notes: Repeat this test for all Shape types
Entry and List Seeds
Seed creation
- Description: Adding more entries to the inventory overview.
- Given I am logged in and have already added entries
- When I submit the form for seed creation
- Then I see my newly added entry in the overview
- Actual Result: ✔️
- Test Result: ✔️
- Notes:
Seed creation with more than 30 objects
- Description: After creating 30 seeds, everything should be shown correctly on the overview page.
- Given I am logged in and add 30 valid seeds
- When I go to my inventory
- Then I see all my newly added seeds in the overview
- Actual Result: ✔️
- Test Result: ✔️
- Notes:
Edit seed name
- Description: After renaming a seed, the new name should be visible in the seed overview.
- Given I am logged in and edit a seed name
- When I go to my inventory
- Then I see the new name of the edited seed
- Actual Result: ✔️
- Test Result: ✔️
- Notes:
Archive seed
- Description: After archiving a seed, it should be removed from the overview or marked as archived
- Given I am logged in and archive a seed
- When I go to my inventory
- Then I don't see the archived seed anymore, or it is marked as archived
- Actual Result: ✔️
- Test Result: ✔️
- Notes:
Restore an archived seed
- Description: After restoring an archived seed, it should be added to the overview again
- Given I am logged in and visited the inventory page
- When I archive a seed and then restore it
- Then I see the restored seed again.
- Actual Result: ✔️
- Test Result: ✔️
- Notes:
Additional name on map: plant labels
- Description: Test additional names being displayed properly.
- Given I am on the map page with the plants layer active
- When I create a new plant from the inventory
- Then I can see the additional name on the label when hovering over the plant
- Actual Result: ✔️
- Test Result: ✔️
- Notes: The additional name must also be visible when a different account views the same map in parallel.
Additional name on map: left toolbar
- Description: Test additional names being displayed properly.
- Given I am on the map page with the plants layer active
- When I create a new plant from the inventory
- When I click on the new plant icon.
- Then I can see the additional name in the left toolbars heading
- Actual Result: ✔️
- Test Result: ✔️
- Notes: The additional name must also be visible when a different account views the same map in parallel.
Additional name on map: updates
- Description: Test additional names being displayed properly.
- Given I am on the map page with the plants layer active
- When I create a new plant from the inventory
- When I go to the inventory page and change the seeds name
- Then I can see the changes in the plant label and left toolbar
- Actual Result: ✔️
- Test Result: ✔️
- Notes: The additional name must also be visible when a different account views the same map.
Grid
Grid is Changed on Zoom
- Description: Display a point grid on the screen.
- Given I am on a map page
- When I Zoom in or out
- Then the grid spacing is changing
- Actual Result: ✔️
- Test Result: ✔️
- Notes:
Guided Tour
Map Editor Guided Tour
- Description: Check whether the Guided Tour leaves the Map Editor in its original state.
- Given I am on a map page
- When I do the Guided Tour
- Then after I have done the Guided Tour the map is the same as before
- Actual Result: ✔️
- Test Result: ✔️
- Notes: Check if all actions can be done as described.
Heatmap
Plant layer should be above heatmap
- Description: Verify that the Plant Layer is above the Heatmap Layer
- Given I am on a map page
- When I place some tomatoes on the map
- When I select a potato and try to place it near the tomatoes so that heatmap is shown
- Then I can see that the heatmap is below the plants
- Actual Result: ✔️
- Test Result: ✔️
- Notes:
Change position of plant layer
- Description: Verify that the heatmap changes its position when the plant layer is moved in priority
- Given I am on a map page where plant layer is above an drawing layer
- When I place some tomatoes on the plant layer
- When I draw a filled rectangle on the drawing layer so that it overlaps with the tomatoes
- When I select a potato and try to place it near the tomatoes so that heatmap is shown
- Then I can see that the heatmap is below the plants and above the rectangle
- When I move the plant layer below the drawing layer
- Then I can see that the heatmap is below the rectangle and below the plants
- Actual Result: ✔️
- Test Result: ✔️
- Notes:
All Shade types and Allium ursinum
- Description: Verify heatmap colors for all three shade types for the plant named Wild garlic (Allium ursinum)
- Given I am on a map where three shades are drawn with one being a light shade, one being a partial shade and one being a permanent shade
- When I select the plant with the name "Allium ursinum" for planting in the plant layer
- Then I can see that the heatmap shows green areas for all three shades
- Actual Result: ✔️
- Test Result: ✔️
- Notes:
All Shade types and Allium pendulinum
- Description: Verify heatmap colors for all three shade types for the plant named Allium pendulinum (Allium pendulinum)
- Given I am on a map where three shades are drawn with one being a light shade, one being a partial shade and one being a permanent shade
- When I select the plant with the name "Allium pendulinum" for planting in the plant layer
- Then I can see that the heatmap shows two green areas for light and partial shades and red for the permanent shade
- Actual Result: ✔️
- Test Result: ✔️
- Notes:
All Shade types and Malus domestica
- Description: Verify heatmap colors for all three shade types for the plant named Apple (Malus domestica)
- Given I am on a map where three shades are drawn with one being a light shade, one being a partial shade and one being a permanent shade
- When I select the plant with the name "Malus domestica" for planting in the plant layer
- Then I can see that the heatmap shows one green area for the light shade, orange for the partial shade and red for the permanent shade
- Actual Result: ✔️
- Test Result: ✔️
- Notes:
All Shade types and Tomato
- Description: Verify heatmap colors for all three shade types for the plant named Tomato
- Given I am on a map where three shades are drawn with one being a light shade, one being a partial shade and one being a permanent shade
- When I select the plant with the name "Tomato" for planting in the plant layer
- Then I can see that the heatmap shows red areas for all three shades
- Actual Result: ✔️
- Test Result: ✔️
- Notes:
Negative temporal relation within min duration
- Description: Verify heatmap colors for temporal relation between two plantings of "Allium cepa"
- Given I am on a map where a planting of "Allium cepa" has existed 6 months ago (remove_date = current date - 6 Months)
- When I select the plant with the name "Allium cepa" for planting in the plant layer
- Then I can see that the heatmap shows a red indication on the spot the previous planting of "Allium cepa" has been
- Actual Result: Heatmap is green
- Test Result: ❌
- Notes:
Negative temporal relation exactly at min duration
- Description: Verify heatmap colors for temporal relation between two plantings of "Allium cepa"
- Given I am on a map where a planting of "Allium cepa" has existed 1 year ago (remove_date = current date - 1 year)
- When I select the plant with the name "Allium cepa" for planting in the plant layer
- Then I can see that the heatmap shows an orange indication on the spot the previous planting of "Allium cepa" has been
- Actual Result: No Heatmap
- Test Result: ❌
- Notes:
Negative temporal relation between min and max duration
- Description: Verify heatmap colors for temporal relation between two plantings of "Allium cepa"
- Given I am on a map where a planting of "Allium cepa" has existed 2 years ago (remove_date = current date - 2 years)
- When I select the plant with the name "Allium cepa" for planting in the plant layer
- Then I can see that the heatmap shows an orange indication on the spot the previous planting of "Allium cepa" has been
- Actual Result: No Heatmap
- Test Result: ❌
- Notes:
Negative temporal relation within min duration
- Description: Verify heatmap colors for temporal relation between "Allium fistulosum" and "Allium cepa"
- Given I am on a map where a planting of "Allium fistulosum" has existed 5 months ago (remove_date = current date - 5 months)
- When I select the plant with the name "Allium cepa" for planting in the plant layer
- Then I can see that the heatmap shows a red indication on the spot the previous planting of "Allium fistulosum" has been
- Actual Result: No Heatmap
- Test Result: ❌
- Notes:
Positive temporal relation within min duration
- Description: Verify heatmap colors for temporal relation between plantings of "Allium sativum" and "Lactuca sativa"
- Given I am on a map where a planting of "Allium sativum" has existed 6 months ago (remove_date = current date - 6 months)
- When I select the plant with the name "Lactuca sativa" for planting in the plant layer
- Then I can see that the heatmap shows a green indication on the spot the previous planting of "Allium sativum" has been
- Actual Result: No Heatmap
- Test Result: ❌
- Notes:
Hydrology wet area and Great Water Dock
- Description: Verify heatmap color for hydrology type wet for the plant named Great Water Dock (Rumex hydrolapathum)
- Given I am on a map where a hydrology area is drawn with the type wet
- When I select the plant with the name "Rumex hydrolapathum" for planting in the plant layer
- Then I can see that the heatmap shows a green area for the hydrology area
- Actual Result: ✔️
- Test Result: ✔️
- Notes:
Hydrology wet area and Tomato
- Description: Verify heatmap color for hydrology type wet for the plant named Tomato (Solanum lycopersicum)
- Given I am on a map where a hydrology area is drawn with the type wet
- When I select the plant with the name "Solanum lycopersicum" for planting in the plant layer
- Then I can see that the heatmap shows a red area for the hydrology area
- Actual Result: ✔️
- Test Result: ✔️
- Notes: The soil has to contain enough nutrients and be watered properly.
Soil texture sandy area and Tomato
- Description: Verify heatmap color for soil texture type sandy for the plant named Tomato (Solanum lycopersicum)
- Given I am on a map where a soil texture area is drawn with the type sandy
- When I select the plant with the name "Solanum lycopersicum" for planting in the plant layer
- Then I can see that the heatmap shows a green area for the soil texture area
- Actual Result: ✔️
- Test Result: ✔️
- Notes:
Soil texture clay area and Watermelon
- Description: Verify heatmap color for soil texture type clay for the plant named Watermelon (Citrullus lanatus)
- Given I am on a map where a soil texture area is drawn with the type clay
- When I select the plant with the name "Citrullus lanatus" for planting in the plant layer
- Then I can see that the heatmap shows a red area for the soil texture area
- Actual Result: ✔️
- Test Result: ✔️
- Notes:
Soil texture clay area and Cauliflower
- Description: Verify heatmap color for soil texture type clay for the plant named Cauliflower (Brassica oleracea botrytis)
- Given I am on a map where a soil texture area is drawn with the type clay
- When I select the plant with the name "Brassica oleracea botrytis" for planting in the plant layer
- Then I can see that the heatmap shows a green area for the soil texture area
- Actual Result: ✔️
- Test Result: ✔️
- Notes:
Occupied space with plants in the future
- Description: Verify that the heatmap indicates an occupied space with black
- Given I am on a map where any plant and an area of plants is planted
- When I go into the past one day before these exist and select any plant for planting in the plant layer
- Then I can see that the heatmap shows a black area on the spot these plants will be in the future
- Actual Result: ✔️
- Test Result: ✔️
- Notes:
Inventory
Change Language While Creating a Seed
- Description: Change language while creating a seed
- Given I have selected the English language
- Given I am on the seed entry page
- When I select a plant
- When I change the language to German
- Then the plant name is translated to German
- Actual Result: ✔️
- Test Result: ✔️
- Notes: Should also work when switching from German to English
Layer Management
Initial Order of Layers
- Description: Test initial order of layers.
- When I create a new map
- Then Base Layer is at bottom of layer list and Plant Layer is on top of layer list
- Actual Result: ✔️
- Test Result: ✔️
- Notes:
Correct konva rendering of layer order on new map
- Description: Test correct rendering order of konva layers.
- Given I am on a new map
- When I add a background image in Base Layer
- When I add an overlapping rectangle in Drawing Layer
- When I add an overlapping plant in plant layer
- Then Plant in is front of rectangle and rectangle is in front of background image
- Actual Result: ✔️
- Test Result: ✔️
- Notes:
Renaming of layer
- Description: Test if Drawing Layer can be renamed.
- Given I am on a new map
- When I rename the Drawing Layer
- Then The new name is visible in the layer list
- Actual Result: ✔️
- Test Result: ✔️
- Notes:
Creation of new layer
- Description: Test if new layer can be created.
- Given I am on a new map
- When I select a layer and create a new one
- Then The new layer is visible above currently selected layer
- Actual Result: ✔️
- Test Result: ✔️
- Notes:
Change order of layers
- Description: Test if the order of layers can be updated correctly.
- Given I am on a map with 2 drawing layers with overlapping rectangles
- When I select the upper Drawing Layer and move it below the other one
- Then The order in the layer list is updated and the rectangle of the new upper drawing layer is shown in front of the lower one on the map
- Actual Result: ✔️
- Test Result: ✔️
- Notes:
Delete Drawing Layer
- Description: Test if Drawing Layer can be deleted.
- Given I am on a map with some drawing on a Drawing Layer
- When I delete the Drawing Layer
- Then The layer disappears from layer list and drawings are deleted from map
- Actual Result: ✔️
- Test Result: ✔️
- Notes:
Deletion of Plant Layer not possible
- Description: Test if deletion of Plant layer is disabled.
- Given I am on a new map
- When I select the Plant Layer
- Then Button to delete layer is disabled
- Actual Result: ✔️
- Test Result: ✔️
- Notes:
Deletion of Base Layer not possible
- Description: Test if Deletion of Base layer is disabled.
- Given I am on a new map
- When I select the Base Layer
- Then Button to delete layer is disabled
- Actual Result: ✔️
- Test Result: ✔️
- Notes:
Top layer cannot be moved up
- Description: Test if the top layer cannot be moved up.
- Given I am on a new map
- When I select the top layer
- Then Button to to move layer up is disabled
- Actual Result: ✔️
- Test Result: ✔️
- Notes:
Bottom layer cannot be moved down
- Description: Test if the bottom layer cannot be moved down.
- Given I am on a new map
- When I select the bottom layer
- Then Button to to move layer down is disabled
- Actual Result: ✔️
- Test Result: ✔️
- Notes:
Renaming of Plant Layer not possible
- Description: Test if Renaming of Plant layer is not possible.
- Given I am on a new map
- When I select the Plant Layer
- Then Button to rename layer is disabled
- Actual Result: ✔️
- Test Result: ✔️
- Notes:
Renaming of Base Layer not possible
- Description: Test if Renaming of Base layer is not possible.
- Given I am on a new map
- When I select the Base Layer
- Then Button to rename layer is disabled
- Actual Result: ✔️
- Test Result: ✔️
- Notes:
Layer Visibility
Layer Opacity
- Description: Check whether the opacity of a layer changes.
- Given I am on a map page with a base layer image configured
- When dragging the slider for the base layer in the layer section of the toolbar to 50%
- Then I can see the change in opacity of the base layer image
- When I change the size of the toolbar
- Then I can see the slider and the filling change in size proportionally. Therefore 50% of the slider should be filled
- Actual Result: ✔️
- Test Result: ✔️
- Notes:
Login
Login
- Description: Verify that a user can log in with valid credentials.
- Given I am on the landing page
- When I click on the "Log In" Button
- When I enter valid username and password
- Then I am redirected to the landing page
- And there is "logout" Button now
- Actual Result: ✔️
- Test Result: ✔️
- Notes:
Logout
- Description: Verify that a logged-in user can log out successfully.
- Given I am logged in and on the landing page
- When I click the logout button
- Then I am redirected to the landing page
- Actual Result: ✔️
- Test Result: ✔️
- Notes:
Incorrect Login Credentials
- Description: Verify that login fails with incorrect credentials.
- Given I am on the landing page
- When I click on the "Log In" Button
- When I enter an invalid username or password
- Then I see an error message indicating login failed
- Actual Result: ✔️
- Test Result: ✔️
- Notes:
Map Deletion
Map Deletion
- Description: A map should no longer be available after it has been deleted.
- Given I am on a map overview page
- When I delete a map
- Then the map is no longer available in the overview
- Actual Result: ✔️
- Test Result: ✔️
- Notes:
Map Search
Map Search
- Description: Appropriate maps should be displayed for each search term.
- Given I am on a map overview page
- When I search for a map using the search field
- Then the maps are filtered appropriately
- Actual Result: ✔️
- Test Result: ✔️
- Notes:
Map Overview: More than 30 Layers should be visible
- Description: Test that pagination works on the map overview screen.
- Given I am on the map overview screen
- When I create more than 30 maps
- Then I can see all maps after scrolling to the bottom of the page
- Actual Result: ✔️
- Test Result: ✔️
- Notes:
Map Undo Redo
Undo Redo Planting
- Description: Undo and Redo a Planting to the map.
- Given I am on the map page with the plant layer active
- When I select a plant and place it onto the map
- When I click Undo in the Left Toolbar
- Then I can no longer see the plant
- When I click Redo in the Left Toolbar
- Then I can see the plant again I planted
- Actual Result: ✔️
- Test Result: ✔️
- Notes:
Undo Redo Planting with Keybinding
- Description: Undo and Redo a Planting to the map.
- Given I am on the map page with the plant layer active
- When I select a plant and place it onto the map
- When I press STRG+Z
- Then I can no longer see the plant
- When I click STRG+Y
- Then I can see the plant again I planted
- Actual Result: ✔️
- Test Result: ✔️
- Notes:
Measuring Distances
Measure a distance
- Description: Test whether distance can be measured successfully.
- Given I am on a map page
- When I click on the measurement button
- When I measure a distance
- Then I see a measurement line
- Then I see the measured distance
- Actual Result: ✔️
- Test Result: ✔️
- Notes:
Measurement: Cancel measurement without deleting measurements
- Description: Verify that measured distances don't disappear when the measurement mode is canceled using the button in the status panel.
- Given I am on a map page
- When I click on the measurement button
- When I measure a distance
- When I cancel the measurement mode using the status panel
- Then the measurement layer is no longer active
- Then I can still see the measured distance
- Actual Result: ✔️
- Test Result: ✔️
- Notes:
Measurement: Cancel measurement and delete all measurement lines
- Description: Verify that measured distances disappear when the measurement mode is canceled using the measurement button.
- Given I am on a map page
- When I click on the measurement button
- When I measure a distance
- When I cancel the measurement mode using the measurement button in the toolbar
- Then I can no longer see the measured distance
- Actual Result: ✔️
- Test Result: ✔️
- Notes:
Measurement: Delete measurements after measurement mode is deactivated
- Description: Verify that measured distances don't disappear when the measurement mode is canceled using the button in the status panel.
- Given I am on a map page
- When I click on the measurement button
- When I measure a distance
- When I cancel the measurement mode using the status panel
- When I click on the measurement button
- Then I can no longer see the measured distance
- Actual Result: ✔️
- Test Result: ✔️
- Notes:
Plant Layer
Add Planting
- Description: Add a new Planting to the map.
- Given I am on the map page with the plant layer active
- When I select a plant to add to the map
- Then I can see how many of the same plants are already present on the map, at the current date, in the status panel
- Then the same plants already present on the map, at the current date, are highlighted with an equality marker
- When I click on the map
- Then I can see that a new Planting was added
- When I select the new Planting
- Then I can see in the plant attributes that created at, created by, modified at and modified by are correctly set
- Actual Result: ✔️
- Test Result: ✔️
- Notes: Can be repeated with different plants. Can be repeated in another tab/by another user.
Move Planting
- Description: Move a Planting around the map.
- Given I am on the map page with the plant layer active
- When I drag a planting
- When I drop the planting
- Then I can see that the planting was moved
- When I select the new Planting
- Then I can see in the plant attributes that modified at and modified by are correctly set
- Actual Result: ✔️
- Test Result: ✔️
- Notes: Can be repeated with different plants. Can be repeated in another tab/by another user.
Edit Planting
- Description: Edit an existing Planting on the map.
- Given I am on the map page with the plant layer active
- When I select a plant that is already planted
- Then I can see detailed Information about this plant in the left toolbox
- When I edit the Notes (or any other field)
- Then I can see in the plant attributes that i changed are correctly changed
- Actual Result: ✔️
- Test Result: ✔️
- Notes: Also after reloading the site
Remove Planting
- Description: Remove a existing Planting on the map.
- Given I am on the map page with the plant layer active
- When I select a plant that is already planted
- Then I can see detailed Information about this plant in the left toolbox
- When I edit the "Removed on" date to a date in the past
- Then I can no longer see the plant
- Actual Result: ✔️
- Test Result: ✔️
- Notes:
Delete Planting
- Description: Deleting a existing Planting on the map.
- Given I am on the map page with the plant layer active
- When I select a plant that is already planted
- Then I can see detailed Information about this plant in the left toolbox
- When I click the "Delete planting" Button
- Then I can no longer see the plant
- Actual Result: ✔️
- Test Result: ✔️
- Notes:
Diagonally resize single planting
- Description: Diagonally resize single planting.
- Given I am on the map page with the plant layer active and a single planting selected
- When I drag a corner
- Then I can see that the new plant size has the same ratio of length to width as before
- Actual Result: ✔️
- Test Result: ✔️
Read Only
Go Offline
- Description: Put Browser Offline
- Given I am on a map
- When I put the browser to the offline mode (Firefox: Alt, Datei -> Offline Arbeiten)
- Then I see the message "You are offline. The read-only mode was activated." and everything but measurement is read-only (see other test cases)
- Actual Result: ✔️
- Test Result: ✔️
- Notes:
Search Plants
Plant Search
- Description: Show a selection of plants if the search input is empty.
- Given I am on a map page with the plant layer active
- When I click on the magnifying glass icon next to the plant's title
- When I have an empty search box
- Then I can see various plants as results
- Actual Result: ✔️
- Test Result: ✔️
- Notes:
Shade Layer
Add Shading
- Description: Add a new Shading to the map.
- Given I am on the map page with the shade layer active
- When I click on the 'Light' button
- When I draw on the map
- Then I can see that a new shading was added
- Actual Result: ✔️
- Test Result: ✔️
- Notes: Repeat this test for all Shading types
Remove Shading
- Description: Remove a Shading from the map.
- Given I am on the map page with the shade layer active and a Shading is selected
- When I click on 'Delete shading' in the left toolbar
- Then I can see that a new shading was deleted
- Actual Result: ✔️
- Test Result: ✔️
Edit Shade Type
- Description: Change the shade of a shading.
- Given I am on the map page with the shade layer active and a Shading is selected
- When I select different shade from the drop-down menu in the left toolbar
- Then I can see that the shade is changed successfully
- Actual Result: ✔️
- Test Result: ✔️
- Notes: select each shading type at least once
Set Creation Date in the Future
- Description: Update the date from which the shading should be active
- Given I am on the map page with the shade layer active and a Shading is selected
- When I select the current date in the timeline
- When I select a creation date in the future
- Then I can see that the shading is no longer shown on the map
- Actual Result: ✔️
- Test Result: ✔️
Set Removal Date in the Future
- Description: Update the date from which the shading should be active
- Given I am on the map page with the shade layer active and a Shading is selected
- When I select the current date in the timeline
- When I select a creation date in the past
- When I select a removal date in the future
- Then I can see that the shading is shown on the map
- Actual Result: ✔️
- Test Result: ✔️
Set Removal date in the Past
- Description: Update the date until which the shading should be active
- Given I am on the map page with the shade layer active and a Shading is selected
- When I select the current date in the timeline
- When I select a creation date in the past
- When I select a removal date in the past after the creation date
- Then I can see that the shading is no longer shown on the map
- Actual Result: ✔️
- Test Result: ✔️
Translation
Default Translations English
- Description: Verify default translation strings.
- Given I am in a map and the current language is English
- When I activate the plant labels and add a plant
- Then all strings are in English
- Actual Result: ✔️
- Test Result: ✔️
- Notes:
Default Translations German
- Description: Verify default translation strings.
- Given I am in a map and the current language is German
- When I activate the plant labels and add a plant
- Then all strings are in German
- Actual Result: ✔️
- Test Result: ✔️
- Notes:
Change Translation in Maps
- Description: Verify that a user can switch language in a map and stays in the map.
- Given I am in a map and the current language is English
- When I click on the "en" Drop Down
- When I click "Deutsch"
- Then I am still on the same map
- And all the text is in German now
- Actual Result: ✔️
- Test Result: ✔️
- Notes:
Change Translation on Landingpage
- Description: Verify that a user can switch language on the landing page.
- Given I am on the landing page and the current language is English
- When I click on the "en" Drop Down
- When I click "Deutsch"
- Then I am still on the Landing Page
- And all the text is in German now
- Actual Result: ✔️
- Test Result: ✔️
- Notes:
General
- Tester: Elizaveta Mokshantseva
- Date/Time: 18.07.2025 9:00
- Duration: 2:00
- Commit/Tag: d8f3434687925bd89abbad0c4864f61cda5d9cc9
- Setup: master.permaplant.net
- Planned tests: 84
- Executed tests: 84
- ✔️Passed tests: 77
- ⚠️Problematic tests: 1
- ❌Failed tests: 5
Error Analysis
- Identifying the error: Is it indeed a genuine software defect, or is it a faulty test case, incorrect test execution, etc.?
- Has the error already been identified in previous tests?
- Error specification
- Class 5: Minor deviation
- Priority
- Level 2: Fix in next version
- Level 3: Correction will be done opportunistically
Closing remarks
- How is the current state of the software? Heatmap isn't working correctly, other then that it's alright.
- Have the quality objectives been achieved? For some test I needed to read them twice to understand what I needed to do.
- What are the consequences drawn from the current state, including: how can future errors be avoided, how can the development process be improved? Check if it doesn't do the opposite of the testcase.
Area of Plantings
Add Planting Area
- Description: Add a new area of Planting to the map.
- Given I am on the map page with the plant layer active
- When I select a plant to add to the map
- When I click and drag an area on the map
- Then I can see information about the sizes in a tooltip hovering next to the area of plantings
- Then I can see that a new planting area has been added
- When I select the new area of plantings
- Then I can see in the plant attributes that there is an area of plantings
- Then I can see that the values for Individual Plant Size, Plants per Row, Number of Rows, Total Plants, Length, and Width in "Area of Plantings" are equal to the information shown in the tooltip
- Actual Result: ✔️
- Test Result: ✔️
- Notes:
Move Planting Area
- Description: Move a Planting area around the map.
- Given I am on the map page with the plant layer active
- When I drag a planting area
- When I drop the planting area
- Then I can see that the planting area was moved
- When I select the Planting area
- Then I can see in the plant area attributes that modified at and modified by are correctly set
- Actual Result: ✔️
- Test Result: ✔️
- Notes:
Change Size Planting Area - Drag & Drop
- Description: Edit an existing Planting Area on the map.
- Given I am on the map page with the plant layer active
- When I select a plant area that is already planted
- When I select a corner/edge and drag it around
- Then I can see information about the new sizes as a tooltip hovering next to the area of plantings
- When I stop holding the mousebutton down
- Then I can see that the planting area size has changed
- Then I can see in the plant area attributes that modified at and modified by are correctly set
- Actual Result: ✔️
- Test Result: ✔️
- Notes:
Change Size Planting Area - Change Values
- Description: Edit an existing Planting Area on the map.
- Given I am on the map page with the plant layer active
- When I select a plant area that is already planted
- Then I can see detailed Information about this plant area in the left toolbox
- When I edit the Length or Width
- Then I can see that the planting area size has changed
- Then I can see in the plant area attributes that modified at and modified by are correctly set
- Actual Result: ✔️
- Test Result: ✔️
- Notes:
Base Layer
Move map border point
- Description: Move map border point.
- Given I am on the map page with the base layer active
- When I click on the 'Pointer' button
- Then I can see that the 'Pointer' button is shown as active
- Then I can see that a hint is shown at the bottom center of the map
- When I drag a map border point
- Then I can see that the map border point was moved
- When I click on the 'Pointer' button again
- Then I can see that the 'Pointer' button is shown as inactive
- Then I can see that the hint at the bottom center of the map is not shown anymore
- When I drag a map border point
- Then I can see that the map border point was not moved
- Actual Result: ✔️
- Test Result: ✔️
- Notes: Shift + M can be used instead of clicking the 'Pointer' button Escape can be used instead of clicking the 'Pointer' button again
Add map border point
- Description: Add map border point.
- Given I am on the map page with the base layer active
- When I click on the 'Pencil Plus' button
- Then I can see that the 'Pencil Plus' button is shown as active
- Then I can see that a hint is shown at the bottom center of the map
- When I click on the map border
- Then I can see that a new map border point was added
- When I click on the 'Pencil Plus' button again
- Then I can see that the 'Pencil Plus' button is shown as inactive
- Then I can see that the hint at the bottom center of the map is not shown anymore
- When I click on the map border
- Then I can see that no new map border point was added
- Actual Result: ✔️
- Test Result: ✔️
- Notes: Shift + A can be used instead of clicking the 'Pencil Plus' button Escape can be used instead of clicking the 'Pencil Plus' button again
Remove map border point
- Description: Remove map border point.
- Given I am on the map page with the base layer active
- When I click on the 'Eraser' button
- Then I can see that the 'Eraser' button is shown as active
- Then I can see that a hint is shown at the bottom center of the map
- When I click on a map border point
- Then I can see that the map border point was removed
- When I click on the 'Eraser' button again
- Then I can see that the 'Eraser' button is shown as inactive
- Then I can see that the hint at the bottom center of the map is not shown anymore
- When I click on a map border point
- Then I can see that the map border point was not removed
- Actual Result: ✔️
- Test Result: ✔️
- Notes: Shift + D can be used instead of clicking the 'Eraser' button Escape can be used instead of clicking the 'Eraser' button again
Add Background Image
- Description: Check whether the maps background image is displayed.
- Given I am on a map page with the base layer active
- When I select a base layer image
- Then I can see the base layer image on the canvas
Actual Result: "Failed to fetch directory content. Please try again later." and "Sorry! I couldn't load the image. Please try again later."- Actual Result: ✔️
- Test Result: ✔️
- Notes: Redid test with testuser instead own
Move Background Image
- Description: Check whether the maps background image is displayed correctly after moving.
- Given I am on a map page with the base layer active
- When I select a base layer image
- When I increase the base layers x position in steps of
- Then I can see the base layer image is moved to the right
- When I decrease the base layers x position in steps of negative (-)
- Then I can see the base layer image is moved to the left
- When I increase the base layers y position in steps of
- Then I can see the base layer image is moved up
- When I decrease the base layers y position in steps of negative (-)
- Then I can see the base layer image is moved down
- Actual Result: When y position is increased it moves down, if decreased it moves up.
- Test Result: ⚠️
- Notes:
Examples: | step | | 1 | | 1.1 | | 1.11 | | 2.5 | | 5 | | 5.55 |
Autoscaling
- Description: Check whether the maps background image is scaled according to distance entered.
- Given I am on a map page with the base layer active
- When I click on the autoscaling button
- Then I am prompted to select two points with a known distance
- When I click anywhere on the map inside the map bounds
- Then a red dot indicating the selected position appears
- When I select the end of the known distance
- Then a second red dot indicating the second selected position appears and additionally a line connecting the dots appears
- Then a window asking me to enter the selected real-life distance in meters and centimeters appears
- When I enter the value(s) for the distance and click the ok button
- Then the background image is correctly re-scaled to the distance shown in the grid
- Actual Result: ✔️
- Test Result: ✔️
- Notes: Use /Photos/Birdie.jpg for testing. All test users should have access to it.
Drawing Layer
Switch between drawing layers
- Description: Switch between drawing layers
- Given I am on the map page with a drawing layer active
- Given I can select another drawing layer
- When I click on a rectangle of the current layer
- Then I can see that the rectangle is selected
- When I switch to another drawing layer
- When I click on a rectangle of the previous layer
- Then I can see that the rectangle is not selected
- When I click on a rectangle of the current layer
- Then I can see that the rectangle is selected
- Actual Result: ✔️
- Test Result: ✔️
- Testing Note: would add "Given that a rectangle is on the map"
- Notes: Can be repeated for all types of drawings
Diagonally resize shape
- Description: Diagonally resize shape.
- Given I am on the map page with the drawing layer active and a shape selected
- When I drag a corner
- Then I can see that the new shape size has a different ratio of length to width as before
- Actual Result: ✔️
- Test Result: ✔️
- Notes: Repeat this test for all Shape types
Entry and List Seeds
Seed creation
- Description: Adding more entries to the inventory overview.
- Given I am logged in and have already added entries
- When I submit the form for seed creation
- Then I see my newly added entry in the overview
- Actual Result: ✔️
- Test Result: ✔️
- Notes:
Seed creation with more than 30 objects
- Description: After creating 30 seeds, everything should be shown correctly on the overview page.
- Given I am logged in and add 30 valid seeds
- When I go to my inventory
- Then I see all my newly added seeds in the overview
- Actual Result: ✔️
- Test Result: ✔️
- Notes:
Edit seed name
- Description: After renaming a seed, the new name should be visible in the seed overview.
- Given I am logged in and edit a seed name
- When I go to my inventory
- Then I see the new name of the edited seed
- Actual Result: ✔️
- Test Result: ✔️
- Notes:
Archive seed
- Description: After archiving a seed, it should be removed from the overview or marked as archived
- Given I am logged in and archive a seed
- When I go to my inventory
- Then I don't see the archived seed anymore, or it is marked as archived
- Actual Result: ✔️
- Test Result: ✔️
- Notes:
Restore an archived seed
- Description: After restoring an archived seed, it should be added to the overview again
- Given I am logged in and visited the inventory page
- When I archive a seed and then restore it
- Then I see the restored seed again.
- Actual Result: ✔️
- Test Result: ✔️
- Notes:
Additional name on map: plant labels
- Description: Test additional names being displayed properly.
- Given I am on the map page with the plants layer active
- When I create a new plant from the inventory
- Then I can see the additional name on the label when hovering over the plant
- Actual Result: ✔️
- Test Result: ✔️
- Notes: The additional name must also be visible when a different account views the same map in parallel.
Additional name on map: left toolbar
- Description: Test additional names being displayed properly.
- Given I am on the map page with the plants layer active
- When I create a new plant from the inventory
- When I click on the new plant icon.
- Then I can see the additional name in the left toolbars heading
- Actual Result: ✔️
- Test Result: ✔️
- Notes: The additional name must also be visible when a different account views the same map in parallel.
Additional name on map: updates
- Description: Test additional names being displayed properly.
- Given I am on the map page with the plants layer active
- When I create a new plant from the inventory
- When I go to the inventory page and change the seeds name
- Then I can see the changes in the plant label and left toolbar
- Actual Result: ✔️
- Test Result: ✔️
- Notes: The additional name must also be visible when a different account views the same map.
Grid
Grid is Changed on Zoom
- Description: Display a point grid on the screen.
- Given I am on a map page
- When I Zoom in or out
- Then the grid spacing is changing
- Actual Result: ✔️
- Test Result: ✔️
- Notes:
Guided Tour
Map Editor Guided Tour
- Description: Check whether the Guided Tour leaves the Map Editor in its original state.
- Given I am on a map page
- When I do the Guided Tour
- Then after I have done the Guided Tour the map is the same as before
- Actual Result: Can't test in master.permaplant, as it's to late in the testing line
- Test Result: ?
- Notes: Check if all actions can be done as described.
Heatmap
Plant layer should be above heatmap
- Description: Verify that the Plant Layer is above the Heatmap Layer
- Given I am on a map page
- When I place some tomatoes on the map
- When I select a potato and try to place it near the tomatoes so that heatmap is shown
- Then I can see that the heatmap is below the plants
- Actual Result: ✔️
- Test Result: ✔️
- Notes:
Change position of plant layer
- Description: Verify that the heatmap changes its position when the plant layer is moved in priority
- Given I am on a map page where plant layer is above an drawing layer
- When I place some tomatoes on the plant layer
- When I draw a filled rectangle on the drawing layer so that it overlaps with the tomatoes
- When I select a potato and try to place it near the tomatoes so that heatmap is shown
- Then I can see that the heatmap is below the plants and above the rectangle
- When I move the plant layer below the drawing layer
- Then I can see that the heatmap is below the rectangle and below the plants
- Actual Result: ✔️
- Test Result: ✔️
- Notes:
All Shade types and Allium ursinum
- Description: Verify heatmap colors for all three shade types for the plant named Wild garlic (Allium ursinum)
- Given I am on a map where three shades are drawn with one being a light shade, one being a partial shade and one being a permanent shade
- When I select the plant with the name "Allium ursinum" for planting in the plant layer
- Then I can see that the heatmap shows green areas for all three shades
- Actual Result: ✔️
- Test Result: ✔️
- Notes:
All Shade types and Allium pendulinum
- Description: Verify heatmap colors for all three shade types for the plant named Allium pendulinum (Allium pendulinum)
- Given I am on a map where three shades are drawn with one being a light shade, one being a partial shade and one being a permanent shade
- When I select the plant with the name "Allium pendulinum" for planting in the plant layer
- Then I can see that the heatmap shows two green areas for light and partial shades and red for the permanent shade
- Actual Result: ✔️
- Test Result: ✔️
- Notes:
All Shade types and Malus domestica
- Description: Verify heatmap colors for all three shade types for the plant named Apple (Malus domestica)
- Given I am on a map where three shades are drawn with one being a light shade, one being a partial shade and one being a permanent shade
- When I select the plant with the name "Malus domestica" for planting in the plant layer
- Then I can see that the heatmap shows one green area for the light shade, orange for the partial shade and red for the permanent shade
- Actual Result: ✔️
- Test Result: ✔️
- Notes:
All Shade types and Tomato
- Description: Verify heatmap colors for all three shade types for the plant named Tomato
- Given I am on a map where three shades are drawn with one being a light shade, one being a partial shade and one being a permanent shade
- When I select the plant with the name "Tomato" for planting in the plant layer
- Then I can see that the heatmap shows red areas for all three shades
- Actual Result: ✔️
- Test Result:✔️
- Notes:
Negative temporal relation within min duration
- Description: Verify heatmap colors for temporal relation between two plantings of "Allium cepa"
- Given I am on a map where a planting of "Allium cepa" has existed 6 months ago (remove_date = current date - 6 Months)
- When I select the plant with the name "Allium cepa" for planting in the plant layer
- Then I can see that the heatmap shows a red indication on the spot the previous planting of "Allium cepa" has been
- Actual Result: Set removal date of a "Allium cepa" to 18.03.2025 go to 18.09.2025. Select "Allium cepa". The area is green where the previous "Allium cepa" was.
- Test Result: ❌
- Notes:
Negative temporal relation exactly at min duration
- Description: Verify heatmap colors for temporal relation between two plantings of "Allium cepa"
- Given I am on a map where a planting of "Allium cepa" has existed 1 year ago (remove_date = current date - 1 year)
- When I select the plant with the name "Allium cepa" for planting in the plant layer
- Then I can see that the heatmap shows an orange indication on the spot the previous planting of "Allium cepa" has been
- Actual Result: Set removal date of a "Allium cepa" to 18.09.2024 go to 18.09.2025. Select "Allium cepa". The area is green where the previous "Allium cepa" was.
- Test Result: ❌
- Notes:
Negative temporal relation between min and max duration
- Description: Verify heatmap colors for temporal relation between two plantings of "Allium cepa"
- Given I am on a map where a planting of "Allium cepa" has existed 2 years ago (remove_date = current date - 2 years)
- When I select the plant with the name "Allium cepa" for planting in the plant layer
- Then I can see that the heatmap shows an orange indication on the spot the previous planting of "Allium cepa" has been
- Actual Result: Set removal date of a "Allium cepa" to 18.09.2023 go to 18.09.2025. Select "Allium cepa". The area is green where the previous "Allium cepa" was.
- Test Result: ❌
- Notes:
Negative temporal relation within min duration
- Description: Verify heatmap colors for temporal relation between "Allium fistulosum" and "Allium cepa"
- Given I am on a map where a planting of "Allium fistulosum" has existed 5 months ago (remove_date = current date - 5 months)
- When I select the plant with the name "Allium cepa" for planting in the plant layer
- Then I can see that the heatmap shows a red indication on the spot the previous planting of "Allium fistulosum" has been
- Actual Result: Set removal date of a "Allium fistulosum" to 18.04.2023 go to 18.09.2025. Select "Allium cepa". The area isn't marked anything.
- Test Result: ❌
- Notes:
Positive temporal relation within min duration
- Description: Verify heatmap colors for temporal relation between plantings of "Allium sativum" and "Lactuca sativa"
- Given I am on a map where a planting of "Allium sativum" has existed 6 months ago (remove_date = current date - 6 months)
- When I select the plant with the name "Lactuca sativa" for planting in the plant layer
- Then I can see that the heatmap shows a green indication on the spot the previous planting of "Allium sativum" has been
- Actual Result: Set removal date of a "Allium sativum" to 18.04.2023 go to 18.09.2025. Select "Lactuca sativa". The area isn't marked anything.
- Test Result: ❌
- Notes:
Hydrology wet area and Great Water Dock
- Description: Verify heatmap color for hydrology type wet for the plant named Great Water Dock (Rumex hydrolapathum)
- Given I am on a map where a hydrology area is drawn with the type wet
- When I select the plant with the name "Rumex hydrolapathum" for planting in the plant layer
- Then I can see that the heatmap shows a green area for the hydrology area
- Actual Result: ✔️
- Test Result: ✔️
- Notes:
Hydrology wet area and Tomato
- Description: Verify heatmap color for hydrology type wet for the plant named Tomato (Solanum lycopersicum)
- Given I am on a map where a hydrology area is drawn with the type wet
- When I select the plant with the name "Solanum lycopersicum" for planting in the plant layer
- Then I can see that the heatmap shows a red area for the hydrology area
- Actual Result:✔️
- Test Result: ✔️
- Notes: The soil has to contain enough nutrients and be watered properly.
Soil texture sandy area and Tomato
- Description: Verify heatmap color for soil texture type sandy for the plant named Tomato (Solanum lycopersicum)
- Given I am on a map where a soil texture area is drawn with the type sandy
- When I select the plant with the name "Solanum lycopersicum" for planting in the plant layer
- Then I can see that the heatmap shows a green area for the soil texture area
- Actual Result: ✔️
- Test Result: ✔️
- Notes:
Soil texture clay area and Watermelon
- Description: Verify heatmap color for soil texture type clay for the plant named Watermelon (Citrullus lanatus)
- Given I am on a map where a soil texture area is drawn with the type clay
- When I select the plant with the name "Citrullus lanatus" for planting in the plant layer
- Then I can see that the heatmap shows a red area for the soil texture area
- Actual Result: ✔️
- Test Result: ✔️
- Notes:
Soil texture clay area and Cauliflower
- Description: Verify heatmap color for soil texture type clay for the plant named Cauliflower (Brassica oleracea botrytis)
- Given I am on a map where a soil texture area is drawn with the type clay
- When I select the plant with the name "Brassica oleracea botrytis" for planting in the plant layer
- Then I can see that the heatmap shows a green area for the soil texture area
- Actual Result: ✔️
- Test Result: ✔️
- Notes:
Occupied space with plants in the future
- Description: Verify that the heatmap indicates an occupied space with black
- Given I am on a map where any plant and an area of plants is planted
- When I go into the past one day before these exist and select any plant for planting in the plant layer
- Then I can see that the heatmap shows a black area on the spot these plants will be in the future
- Actual Result: ✔️
- Test Result: ✔️
- Notes:
Inventory
Change Language While Creating a Seed
- Description: Change language while creating a seed
- Given I have selected the English language
- Given I am on the seed entry page
- When I select a plant
- When I change the language to German
- Then the plant name is translated to German
- Actual Result:✔️
- Test Result: ✔️
- Notes: Should also work when switching from German to English
Layer Visibility
Layer Opacity
- Description: Check whether the opacity of a layer changes.
- Given I am on a map page with a base layer image configured
- When dragging the slider for the base layer in the layer section of the toolbar to 50%
- Then I can see the change in opacity of the base layer image
- When I change the size of the toolbar
- Then I can see the slider and the filling change in size proportionally. Therefore 50% of the slider should be filled
- Actual Result: ✔️
- Test Result: ✔️
- Notes:
Layer Management
Initial Order of Layers
- Description: Test initial order of layers.
- When I create a new map
- Then Base Layer is at bottom of layer list and Plant Layer is on top of layer list
- Actual Result: ✔️
- Test Result: ✔️
- Notes:
Correct konva rendering of layer order on new map
- Description: Test correct rendering order of konva layers.
- Given I am on a new map
- When I add a background image in Base Layer
- When I add an overlapping rectangle in Drawing Layer
- When I add an overlapping plant in plant layer
- Then Plant in is front of rectangle and rectangle is in front of background image
- Actual Result: ✔️
- Test Result: ✔️
- Notes:
Renaming of layer
- Description: Test if Drawing Layer can be renamed.
- Given I am on a new map
- When I rename the Drawing Layer
- Then The new name is visible in the layer list
- Actual Result: ✔️
- Test Result: ✔️
- Notes:
Creation of new layer
- Description: Test if new layer can be created.
- Given I am on a new map
- When I select a layer and create a new one
- Then The new layer is visible above currently selected layer
- Actual Result: ✔️
- Test Result: ✔️
- Notes:
Change order of layers
- Description: Test if the order of layers can be updated correctly.
- Given I am on a map with 2 drawing layers with overlapping rectangles
- When I select the upper Drawing Layer and move it below the other one
- Then The order in the layer list is updated and the rectangle of the new upper drawing layer is shown in front of the lower one on the map
- Actual Result: ✔️
- Test Result: ✔️
- Notes:
Delete Drawing Layer
- Description: Test if Drawing Layer can be deleted.
- Given I am on a map with some drawing on a Drawing Layer
- When I delete the Drawing Layer
- Then The layer disappears from layer list and drawings are deleted from map
- Actual Result: ✔️
- Test Result: ✔️
- Notes:
Deletion of Plant Layer not possible
- Description: Test if deletion of Plant layer is disabled.
- Given I am on a new map
- When I select the Plant Layer
- Then Button to delete layer is disabled
- Actual Result: ✔️
- Test Result: ✔️
- Notes:
Deletion of Base Layer not possible
- Description: Test if Deletion of Base layer is disabled.
- Given I am on a new map
- When I select the Base Layer
- Then Button to delete layer is disabled
- Actual Result: ✔️
- Test Result: ✔️
- Notes: The additional name must also be visible when a different account views the same map.
Top layer cannot be moved up
- Description: Test if the top layer cannot be moved up.
- Given I am on a new map
- When I select the top layer
- Then Button to to move layer up is disabled
- Actual Result: ✔️
- Test Result: ✔️
- Notes:
Bottom layer cannot be moved down
- Description: Test if the bottom layer cannot be moved down.
- Given I am on a new map
- When I select the bottom layer
- Then Button to to move layer down is disabled
- Actual Result: ✔️
- Test Result: ✔️
- Notes:
Renaming of Plant Layer not possible
- Description: Test if Renaming of Plant layer is not possible.
- Given I am on a new map
- When I select the Plant Layer
- Then Button to rename layer is disabled
- Actual Result: ✔️
- Test Result: ✔️
- Notes:
Renaming of Base Layer not possible
- Description: Test if Renaming of Base layer is not possible.
- Given I am on a new map
- When I select the Base Layer
- Then Button to rename layer is disabled
- Actual Result: ✔️
- Test Result: ✔️
- Notes:
Login
Login
- Description: Verify that a user can log in with valid credentials.
- Given I am on the landing page
- When I click on the "Log In" Button
- When I enter valid username and password
- Then I am redirected to the landing page
- And there is "logout" Button now
- Actual Result: ✔️
- Test Result: ✔️
- Notes:
Logout
- Description: Verify that a logged-in user can log out successfully.
- Given I am logged in and on the landing page
- When I click the logout button
- Then I am redirected to the landing page
- Actual Result: ✔️
- Test Result: ✔️
- Notes:
Incorrect Login Credentials
- Description: Verify that login fails with incorrect credentials.
- Given I am on the landing page
- When I click on the "Log In" Button
- When I enter an invalid username or password
- Then I see an error message indicating login failed
- Actual Result: ✔️
- Test Result: ✔️
- Notes:
Map Deletion
Map Deletion
- Description: A map should no longer be available after it has been deleted.
- Given I am on a map overview page
- When I delete a map
- Then the map is no longer available in the overview
- Actual Result: ✔️
- Test Result: ✔️
- Notes:
Map Search
Map Search
- Description: Appropriate maps should be displayed for each search term.
- Given I am on a map overview page
- When I search for a map using the search field
- Then the maps are filtered appropriately
- Actual Result: ✔️
- Test Result: ✔️
- Notes:
Map Overview: More than 30 Layers should be visible
- Description: Test that pagination works on the map overview screen.
- Given I am on the map overview screen
- When I create more than 30 maps
- Then I can see all maps after scrolling to the bottom of the page
- Actual Result: ✔️
- Test Result: ✔️
- Notes:
Map Undo Redo
Undo Redo Planting
- Description: Undo and Redo a Planting to the map.
- Given I am on the map page with the plant layer active
- When I select a plant and place it onto the map
- When I click Undo in the Left Toolbar
- Then I can no longer see the plant
- When I click Redo in the Left Toolbar
- Then I can see the plant again I planted
- Actual Result: ✔️
- Test Result: ✔️
- Notes:
Undo Redo Planting with Keybinding
- Description: Undo and Redo a Planting to the map.
- Given I am on the map page with the plant layer active
- When I select a plant and place it onto the map
- When I press STRG+Z
- Then I can no longer see the plant
- When I click STRG+Y
- Then I can see the plant again I planted
- Actual Result: ✔️
- Test Result: ✔️
- Notes:
Measuring Distances
Measure a distance
- Description: Test whether distance can be measured successfully.
- Given I am on a map page
- When I click on the measurement button
- When I measure a distance
- Then I see a measurement line
- Then I see the measured distance
- Actual Result: ✔️
- Test Result: ✔️
- Notes:
Measurement: Cancel measurement without deleting measurements
- Description: Verify that measured distances don't disappear when the measurement mode is canceled using the button in the status panel.
- Given I am on a map page
- When I click on the measurement button
- When I measure a distance
- When I cancel the measurement mode using the status panel
- Then the measurement layer is no longer active
- Then I can still see the measured distance
- Actual Result: ✔️
- Test Result: ✔️
- Notes:
Measurement: Cancel measurement and delete all measurement lines
- Description: Verify that measured distances disappear when the measurement mode is canceled using the measurement button.
- Given I am on a map page
- When I click on the measurement button
- When I measure a distance
- When I cancel the measurement mode using the measurement button in the toolbar
- Then I can no longer see the measured distance
- Actual Result: ✔️
- Test Result: ✔️
- Notes:
Measurement: Delete measurements after measurement mode is deactivated
- Description: Verify that measured distances don't disappear when the measurement mode is canceled using the button in the status panel.
- Given I am on a map page
- When I click on the measurement button
- When I measure a distance
- When I cancel the measurement mode using the status panel
- When I click on the measurement button
- Then I can no longer see the measured distance
- Actual Result: ✔️
- Test Result: ✔️
- Notes:
Plant Layer
Add Planting
- Description: Add a new Planting to the map.
- Given I am on the map page with the plant layer active
- When I select a plant to add to the map
- Then I can see how many of the same plants are already present on the map, at the current date, in the status panel
- Then the same plants already present on the map, at the current date, are highlighted with an equality marker
- When I click on the map
- Then I can see that a new Planting was added
- When I select the new Planting
- Then I can see in the plant attributes that created at, created by, modified at and modified by are correctly set
- Actual Result: ✔️
- Test Result: ✔️
- Notes: Can be repeated with different plants. Can be repeated in another tab/by another user.
Move Planting
- Description: Move a Planting around the map.
- Given I am on the map page with the plant layer active
- When I drag a planting
- When I drop the planting
- Then I can see that the planting was moved
- When I select the new Planting
- Then I can see in the plant attributes that modified at and modified by are correctly set
- Actual Result: ✔️
- Test Result: ✔️
- Notes: Can be repeated with different plants. Can be repeated in another tab/by another user.
Edit Planting
- Description: Edit an existing Planting on the map.
- Given I am on the map page with the plant layer active
- When I select a plant that is already planted
- Then I can see detailed Information about this plant in the left toolbox
- When I edit the Notes (or any other field)
- Then I can see in the plant attributes that i changed are correctly changed
- Actual Result: ✔️
- Test Result: ✔️
- Notes: Also after reloading the site
Remove Planting
- Description: Remove a existing Planting on the map.
- Given I am on the map page with the plant layer active
- When I select a plant that is already planted
- Then I can see detailed Information about this plant in the left toolbox
- When I edit the "Removed on" date to a date in the past
- Then I can no longer see the plant
- Actual Result: ✔️
- Test Result: ✔️
- Notes:
Delete Planting
- Description: Deleting a existing Planting on the map.
- Given I am on the map page with the plant layer active
- When I select a plant that is already planted
- Then I can see detailed Information about this plant in the left toolbox
- When I click the "Delete planting" Button
- Then I can no longer see the plant
- Actual Result: ✔️
- Test Result: ✔️
- Notes:
Diagonally resize single planting
- Description: Diagonally resize single planting.
- Given I am on the map page with the plant layer active and a single planting selected
- When I drag a corner
- Then I can see that the new plant size has the same ratio of length to width as before
- Actual Result: ✔️
- Test Result: ✔️
Diagonally resize area of planting
- Description: Diagonally resize area of planting.
- Given I am on the map page with the plant layer active and an area of plantings selected
- When I drag a corner
- Then I can see that the new area of planting size has a different ratio of length to width as before
- Actual Result: ✔️
- Test Result: ✔️
Read Only
Go Offline
- Description: Put Browser Offline
- Given I am on a map
- When I put the browser to the offline mode (Firefox: Alt, Datei -> Offline Arbeiten)
- Then I see the message "You are offline. The read-only mode was activated." and everything but measurement is read-only (see other test cases)
- Actual Result: ✔️
- Test Result: ✔️
- Notes:
Search Plants
Plant Search
- Description: Show a selection of plants if the search input is empty.
- Given I am on a map page with the plant layer active
- When I click on the magnifying glass icon next to the plant's title
- When I have an empty search box
- Then I can see various plants as results
- Actual Result: ✔️
- Test Result: ✔️
- Notes:
Shade Layer
Add Shading
- Description: Add a new Shading to the map.
- Given I am on the map page with the shade layer active
- When I click on the 'Light' button
- When I draw on the map
- Then I can see that a new shading was added
- Actual Result: ✔️
- Test Result: ✔️
- Notes: Repeat this test for all Shading types
Remove Shading
- Description: Remove a Shading from the map.
- Given I am on the map page with the shade layer active and a Shading is selected
- When I click on 'Delete shading' in the left toolbar
- Then I can see that a new shading was deleted
- Actual Result: ✔️
- Test Result: ✔️
Edit Shade Type
- Description: Change the shade of a shading.
- Given I am on the map page with the shade layer active and a Shading is selected
- When I select different shade from the drop-down menu in the left toolbar
- Then I can see that the shade is changed successfully
- Actual Result: ✔️
- Test Result: ✔️
- Notes: select each shading type at least once
Set Creation Date in the Future
- Description: Update the date from which the shading should be active
- Given I am on the map page with the shade layer active and a Shading is selected
- When I select the current date in the timeline
- When I select a creation date in the future
- Then I can see that the shading is no longer shown on the map
- Actual Result: ✔️
- Test Result: ✔️
Set Removal Date in the Future
- Description: Update the date from which the shading should be active
- Given I am on the map page with the shade layer active and a Shading is selected
- When I select the current date in the timeline
- When I select a creation date in the past
- When I select a removal date in the future
- Then I can see that the shading is shown on the map
- Actual Result: ✔️
- Test Result: ✔️
Set Removal date in the Past
- Description: Update the date until which the shading should be active
- Given I am on the map page with the shade layer active and a Shading is selected
- When I select the current date in the timeline
- When I select a creation date in the past
- When I select a removal date in the past after the creation date
- Then I can see that the shading is no longer shown on the map
- Actual Result: ✔️
- Test Result: ✔️
Translation
Default Translations English
- Description: Verify default translation strings.
- Given I am in a map and the current language is English
- When I activate the plant labels and add a plant
- Then all strings are in English
- Actual Result: ✔️
- Test Result: ✔️
- Notes:
Default Translations German
- Description: Verify default translation strings.
- Given I am in a map and the current language is German
- When I activate the plant labels and add a plant
- Then all strings are in German
- Actual Result: ✔️
- Test Result: ✔️
- Notes:
Change Translation in Maps
- Description: Verify that a user can switch language in a map and stays in the map.
- Given I am in a map and the current language is English
- When I click on the "en" Drop Down
- When I click "Deutsch"
- Then I am still on the same map
- And all the text is in German now
- Actual Result: ✔️
- Test Result: ✔️
- Notes:
Change Translation on Landingpage
- Description: Verify that a user can switch language on the landing page.
- Given I am on the landing page and the current language is English
- When I click on the "en" Drop Down
- When I click "Deutsch"
- Then I am still on the Landing Page
- And all the text is in German now
- Actual Result: ✔️
- Test Result: ✔️
- Notes:
General
- Tester: Paul Bachinger
- Date/Time: 02.09.2025 -- 03.09.2025
- Duration: 10h
- Commit/Tag: f41d507b4d1c2f906110f58a5e0d68f110e01592
- Setup: dev.permaplant.net (without e2e tests running before)
- Planned tests: 94
- Executed tests: -94
- ✅Passed tests: -67
- ⚠️Problematic tests: -7
- ❌Failed tests: -22
Error Analysis
- Identifying the error: Is it indeed a genuine software defect, or is it a faulty test case, incorrect test execution, etc.?
- Has the error already been identified in previous tests?
- Error specification
- Class 1: Faulty specification
- Class 2: System crash
- Class 3: Essential functionality is faulty
- Class 4: Functional deviation or limitation
- Class 5: Minor deviation
- Class 6: Cosmetic issue
- Priority
- Level 1: Immediate resolution
- Level 2: Fix in next version
- Level 3: Correction will be done opportunistically
- Level 4: Correction planning is still open
Issues Found
Move map border point - Button naming discrepancy
- Test case: "Move map border point"
- Issue: Button labeled "Move map border" instead of expected "Edit Map Bounds"
- Functionality: Works correctly
- Error Class: Class 6 (Cosmetic issue)
- Priority: Level 3 (Correction will be done opportunistically)
- Status: Test passed despite UI text discrepancy
Add Background Image - Upload/fetch functionality failure
- Test case: "Add Background Image"
- Issue: "Choose an image" button shows "Failed to fetch directory content. Please try again later." and file upload shows "Couldn't upload the selected file. Please try again later."
- Functionality: Does not work
- Error Class: Class 3 (Essential functionality is faulty)
- Priority: Level 2 (Fix in next version)
- Status: Test failed - core background image functionality broken
Edit seed name - Inventory sorting behavior
- Test case: "Edit seed name"
- Issue: Inventory entries sorted oldest first instead of newest first
- Functionality: Works correctly but UX could be improved
- Error Class: Class 5 (Minor deviation)
- Priority: Level 3 (Correction will be done opportunistically)
- Status: Test passed - functionality works but sorting order is suboptimal
Restore an archived seed - Missing UI guidance
- Test case: "Restore an archived seed"
- Issue: No description or guidance on where to find archived seeds for restoration
- Functionality: Cannot be tested due to unclear UI/workflow
- Error Class: Class 4 (Functional deviation or limitation)
- Priority: Level 2 (Fix in next version)
- Status: Test failed - unable to complete due to missing UI guidance
Plant layer should be above heatmap - Heatmap not displaying
- Test case: "Plant layer should be above heatmap"
- Issue: Heatmap does not show when placing tomatoes and potato, only red lines are visible
- Functionality: Does not work as expected
- Error Class: Class 3 (Essential functionality is faulty)
- Priority: Level 2 (Fix in next version)
- Status: Test failed - heatmap visualization not working properly

All Shade types and Allium ursinum - Incomplete heatmap display
- Test case: "All Shade types and Allium ursinum"
- Issue: Heatmap only shows green for light and partial shade but not for permanent shade (expected: green for all three shades)
- Functionality: Partially works but missing permanent shade visualization
- Error Class: Class 4 (Functional deviation or limitation)
- Priority: Level 2 (Fix in next version)
- Status: Test failed - heatmap missing permanent shade indication
All Shade types and Allium pendulinum - Missing red heatmap
- Test case: "All Shade types and Allium pendulinum"
- Issue: Does not show red heatmap for permanent shade (expected: green for light/partial, red for permanent)
- Functionality: Partially works but missing permanent shade red indication
- Error Class: Class 4 (Functional deviation or limitation)
- Priority: Level 2 (Fix in next version)
- Status: Test failed - heatmap missing red color for permanent shade
Negative temporal relation exactly at min duration - Missing temporal heatmap
- Test case: "Negative temporal relation exactly at min duration"
- Issue: Does not show any heatmap when Allium cepa was removed over one year ago (expected: orange indication)
- Functionality: Does not work for temporal relations at exact duration boundary
- Error Class: Class 3 (Essential functionality is faulty)
- Priority: Level 2 (Fix in next version)
- Status: Test failed - temporal heatmap not showing for 1+ year duration
Negative temporal relation within min duration - Missing red temporal heatmap
- Test case: "Negative temporal relation within min duration"
- Issue: Does not show red heatmap when Allium fistulosum was removed 5 months ago and selecting Allium cepa (expected: red indication)
- Functionality: Does not work for negative temporal relations
- Error Class: Class 3 (Essential functionality is faulty)
- Priority: Level 2 (Fix in next version)
- Status: Test failed - negative temporal heatmap not displaying
Positive temporal relation within min duration - Missing green temporal heatmap
- Test case: "Positive temporal relation within min duration"
- Issue: No green heatmap shown when Allium sativum was removed 6 months ago and selecting Lactuca sativa (expected: green indication)
- Functionality: Does not work for positive temporal relations
- Error Class: Class 3 (Essential functionality is faulty)
- Priority: Level 2 (Fix in next version)
- Status: Test failed - positive temporal heatmap not displaying
Soil texture sandy area and Tomato - Missing soil texture heatmap
- Test case: "Soil texture sandy area and Tomato"
- Issue: Does not show any heatmap for sandy soil texture when selecting Tomato (expected: green area)
- Functionality: Does not work for soil texture heatmap visualization
- Error Class: Class 3 (Essential functionality is faulty)
- Priority: Level 2 (Fix in next version)
- Status: Test failed - soil texture heatmap not displaying
Occupied space with plants in the future - Incorrect black heatmap positioning
- Test case: "Occupied space with plants in the future"
- Issue: Black areas appear random and not correctly positioned where future plants will be (wrong number and placement)
- Functionality: Partially works but positioning/counting is incorrect
- Error Class: Class 4 (Functional deviation or limitation)
- Priority: Level 2 (Fix in next version)
- Status: Test failed - future plant occupation heatmap incorrectly positioned
Antagonist relationships consider hierarchy - Wrong heatmap color
- Test case: "Antagonist relationships consider hierarchy"
- Issue: Heatmap shows orange instead of red for antagonist relationships between Phaseolus vulgaris plants and Allium cepa
- Functionality: Works correctly except for heatmap color
- Error Class: Class 6 (Cosmetic issue)
- Priority: Level 3 (Correction will be done opportunistically)
- Status: Test failed - incorrect heatmap color but functionality works
Map Overview: More than 30 Maps - Strange pagination behavior
- Test case: "Map Overview: More than 30 Maps should be visible"
- Issue: When scrolling to bottom, page jumps to top with loading wheel, requires scrolling down again to see all maps
- Functionality: Works but with poor user experience
- Error Class: Class 5 (Minor deviation)
- Priority: Level 3 (Correction will be done opportunistically)
- Status: Test passed - functionality works but UX could be improved
Undo Redo Planting with Keybinding - Browser interference
- Test case: "Undo Redo Planting with Keybinding"
- Issue: Cmd+Y (Mac) opens Chrome browser history in new tab as side effect
- Functionality: Works but with unwanted browser side effect
- Error Class: Class 5 (Minor deviation)
- Priority: Level 3 (Correction will be done opportunistically)
- Status: Test passed - functionality works but causes browser interference
Planting relations - Wrong ambivalent relation visualization
- Test case: "Planting relations"
- Issue: Ambivalent relation between Allium cepa and Solanum lycopersicum shows green dotted line instead of orange line with dashes and dots
- Functionality: Works but displays wrong visual style for ambivalent relations
- Error Class: Class 3 (Essential functionality is faulty)
- Priority: Level 2 (Fix in next version)
- Status: Test failed - incorrect visual representation of ambivalent plant relationships
Remove Shading - Non-intuitive selection method
- Test case: "Remove Shading"
- Issue: Cannot select shade with mouse click, requires dragging multi-selector over shade to select and delete it
- Functionality: Works but selection method is not intuitive
- Error Class: Class 3 (Essential functionality is faulty)
- Priority: Level 2 (Fix in next version)
- Status: Test passed - functionality works but UX could be more intuitive
Area of Plantings
Add Planting Area
- Description: Add a new area of Planting to the map.
- Given I am on the map page with the plant layer active
- When I select a plant to add to the map
- When I click and drag an area on the map
- Then I can see information about the sizes in a tooltip hovering next to the area of plantings
- Then I can see that a new planting area has been added
- When I select the new area of plantings
- Then I can see in the plant attributes that there is an area of plantings
- Then I can see that the values for Individual Plant Size, Plants per Row, Number of Rows, Total Plants, Length, and Width in "Area of Plantings" are equal to the information shown in the tooltip
- Actual Result:
- Test Result: ✅
- Notes:
Move Planting Area
- Description: Move a Planting area around the map.
- Given I am on the map page with the plant layer active
- When I drag a planting area
- When I drop the planting area
- Then I can see that the planting area was moved
- When I select the Planting area
- Then I can see in the plant area attributes that modified at and modified by are correctly set
- Actual Result:
- Test Result: ✅
- Notes:
Change Size Planting Area - Drag & Drop
- Description: Edit an existing Planting Area on the map.
- Given I am on the map page with the plant layer active
- When I select a plant area that is already planted
- When I select a corner/edge and drag it around
- Then I can see information about the new sizes as a tooltip hovering next to the area of plantings
- When I stop holding the mousebutton down
- Then I can see that the planting area size has changed
- Then I can see in the plant area attributes that modified at and modified by are correctly set
- Actual Result:
- Test Result: ✅
- Notes:
Change Size Planting Area - Change Values
- Description: Edit an existing Planting Area on the map.
- Given I am on the map page with the plant layer active
- When I select a plant area that is already planted
- Then I can see detailed Information about this plant area in the left toolbox
- When I edit the Length or Width
- Then I can see that the planting area size has changed
- Then I can see in the plant area attributes that modified at and modified by are correctly set
- When I set the Length or Width to a non-positive value
- Then I can see that the input is marked in red and the value was not applied
- Actual Result:
- Test Result: ✅
- Notes:
Base Layer
Move map border point
- Description: Move map border point.
- Given I am on the map page with the base layer active
- When I click on the 'Edit Map Bounds' button
- Then I can see that the 'Edit Map Bounds' button is shown as active
- Then I can see that a hint is shown at the bottom center of the map
- When I drag a map border point
- Then I can see that the map border point was moved
- When I click on the 'Edit Map Bounds' button again
- Then I can see that the 'Edit Map Bounds' button is shown as inactive
- Then I can see that the hint at the bottom center of the map is not shown anymore
- When I drag a map border point
- Then I can see that the map border point was not moved
- Actual Result: The Button is called "Move map border"
- Test Result: ⚠️
- Notes: Shift + M can be used instead of clicking the 'Edit Map Bounds' button Escape can be used instead of clicking the 'Edit Map Bounds' button again
Add map border point
- Description: Add map border point.
- Given I am on the map page with the base layer active
- When I click on the 'Pencil Plus' button
- Then I can see that the 'Pencil Plus' button is shown as active
- Then I can see that a hint is shown at the bottom center of the map
- When I click on the map border
- Then I can see that a new map border point was added
- When I click on the 'Pencil Plus' button again
- Then I can see that the 'Pencil Plus' button is shown as inactive
- Then I can see that the hint at the bottom center of the map is not shown anymore
- When I click on the map border
- Then I can see that no new map border point was added
- Actual Result:
- Test Result: ✅
- Notes: Shift + A can be used instead of clicking the 'Pencil Plus' button Escape can be used instead of clicking the 'Pencil Plus' button again
Remove map border point
- Description: Remove map border point.
- Given I am on the map page with the base layer active
- When I click on the 'Eraser' button
- Then I can see that the 'Eraser' button is shown as active
- Then I can see that a hint is shown at the bottom center of the map
- When I click on a map border point
- Then I can see that the map border point was removed
- When I click on the 'Eraser' button again
- Then I can see that the 'Eraser' button is shown as inactive
- Then I can see that the hint at the bottom center of the map is not shown anymore
- When I click on a map border point
- Then I can see that the map border point was not removed
- Actual Result:
- Test Result: ✅
- Notes: Shift + D can be used instead of clicking the 'Eraser' button Escape can be used instead of clicking the 'Eraser' button again
Add Background Image
- Description: Check whether the maps background image is displayed.
- Given I am on a map page with the base layer active
- When I select a base layer image
- Then I can see the base layer image on the canvas
- Actual Result: When pressing Chosse an image button: Failed to fetch directory content. Please try again later. And trying to upload: Couldn't upload the selected file. Please try again later.
- Test Result: ❌
- Notes:
Move Background Image
- Description: Check whether the maps background image is displayed correctly after moving.
- Given I am on a map page with the base layer active
- When I select a base layer image
- When I increase the base layers x position in steps of
- Then I can see the base layer image is moved to the right
- When I decrease the base layers x position in steps of negative (-)
- Then I can see the base layer image is moved to the left
- When I increase the base layers y position in steps of
- Then I can see the base layer image is moved up
- When I decrease the base layers y position in steps of negative (-)
- Then I can see the base layer image is moved down
- Actual Result: Could not be executed as background image does not load
- Test Result: ❌
- Notes:
Examples: | step | | 1 | | 1.1 | | 1.11 | | 2.5 | | 5 | | 5.55 |
Autoscaling
- Description: Check whether the maps background image is scaled according to distance entered.
- Given I am on a map page with the base layer active
- When I click on the autoscaling button
- Then I am prompted to select two points with a known distance
- When I click anywhere on the map inside the map bounds
- Then a red dot indicating the selected position appears
- When I select the end of the known distance
- Then a second red dot indicating the second selected position appears and additionally a line connecting the dots appears
- Then a window asking me to enter the selected real-life distance in meters and centimeters appears
- When I enter the value(s) for the distance and click the ok button
- Then the background image is correctly re-scaled to the distance shown in the grid
- Actual Result: Could not be executed as background image does not load
- Test Result: ❌
- Notes: Use /Photos/Birdie.jpg for testing. All test users should have access to it.
Drawing Layer
Switch between drawing layers
- Description: Switch between drawing layers
- Given I am on the map page with a drawing layer active
- Given I can select another drawing layer
- When I click on a rectangle of the current layer
- Then I can see that the rectangle is selected
- When I switch to another drawing layer
- When I click on a rectangle of the previous layer
- Then I can see that the rectangle is not selected
- When I click on a rectangle of the current layer
- Then I can see that the rectangle is selected
- Actual Result:
- Test Result: ✅
- Notes: Can be repeated for all types of drawings
Diagonally resize shape
- Description: Diagonally resize shape.
- Given I am on the map page with the drawing layer active and a shape selected
- When I drag a corner
- Then I can see that the new shape size has a different ratio of length to width as before
- Actual Result:
- Test Result: ✅
- Notes: Repeat this test for all Shape types
Entry and List Seeds
Seed creation
- Description: Adding more entries to the inventory overview.
- Given I am logged in and have already added entries
- When I submit the form for seed creation
- Then I see my newly added entry in the overview
- Actual Result:
- Test Result: ✅
- Notes:
Seed creation with more than 30 objects
- Description: After creating 30 seeds, everything should be shown correctly on the overview page.
- Given I am logged in and add 30 valid seeds
- When I go to my inventory
- Then I see all my newly added seeds in the overview
- Actual Result:
- Test Result: ✅
- Notes:
Edit seed name
- Description: After renaming a seed, the new name should be visible in the seed overview.
- Given I am logged in and edit a seed name
- When I go to my inventory
- Then I see the new name of the edited seed
- Actual Result: In inventory, when adding or editing seeds, the entries get sorted to be oldest entries first. I think newest entries first would be better.
- Test Result: ⚠️
- Notes:
Archive seed
- Description: After archiving a seed, it should be removed from the overview or marked as archived
- Given I am logged in and archive a seed
- When I go to my inventory
- Then I don't see the archived seed anymore, or it is marked as archived
- Actual Result:
- Test Result: ✅
- Notes:
Restore an archived seed
- Description: After restoring an archived seed, it should be added to the overview again
- Given I am logged in and visited the inventory page
- When I archive a seed and then restore it
- Then I see the restored seed again.
- Actual Result: No description on where to find archived seeds. So I was not able to test restoring.
- Test Result: ❌
- Notes:
Additional name on map: plant labels
- Description: Test additional names being displayed properly.
- Given I am on the map page with the plants layer active
- When I create a new plant from the inventory
- Then I can see the additional name on the label when hovering over the plant
- Actual Result:
- Test Result: ✅
- Notes: The additional name must also be visible when a different account views the same map in parallel.
Additional name on map: left toolbar
- Description: Test additional names being displayed properly.
- Given I am on the map page with the plants layer active
- When I create a new plant from the inventory
- When I click on the new plant icon.
- Then I can see the additional name in the left toolbars heading
- Actual Result:
- Test Result: ✅
- Notes: The additional name must also be visible when a different account views the same map in parallel.
Additional name on map: updates
- Description: Test additional names being displayed properly.
- Given I am on the map page with the plants layer active
- When I create a new plant from the inventory
- When I go to the inventory page and change the seeds name
- Then I can see the changes in the plant label and left toolbar
- Actual Result:
- Test Result: ✅
- Notes: The additional name must also be visible when a different account views the same map.
Grid
Grid is Changed on Zoom
- Description: Display a point grid on the screen.
- Given I am on a map page
- When I Zoom in or out
- Then the grid spacing is changing
- Actual Result:
- Test Result: ✅
- Notes:
Guided Tour
Map Editor Guided Tour
- Description: Check whether the Guided Tour leaves the Map Editor in its original state.
- Given I am on a map page
- When I do the Guided Tour
- Then after I have done the Guided Tour the map is the same as before
- Actual Result:
- Test Result: ✅
- Notes: Check if all actions can be done as described.
Heatmap
Plant layer should be above heatmap
- Description: Verify that the Plant Layer is above the Heatmap Layer
- Given I am on a map page
- When I place some tomatoes on the map
- When I select a potato and try to place it near the tomatoes so that heatmap is shown
- Then I can see that the heatmap is below the plants
- Actual Result: When placing tomatoes and then a potatoe, it does not show a heat maps just the red lines.

- Test Result: ❌
- Notes:
Change position of plant layer
- Description: Verify that the heatmap changes its position when the plant layer is moved in priority
- Given I am on a map page where plant layer is above an drawing layer
- When I place some tomatoes on the plant layer
- When I draw a filled rectangle on the drawing layer so that it overlaps with the tomatoes
- When I select a potato and try to place it near the tomatoes so that heatmap is shown
- Then I can see that the heatmap is below the plants and above the rectangle
- When I move the plant layer below the drawing layer
- Then I can see that the heatmap is below the rectangle and below the plants
- Actual Result:
- Test Result: ❌
- Notes:
All Shade types and Allium ursinum
- Description: Verify heatmap colors for all three shade types for the plant named Wild garlic (Allium ursinum)
- Given I am on a map where three shades are drawn with one being a light shade, one being a partial shade and one being a permanent shade
- When I select the plant with the name "Allium ursinum" for planting in the plant layer
- Then I can see that the heatmap shows green areas for all three shades
- Actual Result: Only shows green heatmap on shades for ligt and partial shade but not for permanent shade.
- Test Result: ❌
- Notes:
All Shade types and Allium pendulinum
- Description: Verify heatmap colors for all three shade types for the plant named Allium pendulinum (Allium pendulinum)
- Given I am on a map where three shades are drawn with one being a light shade, one being a partial shade and one being a permanent shade
- When I select the plant with the name "Allium pendulinum" for planting in the plant layer
- Then I can see that the heatmap shows two green areas for light and partial shades and red for the permanent shade
- Actual Result: Does not show red heatmap for permanent shade.
- Test Result: ❌
- Notes:
All Shade types and Malus domestica
- Description: Verify heatmap colors for all three shade types for the plant named Apple (Malus domestica)
- Given I am on a map where three shades are drawn with one being a light shade, one being a partial shade and one being a permanent shade
- When I select the plant with the name "Malus domestica" for planting in the plant layer
- Then I can see that the heatmap shows one green area for the light shade, orange for the partial shade and red for the permanent shade
- Actual Result: Does not show red heatmap for permanent shade.
- Test Result: ❌
- Notes:
All Shade types and Tomato
- Description: Verify heatmap colors for all three shade types for the plant named Tomato
- Given I am on a map where three shades are drawn with one being a light shade, one being a partial shade and one being a permanent shade
- When I select the plant with the name "Tomato" for planting in the plant layer
- Then I can see that the heatmap shows red areas for all three shades
- Actual Result: Does not show red heatmap for permanent shade.
- Test Result: ❌
- Notes:
Negative temporal relation within min duration
- Description: Verify heatmap colors for temporal relation between two plantings of "Allium cepa"
- Given I am on a map where a planting of "Allium cepa" has existed 6 months ago (remove_date = current date - 6 Months)
- When I select the plant with the name "Allium cepa" for planting in the plant layer
- Then I can see that the heatmap shows a green indication on the spot the previous planting of "Allium cepa" has been
- Actual Result:
- Test Result: ✅
- Notes:
Negative temporal relation exactly at min duration
- Description: Verify heatmap colors for temporal relation between two plantings of "Allium cepa"
- Given I am on a map where a planting of "Allium cepa" has existed 1 year ago (remove_date = current date - 1 year)
- When I select the plant with the name "Allium cepa" for planting in the plant layer
- Then I can see that the heatmap shows an orange indication on the spot the previous planting of "Allium cepa" has been
- Actual Result: Does not show any heatmap if Allium cepa has been removed over one year ago.
- Test Result: ❌
- Notes:
Negative temporal relation between min and max duration
- Description: Verify heatmap colors for temporal relation between two plantings of "Allium cepa"
- Given I am on a map where a planting of "Allium cepa" has existed 2 years ago (remove_date = current date - 2 years)
- When I select the plant with the name "Allium cepa" for planting in the plant layer
- Then I can see that the heatmap shows an orange indication on the spot the previous planting of "Allium cepa" has been
- Actual Result: Does not show any heatmap if Allium cepa has been removed over two year ago.
- Test Result: ❌
- Notes:
Negative temporal relation within min duration
- Description: Verify heatmap colors for temporal relation between "Allium fistulosum" and "Allium cepa"
- Given I am on a map where a planting of "Allium fistulosum" has existed 5 months ago (remove_date = current date - 5 months)
- When I select the plant with the name "Allium cepa" for planting in the plant layer
- Then I can see that the heatmap shows a red indication on the spot the previous planting of "Allium fistulosum" has been
- Actual Result: Does not show any heatmap if Allium fistulosum has been removed over 5 months ago.
- Test Result: ❌
- Notes:
Positive temporal relation within min duration
- Description: Verify heatmap colors for temporal relation between plantings of "Allium sativum" and "Lactuca sativa"
- Given I am on a map where a planting of "Allium sativum" has existed 6 months ago (remove_date = current date - 6 months)
- When I select the plant with the name "Lactuca sativa" for planting in the plant layer
- Then I can see that the heatmap shows a green indication on the spot the previous planting of "Allium sativum" has been
- Actual Result: No read heatmap shown.
- Test Result: ❌
- Notes:
Hydrology wet area and Great Water Dock
- Description: Verify heatmap color for hydrology type wet for the plant named Great Water Dock (Rumex hydrolapathum)
- Given I am on a map where a hydrology area is drawn with the type wet
- When I select the plant with the name "Rumex hydrolapathum" for planting in the plant layer
- Then I can see that the heatmap shows a green area for the hydrology area
- Actual Result:
- Test Result: ✅
- Notes:
Hydrology wet area and Tomato
- Description: Verify heatmap color for hydrology type wet for the plant named Tomato (Solanum lycopersicum)
- Given I am on a map where a hydrology area is drawn with the type wet
- When I select the plant with the name "Solanum lycopersicum" for planting in the plant layer
- Then I can see that the heatmap shows a red area for the hydrology area
- Actual Result:
- Test Result: ✅
- Notes: The soil has to contain enough nutrients and be watered properly.
Soil texture sandy area and Tomato
- Description: Verify heatmap color for soil texture type sandy for the plant named Tomato (Solanum lycopersicum)
- Given I am on a map where a soil texture area is drawn with the type sandy
- When I select the plant with the name "Solanum lycopersicum" for planting in the plant layer
- Then I can see that the heatmap shows a green area for the soil texture area
- Actual Result: Does not show any heatmap
- Test Result: ❌
- Notes:
Soil texture clay area and Watermelon
- Description: Verify heatmap color for soil texture type clay for the plant named Watermelon (Citrullus lanatus)
- Given I am on a map where a soil texture area is drawn with the type clay
- When I select the plant with the name "Citrullus lanatus" for planting in the plant layer
- Then I can see that the heatmap shows a red area for the soil texture area
- Actual Result: Clay shows no heatmap
- Test Result: ❌
- Notes:
Soil texture clay area and Cauliflower
- Description: Verify heatmap color for soil texture type clay for the plant named Cauliflower (Brassica oleracea botrytis)
- Given I am on a map where a soil texture area is drawn with the type clay
- When I select the plant with the name "Brassica oleracea botrytis" for planting in the plant layer
- Then I can see that the heatmap shows a green area for the soil texture area
- Actual Result: Clay shows no heatmap
- Test Result: ❌
- Notes:
Occupied space with plants in the future
- Description: Verify that the heatmap indicates an occupied space with black
- Given I am on a map where any plant and an area of plants is planted
- When I go into the past one day before these exist and select any plant for planting in the plant layer
- Then I can see that the heatmap shows a black area on the spot these plants will be in the future
- Actual Result: Some black areas but they seem random (not the same number of shades as plants or plantareas) and not placed where they should be
- Test Result: ❌
- Notes:
Hierarchy Test Cases
Antagonist relationships consider hierarchy
- Description: Verify that antagonist relationship entries also includes all plants in ranks below than those specified
- Given I am on a map page with the plant layer active
- When I place Common Bean (Phaseolus vulgaris) and Tendergreen (Phaseolus vulgaris 'Tendergreen') on the map
- When I place Onion (Allium cepa) on the map
- Then I can see a red heatmap below both "Phaseolus vulgaris" plants and red lines between them and Onion (Allium cepa)
- When I place Shallot (Allium cepa ascalonicum) on the map
- Then I can see a red heatmap below both "Phaseolus vulgaris" plants and red lines between them and Shallot (Allium cepa ascalonicum)
- Actual Result: Everything works correctly except of the heatmap which is orange instead of red.
- Test Result: ❌
- Notes:
Companion relationships consider hierarchy
- Description: Verify that companion relationship entries also includes all plants in ranks below than those specified
- Given I am on a map page with the plant layer active
- When I place Chili (Capsicum annuum) and Capsicum annuum 'Leon' on the map
- When I place Onion (Allium cepa) on the map
- Then I can see a green heatmap below both "Capsicum annuum" plants and green lines between them and Onion (Allium cepa)
- When I place Shallot (Allium cepa ascalonicum) on the map
- Then I can see a green heatmap below both "Capsicum annuum" plants and green lines between them and Shallot (Allium cepa ascalonicum)
- Actual Result:
- Test Result: ✅
- Notes:
Temporal relationships consider hierarchy
- Description: Verify that temporal relationship entries also includes all plants in ranks below than those specified
- Given I am on a map where Onion (Allium cepa) and Shallot (Allium cepa ascalonicum) have existed 4 months ago (remove_date = current date - 4 Months)
- When I place Solanum lycopersicum on the map
- Then I see a green heatmap where both "Allium cepa" plants used to be
- When I place Solanum lycopersicum 'Rosa' on the map
- Then I see a green heatmap where both "Allium cepa" plants used to be
- Actual Result:
- Test Result: ✅
- Notes:
Inventory
Change Language While Creating a Seed
- Description: Change language while creating a seed
- Given I have selected the English language
- Given I am on the seed entry page
- When I select a plant
- When I change the language to German
- Then the plant name is translated to German
- Actual Result:
- Test Result: ✅
- Notes: Should also work when switching from German to English
Layer Management
Initial Order of Layers
- Description: Test initial order of layers.
- When I create a new map
- Then Base Layer is at bottom of layer list and Plant Layer is on top of layer list
- Actual Result:
- Test Result: ✅
- Notes:
Correct konva rendering of layer order on new map
- Description: Test correct rendering order of konva layers.
- Given I am on a new map
- When I add a background image in Base Layer
- When I add an overlapping rectangle in Drawing Layer
- When I add an overlapping plant in plant layer
- Then Plant in is front of rectangle and rectangle is in front of background image
- Actual Result: Not possible to do as background image functionality is not working.
- Test Result: ❌
- Notes:
Renaming of layer
- Description: Test if Drawing Layer can be renamed.
- Given I am on a new map
- When I rename the Drawing Layer
- Then The new name is visible in the layer list
- Actual Result:
- Test Result: ✅
- Notes:
Creation of new layer
- Description: Test if new layer can be created.
- Given I am on a new map
- When I select a layer and create a new one
- Then The new layer is visible above currently selected layer
- Actual Result:
- Test Result: ✅
- Notes:
Change order of layers
- Description: Test if the order of layers can be updated correctly.
- Given I am on a map with 2 drawing layers with overlapping rectangles
- When I select the upper Drawing Layer and move it below the other one
- Then The order in the layer list is updated and the rectangle of the new upper drawing layer is shown in front of the lower one on the map
- Actual Result:
- Test Result: ✅
- Notes:
Delete Drawing Layer
- Description: Test if Drawing Layer can be deleted.
- Given I am on a map with some drawing on a Drawing Layer
- When I delete the Drawing Layer
- Then The layer disappears from layer list and drawings are deleted from map
- Actual Result: ✅
- Test Result:
- Notes:
Deletion of Plant Layer not possible
- Description: Test if deletion of Plant layer is disabled.
- Given I am on a new map
- When I select the Plant Layer
- Then Button to delete layer is disabled
- Actual Result:
- Test Result: ✅
- Notes:
Deletion of Base Layer not possible
- Description: Test if Deletion of Base layer is disabled.
- Given I am on a new map
- When I select the Base Layer
- Then Button to delete layer is disabled
- Actual Result:
- Test Result: ✅
- Notes:
Top layer cannot be moved up
- Description: Test if the top layer cannot be moved up.
- Given I am on a new map
- When I select the top layer
- Then Button to to move layer up is disabled
- Actual Result:
- Test Result: ✅
- Notes:
Bottom layer cannot be moved down
- Description: Test if the bottom layer cannot be moved down.
- Given I am on a new map
- When I select the bottom layer
- Then Button to to move layer down is disabled
- Actual Result:
- Test Result: ✅
- Notes:
Renaming of Plant Layer not possible
- Description: Test if Renaming of Plant layer is not possible.
- Given I am on a new map
- When I select the Plant Layer
- Then Button to rename layer is disabled
- Actual Result:
- Test Result: ✅
- Notes:
Renaming of Base Layer not possible
- Description: Test if Renaming of Base layer is not possible.
- Given I am on a new map
- When I select the Base Layer
- Then Button to rename layer is disabled
- Actual Result:
- Test Result: ✅
- Notes:
Layer Visibility
Layer Opacity
- Description: Check whether the opacity of a layer changes.
- Given I am on a map page with a base layer image configured
- When dragging the slider for the base layer in the layer section of the toolbar to 50%
- Then I can see the change in opacity of the base layer image
- When I change the size of the toolbar
- Then I can see the slider and the filling change in size proportionally. Therefore 50% of the slider should be filled
- Actual Result: Not possible to do as background image functionality is not working.
- Test Result: ❌
- Notes:
Login
Login
- Description: Verify that a user can log in with valid credentials.
- Given I am on the landing page
- When I click on the "Log In" Button
- When I enter valid username and password
- Then I am redirected to the landing page
- And there is "logout" Button now
- Actual Result:
- Test Result: ✅
- Notes:
Logout
- Description: Verify that a logged-in user can log out successfully.
- Given I am logged in and on the landing page
- When I click the logout button
- Then I am redirected to the landing page
- Actual Result:
- Test Result: ✅
- Notes:
Incorrect Login Credentials
- Description: Verify that login fails with incorrect credentials.
- Given I am on the landing page
- When I click on the "Log In" Button
- When I enter an invalid username or password
- Then I see an error message indicating login failed
- Actual Result:
- Test Result: ✅
- Notes:
Map Deletion
Map Deletion
- Description: A map should no longer be available after it has been deleted.
- Given I am on a map overview page
- When I delete a map
- Then the map is no longer available in the overview
- Actual Result:
- Test Result: ✅
- Notes:
Map Search
Map Search
- Description: Appropriate maps should be displayed for each search term.
- Given I am on a map overview page
- When I search for a map using the search field
- Then the maps are filtered appropriately
- Actual Result:
- Test Result: ✅
- Notes:
Map Overview: More than 30 Maps should be visible
- Description: Test that pagination works on the map overview screen.
- Given I am on the map overview screen
- When I create more than 30 maps
- Then I can see all maps after scrolling to the bottom of the page
- Actual Result: Strange loading behaviour where when reaching the bottom it jumped to the top of the page with a loading wheel. When scroling down again all maps were loaded.
- Test Result: ⚠️
- Notes:
Map Undo Redo
Undo Redo Planting
- Description: Undo and Redo a Planting to the map.
- Given I am on the map page with the plant layer active
- When I select a plant and place it onto the map
- When I click Undo in the Left Toolbar
- Then I can no longer see the plant
- When I click Redo in the Left Toolbar
- Then I can see the plant again I planted
- Actual Result:
- Test Result: ✅
- Notes:
Undo Redo Planting with Keybinding
- Description: Undo and Redo a Planting to the map.
- Given I am on the map page with the plant layer active
- When I select a plant and place it onto the map
- When I press STRG+Z
- Then I can no longer see the plant
- When I click STRG+Y
- Then I can see the plant again I planted
- Actual Result: On mac it is cmd+Z and cmd+Y (the cmd+y does execute but a side effect is it opening in chrome the browser history in a new tab)
- Test Result: ⚠️
- Notes:
Measuring Distances
Measure a distance
- Description: Test whether distance can be measured successfully.
- Given I am on a map page
- When I click on the measurement button
- When I measure a distance
- Then I see a measurement line
- Then I see the measured distance
- Actual Result:
- Test Result: ✅
- Notes:
Measurement: Cancel measurement without deleting measurements
- Description: Verify that measured distances don't disappear when the measurement mode is canceled using the button in the status panel.
- Given I am on a map page
- When I click on the measurement button
- When I measure a distance
- When I cancel the measurement mode using the status panel
- Then the measurement layer is no longer active
- Then I can still see the measured distance
- Actual Result:
- Test Result: ✅
- Notes:
Measurement: Cancel measurement and delete all measurement lines
- Description: Verify that measured distances disappear when the measurement mode is canceled using the measurement button.
- Given I am on a map page
- When I click on the measurement button
- When I measure a distance
- When I cancel the measurement mode using the measurement button in the toolbar
- Then I can no longer see the measured distance
- Actual Result:
- Test Result: ✅
- Notes:
Measurement: Delete measurements after measurement mode is deactivated
- Description: Verify that measured distances don't disappear when the measurement mode is canceled using the button in the status panel.
- Given I am on a map page
- When I click on the measurement button
- When I measure a distance
- When I cancel the measurement mode using the status panel
- When I click on the measurement button
- Then I can no longer see the measured distance
- Actual Result:
- Test Result: ✅
- Notes:
Plant Layer
Add Planting
- Description: Add a new Planting to the map.
- Given I am on the map page with the plant layer active
- When I select a plant to add to the map
- Then I can see how many of the same plants are already present on the map, at the current date, in the status panel
- Then the same plants already present on the map, at the current date, are highlighted with an equality marker
- When I click on the map
- Then I can see that a new Planting was added
- When I select the new Planting
- Then I can see in the plant attributes that created at, created by, modified at and modified by are correctly set
- Actual Result:
- Test Result: ✅
- Notes: Can be repeated with different plants. Can be repeated in another tab/by another user.
Move Planting
- Description: Move a Planting around the map.
- Given I am on the map page with the plant layer active
- When I drag a planting
- When I drop the planting
- Then I can see that the planting was moved
- When I select the new Planting
- Then I can see in the plant attributes that modified at and modified by are correctly set
- Actual Result:
- Test Result: ✅
- Notes: Can be repeated with different plants. Can be repeated in another tab/by another user.
Edit Planting
- Description: Edit an existing Planting on the map.
- Given I am on the map page with the plant layer active
- When I select a plant that is already planted
- Then I can see detailed Information about this plant in the left toolbox
- When I edit the Notes (or any other field)
- Then I can see in the plant attributes that I changed are correctly changed
- Actual Result:
- Test Result: ✅
- Notes: Also after reloading the site
Remove Planting
- Description: Remove a existing Planting on the map.
- Given I am on the map page with the plant layer active
- When I select a plant that is already planted
- Then I can see detailed Information about this plant in the left toolbox
- When I edit the "Removed on" date to a date in the past
- Then I can no longer see the plant
- Actual Result:
- Test Result: ✅
- Notes:
Delete Planting
- Description: Deleting a existing Planting on the map.
- Given I am on the map page with the plant layer active
- When I select a plant that is already planted
- Then I can see detailed Information about this plant in the left toolbox
- When I click the "Delete planting" Button
- Then I can no longer see the plant
- Actual Result:
- Test Result: ✅
- Notes:
Diagonally resize single planting
- Description: Diagonally resize single planting.
- Given I am on the map page with the plant layer active and a single planting selected
- When I drag a corner
- Then I can see that the new plant size has the same ratio of length to width as before
- Actual Result: ✅
- Test Result:
Change Size Plant - Change Values
- Description: Plants are not allowed to have a width of 0 or negative.
- Given I am on the map page with the plant layer active
- When I select a plant that is already planted
- Then I can see detailed Information about this plant in the left toolbox
- When I edit the Width
- Then I can see the plant size has changed
- Then I can see in the plant attributes that the modified at and modified by are correctly set
- When I set the Width to a non-positive value
- Then I can see that the input is marked in red and the value was not applied
- Actual Result:
- Test Result: ✅
- Notes:
Planting relations
- Description: Plants relations show up correctly.
- Given I am on the map page with the plant layer active
- When I select a planting that has a companion relation
- Then I can see green dotted line between selected planting and its companion
- When I select a planting that has an antagonist relation
- Then I can see red dashes line between selected planting and its antagonist
- When I select a planting that has an ambivalent relation
- Then I can see an orange line with dashes and dots between selected plantings and its ambivalent partner
- Actual Result: The ambivalent relation between Allium cepa, Solanum lycopersicum is showing a green dotted line instead of an orange line with dashes and dots.
- Test Result: ⚠️
- Notes: Suggested plant relations for test
- companion: Allium cepa, Cucurbita maxima
- ambivalent: Allium cepa, Solanum lycopersicum
- antagonist: Allium cepa, Vicia faba
Copying plantings
- Description: Cutting plantings on the map.
- Given I am on the map page with the plant layer active
- When I select a planting
- When I copy that planting using the keybinding CTRL + C
- Then I can see that the planting can now be placed on the map using the keybinding CTRL + V
- Actual Result:
- Test Result: ✅
- Notes:
Cutting plantings
- Description: Cutting plantings on the map.
- Given I am on the map page with the plant layer active
- When I select a planting
- When I cut that planting using the keybinding CTRL + X
- Then I can see that the planting was removed from the map and the planting can now be placed on the map using the keybinding CTRL + V
- Actual Result:
- Test Result: ✅
- Notes:
Placing copied plantings
- Description: Placing copied plantings on the map.
- Given I am on the map page with the plant layer active
- When I select a planting with a companion/antagonist/ambivalent relation
- When I copy that planting using the keybinding CTRL + C
- When I enter placing mode using the keybinding CTRL + V
- Then I can see a preview of the copied planting as well as relation lines linking it to all related plantings on the map
- Actual Result:
- Test Result: ✅
- Notes:
Read Only
Go Offline
- Description: Put Browser Offline
- Given I am on a map
- When I put the browser to the offline mode (Firefox: Alt, Datei -> Offline Arbeiten)
- Then I see the message "You are offline. The read-only mode was activated." and everything but measurement is read-only (see other test cases)
- Actual Result:
- Test Result: ✅
- Notes:
Remembering View State of the map
Remembering View State
- Description: Last View of the map (position of map and zoom) get persisted between map visits.
- Given I am on a map page
- When I change what part of the map I am viewing (panning, zooming)
- When I refresh the page, or navigate away from the map and back to it
- Then I see the same map view I previously set
- Actual Result:
- Test Result:
- Notes: ✅
Remembering Layers
- Description: Last settings of the layers in a map (which layers are visible, layer opacity) get persisted between map visits.
- Given I am on a map page
- When I change what layers are visible, change the layer opacity
- When I refresh the page, or navigate away from the map and back to it
- Then I see the same layer settings I previously set
- Actual Result:
- Test Result: ✅
- Notes:
Remembering Drawing Layer settings
- Description: Last settings in a drawing layer in a map (selected tab, color, stroke width, fill pattern) get persisted between map visits.
- Given I am on a map page
- When I select specific tab, color, stroke width, fill pattern on a drawing layer
- When I refresh the page, or navigate away from the map and back to it
- Then I see the same drawing layer settings I previously set
- Actual Result:
- Test Result: ✅
- Notes:
Search Plants
Plant Search
- Description: Show a selection of plants if the search input is empty.
- Given I am on a map page with the plant layer active
- When I click on the magnifying glass icon next to the plant's title
- When I have an empty search box
- Then I can see various plants as results
- Actual Result:
- Test Result: ✅
- Notes:
Shade Layer
Add Shading
- Description: Add a new Shading to the map.
- Given I am on the map page with the shade layer active
- When I click on the 'Light' button
- When I draw on the map
- Then I can see that a new shading was added
- Actual Result:
- Test Result: ✅
- Notes: Repeat this test for all Shading types
Remove Shading
- Description: Remove a Shading from the map.
- Given I am on the map page with the shade layer active and a Shading is selected
- When I click on 'Delete shading' in the left toolbar
- Then I can see that a new shading was deleted
- Actual Result: You are not able to select a shade with a mouse click. You need to drag a multi selector over a shade to be able to select and delte it.
- Test Result: ⚠️
Edit Shade Type
- Description: Change the shade of a shading.
- Given I am on the map page with the shade layer active and a Shading is selected
- When I select different shade from the drop-down menu in the left toolbar
- Then I can see that the shade is changed successfully
- Actual Result:
- Test Result: ✅
- Notes: select each shading type at least once
Set Creation Date in the Future
- Description: Update the date from which the shading should be active
- Given I am on the map page with the shade layer active and a Shading is selected
- When I select the current date in the timeline
- When I select a creation date in the future
- Then I can see that the shading is no longer shown on the map
- Actual Result:
- Test Result: ✅
Set Removal Date in the Future
- Description: Update the date from which the shading should be active
- Given I am on the map page with the shade layer active and a Shading is selected
- When I select the current date in the timeline
- When I select a creation date in the past
- When I select a removal date in the future
- Then I can see that the shading is shown on the map
- Actual Result:
- Test Result: ✅
Set Removal date in the Past
- Description: Update the date until which the shading should be active
- Given I am on the map page with the shade layer active and a Shading is selected
- When I select the current date in the timeline
- When I select a creation date in the past
- When I select a removal date in the past after the creation date
- Then I can see that the shading is no longer shown on the map
- Actual Result:
- Test Result: ✅
Translation
Default Translations English
- Description: Verify default translation strings.
- Given I am in a map and the current language is English
- When I activate the plant labels and add a plant
- Then all strings are in English
- Actual Result:
- Test Result: ✅
- Notes: Use a plant with a common name eg. Tomato
Default Translations German
- Description: Verify default translation strings.
- Given I am in a map and the current language is German
- When I activate the plant labels and add a plant
- Then all strings are in German
- Actual Result:
- Test Result: ✅
- Notes: Use a plant with a common name eg. Tomato
Change Translation in Maps
- Description: Verify that a user can switch language in a map and stays in the map.
- Given I am in a map and the current language is English
- When I click on the "en" Drop Down
- When I click "Deutsch"
- Then I am still on the same map
- And all the text is in German now
- Actual Result:
- Test Result: ✅
- Notes:
Change Translation on Landingpage
- Description: Verify that a user can switch language on the landing page.
- Given I am on the landing page and the current language is English
- When I click on the "en" Drop Down
- When I click "Deutsch"
- Then I am still on the Landing Page
- And all the text is in German now
- Actual Result:
- Test Result: ✅
- Notes:
Closing remarks
-
How is the current state of the software? The software is in a mixed state. While core functionality like layer management, plant operations, translations, and user authentication work well (67/94 tests passed cleanly), there are significant issues with the heatmap system, background image functionality, and various UX problems. The heatmap feature, which is central to permaculture planning, has widespread failures across different plant types, shade conditions, and temporal relations.
-
Have the quality objectives been achieved? Partially. With 71% of tests passing (67 clean + 7 problematic), the software meets basic functionality requirements. However, the 23% failure rate, particularly in core features like heatmaps and background images, indicates that quality objectives have not been fully achieved. The 7 problematic tests highlight UX issues that, while not breaking functionality, impact user experience.
-
What are the consequences drawn from the current state, including: how can future errors be avoided, how can the development process be improved?
- Immediate priority: Fix the heatmap system (multiple Class 3 errors) and background image functionality (Class 3 errors) as these are essential features
- Process improvements: Implement more comprehensive automated testing for heatmap calculations and file upload functionality
- UX focus: Address the 7 problematic areas to improve user experience (button labeling, sorting behaviors, visual representations)
- Testing strategy: Increase focus on integration testing between frontend visualizations and backend data processing
- Documentation: Improve UI guidance for features like archived seed restoration
General
- Tester: Alfons Mueller
- Date/Time: 05.12.2025
- Duration:
- Commit/Tag: e62f690a8bce6fe8251f0b61b72da6d1036d1163
- Setup: master.permaplant
- Planned tests: -117
- Executed tests: -117
- ✅ Passed tests: -109
- ⚠️ Problematic tests: -4
- ❌ Failed tests: -4
Test Status Legend
- ✅ Passed: Test executed successfully, no issues found
- ⚠️ Problematic: Test has blocking dependencies or minor issues
- ❌ Failed: Test failed due to software defects
See Manual Testing Guidelines for detailed definitions and usage rules.
Error Analysis
Archive seed
- Description: After archiving a seed, it should be removed from the overview or marked as archived
- Actual Result: The seed isn't removed from the list immediately but is gone when returning to inventory.
- Test Result: ⚠️
- Notes: Toast giving the option to restore appears correctly. Issue #2375
Restore an archived seed
- Description: After restoring an archived seed, it should be added to the overview again
- Actual Result: The seed is never removed from the list (#2375) but clicking restore makes it so it is still there when reloading/entering the inventory again, though sorting seems random.
- Test Result: ⚠️
- Notes: Issue #2164
Clear "Removed on"/"Added on" date
- Description: Clear the "Removed on"/"Added on" of an existing planting on the map.
- Actual Result: Clearing "Added on" instantly puts the current date
- Test Result: ⚠️
- Notes: Changes should still persist/be cleared after
- Reloading the site
- Switching from and to the selected planting Issue #2377
Map Editor Guided Tour
- Description: Check whether the Guided Tour leaves the Map Editor in its original state.
- Actual Result: A second guided tour opens while I'm still doing the first stopping me from making any progress. This always happens on the step where the user has to change the date. Tested in multiple browsers.
- Test Result: ❌
- Notes: Issue #2364
Negative temporal relation exactly at min duration
- Description: Verify heatmap colors for temporal relation between two plantings of "Allium cepa"
- Actual Result: I can't get the orange heatmap color to show up. 364 days after removal showes green and 365 days no color.
- Test Result: ❌
- Notes: Issue #2056
Negative temporal relation between min and max duration
- Description: Verify heatmap colors for temporal relation between two plantings of "Allium cepa"
- Actual Result: No heatmap color is shown
- Test Result: ❌
- Notes: Issue #2056
Negative temporal relation within min duration
- Description: Verify heatmap colors for temporal relation between "Allium fistulosum" and "Allium cepa"
- Actual Result: Does not show any heatmap
- Test Result: ❌
- Notes: Issue #2056
Closing Remarks
-
How is the current state of the software? Current state is good, only guided tour is really broken. Archiving is not perfect but this was already known.
-
Have the quality objectives been achieved?
-
What are the consequences drawn from the current state, including: how can future errors be avoided, how can the development process be improved? Some testcases (temporal relations) have to be updated.
Guided Tour
⚠️ IMPORTANT: This test must always be executed first and requires a local build (cannot be tested on dev.permaplant.net). If you exit the tour during testing, you must reset your local database to take it again.
Map Editor Guided Tour
- Description: Check whether the Guided Tour leaves the Map Editor in its original state.
- Given I am on a map page
- When I do the Guided Tour
- Then after I have done the Guided Tour the map is the same as before
- Actual Result: A second guided tour opens while I'm still doing the first stopping me from making any progress. This always happens on the step where the user has to change the date. Tested in multiple browsers.
- Test Result: ❌
- Notes: Issue #2364
Area of Plantings
Add Planting Area
- Description: Add a new area of Planting to the map.
- Given I am on the map page with the plant layer active
- When I select a plant to add to the map
- When I click and drag an area on the map
- Then I can see information about the sizes in a tooltip hovering next to the area of plantings
- Then I can see that a new planting area has been added
- When I select the new area of plantings
- Then I can see in the plant attributes that there is an area of plantings
- Then I can see that the values for Individual Plant Size, Plants per Row, Number of Rows, Total Plants, Length, and Width in "Area of Plantings" are equal to the information shown in the tooltip
- Actual Result:
- Test Result: ✅
- Notes:
Move Planting Area
- Description: Move a Planting area around the map.
- Given I am on the map page with the plant layer active
- When I drag a planting area
- When I drop the planting area
- Then I can see that the planting area was moved
- When I select the Planting area
- Then I can see in the plant area attributes that modified at and modified by are correctly set
- Actual Result:
- Test Result: ✅
- Notes:
Change Size Planting Area - Drag & Drop
- Description: Edit an existing Planting Area on the map.
- Given I am on the map page with the plant layer active
- When I select a plant area that is already planted
- When I select a corner/edge and drag it around
- Then I can see information about the new sizes as a tooltip hovering next to the area of plantings
- When I stop holding the mousebutton down
- Then I can see that the planting area size has changed
- Then I can see in the plant area attributes that modified at and modified by are correctly set
- Actual Result:
- Test Result: ✅
- Notes:
Change Size Planting Area - Change Values
- Description: Edit an existing Planting Area on the map.
- Given I am on the map page with the plant layer active
- When I select a plant area that is already planted
- Then I can see detailed Information about this plant area in the left toolbox
- When I edit the Length or Width
- Then I can see that the planting area size has changed
- Then I can see in the plant area attributes that modified at and modified by are correctly set
- When I set the Length or Width to a non-positive value
- Then I can see that the input is marked in red and the value was not applied
- Actual Result:
- Test Result: ✅
- Notes:
Base Layer
Move map border point
- Description: Move map border point.
- Given I am on the map page with the base layer active
- When I click on the 'Edit Map Bounds' button
- Then I can see that the 'Edit Map Bounds' button is shown as active
- Then I can see that a hint is shown at the bottom center of the map
- When I drag a map border point
- Then I can see that the map border point was moved
- When I click on the 'Edit Map Bounds' button again
- Then I can see that the 'Edit Map Bounds' button is shown as inactive
- Then I can see that the hint at the bottom center of the map is not shown anymore
- When I drag a map border point
- Then I can see that the map border point was not moved
- Actual Result:
- Test Result: ✅
- Notes: Shift + M can be used instead of clicking the 'Edit Map Bounds' button Escape can be used instead of clicking the 'Edit Map Bounds' button again
Add map border point
- Description: Add map border point.
- Given I am on the map page with the base layer active
- When I click on the 'Pencil Plus' button
- Then I can see that the 'Pencil Plus' button is shown as active
- Then I can see that a hint is shown at the bottom center of the map
- When I click on the map border
- Then I can see that a new map border point was added
- When I click on the 'Pencil Plus' button again
- Then I can see that the 'Pencil Plus' button is shown as inactive
- Then I can see that the hint at the bottom center of the map is not shown anymore
- When I click on the map border
- Then I can see that no new map border point was added
- Actual Result:
- Test Result: ✅
- Notes: Shift + A can be used instead of clicking the 'Pencil Plus' button Escape can be used instead of clicking the 'Pencil Plus' button again
Remove map border point
- Description: Remove map border point.
- Given I am on the map page with the base layer active
- When I click on the 'Eraser' button
- Then I can see that the 'Eraser' button is shown as active
- Then I can see that a hint is shown at the bottom center of the map
- When I click on a map border point
- Then I can see that the map border point was removed
- When I click on the 'Eraser' button again
- Then I can see that the 'Eraser' button is shown as inactive
- Then I can see that the hint at the bottom center of the map is not shown anymore
- When I click on a map border point
- Then I can see that the map border point was not removed
- Actual Result:
- Test Result: ✅
- Notes: Shift + D can be used instead of clicking the 'Eraser' button Escape can be used instead of clicking the 'Eraser' button again
Select Background Image
- Description: Check whether the maps background image is displayed.
- Given I am on a map page with the base layer active
- When I select a base layer image
- Then I can see the base layer image on the canvas
- Actual Result:
- Test Result: ✅
- Notes:
Background Image default placing
- Description: Check whether the maps background image is placed correctly by default.
- Given I am on a map page with the base layer active
- When I select a base layer image
- When I can see the base layer image on the canvas
- Then the image is centered on the center of the map
- Actual Result:
- Test Result: ✅
- Notes:
Move Background Image
- Description: Check whether the maps background image is displayed correctly after moving.
- Given I am on a map page with the base layer active
- When I select a base layer image
- When I increase the base layers x position in steps of
- Then I can see the base layer image is moved to the right
- When I decrease the base layers x position in steps of negative (-)
- Then I can see the base layer image is moved to the left
- When I increase the base layers y position in steps of
- Then I can see the base layer image is moved up
- When I decrease the base layers y position in steps of negative (-)
- Then I can see the base layer image is moved down
- Actual Result:
- Test Result: ✅
- Notes: This testcas could be improved to better fit the actual UI.
Examples: | step | | 1 | | 1.1 | | 1.11 | | 2.5 | | 5 | | 5.55 |
Autoscaling Background Image
- Description: Check whether the maps background image is scaled according to distance entered.
- Given I am on a map page with the base layer active
- When I click on the autoscaling button
- Then I am prompted to select two points with a known distance
- When I click anywhere on the map inside the map bounds
- Then a red dot indicating the selected position appears
- When I select the end of the known distance
- Then a second red dot indicating the second selected position appears and additionally a line connecting the dots appears
- Then a window asking me to enter the selected real-life distance in meters and centimeters appears
- When I enter the value(s) for the distance and click the ok button
- Then the background image is correctly re-scaled to the distance shown in the grid
- Actual Result:
- Test Result: ✅
- Notes: Use /Photos/Birdie.jpg for testing. All test users should have access to it.
Rotate Background Image
- Description: Check whether the map's background image can be rotated correctly.
- Given I am on a map page with the base layer active
- When I select a base layer image
- When I change the rotation to following degree:
- Then the background image is rotated to match the entered orientation.
- Actual Result:
- Test Result: ✅
- Notes:
Examples: | step | | 15 | | 45 | | 90 | | 180 | | -90 |
Copy & Paste
Copying plantings
- Description: Cutting plantings on the map.
- Given I am on the map page with the plant layer active
- When I select a planting
- When I copy that planting using the keybinding CTRL + C
- Then I can see that the planting can now be placed on the map using the keybinding CTRL + V
- Actual Result:
- Test Result: ✅
- Notes: Repeat this test using only the corresponding toolbox buttons
Cutting plantings
- Description: Cutting plantings on the map.
- Given I am on the map page with the plant layer active
- When I select a planting
- When I cut that planting using the keybinding CTRL + X
- Then I can see that the planting was removed from the map and the planting can now be placed on the map using the keybinding CTRL + V
- Actual Result:
- Test Result: ✅
- Notes: Repeat this test using only the corresponding toolbox buttons
Placing copied plantings
- Description: Placing copied plantings on the map.
- Given I am on the map page with the plant layer active
- When I select a planting with a spatial relation with another planting on the same map
- When I copy that planting using the keybinding CTRL + C
- When I enter placing mode using the keybinding CTRL + V
- Then I can see a preview of the copied planting as well as relation lines linking it to all related plantings on the map
- Actual Result:
- Test Result: ✅
- Notes: Repeat this test using only the corresponding toolbox buttons
Placing copied plantings on different map
- Description: Placing copied plantings on different map.
- Given I am on the map page with the plant layer active
- When I select a planting with a spatial relation with another planting on two maps A and B
- When I copy that planting using the keybinding CTRL + C
- When I navigate to the map overview
- When I navigate to a different map page
- When I enter placing mode using the keybinding CTRL + V
- Then I can see a preview of the copied planting as well as relation lines linking it to all related plantings on the map
- Actual Result:
- Test Result: ✅
- Notes: Repeat this test using only the corresponding toolbox buttons
Drawing Layer
Switch between drawing layers
- Description: Switch between drawing layers
- Given I am on the map page with a drawing layer active
- Given I can select another drawing layer
- When I click on a rectangle of the current layer
- Then I can see that the rectangle is selected
- When I switch to another drawing layer
- When I click on a rectangle of the previous layer
- Then I can see that the rectangle is not selected
- When I click on a rectangle of the current layer
- Then I can see that the rectangle is selected
- Actual Result:
- Test Result:✅
- Notes: Can be repeated for all types of drawings
Diagonally resize shape
- Description: Diagonally resize shape.
- Given I am on the map page with the drawing layer active and a shape selected
- When I drag a corner
- Then I can see that the new shape size has a different ratio of length to width as before
- Actual Result:
- Test Result: ✅
- Notes: Repeat this test for all Shape types
Entry and List Seeds
Seed creation
- Description: Adding more entries to the inventory overview.
- Given I am logged in and have already added entries
- When I submit the form for seed creation
- Then I see my newly added entry in the overview
- Actual Result:
- Test Result: ✅
- Notes:
Seed creation with more than 30 objects
- Description: After creating 30 seeds, everything should be shown correctly on the overview page.
- Given I am logged in and add 30 valid seeds
- When I go to my inventory
- Then I see all my newly added seeds in the overview
- Actual Result:
- Test Result: ✅
- Notes:
Seed editing - Name
- Description: After renaming a seed, the new name should be visible in the seed overview.
- Given I am logged in and edit a seed name
- When I go to my inventory
- Then I see the new name of the edited seed
- Actual Result:
- Test Result: ✅
- Notes:
Seed search
- Description: Verify that searching for an existing seed returns the correct results.
- Given I am logged in and have seeds in my inventory
- When I enter the name of an existing seed in the search bar
- Then I see the matching seed(s) listed in the search results
- Actual Result:
- Test Result: ✅
- Notes: Seeds not including the exact search term also shown. Might be desired behaviour.
Searching seed that does not exist
- Description: Verify that searching for a non-existent seed returns no results.
- Given I am logged in and have seeds in my inventory
- When I enter a name (eg. ----) that does not match any seed in the search bar
- Then I see a message indicating that no seeds were found, or the search results are empty
- Actual Result:
- Test Result: ✅
- Notes:
Archive seed
- Description: After archiving a seed, it should be removed from the overview or marked as archived
- Given I am logged in and archive a seed
- When I go to my inventory
- Then I don't see the archived seed anymore, or it is marked as archived
- Actual Result: The seed isn't removed from the list immediately but is gone when returning to inventory.
- Test Result: ⚠️
- Notes: Toast giving the option to restore appears correctly. Issue #2375
Restore an archived seed
- Description: After restoring an archived seed, it should be added to the overview again
- Given I am logged in and visited the inventory page
- When I archive a seed and then restore it
- Then I see the restored seed again.
- Actual Result: The seed is never removed from the list (#2375) but clicking restore makes it so it is still there when reloading/entering the inventory again, though sorting seems random.
- Test Result: ⚠️
- Notes: Issue #2164
Temporal relationships consider hierarchy
- Description: Verify that temporal relationship entries also includes all plants in ranks below than those specified
- Given I am on a map where Onion (Allium cepa) and Shallot (Allium cepa ascalonicum) have existed 4 months ago (remove_date = current date - 4 Months)
- When I place Solanum lycopersicum on the map
- Then I see a green heatmap where both "Allium cepa" plants used to be
- When I place Solanum lycopersicum 'Rosa' on the map
- Then I see a green heatmap where both "Allium cepa" plants used to be
- Actual Result: Selecting Solanum lycopersicum 'Rosa' shows no heatmap at all but other tomato subtypes (e.g. Solanum lycopersicum 'Raf') work as expected.
- Test Result: ⚠️
- Notes: Issue #2164
Additional name on map: plant labels
- Description: Test additional names being displayed properly.
- Given I am on the map page with the plants layer active
- When I create a new plant from the inventory
- Then I can see the additional name on the label when hovering over the plant
- Actual Result:
- Test Result: ✅
- Notes: The additional name must also be visible when a different account views the same map in parallel.
Additional name on map: left toolbar
- Description: Test additional names being displayed properly.
- Given I am on the map page with the plants layer active
- When I create a new plant from the inventory
- When I click on the new plant icon.
- Then I can see the additional name in the left toolbars heading
- Actual Result:
- Test Result: ✅
- Notes: The additional name must also be visible when a different account views the same map in parallel.
Additional name on map: updates
- Description: Test additional names being displayed properly.
- Given I am on the map page with the plants layer active
- When I create a new plant from the inventory
- When I go to the inventory page and change the seeds name
- Then I can see the changes in the plant label and left toolbar
- Actual Result:
- Test Result: ✅
- Notes: The additional name must also be visible when a different account views the same map.
Grid
Grid is Changed on Zoom
- Description: Display a point grid on the screen.
- Given I am on a map page
- When I Zoom in or out
- Then the grid spacing is changing
- Actual Result:
- Test Result: ✅
- Notes:
Heatmap
Plant layer should be above heatmap
- Description: Verify that the Plant Layer is above the Heatmap Layer
- Given I am on a map page
- When I place some tomatoes on the map
- When I select a potato and try to place it near the tomatoes so that heatmap is shown
- Then I can see that the heatmap is below the plants
- Actual Result:
- Test Result: ✅
- Notes:
Change position of plant layer
- Description: Verify that the heatmap changes its position when the plant layer is moved in priority
- Given I am on a map page where plant layer is above an drawing layer
- When I place some tomatoes on the plant layer
- When I draw a filled rectangle on the drawing layer so that it overlaps with the tomatoes
- When I select a potato and try to place it near the tomatoes so that heatmap is shown
- Then I can see that the heatmap is below the plants and above the rectangle
- When I move the plant layer below the drawing layer
- Then I can see that the heatmap is below the rectangle and below the plants
- Actual Result:
- Test Result: ✅
- Notes:
All Shade types and Allium ursinum
- Description: Verify heatmap colors for all three shade types for the plant named Wild garlic (Allium ursinum)
- Given I am on a map where three shades are drawn with one being a light shade, one being a partial shade and one being a permanent shade
- When I select the plant with the name "Allium ursinum" for planting in the plant layer
- Then I can see that the heatmap shows green areas for all three shades
- Actual Result:
- Test Result:✅
- Notes:
All Shade types and Allium pendulinum
- Description: Verify heatmap colors for all three shade types for the plant named Allium pendulinum (Allium pendulinum)
- Given I am on a map where three shades are drawn with one being a light shade, one being a partial shade and one being a permanent shade
- When I select the plant with the name "Allium pendulinum" for planting in the plant layer
- Then I can see that the heatmap shows two green areas for light and partial shades and red for the permanent shade
- Actual Result:
- Test Result: ✅
- Notes:
All Shade types and Malus domestica
- Description: Verify heatmap colors for all three shade types for the plant named Apple (Malus domestica)
- Given I am on a map where three shades are drawn with one being a light shade, one being a partial shade and one being a permanent shade
- When I select the plant with the name "Malus domestica" for planting in the plant layer
- Then I can see that the heatmap shows one green area for the light shade, orange for the partial shade and red for the permanent shade
- Actual Result:
- Test Result: ✅
- Notes:
All Shade types and Tomato
- Description: Verify heatmap colors for all three shade types for the plant named Tomato
- Given I am on a map where three shades are drawn with one being a light shade, one being a partial shade and one being a permanent shade
- When I select the plant with the name "Tomato" for planting in the plant layer
- Then I can see that the heatmap shows red areas for all three shades
- Actual Result:
- Test Result: ✅
- Notes:
Positive temporal relation within min duration
- Description: Verify heatmap colors for temporal relation between two plantings of "Allium cepa"
- Given I am on a map where a planting of "Allium cepa" has existed 6 months ago (remove_date = current date - 6 Months)
- When I select the plant with the name "Allium cepa" for planting in the plant layer
- Then I can see that the heatmap shows a green indication on the spot the previous planting of "Allium cepa" has been
- Actual Result:
- Test Result: ✅
- Notes:
Negative temporal relation exactly at min duration
- Description: Verify heatmap colors for temporal relation between two plantings of "Allium cepa"
- Given I am on a map where a planting of "Allium cepa" has existed 1 year ago (remove_date = current date - 1 year)
- When I select the plant with the name "Allium cepa" for planting in the plant layer
- Then I can see that the heatmap shows an orange indication on the spot the previous planting of "Allium cepa" has been
- Actual Result: I can't get the orange heatmap color to show up. 364 days after removal showes green and 365 days no color.
- Test Result: ❌
- Notes: Issue #2056
Negative temporal relation between min and max duration
- Description: Verify heatmap colors for temporal relation between two plantings of "Allium cepa"
- Given I am on a map where a planting of "Allium cepa" has existed 2 years ago (remove_date = current date - 2 years)
- When I select the plant with the name "Allium cepa" for planting in the plant layer
- Then I can see that the heatmap shows an orange indication on the spot the previous planting of "Allium cepa" has been
- Actual Result: No heatmap color is shown
- Test Result: ❌
- Notes: Issue #2056
Negative temporal relation within min duration
- Description: Verify heatmap colors for temporal relation between "Allium fistulosum" and "Allium cepa"
- Given I am on a map where a planting of "Allium fistulosum" has existed 5 months ago (remove_date = current date - 5 months)
- When I select the plant with the name "Allium cepa" for planting in the plant layer
- Then I can see that the heatmap shows a red indication on the spot the previous planting of "Allium fistulosum" has been
- Actual Result: Does not show any heatmap
- Test Result: ❌
- Notes: Issue #2056
Positive temporal relation within min duration
- Description: Verify heatmap colors for temporal relation between plantings of "Allium sativum" and "Lactuca sativa"
- Given I am on a map where a planting of "Allium sativum" has existed 6 months ago (remove_date = current date - 6 months)
- When I select the plant with the name "Lactuca sativa" for planting in the plant layer
- Then I can see that the heatmap shows a green indication on the spot the previous planting of "Allium sativum" has been
- Actual Result:
- Test Result: ✅
- Notes: Shows green heatmap spot
Hydrology wet area and Great Water Dock
- Description: Verify heatmap color for hydrology type wet for the plant named Great Water Dock (Rumex hydrolapathum)
- Given I am on a map where a hydrology area is drawn with the type wet
- When I select the plant with the name "Rumex hydrolapathum" for planting in the plant layer
- Then I can see that the heatmap shows a green area for the hydrology area
- Actual Result:
- Test Result: ✅
- Notes:
Hydrology wet area and Tomato
- Description: Verify heatmap color for hydrology type wet for the plant named Tomato (Solanum lycopersicum)
- Given I am on a map where a hydrology area is drawn with the type wet
- When I select the plant with the name "Solanum lycopersicum" for planting in the plant layer
- Then I can see that the heatmap shows a red area for the hydrology area
- Actual Result:
- Test Result: ✅
- Notes: The soil has to contain enough nutrients and be watered properly.
Soil texture sandy area and Tomato
- Description: Verify heatmap color for soil texture type sandy for the plant named Tomato (Solanum lycopersicum)
- Given I am on a map where a soil texture area is drawn with the type sandy
- When I select the plant with the name "Solanum lycopersicum" for planting in the plant layer
- Then I can see that the heatmap shows a green area for the soil texture area
- Actual Result:
- Test Result: ✅
- Notes:
Soil texture clay area and Watermelon
- Description: Verify heatmap color for soil texture type clay for the plant named Watermelon (Citrullus lanatus)
- Given I am on a map where a soil texture area is drawn with the type clay
- When I select the plant with the name "Citrullus lanatus" for planting in the plant layer
- Then I can see that the heatmap shows a red area for the soil texture area
- Actual Result:
- Test Result: ✅
- Notes:
Soil texture clay area and Cauliflower
- Description: Verify heatmap color for soil texture type clay for the plant named Cauliflower (Brassica oleracea botrytis)
- Given I am on a map where a soil texture area is drawn with the type clay
- When I select the plant with the name "Brassica oleracea botrytis" for planting in the plant layer
- Then I can see that the heatmap shows a green area for the soil texture area
- Actual Result:
- Test Result: ✅
- Notes:
Occupied space with plants in the future
- Description: Verify that the heatmap indicates an occupied space with black
- Given I am on a map where any plant and an area of plants is planted
- When I go into the past one day before these exist and select any plant for planting in the plant layer
- Then I can see that the heatmap shows a black area on the spot these plants will be in the future
- Actual Result:
- Test Result: ✅
- Notes:
Spatial relation
- Description: Verify heatmap colors for spatial relations
- Given I am on a map with the plant layer active and a planting of "Allium cepa" exists
- When I select the plant with the name "Cucurbita maxima" for planting
- Then I can see that the heatmap shows a green indication around the existing planting of "Allium cepa"
- When I select the plant with the name "Solanum lycopersicum" for planting
- Then I can see that the heatmap shows an orange indication around the existing planting of "Allium cepa"
- When I select the plant with the name "Vicia faba" for planting
- Then I can see that the heatmap shows a red indication around the existing planting of "Allium cepa"
- Actual Result:
- Test Result: ✅
- Notes:
Hierarchy Test Cases
Antagonist relationships consider hierarchy
- Description: Verify that antagonist relationship entries also includes all plants in ranks below than those specified
- Given I am on a map page with the plant layer active
- When I place Common Bean (Phaseolus vulgaris) and Tendergreen (Phaseolus vulgaris 'Tendergreen') on the map
- When I place Onion (Allium cepa) on the map
- Then I can see a red heatmap below both "Phaseolus vulgaris" plants and red lines between them and Onion (Allium cepa)
- When I place Shallot (Allium cepa ascalonicum) on the map
- Then I can see a red heatmap below both "Phaseolus vulgaris" plants and red lines between them and Shallot (Allium cepa ascalonicum)
- Actual Result:
- Test Result: ✅
- Notes:
Companion relationships consider hierarchy
- Description: Verify that companion relationship entries also includes all plants in ranks below than those specified
- Given I am on a map page with the plant layer active
- When I place Chili (Capsicum annuum) and Capsicum annuum 'Leon' on the map
- When I place Onion (Allium cepa) on the map
- Then I can see a green heatmap below both "Capsicum annuum" plants and green lines between them and Onion (Allium cepa)
- When I place Shallot (Allium cepa ascalonicum) on the map
- Then I can see a green heatmap below both "Capsicum annuum" plants and green lines between them and Shallot (Allium cepa ascalonicum)
- Actual Result:
- Test Result: ✅
- Notes:
Temporal relationships consider hierarchy
- Description: Verify that temporal relationship entries also includes all plants in ranks below than those specified
- Given I am on a map where Onion (Allium cepa) and Shallot (Allium cepa ascalonicum) have existed 4 months ago (remove_date = current date - 4 Months)
- When I place Solanum lycopersicum on the map
- Then I see a green heatmap where both "Allium cepa" plants used to be
- When I place Solanum lycopersicum 'Rosa' on the map
- Then I see a green heatmap where both "Allium cepa" plants used to be
- Actual Result: Selecting Solanum lycopersicum 'Rosa' shows no heatmap at all but other tomato subtypes (e.g. Solanum lycopersicum 'Raf') work as expected.
- Test Result: ⚠️
- Notes: Issue #2164
Attribute inheritance
- Description: Verify that attributes are inherited to lower ranks
- Given that an icon has been set for Allium cepa via an override file and I am on a map with the plant layer active
- When I place Allium cepa, Allium cepa aggregatum and Allium cepa 'Shakespeare'
- Then I see that all three plants have an onion icon
- Actual Result:
- Test Result: ✅
- Notes:
Inventory
Change Language While Creating a Seed
- Description: Change language while creating a seed
- Given I have selected the English language
- Given I am on the seed entry page
- When I select a plant
- When I change the language to German
- Then the plant name is translated to German
- Actual Result:
- Test Result: ✅
- Notes: Should also work when switching from German to English
Layer Management
Initial Order of Layers
- Description: Test initial order of layers.
- When I create a new map
- Then Base Layer is at bottom of layer list and Plant Layer is on top of layer list
- Actual Result:
- Test Result: ✅
- Notes:
Correct konva rendering of layer order on new map
- Description: Test correct rendering order of konva layers.
- Given I am on a new map
- When I add a background image in Base Layer
- When I add an overlapping rectangle in Drawing Layer
- When I add an overlapping plant in plant layer
- Then Plant in is front of rectangle and rectangle is in front of background image
- Actual Result:
- Test Result: ✅
- Notes:
Renaming of layer
- Description: Test if Drawing Layer can be renamed.
- Given I am on a new map
- When I rename the Drawing Layer
- Then The new name is visible in the layer list
- Actual Result:
- Test Result: ✅
- Notes:
Creation of new layer
- Description: Test if new layer can be created.
- Given I am on a new map
- When I select a layer and create a new one
- Then The new layer is visible above currently selected layer
- Actual Result:
- Test Result: ✅
- Notes:
Change order of layers
- Description: Test if the order of layers can be updated correctly.
- Given I am on a map with 2 drawing layers with overlapping rectangles
- When I select the upper Drawing Layer and move it below the other one
- Then The order in the layer list is updated and the rectangle of the new upper drawing layer is shown in front of the lower one on the map
- Actual Result:
- Test Result: ✅
- Notes:
Delete Drawing Layer
- Description: Test if Drawing Layer can be deleted.
- Given I am on a map with some drawing on a Drawing Layer
- When I delete the Drawing Layer
- Then The layer disappears from layer list and drawings are deleted from map
- Actual Result:
- Test Result: ✅
- Notes:
Deletion of Plant Layer not possible
- Description: Test if deletion of Plant layer is disabled.
- Given I am on a new map
- When I select the Plant Layer
- Then Button to delete layer is disabled
- Actual Result:
- Test Result: ✅
- Notes:
Deletion of Base Layer not possible
- Description: Test if Deletion of Base layer is disabled.
- Given I am on a new map
- When I select the Base Layer
- Then Button to delete layer is disabled
- Actual Result:
- Test Result: ✅
- Notes:
Top layer cannot be moved up
- Description: Test if the top layer cannot be moved up.
- Given I am on a new map
- When I select the top layer
- Then Button to to move layer up is disabled
- Actual Result:
- Test Result: ✅
- Notes:
Bottom layer cannot be moved down
- Description: Test if the bottom layer cannot be moved down.
- Given I am on a new map
- When I select the bottom layer
- Then Button to to move layer down is disabled
- Actual Result:
- Test Result: ✅
- Notes:
Renaming of Plant Layer not possible
- Description: Test if Renaming of Plant layer is not possible.
- Given I am on a new map
- When I select the Plant Layer
- Then Button to rename layer is disabled
- Actual Result:
- Test Result: ✅
- Notes:
Renaming of Base Layer not possible
- Description: Test if Renaming of Base layer is not possible.
- Given I am on a new map
- When I select the Base Layer
- Then Button to rename layer is disabled
- Actual Result:
- Test Result: ✅
- Notes:
Layer Visibility
Layer Opacity
- Description: Check whether the opacity of a layer changes.
- Given I am on a map page with a base layer image configured
- When dragging the slider for the base layer in the layer section of the toolbar to 50%
- Then I can see the change in opacity of the base layer image
- When I change the size of the toolbar
- Then I can see the slider and the filling change in size proportionally. Therefore 50% of the slider should be filled
- Actual Result:
- Test Result: ✅
- Notes:
Login
Successful Login
- Description: Verify that a user can log in with valid credentials.
- Given I am on the landing page
- When I click on the "Log In" Button
- When I enter valid username and password
- Then I am redirected to the landing page
- And there is "logout" Button now
- Actual Result:
- Test Result: ✅
- Notes:
Successful Logout
- Description: Verify that a logged-in user can log out successfully.
- Given I am logged in and on the landing page
- When I click the logout button
- Then I am redirected to the landing page
- Actual Result:
- Test Result: ✅
- Notes:
Incorrect Login Credentials
- Description: Verify that login fails with incorrect credentials.
- Given I am on the landing page
- When I click on the "Log In" Button
- When I enter an invalid username or password
- Then I see an error message indicating login failed
- Actual Result:
- Test Result: ✅
- Notes:
Map Creation
Successful map creation
- Description: Verify that a new map can be created successfully.
- Given I am logged in and on the map creation page
- When I enter valid information for a new map and submit the form
- Then the new map is created and appears in my map overview
- Actual Result:
- Test Result: ✅
- Notes:
Edit existing Map
- Description: Verify that an existing map can be edited.
- Given I am logged in and have at least one map
- When I select a map and edit its details
- Then the changes are saved and reflected in the map overview
- Actual Result:
- Test Result:✅
- Notes:
Map already exists
- Description: Verify that creating a map with a name that already exists is not allowed.
- Given I am logged in and have already created a map with a specific name
- When I try to create another map with the same name
- Then I see an error message indicating that the map already exists, and the map is not created
- Actual Result:
- Test Result: ✅
- Notes:
Map Overview: More than 30 Maps should be visible
- Description: Test that pagination works on the map overview screen.
- Given I am on the map overview screen
- When I create more than 30 maps
- Then I can see all maps after scrolling to the bottom of the page
- Actual Result:
- Test Result: ✅
- Notes:
Map Deletion
Map Deletion
- Description: A map should no longer be available after it has been deleted.
- Given I am on a map overview page
- When I delete a map
- Then the map is no longer available in the overview
- Actual Result:
- Test Result: ✅
- Notes:
Map Search
Map Search
- Description: Appropriate maps should be displayed for each search term.
- Given I am on a map overview page
- When I search for a map using the search field
- Then the maps are filtered appropriately
- Actual Result:
- Test Result: ✅
- Notes:
Map Timeline
Hide Timeline
- Description: Timeline can be hidden through a toggle.
- Given I am on a map page
- When I click on the timeline toggle
- Then I see that timeline is not visible anymore
- Actual Result:
- Test Result: ✅
- Notes:
Remembering Timeline settings
- Description: Last settings of a map timeline (visibility) get persisted between page visits.
- Given I am on a map page
- When I select specific visibility for the map timeline
- When I refresh the page
- Then I see the timeline settings I previously set
- Actual Result:
- Test Result: ✅
- Notes:
Map Toolbar
Adjust Toolbar Height
- Description: Toolbar height can be adjusted by dragging.
- Given I am on a map page
- When I drag the horizontal handle of the toolbar
- Then I see that the height of the toolbar has changed
- Actual Result:
- Test Result: ✅
- Notes:
Adjust Toolbar Width
- Description: Toolbar width can be adjusted by dragging.
- Given I am on a map page
- When I drag the vertical handle of the toolbar
- Then I see that the width of the toolbar has changed
- Actual Result:
- Test Result: ✅
- Notes:
Hide Toolbar
- Description: Toolbar can be hidden through a toggle.
- Given I am on a map page
- When I click on the toolbar toggle
- Then I see that toolbar is not visible anymore
- Actual Result:
- Test Result: ✅
- Notes:
Remembering Toolbar settings
- Description: Last settings of a map toolbar (height, width, visibility) get persisted between page visits.
- Given I am on a map page
- When I select specific height, width, visibility for a map toolbar
- When I refresh the page
- Then I see the same toolbar settings I previously set
- Actual Result:
- Test Result: ✅
- Notes:
Map Undo Redo
Undo Planting
- Description: Undo a Planting to the map.
- Given I am on the map page with the plant layer active
- When I select a plant and place it onto the map
- When I click Undo in the Left Toolbar
- Then I can no longer see the plant
- Actual Result:
- Test Result: ✅
- Notes: Changed this testcase to only test undo (was duplicate of undo redo before)
Undo Redo Planting
- Description: Undo and Redo a Planting to the map.
- Given I am on the map page with the plant layer active
- When I select a plant and place it onto the map
- When I click Undo in the Left Toolbar
- Then I can no longer see the plant
- When I click Redo in the Left Toolbar
- Then I can see the plant again I planted
- Actual Result:
- Test Result: ✅
- Notes:
Undo Redo Planting with Keybinding
- Description: Undo and Redo a Planting to the map.
- Given I am on the map page with the plant layer active
- When I select a plant and place it onto the map
- When I press STRG+Z
- Then I can no longer see the plant
- When I click STRG+Y
- Then I can see the plant again I planted
- Actual Result:
- Test Result: ✅
- Notes:
Successful undo deletion
- Description: Verify that deleting an item from the map can be undone successfully.
- Given I am on the map page with the plant layer active and there is at least one plant on the map
- When I delete a plant from the map
- Then the plant is removed from the map
- When I click Undo in the Left Toolbar
- Then the deleted plant reappears on the map
- Actual Result:
- Test Result: ✅
- Notes:
Measuring Distances
Measure a distance
- Description: Test whether distance can be measured successfully.
- Given I am on a map page
- When I click on the measurement button
- When I measure a distance
- Then I see a measurement line
- Then I see the measured distance
- Actual Result:
- Test Result: ✅
- Notes:
Measurement: Cancel measurement without deleting measurements
- Description: Verify that measured distances don't disappear when the measurement mode is canceled using the button in the status panel.
- Given I am on a map page
- When I click on the measurement button
- When I measure a distance
- When I cancel the measurement mode using the status panel
- Then the measurement layer is no longer active
- Then I can still see the measured distance
- Actual Result:
- Test Result: ✅
- Notes:
Measurement: Cancel measurement and delete all measurement lines
- Description: Verify that measured distances disappear when the measurement mode is canceled using the measurement button.
- Given I am on a map page
- When I click on the measurement button
- When I measure a distance
- When I cancel the measurement mode using the measurement button in the toolbar
- Then I can no longer see the measured distance
- Actual Result:
- Test Result: ✅
- Notes:
Measurement: Delete measurements after measurement mode is deactivated
- Description: Verify that measured distances don't disappear when the measurement mode is canceled using the button in the status panel.
- Given I am on a map page
- When I click on the measurement button
- When I measure a distance
- When I cancel the measurement mode using the status panel
- When I click on the measurement button
- Then I can no longer see the measured distance
- Actual Result:
- Test Result: ✅
- Notes:
Measurement: Cancel measurement by selecting other layer
- Description: Verify that measured distances don't disappear when measurement gets cancelled by selecting a different layer.
- Given I am on a map page
- When I click on the measurement button
- When I measure a distance
- When I select a different Layer from the layer list
- Then the measurement layer is no longer active
- Then I can still see the measured distance
- Actual Result:
- Test Result: ✅
- Notes:
Multi Select
Successfully selecting plants - Shift Click
- Description: Verify that multiple plants can be selected at once.
- Given I am on the map page with the plant layer active and there are multiple plants on the map
- When I hold the Shift key and click on several plants
- Then all selected plants are highlighted or indicated as selected
- Actual Result:
- Test Result: ✅
- Notes:
Successfully selecting plants - Drag&Drop
- Description: Verify that multiple plants can be selected at once using drag and drop.
- Given I am on the map page with the plant layer active and there are multiple plants on the map
- When I click and hold the mouse button, then drag to draw a selection box around several plants
- Then all plants within the selection box are highlighted or indicated as selected
- Actual Result:
- Test Result: ✅
- Notes:
Plant Layer
Add Planting
- Description: Add a new Planting to the map.
- Given I am on the map page with the plant layer active
- When I select a plant to add to the map
- Then I can see how many of the same plants are already present on the map, at the current date, in the status panel
- Then the same plants already present on the map, at the current date, are highlighted with an equality marker
- When I click on the map
- Then I can see that a new Planting was added
- When I select the new Planting
- Then I can see in the plant attributes that created at, created by, modified at and modified by are correctly set
- Actual Result:
- Test Result: ✅
- Notes: Can be repeated with different plants. Can be repeated in another tab/by another user.
Move Planting
- Description: Move a Planting around the map.
- Given I am on the map page with the plant layer active
- When I drag a planting
- When I drop the planting
- Then I can see that the planting was moved
- When I select the new Planting
- Then I can see in the plant attributes that modified at and modified by are correctly set
- Actual Result:
- Test Result: ✅
- Notes: Can be repeated with different plants. Can be repeated in another tab/by another user.
Edit Planting
- Description: Edit an existing Planting on the map.
- Given I am on the map page with the plant layer active
- When I select a plant that is already planted
- Then I can see detailed Information about this plant in the left toolbox
- When I edit the Notes (or any other field)
- Then I can see in the plant attributes that I changed are correctly changed
- Actual Result:
- Test Result: ✅
- Notes: Also after reloading the site
Remove Planting
- Description: Remove a existing Planting on the map.
- Given I am on the map page with the plant layer active
- When I select a plant that is already planted
- Then I can see detailed Information about this plant in the left toolbox
- When I edit the "Removed on" date to a date in the past
- Then I can no longer see the plant
- Actual Result:
- Test Result: ✅
- Notes:
Clear "Removed on"/"Added on" date
- Description: Clear the "Removed on"/"Added on" of an existing planting on the map.
- Given I am on the map page with the plant layer active
- When I select a plant that is already planted and has a valid "Removed on"/"Added on" date
- Then I clear the "Removed on"/"Added on" date
- Then I have a valid Planting without the previous date
- Actual Result: Clearing "Added on" instantly puts the current date
- Test Result: ⚠️
- Notes: Changes should still persist/be cleared after
- Reloading the site
- Switching from and to the selected planting Issue #2377
Delete Planting
- Description: Deleting a existing Planting on the map.
- Given I am on the map page with the plant layer active
- When I select a plant that is already planted
- Then I can see detailed Information about this plant in the left toolbox
- When I click the "Delete planting" Button
- Then I can no longer see the plant
- Actual Result:
- Test Result: ✅
- Notes:
Diagonally resize single planting
- Description: Diagonally resize single planting.
- Given I am on the map page with the plant layer active and a single planting selected
- When I drag a corner
- Then I can see that the new plant size has the same ratio of length to width as before
- Actual Result:
- Test Result: ✅
Change Size Plant - Change Values
- Description: Plants are not allowed to have a width of 0 or negative.
- Given I am on the map page with the plant layer active
- When I select a plant that is already planted
- Then I can see detailed Information about this plant in the left toolbox
- When I edit the Width
- Then I can see the plant size has changed
- Then I can see in the plant attributes that the modified at and modified by are correctly set
- When I set the Width to a non-positive value
- Then I can see that the input is marked in red and the value was not applied
- Actual Result:
- Test Result: ✅
- Notes:
Planting relations
- Description: Plants relations show up correctly.
- Given I am on the map page with the plant layer active
- When I select a planting that has a companion relation
- Then I can see green dotted line between selected planting and its companion
- When I select a planting that has an antagonist relation
- Then I can see red dashes line between selected planting and its antagonist
- When I select a planting that has an ambivalent relation
- Then I can see an orange line with dashes and dots between selected plantings and its ambivalent partner
- Actual Result:
- Test Result: ✅
- Notes: Suggested plant relations for test
- companion: Allium cepa, Cucurbita maxima
- ambivalent: Allium cepa, Solanum lycopersicum
- antagonist: Allium cepa, Vicia faba
Read Only
Go Offline
- Description: Put Browser Offline
- Given I am on a map
- When I put the browser to the offline mode (Firefox: Alt, Datei -> Offline Arbeiten)
- Then I see the message "You are offline. The read-only mode was activated." and everything but measurement is read-only (see other test cases)
- Actual Result:
- Test Result: ✅
- Notes:
Remembering View State of the map
Remembering View State
- Description: Last View of the map (position of map and zoom) get persisted between map visits.
- Given I am on a map page
- When I change what part of the map I am viewing (panning, zooming)
- When I refresh the page, or navigate away from the map and back to it
- Then I see the same map view I previously set
- Actual Result:
- Test Result: ✅
- Notes:
Remembering Layers
- Description: Last settings of the layers in a map (which layers are visible, layer opacity) get persisted between map visits.
- Given I am on a map page
- When I change what layers are visible, change the layer opacity
- When I refresh the page, or navigate away from the map and back to it
- Then I see the same layer settings I previously set
- Actual Result:
- Test Result: ✅
- Notes:
Remembering Drawing Layer settings
- Description: Last settings in a drawing layer in a map (selected tab, color, stroke width, fill pattern) get persisted between map visits.
- Given I am on a map page
- When I select specific tab, color, stroke width, fill pattern on a drawing layer
- When I refresh the page, or navigate away from the map and back to it
- Then I see the same drawing layer settings I previously set
- Actual Result:
- Test Result: ✅
- Notes:
Search Plants
Plant Search
- Description: Show a selection of plants if the search input is empty.
- Given I am on a map page with the plant layer active
- When I click on the magnifying glass icon next to the plant's title
- When I have an empty search box
- Then I can see various plants as results
- Actual Result:
- Test Result: ✅
- Notes:
No match was found
- Description: Verify that searching for a plant that does not exist returns no results.
- Given I am on a map page with the plant layer active
- When I enter a search term that does not match any plant (eg. ----) in the database
- Then I see a message indicating that no plants were found, or the search results are empty
- Actual Result:
- Test Result: ✅
- Notes:
Shade Layer
Add Shading
- Description: Add a new Shading to the map.
- Given I am on the map page with the shade layer active
- When I click on the 'Light' button
- When I draw on the map
- Then I can see that a new shading was added
- Actual Result:
- Test Result: ✅
- Notes: Repeat this test for all Shading types
Remove Shading
- Description: Remove a Shading from the map.
- Given I am on the map page with the shade layer active and a Shading is selected
- When I click on 'Delete shading' in the left toolbar
- Then I can see that a new shading was deleted
- Actual Result:
- Test Result: ✅
Edit Shade Type
- Description: Change the shade of a shading.
- Given I am on the map page with the shade layer active and a Shading is selected
- When I select different shade from the drop-down menu in the left toolbar
- Then I can see that the shade is changed successfully
- Actual Result:
- Test Result: ✅
- Notes: select each shading type at least once
Set Creation Date in the Future
- Description: Update the date from which the shading should be active
- Given I am on the map page with the shade layer active and a Shading is selected
- When I select the current date in the timeline
- When I select a creation date in the future
- Then I can see that the shading is no longer shown on the map
- Actual Result:
- Test Result: ✅
Set Removal Date in the Future
- Description: Update the date from which the shading should be active
- Given I am on the map page with the shade layer active and a Shading is selected
- When I select the current date in the timeline
- When I select a creation date in the past
- When I select a removal date in the future
- Then I can see that the shading is shown on the map
- Actual Result:
- Test Result: ✅
Set Removal date in the Past
- Description: Update the date until which the shading should be active
- Given I am on the map page with the shade layer active and a Shading is selected
- When I select the current date in the timeline
- When I select a creation date in the past
- When I select a removal date in the past after the creation date
- Then I can see that the shading is no longer shown on the map
- Actual Result:
- Test Result: ✅
Translation
Default Translations English
- Description: Verify default translation strings.
- Given I am in a map and the current language is English
- When I activate the plant labels and add a plant
- Then all strings are in English
- Actual Result:
- Test Result: ✅
- Notes: Use a plant with a common name eg. Tomato
Default Translations German
- Description: Verify default translation strings.
- Given I am in a map and the current language is German
- When I activate the plant labels and add a plant
- Then all strings are in German
- Actual Result:
- Test Result: ✅
- Notes: Use a plant with a common name eg. Tomato
Change Translation in Maps
- Description: Verify that a user can switch language in a map and stays in the map.
- Given I am in a map and the current language is English
- When I click on the "en" Drop Down
- When I click "Deutsch"
- Then I am still on the same map
- And all the text is in German now
- Actual Result:
- Test Result: ✅
- Notes:
Change Translation on Landingpage
- Description: Verify that a user can switch language on the landing page.
- Given I am on the landing page and the current language is English
- When I click on the "en" Drop Down
- When I click "Deutsch"
- Then I am still on the Landing Page
- And all the text is in German now
- Actual Result:
- Test Result: ✅
- Notes:
General
- Tester: Moritz Muth
- Date/Time: 23.12.2025
- Duration:
- Commit/Tag: 88a5704f37be3af01a6f7f9c3e07d7463de024e7
- Setup: local build
- Planned tests: -118
- Executed tests: -97
- ✅ Passed tests: -110
- ⚠️ Problematic tests: -5
- ❌ Failed tests: -3
Test Status Legend
- ✅ Passed: Test executed successfully, no issues found
- ⚠️ Problematic: Test has blocking dependencies or minor issues
- ❌ Failed: Test failed due to software defects
See Manual Testing Guidelines for detailed definitions and usage rules.
Error Analysis
Archive seed
- Description: After archiving a seed, it should be removed from the overview or marked as archived
- Given I am logged in and archive a seed
- When I go to my inventory
- Then I don't see the archived seed anymore, or it is marked as archived
- Actual Result: The seed is not removed immediately
- Test Result: ⚠️
- Notes: Issue #2375
Restore an archived seed
- Description: After restoring an archived seed, it should be added to the overview again
- Given I am logged in and visited the inventory page
- When I archive a seed and then restore it
- Then I see the restored seed again.
- Actual Result: Unclear how a seed can be restored without the post-archive pop-up
- Test Result: ⚠️
- Notes: Issue #2164
Additional name on map: updates
- Description: Test additional names being displayed properly.
- Given I am on the map page with the plants layer active
- When I create a new plant from the inventory
- When I go to the inventory page and change the seeds name
- Then I can see the changes in the plant label and left toolbar
- Actual Result: The new name is shown on hover immediately for all users, but is only shown after a reload in the toolbar.
- Test Result: ⚠️
- Notes: The additional name must also be visible when a different account views the same map.
- Notes: Issue #2427
Layer Opacity
- Description: Check whether the opacity of a layer changes.
- Given I am on a map page with a base layer image configured
- When dragging the slider for the base layer in the layer section of the toolbar to 50%
- Then I can see the change in opacity of the base layer image
- When I change the size of the toolbar
- Then I can see the slider and the filling change in size proportionally. Therefore, 50% of the slider should be filled
- Actual Result: Bar is not updated while dragging
- Test Result: ⚠️
- Notes: Issue #2427
Map Overview: More than 30 Maps should be visible
- Description: Test that pagination works on the map overview screen.
- Given I am on the map overview screen
- When I create more than 30 maps
- Then I can see all maps after scrolling to the bottom of the page
- Actual Result: Page jumps back to the top when loading more maps. Order of maps is incorrect.
- Test Result: ⚠️
- Notes: Issue #2170
Negative temporal relation exactly at min duration
- Description: Verify heatmap colors for temporal relation between two plantings of "Allium cepa"
- Given I am on a map where a planting of "Allium cepa" has existed 1 year ago (remove_date = current date - 1 year)
- When I select the plant with the name "Allium cepa" for planting in the plant layer
- Then I can see that the heatmap shows an orange indication on the spot the previous planting of "Allium cepa" has been
- Actual Result: No indicator is shown
- Test Result: ❌
- Notes: Issue #2056
Negative temporal relation between min and max duration
- Description: Verify heatmap colors for temporal relation between two plantings of "Allium cepa"
- Given I am on a map where a planting of "Allium cepa" has existed 2 years ago (remove_date = current date - 2 years)
- When I select the plant with the name "Allium cepa" for planting in the plant layer
- Then I can see that the heatmap shows an orange indication on the spot the previous planting of "Allium cepa" has been
- Actual Result: No indicator is shown
- Test Result: ❌
- Notes: Issue #2056
Negative temporal relation within min duration
- Description: Verify heatmap colors for temporal relation between "Allium fistulosum" and "Allium cepa"
- Given I am on a map where a planting of "Allium fistulosum" has existed 5 months ago (remove_date = current date - 5 months)
- When I select the plant with the name "Allium cepa" for planting in the plant layer
- Then I can see that the heatmap shows a red indication on the spot the previous planting of "Allium fistulosum" has been
- Actual Result: No indicator is shown
- Test Result: ❌
- Notes: Issue #2056
Closing Remarks
- How is the current state of the software?
- Have the quality objectives been achieved?
- What are the consequences drawn from the current state, including: how can future errors be avoided, how can the development process be improved?
Guided Tour
⚠️ IMPORTANT: This test must always be executed first and requires a local build (cannot be tested on dev.permaplant.net). If you exit the tour during testing, you must reset your local database to take it again.
Map Editor Guided Tour
- Description: Check whether the Guided Tour leaves the Map Editor in its original state.
- Given I am on a map page
- When I do the Guided Tour
- Then after I have done the Guided Tour the map is the same as before
- Actual Result:
- Test Result: ✅
- Notes: Check if all actions can be done as described.
Area of Plantings
Add Planting Area
- Description: Add a new area of Planting to the map.
- Given I am on the map page with the plant layer active
- When I select a plant to add to the map
- When I click and drag an area on the map
- Then I can see information about the sizes in a tooltip hovering next to the area of plantings
- Then I can see that a new planting area has been added
- When I select the new area of plantings
- Then I can see in the plant attributes that there is an area of plantings
- Then I can see that the values for Individual Plant Size, Plants per Row, Number of Rows, Total Plants, Length, and Width in "Area of Plantings" are equal to the information shown in the tooltip
- Actual Result:
- Test Result: ✅
- Notes:
Add Planting Area - Tooltip Positioning
- Description: The tooltip showing the size of the planting area is clearly visible,
- Description: Add a new area of Planting to the map.
- Given I am on the map page with the plant layer active
- When I select a plant to add to the map
- When I click and drag an area on the map
- Then I can see information about the sizes in a tooltip hovering next to the area of plantings
- When I select a plant to add to the map
- When I click and drag an area on the map, and at the same time I hover with the cursor over an existing plant or area of planting
- Then I can see both the tooltip about the sizes and the label of the plant hovered over without overlap.
- Actual Result:
- Test Result: ✅
- Notes:
Move Planting Area
- Description: Move a Planting area around the map.
- Given I am on the map page with the plant layer active
- When I drag a planting area
- When I drop the planting area
- Then I can see that the planting area was moved
- When I select the Planting area
- Then I can see in the plant area attributes that modified at and modified by are correctly set
- Actual Result:
- Test Result: ✅
- Notes:
Change Size Planting Area - Drag & Drop
- Description: Edit an existing Planting Area on the map.
- Given I am on the map page with the plant layer active
- When I select a plant area that is already planted
- When I select a corner/edge and drag it around
- Then I can see information about the new sizes as a tooltip hovering next to the area of plantings
- When I stop holding the mouse button down
- Then I can see that the planting area size has changed
- Then I can see in the plant area attributes that modified at and modified by are correctly set
- Actual Result:
- Test Result: ✅
- Notes:
Change Size Planting Area - Change Values
- Description: Edit an existing Planting Area on the map.
- Given I am on the map page with the plant layer active
- When I select a plant area that is already planted
- Then I can see detailed Information about this plant area in the left toolbox
- When I edit the Length or Width
- Then I can see that the planting area size has changed
- Then I can see in the plant area attributes that modified at and modified by are correctly set
- When I set the Length or Width to a non-positive value
- Then I can see that the input is marked in red and the value was not applied
- Actual Result:
- Test Result: ✅
- Notes:
Base Layer
Move map border point
- Description: Move map border point.
- Given I am on the map page with the base layer active
- When I click on the 'Edit Map Bounds' button
- Then I can see that the 'Edit Map Bounds' button is shown as active
- Then I can see that a hint is shown at the bottom center of the map
- When I drag a map border point
- Then I can see that the map border point was moved
- When I click on the 'Edit Map Bounds' button again
- Then I can see that the 'Edit Map Bounds' button is shown as inactive
- Then I can see that the hint at the bottom center of the map is not shown anymore
- When I drag a map border point
- Then I can see that the map border point was not moved
- Actual Result:
- Test Result: ✅
- Notes: Shift + M can be used instead of clicking the 'Edit Map Bounds' button Escape can be used instead of clicking the 'Edit Map Bounds' button again
Add map border point
- Description: Add map border point.
- Given I am on the map page with the base layer active
- When I click on the 'Pencil Plus' button
- Then I can see that the 'Pencil Plus' button is shown as active
- Then I can see that a hint is shown at the bottom center of the map
- When I click on the map border
- Then I can see that a new map border point was added
- When I click on the 'Pencil Plus' button again
- Then I can see that the 'Pencil Plus' button is shown as inactive
- Then I can see that the hint at the bottom center of the map is not shown anymore
- When I click on the map border
- Then I can see that no new map border point was added
- Actual Result:
- Test Result: ✅
- Notes: Shift + A can be used instead of clicking the 'Pencil Plus' button Escape can be used instead of clicking the 'Pencil Plus' button again
Remove map border point
- Description: Remove map border point.
- Given I am on the map page with the base layer active
- When I click on the 'Eraser' button
- Then I can see that the 'Eraser' button is shown as active
- Then I can see that a hint is shown at the bottom center of the map
- When I click on a map border point
- Then I can see that the map border point was removed
- When I click on the 'Eraser' button again
- Then I can see that the 'Eraser' button is shown as inactive
- Then I can see that the hint at the bottom center of the map is not shown anymore
- When I click on a map border point
- Then I can see that the map border point was not removed
- Actual Result:
- Test Result: ✅
- Notes: Shift + D can be used instead of clicking the 'Eraser' button Escape can be used instead of clicking the 'Eraser' button again
Select Background Image
- Description: Check whether the maps background image is displayed.
- Given I am on a map page with the base layer active
- When I select a base layer image
- Then I can see the base layer image on the canvas
- Actual Result:
- Test Result: ✅
- Notes:
Background Image default placing
- Description: Check whether the maps background image is placed correctly by default.
- Given I am on a map page with the base layer active
- When I select a base layer image
- When I can see the base layer image on the canvas
- Then the image is centered in the center of the map
- Actual Result:
- Test Result: ✅
- Notes:
Move Background Image
- Description: Check whether the maps background image is displayed correctly after moving.
- Given I am on a map page with the base layer active
- When I select a base layer image
- When I increase the base layers horizontal offset in steps of 10
- Then I can see the base layer image is moved to the right
- When I decrease the base layers horizontal offset in steps of negative (-) 10
- Then I can see the base layer image is moved to the left
- When I increase the base layers vertical offset in steps of 10
- Then I can see the base layer image is moved down
- When I decrease the base layers vertical offset in steps of negative (-) 10
- Then I can see the base layer image is moved up
- Actual Result:
- Test Result: ✅
- Notes:
Autoscaling Background Image
- Description: Check whether the maps background image is scaled according to distance entered.
- Given I am on a map page with the base layer active
- When I click on the autoscaling button
- Then I am prompted to select two points with a known distance
- When I click anywhere on the map inside the map bounds
- Then a red dot indicating the selected position appears
- When I select the end of the known distance
- Then a second red dot indicating the second selected position appears and additionally a line connecting the dots appears
- Then a window asking me to enter the selected real-life distance in meters and centimeters appears
- When I enter the value(s) for the distance and click the ok button
- Then the background image is correctly re-scaled to the distance shown in the grid
- Actual Result:
- Test Result: ✅
- Notes: Use /Photos/Birdie.jpg for testing. All test users should have access to it.
Rotate Background Image
- Description: Check whether the map's background image can be rotated correctly.
- Given I am on a map page with the base layer active
- When I select a base layer image
- When I change the rotation to following degree: 45
- Then the background image is rotated to match the entered orientation.
- Actual Result:
- Test Result: ✅
- Notes:
Copy & Paste
Copying plantings
- Description: Copying plantings on the map.
- Given I am on the map page with the plant layer active
- When I select a planting
- When I copy that planting using the keybinding CTRL + C
- Then I can see that the planting can now be placed on the map using the keybinding CTRL + V
- Actual Result:
- Test Result: ✅
- Notes: Repeat this test using only the corresponding toolbox buttons
Cutting plantings
- Description: Cutting plantings on the map.
- Given I am on the map page with the plant layer active
- When I select a planting
- When I cut that planting using the keybinding CTRL + X
- Then I can see that the planting was removed from the map and the planting can now be placed on the map using the keybinding CTRL + V
- Actual Result:
- Test Result: ✅
- Notes: Repeat this test using only the corresponding toolbox buttons
Placing copied plantings
- Description: Placing copied plantings on the map.
- Given I am on the map page with the plant layer active
- When I select a planting with a spatial relation with another planting on the same map
- When I copy that planting using the keybinding CTRL + C
- When I enter placing mode using the keybinding CTRL + V
- Then I can see a preview of the copied planting as well as relation lines linking it to all related plantings on the map
- Actual Result:
- Test Result: ✅
- Notes: Repeat this test using only the corresponding toolbox buttons
Placing copied plantings on different map
- Description: Placing copied plantings on different map.
- Given I am on the map page with the plant layer active
- When I select a planting with a spatial relation with another planting on two maps A and B
- When I copy that planting using the keybinding CTRL + C
- When I navigate to the map overview
- When I navigate to a different map page
- When I enter placing mode using the keybinding CTRL + V
- Then I can see a preview of the copied planting as well as relation lines linking it to all related plantings on the map
- Actual Result:
- Test Result: ✅
- Notes: Repeat this test using only the corresponding toolbox buttons
Drawing Layer
Switch between drawing layers
- Description: Switch between drawing layers
- Given I am on the map page with a drawing layer active
- Given I can select another drawing layer
- When I click on a rectangle of the current layer
- Then I can see that the rectangle is selected
- When I switch to another drawing layer
- When I click on a rectangle of the previous layer
- Then I can see that the rectangle is not selected
- When I click on a rectangle of the current layer
- Then I can see that the rectangle is selected
- Actual Result:
- Test Result: ✅
- Notes: Can be repeated for all types of drawings
Diagonally resize shape
- Description: Diagonally resize shape.
- Given I am on the map page with the drawing layer active and a shape selected
- When I drag a corner
- Then I can see that the new shape size has a different ratio of length to width as before
- Actual Result:
- Test Result: ✅
- Notes: Repeat this test for all Shape types
Entry and List Seeds
Seed creation
- Description: Adding more entries to the inventory overview.
- Given I am logged in and have already added entries
- When I submit the form for seed creation
- Then I see my newly added entry in the overview
- Actual Result:
- Test Result: ✅
- Notes:
Seed creation with more than 30 objects
- Description: After creating 30 seeds, everything should be shown correctly on the overview page.
- Given I am logged in and add 30 valid seeds
- When I go to my inventory
- Then I see all my newly added seeds in the overview
- Actual Result:
- Test Result: ✅
- Notes:
Seed editing - Name
- Description: After renaming a seed, the new name should be visible in the seed overview.
- Given I am logged in and edit a seed name
- When I go to my inventory
- Then I see the new name of the edited seed
- Actual Result:
- Test Result: ✅
- Notes:
Seed search
- Description: Verify that searching for an existing seed returns the correct results.
- Given I am logged in and have seeds in my inventory
- When I enter the name of an existing seed in the search bar
- Then I see the matching seed(s) listed in the search results
- Actual Result:
- Test Result: ✅
- Notes:
Searching seed that does not exist
- Description: Verify that searching for a non-existent seed returns no results.
- Given I am logged in and have seeds in my inventory
- When I enter a name (e.g. ----) that does not match any seed in the search bar
- Then I see a message indicating that no seeds were found, or the search results are empty
- Actual Result:
- Test Result: ✅
- Notes:
Archive seed
- Description: After archiving a seed, it should be removed from the overview or marked as archived
- Given I am logged in and archive a seed
- When I go to my inventory
- Then I don't see the archived seed anymore, or it is marked as archived
- Actual Result: The seed is not removed immediately
- Test Result: ⚠️
- Notes: Issue #2375
Restore an archived seed
- Description: After restoring an archived seed, it should be added to the overview again
- Given I am logged in and visited the inventory page
- When I archive a seed and then restore it
- Then I see the restored seed again.
- Actual Result: Unclear how a seed can be restored without the post-archive pop-up
- Test Result: ⚠️
- Notes: Issue #2164
Additional name on map: plant labels
- Description: Test additional names being displayed properly.
- Given I am on the map page with the plants layer active
- When I create a new plant from the inventory
- Then I can see the additional name on the label when hovering over the plant
- Actual Result:
- Test Result: ✅
- Notes: The additional name must also be visible when a different account views the same map in parallel.
Additional name on map: left toolbar
- Description: Test additional names being displayed properly.
- Given I am on the map page with the plants layer active
- When I create a new plant from the inventory
- When I click on the new plant icon.
- Then I can see the additional name in the left toolbars heading
- Actual Result:
- Test Result: ✅
- Notes: The additional name must also be visible when a different account views the same map in parallel.
Additional name on map: updates
- Description: Test additional names being displayed properly.
- Given I am on the map page with the plants layer active
- When I create a new plant from the inventory
- When I go to the inventory page and change the seeds name
- Then I can see the changes in the plant label and left toolbar
- Actual Result: The new name is shown on hover immediately for all users, but is only shown after a reload in the toolbar.
- Test Result: ⚠️
- Notes: The additional name must also be visible when a different account views the same map.
- Notes: Issue #2427
Grid
Grid is Changed on Zoom
- Description: Display a point grid on the screen.
- Given I am on a map page
- When I Zoom in or out
- Then the grid spacing is changing
- Actual Result:
- Test Result: ✅
- Notes:
Heatmap
Plant layer should be above heatmap
- Description: Verify that the Plant Layer is above the Heatmap Layer
- Given I am on a map page
- When I place some tomatoes on the map
- When I select a potato and try to place it near the tomatoes so that heatmap is shown
- Then I can see that the heatmap is below the plants
- Actual Result:
- Test Result: ✅
- Notes:
Change position of plant layer
- Description: Verify that the heatmap changes its position when the plant layer is moved in priority
- Given I am on a map page where plant layer is above a drawing layer
- When I place some tomatoes on the plant layer
- When I draw a filled rectangle on the drawing layer so that it overlaps with the tomatoes
- When I select a potato and try to place it near the tomatoes so that heatmap is shown
- Then I can see that the heatmap is below the plants and above the rectangle
- When I move the plant layer below the drawing layer
- Then I can see that the heatmap is below the rectangle and below the plants
- Actual Result:
- Test Result: ✅
- Notes:
All Shade types and Allium ursinum
- Description: Verify heatmap colors for all three shade types for the plant named Wild garlic (Allium ursinum)
- Given I am on a map where three shades are drawn with one being a light shade, one being a partial shade and one being a permanent shade
- When I select the plant with the name "Allium ursinum" for planting in the plant layer
- Then I can see that the heatmap shows green areas for all three shades
- Actual Result:
- Test Result: ✅
- Notes:
All Shade types and Allium pendulinum
- Description: Verify heatmap colors for all three shade types for the plant named Allium pendulinum (Allium pendulinum)
- Given I am on a map where three shades are drawn with one being a light shade, one being a partial shade and one being a permanent shade
- When I select the plant with the name "Allium pendulinum" for planting in the plant layer
- Then I can see that the heatmap shows two green areas for light and partial shades and red for the permanent shade
- Actual Result:
- Test Result: ✅
- Notes:
All Shade types and Malus domestica
- Description: Verify heatmap colors for all three shade types for the plant named Apple (Malus domestica)
- Given I am on a map where three shades are drawn with one being a light shade, one being a partial shade and one being a permanent shade
- When I select the plant with the name "Malus domestica" for planting in the plant layer
- Then I can see that the heatmap shows one green area for the light shade, orange for the partial shade and red for the permanent shade
- Actual Result:
- Test Result: ✅
- Notes:
All Shade types and Tomato
- Description: Verify heatmap colors for all three shade types for the plant named Tomato
- Given I am on a map where three shades are drawn with one being a light shade, one being a partial shade and one being a permanent shade
- When I select the plant with the name "Tomato" for planting in the plant layer
- Then I can see that the heatmap shows red areas for all three shades
- Actual Result:
- Test Result: ✅
- Notes:
Positive temporal relation within min duration
- Description: Verify heatmap colors for temporal relation between two plantings of "Allium cepa"
- Given I am on a map where a planting of "Allium cepa" has existed 6 months ago (remove_date = current date - 6 Months)
- When I select the plant with the name "Allium cepa" for planting in the plant layer
- Then I can see that the heatmap shows a green indication on the spot the previous planting of "Allium cepa" has been
- Actual Result:
- Test Result: ✅
- Notes:
Negative temporal relation exactly at min duration
- Description: Verify heatmap colors for temporal relation between two plantings of "Allium cepa"
- Given I am on a map where a planting of "Allium cepa" has existed 1 year ago (remove_date = current date - 1 year)
- When I select the plant with the name "Allium cepa" for planting in the plant layer
- Then I can see that the heatmap shows an orange indication on the spot the previous planting of "Allium cepa" has been
- Actual Result: No indicator is shown
- Test Result: ❌
- Notes: Issue #2056
Negative temporal relation between min and max duration
- Description: Verify heatmap colors for temporal relation between two plantings of "Allium cepa"
- Given I am on a map where a planting of "Allium cepa" has existed 2 years ago (remove_date = current date - 2 years)
- When I select the plant with the name "Allium cepa" for planting in the plant layer
- Then I can see that the heatmap shows an orange indication on the spot the previous planting of "Allium cepa" has been
- Actual Result: No indicator is shown
- Test Result: ❌
- Notes: Issue #2056
Negative temporal relation within min duration
- Description: Verify heatmap colors for temporal relation between "Allium fistulosum" and "Allium cepa"
- Given I am on a map where a planting of "Allium fistulosum" has existed 5 months ago (remove_date = current date - 5 months)
- When I select the plant with the name "Allium cepa" for planting in the plant layer
- Then I can see that the heatmap shows a red indication on the spot the previous planting of "Allium fistulosum" has been
- Actual Result: No indicator is shown
- Test Result: ❌
- Notes: Issue #2056
Positive temporal relation within min duration
- Description: Verify heatmap colors for temporal relation between plantings of "Allium sativum" and "Lactuca sativa"
- Given I am on a map where a planting of "Allium sativum" has existed 6 months ago (remove_date = current date - 6 months)
- When I select the plant with the name "Lactuca sativa" for planting in the plant layer
- Then I can see that the heatmap shows a green indication on the spot the previous planting of "Allium sativum" has been
- Actual Result:
- Test Result: ✅
- Notes:
Hydrology wet area and Great Water Dock
- Description: Verify heatmap color for hydrology type wet for the plant named Great Water Dock (Rumex hydrolapathum)
- Given I am on a map where a hydrology area is drawn with the type wet
- When I select the plant with the name "Rumex hydrolapathum" for planting in the plant layer
- Then I can see that the heatmap shows a green area for the hydrology area
- Actual Result:
- Test Result: ✅
- Notes:
Hydrology wet area and Tomato
- Description: Verify heatmap color for hydrology type wet for the plant named Tomato (Solanum lycopersicum)
- Given I am on a map where a hydrology area is drawn with the type wet
- When I select the plant with the name "Solanum lycopersicum" for planting in the plant layer
- Then I can see that the heatmap shows a red area for the hydrology area
- Actual Result:
- Test Result: ✅
- Notes: The soil has to contain enough nutrients and be watered properly.
Soil texture sandy area and Tomato
- Description: Verify heatmap color for soil texture type sandy for the plant named Tomato (Solanum lycopersicum)
- Given I am on a map where a soil texture area is drawn with the type sandy
- When I select the plant with the name "Solanum lycopersicum" for planting in the plant layer
- Then I can see that the heatmap shows a green area for the soil texture area
- Actual Result:
- Test Result: ✅
- Notes:
Soil texture clay area and Watermelon
- Description: Verify heatmap color for soil texture type clay for the plant named Watermelon (Citrullus lanatus)
- Given I am on a map where a soil texture area is drawn with the type clay
- When I select the plant with the name "Citrullus lanatus" for planting in the plant layer
- Then I can see that the heatmap shows a red area for the soil texture area
- Actual Result:
- Test Result: ✅
- Notes:
Soil texture clay area and Cauliflower
- Description: Verify heatmap color for soil texture type clay for the plant named Cauliflower (Brassica oleracea botrytis)
- Given I am on a map where a soil texture area is drawn with the type clay
- When I select the plant with the name "Brassica oleracea botrytis" for planting in the plant layer
- Then I can see that the heatmap shows a green area for the soil texture area
- Actual Result:
- Test Result: ✅
- Notes:
Occupied space with plants in the future
- Description: Verify that the heatmap indicates an occupied space with black
- Given I am on a map where any plant and an area of plants is planted
- When I go into the past one day before these exist and select any plant for planting in the plant layer
- Then I can see that the heatmap shows a black area on the spot these plants will be in the future
- Actual Result:
- Test Result: ✅
- Notes:
Spatial relation
- Description: Verify heatmap colors for spatial relations
- Given I am on a map with the plant layer active and a planting of "Allium cepa" exists
- When I select the plant with the name "Cucurbita maxima" for planting
- Then I can see that the heatmap shows a green indication around the existing planting of "Allium cepa"
- When I select the plant with the name "Solanum lycopersicum" for planting
- Then I can see that the heatmap shows an orange indication around the existing planting of "Allium cepa"
- When I select the plant with the name "Vicia faba" for planting
- Then I can see that the heatmap shows a red indication around the existing planting of "Allium cepa"
- Actual Result:
- Test Result: ✅
- Notes:
Hierarchy Test Cases
Antagonist relationships consider hierarchy
- Description: Verify that antagonist relationship entries also includes all plants in ranks below than those specified
- Given I am on a map page with the plant layer active
- When I place Common Bean (Phaseolus vulgaris) and Tendergreen (Phaseolus vulgaris 'Tendergreen') on the map
- When I place Onion (Allium cepa) on the map
- Then I can see a red heatmap below both "Phaseolus vulgaris" plants and red lines between them and Onion (Allium cepa)
- When I place Shallot (Allium cepa ascalonicum) on the map
- Then I can see a red heatmap below both "Phaseolus vulgaris" plants and red lines between them and Shallot (Allium cepa ascalonicum)
- Actual Result:
- Test Result: ✅
- Notes:
Companion relationships consider hierarchy
- Description: Verify that companion relationship entries also includes all plants in ranks below than those specified
- Given I am on a map page with the plant layer active
- When I place Chili (Capsicum annuum) and Capsicum annuum 'Leon' on the map
- When I place Onion (Allium cepa) on the map
- Then I can see a green heatmap below both "Capsicum annuum" plants and green lines between them and Onion (Allium cepa)
- When I place Shallot (Allium cepa ascalonicum) on the map
- Then I can see a green heatmap below both "Capsicum annuum" plants and green lines between them and Shallot (Allium cepa ascalonicum)
- Actual Result:
- Test Result: ✅
- Notes:
Temporal relationships consider hierarchy
- Description: Verify that temporal relationship entries also includes all plants in ranks below than those specified
- Given I am on a map where Onion (Allium cepa) and Shallot (Allium cepa ascalonicum) have existed 4 months ago (remove_date = current date - 4 Months)
- When I place Solanum lycopersicum on the map
- Then I see a green heatmap where both "Allium cepa" plants used to be
- When I place Solanum lycopersicum 'Rosa' on the map
- Then I see a green heatmap where both "Allium cepa" plants used to be
- Actual Result:
- Test Result: ✅
- Notes:
Attribute inheritance
- Description: Verify that attributes are inherited to lower ranks
- Given that an icon has been set for Allium cepa via an override file, and I am on a map with the plant layer active
- When I place Allium cepa, Allium cepa aggregatum and Allium cepa 'Shakespeare'
- Then I see that all three plants have an onion icon
- Actual Result:
- Test Result: ✅
- Notes:
Inventory
Change Language While Creating a Seed
- Description: Change language while creating a seed
- Given I have selected the English language
- Given I am on the seed entry page
- When I select a plant
- When I change the language to German
- Then the plant name is translated to German
- Actual Result:
- Test Result: ✅
- Notes: Should also work when switching from German to English
Layer Management
Initial Order of Layers
- Description: Test initial order of layers.
- When I create a new map
- Then Base Layer is at bottom of layer list and Plant Layer is on top of layer list
- Actual Result:
- Test Result: ✅
- Notes:
Correct Konva rendering of layer order on new map
- Description: Test correct rendering order of Konva layers.
- Given I am on a new map
- When I add a background image in Base Layer
- When I add an overlapping rectangle in Drawing Layer
- When I add an overlapping plant in plant layer
- Then Plant in is front of rectangle and rectangle is in front of background image
- Actual Result:
- Test Result: ✅
- Notes:
Renaming of layer
- Description: Test if Drawing Layer can be renamed.
- Given I am on a new map
- When I rename the Drawing Layer
- Then The new name is visible in the layer list
- Actual Result:
- Test Result: ✅
- Notes:
Creation of new layer
- Description: Test if new layer can be created.
- Given I am on a new map
- When I select a layer and create a new one
- Then The new layer is visible above currently selected layer
- Actual Result:
- Test Result: ✅
- Notes:
Change order of layers
- Description: Test if the order of layers can be updated correctly.
- Given I am on a map with 2 drawing layers with overlapping rectangles
- When I select the upper Drawing Layer and move it below the other one
- Then The order in the layer list is updated and the rectangle of the new upper drawing layer is shown in front of the lower one on the map
- Actual Result:
- Test Result: ✅
- Notes:
Delete Drawing Layer
- Description: Test if Drawing Layer can be deleted.
- Given I am on a map with some drawing on a Drawing Layer
- When I delete the Drawing Layer
- Then The layer disappears from layer list and drawings are deleted from map
- Actual Result:
- Test Result: ✅
- Notes:
Deletion of Plant Layer not possible
- Description: Test if deletion of Plant layer is disabled.
- Given I am on a new map
- When I select the Plant Layer
- Then Button to delete layer is disabled
- Actual Result:
- Test Result: ✅
- Notes:
Deletion of Base Layer not possible
- Description: Test if Deletion of Base layer is disabled.
- Given I am on a new map
- When I select the Base Layer
- Then Button to delete layer is disabled
- Actual Result:
- Test Result: ✅
- Notes:
Top layer cannot be moved up
- Description: Test if the top layer cannot be moved up.
- Given I am on a new map
- When I select the top layer
- Then Button to move layer up is disabled
- Actual Result:
- Test Result: ✅
- Notes:
Bottom layer cannot be moved down
- Description: Test if the bottom layer cannot be moved down.
- Given I am on a new map
- When I select the bottom layer
- Then Button to move layer down is disabled
- Actual Result:
- Test Result: ✅
- Notes:
Renaming of Plant Layer not possible
- Description: Test if Renaming of Plant layer is not possible.
- Given I am on a new map
- When I select the Plant Layer
- Then Button to rename layer is disabled
- Actual Result:
- Test Result: ✅
- Notes:
Renaming of Base Layer not possible
- Description: Test if Renaming of Base layer is not possible.
- Given I am on a new map
- When I select the Base Layer
- Then Button to rename layer is disabled
- Actual Result:
- Test Result: ✅
- Notes:
Layer Visibility
Layer Opacity
- Description: Check whether the opacity of a layer changes.
- Given I am on a map page with a base layer image configured
- When dragging the slider for the base layer in the layer section of the toolbar to 50%
- Then I can see the change in opacity of the base layer image
- When I change the size of the toolbar
- Then I can see the slider and the filling change in size proportionally. Therefore, 50% of the slider should be filled
- Actual Result: Bar is not updated while dragging
- Test Result: ⚠️
- Notes: Issue #2427
Login
Successful Login
- Description: Verify that a user can log in with valid credentials.
- Given I am on the PermaplanT landing page
- When I click on the "Log In" Button
- And I enter valid username and password
- Then I am redirected to the landing page
- And there is "logout" Button now
- Actual Result:
- Test Result: ✅
- Notes:
Successful Logout
- Description: Verify that a logged-in user can log out successfully.
- Given I am logged in and on the landing page
- When I click the logout button
- Then I am redirected to the landing page
- Actual Result:
- Test Result: ✅
- Notes:
Incorrect Login Credentials
- Description: Verify that login fails with incorrect credentials.
- Given I am on the landing page
- When I click on the "Log In" Button
- And I enter an invalid username or password
- Then I see an error message indicating login failed
- Actual Result:
- Test Result: ✅
- Notes:
Map Creation
Successful map creation
- Description: Verify that a new map can be created successfully.
- Given I am logged in and on the map creation page
- When I enter valid information for a new map and submit the form
- Then the new map is created and appears in my map overview
- Actual Result:
- Test Result: ✅
- Notes:
Edit existing Map
- Description: Verify that an existing map can be edited.
- Given I am logged in and have at least one map
- When I select a map and edit its details
- Then the changes are saved and reflected in the map overview
- Actual Result:
- Test Result: ✅
- Notes:
Map already exists
- Description: Verify that creating a map with a name that already exists is not allowed.
- Given I am logged in and have already created a map with a specific name
- When I try to create another map with the same name
- Then I see an error message indicating that the map already exists, and the map is not created
- Actual Result:
- Test Result: ✅
- Notes:
Map Overview: More than 30 Maps should be visible
- Description: Test that pagination works on the map overview screen.
- Given I am on the map overview screen
- When I create more than 30 maps
- Then I can see all maps after scrolling to the bottom of the page
- Actual Result: Page jumps back to the top when loading more maps. Order of maps is incorrect.
- Test Result: ⚠️
- Notes: Issue #2170
Map Deletion
Map Deletion
- Description: A map should no longer be available after it has been deleted.
- Given I am on a map overview page
- When I delete a map
- Then the map is no longer available in the overview
- Actual Result:
- Test Result: ✅
- Notes:
Map Search
Map Search
- Description: Appropriate maps should be displayed for each search term.
- Given I am on a map overview page
- When I search for a map using the search field
- Then the maps are filtered appropriately
- Actual Result:
- Test Result: ✅
- Notes:
Map Timeline
Hide Timeline
- Description: Timeline can be hidden through a toggle.
- Given I am on a map page
- When I click on the timeline toggle
- Then I see that timeline is not visible anymore
- Actual Result:
- Test Result: ✅
- Notes:
Remembering Timeline settings
- Description: Last settings of a map timeline (visibility) get persisted between page visits.
- Given I am on a map page
- When I select specific visibility for the map timeline
- When I refresh the page
- Then I see the timeline settings I previously set
- Actual Result:
- Test Result: ✅
- Notes:
Map Toolbar
Adjust Toolbar Height
- Description: Toolbar height can be adjusted by dragging.
- Given I am on a map page
- When I drag the horizontal handle of the toolbar
- Then I see that the height of the toolbar has changed
- Actual Result:
- Test Result: ✅
- Notes:
Adjust Toolbar Width
- Description: Toolbar width can be adjusted by dragging.
- Given I am on a map page
- When I drag the vertical handle of the toolbar
- Then I see that the width of the toolbar has changed
- Actual Result:
- Test Result: ✅
- Notes:
Hide Toolbar
- Description: Toolbar can be hidden through a toggle.
- Given I am on a map page
- When I click on the toolbar toggle
- Then I see that toolbar is not visible anymore
- Actual Result:
- Test Result: ✅
- Notes:
Remembering Toolbar settings
- Description: Last settings of a map toolbar (height, width, visibility) get persisted between page visits.
- Given I am on a map page
- When I select specific height, width, visibility for a map toolbar
- When I refresh the page
- Then I see the same toolbar settings I previously set
- Actual Result:
- Test Result: ✅
- Notes:
Map Undo Redo
Undo Planting
- Description: Undo a Planting to the map.
- Given I am on the map page with the plant layer active
- When I select a plant and place it onto the map
- When I click Undo in the Left Toolbar
- Then I can no longer see the plant
- Actual Result:
- Test Result: ✅
- Notes:
Undo Redo Planting
- Description: Undo and Redo a Planting to the map.
- Given I am on the map page with the plant layer active
- When I select a plant and place it onto the map
- When I click Undo in the Left Toolbar
- Then I can no longer see the plant
- When I click Redo in the Left Toolbar
- Then I can see the plant again I planted
- Actual Result:
- Test Result: ✅
- Notes:
Undo Redo Planting with Keybinding
- Description: Undo and Redo a Planting to the map.
- Given I am on the map page with the plant layer active
- When I select a plant and place it onto the map
- When I press STRG+Z
- Then I can no longer see the plant
- When I click STRG+Y
- Then I can see the plant again I planted
- Actual Result:
- Test Result: ✅
- Notes:
Successful undo deletion
- Description: Verify that deleting an item from the map can be undone successfully.
- Given I am on the map page with the plant layer active and there is at least one plant on the map
- When I delete a plant from the map
- Then the plant is removed from the map
- When I click Undo in the Left Toolbar
- Then the deleted plant reappears on the map
- Actual Result:
- Test Result: ✅
- Notes:
Measuring Distances
Measure a distance
- Description: Test whether distance can be measured successfully.
- Given I am on a map page
- When I click on the measurement button
- When I measure a distance
- Then I see a measurement line
- Then I see the measured distance
- Actual Result:
- Test Result: ✅
- Notes:
Measurement: Cancel measurement without deleting measurements
- Description: Verify that measured distances don't disappear when the measurement mode is canceled using the button in the status panel.
- Given I am on a map page
- When I click on the measurement button
- When I measure a distance
- When I cancel the measurement mode using the status panel
- Then the measurement layer is no longer active
- Then I can still see the measured distance
- Actual Result:
- Test Result: ✅
- Notes:
Measurement: Cancel measurement and delete all measurement lines
- Description: Verify that measured distances disappear when the measurement mode is canceled using the measurement button.
- Given I am on a map page
- When I click on the measurement button
- When I measure a distance
- When I cancel the measurement mode using the measurement button in the toolbar
- Then I can no longer see the measured distance
- Actual Result:
- Test Result: ✅
- Notes:
Measurement: Delete measurements after measurement mode is deactivated
- Description: Verify that measured distances don't disappear when the measurement mode is canceled using the button in the status panel.
- Given I am on a map page
- When I click on the measurement button
- When I measure a distance
- When I cancel the measurement mode using the status panel
- When I click on the measurement button
- Then I can no longer see the measured distance
- Actual Result:
- Test Result: ✅
- Notes:
Measurement: Cancel measurement by selecting other layer
- Description: Verify that measured distances don't disappear when measurement gets canceled by selecting a different layer.
- Given I am on a map page
- When I click on the measurement button
- When I measure a distance
- When I select a different Layer from the layer list
- Then the measurement layer is no longer active
- Then I can still see the measured distance
- Actual Result:
- Test Result: ✅
- Notes:
Multi Select
Successfully selecting plants - Shift Click
- Description: Verify that multiple plants can be selected at once.
- Given I am on the map page with the plant layer active and there are multiple plants on the map
- When I hold the Shift key and click on several plants
- Then all selected plants are highlighted or indicated as selected
- Actual Result:
- Test Result: ✅
- Notes:
Successfully selecting plants - Drag&Drop
- Description: Verify that multiple plants can be selected at once using drag and drop.
- Given I am on the map page with the plant layer active and there are multiple plants on the map
- When I click and hold the mouse button, then drag to draw a selection box around several plants
- Then all plants within the selection box are highlighted or indicated as selected
- Actual Result:
- Test Result: ✅
- Notes:
Plant Layer
Add Planting
- Description: Add a new Planting to the map.
- Given I am on the map page with the plant layer active
- When I select a plant to add to the map
- Then I can see how many of the same plants are already present on the map, at the current date, in the status panel
- Then the same plants already present on the map, at the current date, are highlighted with an equality marker
- When I click on the map
- Then I can see that a new Planting was added
- When I select the new Planting
- Then I can see in the plant attributes that created at, created by, modified at and modified by are correctly set
- Actual Result:
- Test Result: ✅
- Notes: Can be repeated with different plants. Can be repeated in another tab/by another user.
Move Planting
- Description: Move a Planting around the map.
- Given I am on the map page with the plant layer active
- When I drag a planting
- When I drop the planting
- Then I can see that the planting was moved
- When I select the new Planting
- Then I can see in the plant attributes that modified at and modified by are correctly set
- Actual Result:
- Test Result: ✅
- Notes: Can be repeated with different plants. Can be repeated in another tab/by another user.
Edit Planting
- Description: Edit an existing Planting on the map.
- Given I am on the map page with the plant layer active
- When I select a plant that is already planted
- Then I can see detailed Information about this plant in the left toolbox
- When I edit the Notes (or any other field)
- Then I can see in the plant attributes that I changed are correctly changed
- Actual Result:
- Test Result: ✅
- Notes: Also after reloading the site
Remove Planting
- Description: Remove an existing Planting on the map.
- Given I am on the map page with the plant layer active
- When I select a plant that is already planted
- Then I can see detailed Information about this plant in the left toolbox
- When I edit the "Removed on" date to a date in the past
- Then I can no longer see the plant
- Actual Result:
- Test Result: ✅
- Notes:
Clear "Removed on"/"Added on" date
- Description: Clear the "Removed on"/"Added on" of an existing planting on the map.
- Given I am on the map page with the plant layer active
- When I select a plant that is already planted and has a valid "Removed on"/"Added on" date
- Then I clear the "Removed on"/"Added on" date
- Then I have a valid Planting without the previous date
- Actual Result:
- Test Result: ✅
- Notes: Changes should still persist/be cleared after
- Reloading the site
- Switching from and to the selected planting
Delete Planting
- Description: Deleting an existing Planting on the map.
- Given I am on the map page with the plant layer active
- When I select a plant that is already planted
- Then I can see detailed Information about this plant in the left toolbox
- When I click the "Delete planting" Button
- Then I can no longer see the plant
- Actual Result:
- Test Result: ✅
- Notes:
Diagonally resize single planting
- Description: Diagonally resize single planting.
- Given I am on the map page with the plant layer active and a single planting selected
- When I drag a corner
- Then I can see that the new plant size has the same ratio of length to width as before
- Actual Result:
- Test Result: ✅
Change Size Plant - Change Values
- Description: Plants are not allowed to have a width of 0 or negative.
- Given I am on the map page with the plant layer active
- When I select a plant that is already planted
- Then I can see detailed Information about this plant in the left toolbox
- When I edit the Width
- Then I can see the plant size has changed
- Then I can see in the plant attributes that the modified at and modified by are correctly set
- When I set the Width to a non-positive value
- Then I can see that the input is marked in red and the value was not applied
- Actual Result:
- Test Result: ✅
- Notes:
Planting relations
- Description: Plants relations show up correctly.
- Given I am on the map page with the plant layer active
- When I select a planting that has a companion relation
- Then I can see green dotted line between selected planting and its companion
- When I select a planting that has an antagonist relation
- Then I can see red dashes line between selected planting and its antagonist
- When I select a planting that has an ambivalent relation
- Then I can see an orange line with dashes and dots between selected plantings and its ambivalent partner
- Actual Result:
- Test Result: ✅
- Notes: Suggested plant relations for test
- companion: Allium cepa, Cucurbita maxima
- ambivalent: Allium cepa, Solanum lycopersicum
- antagonist: Allium cepa, Vicia faba
Read Only
Go Offline
- Description: Put Browser Offline
- Given I am on a map
- When I put the browser to the offline mode
- Then I see the message "You are offline. The read-only mode was activated." and everything but measurement is read-only (see other test cases)
- Actual Result:
- Test Result: ✅
- Notes:
Remembering View State of the map
Remembering View State
- Description: Last View of the map (position of map and zoom) get persisted between map visits.
- Given I am on a map page
- When I change what part of the map I am viewing (panning, zooming)
- When I refresh the page, or navigate away from the map and back to it
- Then I see the same map view I previously set
- Actual Result:
- Test Result: ✅
- Notes:
Remembering Layers
- Description: Last settings of the layers in a map (which layers are visible, layer opacity) get persisted between map visits.
- Given I am on a map page
- When I change what layers are visible, change the layer opacity
- When I refresh the page, or navigate away from the map and back to it
- Then I see the same layer settings I previously set
- Actual Result:
- Test Result: ✅
- Notes:
Remembering Drawing Layer settings
- Description: Last settings in a drawing layer in a map (selected tab, color, stroke width, fill pattern) get persisted between map visits.
- Given I am on a map page
- When I select specific tab, color, stroke width, fill pattern on a drawing layer
- When I refresh the page, or navigate away from the map and back to it
- Then I see the same drawing layer settings I previously set
- Actual Result:
- Test Result: ✅
- Notes:
Search Plants
Plant Search
- Description: Show a selection of plants if the search input is empty.
- Given I am on a map page with the plant layer active
- When I click on the magnifying glass icon next to the plant's title
- When I have an empty search box
- Then I can see various plants as results
- Actual Result:
- Test Result: ✅
- Notes:
No match was found
- Description: Verify that searching for a plant that does not exist returns no results.
- Given I am on a map page with the plant layer active
- When I enter a search term that does not match any plant (e.g. ----) in the database
- Then I see a message indicating that no plants were found, or the search results are empty
- Actual Result:
- Test Result: ✅
- Notes:
Shade Layer
Add Shading
- Description: Add a new Shading to the map.
- Given I am on the map page with the shade layer active
- When I click on the 'Light' button
- When I draw on the map
- Then I can see that a new shading was added
- Actual Result:
- Test Result: ✅
- Notes: Repeat this test for all Shading types
Remove Shading
- Description: Remove a Shading from the map.
- Given I am on the map page with the shade layer active and a Shading is selected
- When I click on 'Delete shading' in the left toolbar
- Then I can see that a new shading was deleted
- Actual Result:
- Test Result: ✅
Edit Shade Type
- Description: Change the shade of a shading.
- Given I am on the map page with the shade layer active and a Shading is selected
- When I select different shade from the drop-down menu in the left toolbar
- Then I can see that the shade is changed successfully
- Actual Result:
- Test Result: ✅
- Notes: select each shading type at least once
Set Creation Date in the Future
- Description: Update the date from which the shading should be active
- Given I am on the map page with the shade layer active and a Shading is selected
- When I select the current date in the timeline
- When I select a creation date in the future
- Then I can see that the shading is no longer shown on the map
- Actual Result:
- Test Result: ✅
Set Removal Date in the Future
- Description: Update the date from which the shading should be active
- Given I am on the map page with the shade layer active and a Shading is selected
- When I select the current date in the timeline
- When I select a creation date in the past
- When I select a removal date in the future
- Then I can see that the shading is shown on the map
- Actual Result:
- Test Result: ✅
Set Removal date in the Past
- Description: Update the date until which the shading should be active
- Given I am on the map page with the shade layer active and a Shading is selected
- When I select the current date in the timeline
- When I select a creation date in the past
- When I select a removal date in the past after the creation date
- Then I can see that the shading is no longer shown on the map
- Actual Result:
- Test Result: ✅
Translation
Default Translations English
- Description: Verify default translation strings.
- Given I am in a map and the current language is English
- When I activate the plant labels and add a plant
- Then all strings are in English
- Actual Result:
- Test Result: ✅
- Notes: Use a plant with a common name e.g. Tomato
Default Translations German
- Description: Verify default translation strings.
- Given I am in a map and the current language is German
- When I activate the plant labels and add a plant
- Then all strings are in German
- Actual Result:
- Test Result: ✅
- Notes: Use a plant with a common name e.g. Tomato
Change Translation in Maps
- Description: Verify that a user can switch language in a map and stays in the map.
- Given I am in a map and the current language is English
- When I click on the "en" Drop Down
- When I click "Deutsch"
- Then I am still on the same map
- And all the text is in German now
- Actual Result:
- Test Result: ✅
- Notes:
Change Translation on landing page
- Description: Verify that a user can switch language on the landing page.
- Given I am on the landing page and the current language is English
- When I click on the "en" Drop Down
- When I click "Deutsch"
- Then I am still on the Landing Page
- And all the text is in German now
- Actual Result:
- Test Result: ✅
- Notes:
General
- Tester: Vseslav Levchenko
- Date/Time: 09.03.2026, 12:00-21:00
- Duration: 9 hours
- Commit/Tag: 7e3fa22da48c1bcf093707c2a7d4bbd97571dfd6
- Setup: https://master.permaplant.net/
- Planned tests: -115
- Executed tests: -115
- ✅ Passed tests: -110
- ⚠️ Problematic tests: -5
- ❌ Failed tests: -0
Test Status Legend
- ✅ Passed: Test executed successfully, no issues found
- ⚠️ Problematic: Test has blocking dependencies or minor issues
- ❌ Failed: Test failed due to software defects
See Manual Testing Guidelines for detailed definitions and usage rules.
Error Analysis
Archive seed
- Description: After archiving a seed, it should be removed from the overview or marked as archived
- Given I am logged in and archive a seed
- When I go to my inventory
- Then I don't see the archived seed anymore, or it is marked as archived
- Actual Result: The seed is not removed immediately
- Test Result: ⚠️
- Notes: Issue #2375
Restore an archived seed
- Description: After restoring an archived seed, it should be added to the overview again
- Given I am logged in and visited the inventory page
- When I archive a seed and then restore it
- Then I see the restored seed again.
- Actual Result: Unclear how a seed can be restored without the post-archive pop-up
- Test Result: ⚠️
- Notes: Issue #2164
Additional name on map: updates
- Description: Test additional names being displayed properly.
- Given I am on the map page with the plants layer active
- When I create a new plant from the inventory
- When I go to the inventory page and change the seeds name
- Then I can see the changes in the plant label and left toolbar
- Actual Result: The new name is shown on hover immediately for all users, but is only shown after a reload in the toolbar.
- Test Result: ⚠️
- Notes: The additional name must also be visible when a different account views the same map.
- Notes: Issue #2427
Layer Opacity
- Description: Check whether the opacity of a layer changes.
- Given I am on a map page with a base layer image configured
- When dragging the slider for the base layer in the layer section of the toolbar to 50%
- Then I can see the change in opacity of the base layer image
- When I change the size of the toolbar
- Then I can see the slider and the filling change in size proportionally. Therefore 50% of the slider should be filled
- Actual Result: Bar is not always updated when dragging
- Test Result: ⚠️
- Notes: Issue #2427
Successful map creation
- Description: Verify that a new map can be created successfully.
- Given I am logged in and on the map creation page
- When I enter valid information for a new map and submit the form
- Then the new map is created and appears in my map overview
- Actual Result: Could not create map at first.
Sorry, I couldn't store the map on my server, a map with this name already exists. Please change the name and try again. There were no seeds in the inventory prior and I used my own name for the name. Could only create seed after clicking the "Create seed" button multiple times. After doing that process 3 times, the issue seemed to have disappeared and reappeared again after a few minutes. - Test Result: ⚠️
- Notes: Issue #2538
Closing Remarks
- How is the current state of the software? Current state is good, with multiple problems fixed and only one new bug appeared.
- Have the quality objectives been achieved? Yes.
- What are the consequences drawn from the current state, including: how can future errors be avoided, how can the development process be improved? Continue working on the linked issues.
Guided Tour
⚠️ IMPORTANT: This test must always be executed first and requires a local build (cannot be tested on dev.permaplant.net). If you exit the tour during testing, you must reset your local database to take it again.
Map Editor Guided Tour
- Description: Check whether the Guided Tour leaves the Map Editor in its original state.
- Given I am on a map page
- When I do the Guided Tour
- Then after I have done the Guided Tour the map is the same as before
- Actual Result:
- Test Result: ✅
- Notes: Check if all actions can be done as described.
Area of Plantings
Add Planting Area
- Description: Add a new area of Planting to the map.
- Given I am on the map page with the plant layer active
- When I select a plant to add to the map
- When I click and drag an area on the map
- Then I can see information about the sizes in a tooltip hovering next to the area of plantings
- Then I can see that a new planting area has been added
- When I select the new area of plantings
- Then I can see in the plant attributes that there is an area of plantings
- Then I can see that the values for Individual Plant Size, Plants per Row, Number of Rows, Total Plants, Length, and Width in "Area of Plantings" are equal to the information shown in the tooltip
- Actual Result:
- Test Result: ✅
- Notes:
Add Planting Area - Tooltip Positioning
- Description: Add a new area of Planting to the map.
- Given I am on the map page with the plant layer active
- When I select a plant to add to the map
- When I click and drag an area on the map
- Then I can see information about the sizes in a tooltip hovering next to the area of plantings
- When I select a plant to add to the map
- When I click and drag an area on the map, and at the same time I hover with the cursor over an existing plant or area of planting
- Then I can see both the tooltip about the sizes and the label of the plant hovered over without overlap.
- Actual Result:
- Test Result: ✅
- Notes: The tooltip showing the size of the planting area is clearly visible.
Move Planting Area
- Description: Move a Planting area around the map.
- Given I am on the map page with the plant layer active
- When I drag a planting area
- When I drop the planting area
- Then I can see that the planting area was moved
- When I select the Planting area
- Then I can see in the plant area attributes that modified at and modified by are correctly set
- Actual Result:
- Test Result: ✅
- Notes:
Change Size Planting Area - Drag & Drop
- Description: Edit an existing Planting Area on the map.
- Given I am on the map page with the plant layer active
- When I select a plant area that is already planted
- When I select a corner/edge and drag it around
- Then I can see information about the new sizes as a tooltip hovering next to the area of plantings
- When I stop holding the mousebutton down
- Then I can see that the planting area size has changed
- Then I can see in the plant area attributes that modified at and modified by are correctly set
- Actual Result:
- Test Result: ✅
- Notes:
Change Size Planting Area - Change Values
- Description: Edit an existing Planting Area on the map.
- Given I am on the map page with the plant layer active
- When I select a plant area that is already planted
- Then I can see detailed Information about this plant area in the left toolbox
- When I edit the Length or Width
- Then I can see that the planting area size has changed
- Then I can see in the plant area attributes that modified at and modified by are correctly set
- When I set the Length or Width to a non-positive value
- Then I can see that the input is marked in red and the value was not applied
- Actual Result:
- Test Result: ✅
- Notes:
Base Layer
Move map border point
- Description: Move map border point.
- Given I am on the map page with the base layer active
- When I click on the 'Edit Map Bounds' button
- Then I can see that the 'Edit Map Bounds' button is shown as active
- Then I can see that a hint is shown at the bottom center of the map
- When I drag a map border point
- Then I can see that the map border point was moved
- When I click on the 'Edit Map Bounds' button again
- Then I can see that the 'Edit Map Bounds' button is shown as inactive
- Then I can see that the hint at the bottom center of the map is not shown anymore
- When I drag a map border point
- Then I can see that the map border point was not moved
- Actual Result:
- Test Result: ✅
- Notes: Shift + M can be used instead of clicking the 'Edit Map Bounds' button Escape can be used instead of clicking the 'Edit Map Bounds' button again
Add map border point
- Description: Add map border point.
- Given I am on the map page with the base layer active
- When I click on the 'Pencil Plus' button
- Then I can see that the 'Pencil Plus' button is shown as active
- Then I can see that a hint is shown at the bottom center of the map
- When I click on the map border
- Then I can see that a new map border point was added
- When I click on the 'Pencil Plus' button again
- Then I can see that the 'Pencil Plus' button is shown as inactive
- Then I can see that the hint at the bottom center of the map is not shown anymore
- When I click on the map border
- Then I can see that no new map border point was added
- Actual Result:
- Test Result: ✅
- Notes: Shift + A can be used instead of clicking the 'Pencil Plus' button Escape can be used instead of clicking the 'Pencil Plus' button again
Remove map border point
- Description: Remove map border point.
- Given I am on the map page with the base layer active
- When I click on the 'Eraser' button
- Then I can see that the 'Eraser' button is shown as active
- Then I can see that a hint is shown at the bottom center of the map
- When I click on a map border point
- Then I can see that the map border point was removed
- When I click on the 'Eraser' button again
- Then I can see that the 'Eraser' button is shown as inactive
- Then I can see that the hint at the bottom center of the map is not shown anymore
- When I click on a map border point
- Then I can see that the map border point was not removed
- Actual Result:
- Test Result: ✅
- Notes: Shift + D can be used instead of clicking the 'Eraser' button Escape can be used instead of clicking the 'Eraser' button again
Select Background Image
- Description: Check whether the maps background image is displayed.
- Given I am on a map page with the base layer active
- When I select a base layer image
- Then I can see the base layer image on the canvas
- Actual Result:
- Test Result: ✅
- Notes:
Background Image default placing
- Description: Check whether the maps background image is placed correctly by default.
- Given I am on a map page with the base layer active
- When I select a base layer image
- When I can see the base layer image on the canvas
- Then the image is in the center of the map
- Actual Result:
- Test Result: ✅
- Notes:
Move Background Image
- Description: Check whether the maps background image is displayed correctly after moving.
- Given I am on a map page with the base layer active
- When I select a base layer image
- When I increase the base layers horizontal offset in steps of
- Then I can see the base layer image is moved to the right
- When I decrease the base layers horizontal offset in steps of negative (-)
- Then I can see the base layer image is moved to the left
- When I increase the base layers vertical offset in steps of
- Then I can see the base layer image is moved down
- When I decrease the base layers vertical offset in steps of negative (-)
- Then I can see the base layer image is moved up
- Actual Result:
- Test Result: ✅
- Notes:
Examples: | step | | 1 | | 1.1 | | 1.11 | | 2.5 | | 5 | | 5.55 |
Autoscaling Background Image
- Description: Check whether the maps background image is scaled according to distance entered.
- Given I am on a map page with the base layer active
- When I click on the autoscaling button
- Then I am prompted to select two points with a known distance
- When I click anywhere on the map inside the map bounds
- Then a red dot indicating the selected position appears
- When I select the end of the known distance
- Then a second red dot indicating the second selected position appears and additionally a line connecting the dots appears
- Then a window asking me to enter the selected real-life distance in meters and centimeters appears
- When I enter the value(s) for the distance and click the ok button
- Then the background image is correctly re-scaled to the distance shown in the grid
- Actual Result:
- Test Result: ✅
- Notes: Use /Photos/Birdie.jpg for testing. All test users should have access to it.
- Scaling can be observed, but it's unclear what correct means in this context.
Rotate Background Image
- Description: Check whether the map's background image can be rotated correctly.
- Given I am on a map page with the base layer active
- When I select a base layer image
- When I change the rotation to following degree:
- Then the background image is rotated to match the entered orientation.
- Actual Result:
- Test Result: ✅
- Notes:
Examples: | step | | 15 | | 45 | | 90 | | 180 | | -90 |
Copy & Paste
Copying plantings
- Description: Copying plantings on the map.
- Given I am on the map page with the plant layer active
- When I select a planting
- When I copy that planting using the keybinding CTRL + C
- Then I can see that the planting can now be placed on the map using the keybinding CTRL + V
- Actual Result:
- Test Result: ✅
- Notes: Repeat this test using only the corresponding toolbox buttons
Cutting plantings
- Description: Cutting plantings on the map.
- Given I am on the map page with the plant layer active
- When I select a planting
- When I cut that planting using the keybinding CTRL + X
- Then I can see that the planting was removed from the map and the planting can now be placed on the map using the keybinding CTRL + V
- Actual Result:
- Test Result: ✅
- Notes: Repeat this test using only the corresponding toolbox buttons
Placing copied plantings
- Description: Placing copied plantings on the map.
- Given I am on the map page with the plant layer active
- When I select a planting with a spatial relation with another planting on the same map
- When I copy that planting using the keybinding CTRL + C
- When I enter placing mode using the keybinding CTRL + V
- Then I can see a preview of the copied planting as well as relation lines linking it to all related plantings on the map
- Actual Result:
- Test Result: ✅
- Notes: Repeat this test using only the corresponding toolbox buttons
Placing copied plantings on different map
- Description: Placing copied plantings on different map.
- Given I am on the map page with the plant layer active
- When I select a planting with a spatial relation with another planting on two maps A and B
- When I copy that planting using the keybinding CTRL + C
- When I navigate to the map overview
- When I navigate to a different map page
- When I enter placing mode using the keybinding CTRL + V
- Then I can see a preview of the copied planting as well as relation lines linking it to all related plantings on the map
- Actual Result:
- Test Result: ✅
- Notes: Repeat this test using only the corresponding toolbox buttons
Drawing Layer
Switch between drawing layers
- Description: Switch between drawing layers
- Given I am on the map page with a drawing layer active
- Given I can select another drawing layer
- When I click on a rectangle of the current layer
- Then I can see that the rectangle is selected
- When I switch to another drawing layer
- When I click on a rectangle of the previous layer
- Then I can see that the rectangle is not selected
- When I click on a rectangle of the current layer
- Then I can see that the rectangle is selected
- Actual Result:
- Test Result: ✅
- Notes: Can be repeated for all types of drawings
Diagonally resize shape
- Description: Diagonally resize shape.
- Given I am on the map page with the drawing layer active and a shape selected
- When I drag a corner
- Then I can see that the new shape size has a different ratio of length to width as before
- Actual Result:
- Test Result: ✅
- Notes: Repeat this test for all Shape types
Entry and List Seeds
Seed creation
- Description: Adding more entries to the inventory overview.
- Given I am logged in and have already added entries
- When I submit the form for seed creation
- Then I see my newly added entry in the overview
- Actual Result:
- Test Result: ✅
- Notes:
Seed creation with more than 30 objects
- Description: After creating 30 seeds, everything should be shown correctly on the overview page.
- Given I am logged in and add 30 valid seeds
- When I go to my inventory
- Then I see all my newly added seeds in the overview
- Actual Result:
- Test Result: ✅
- Notes: See "Seed creation"
Seed editing - Name
- Description: After renaming a seed, the new name should be visible in the seed overview.
- Given I am logged in and edit a seed name
- When I go to my inventory
- Then I see the new name of the edited seed
- Actual Result:
- Test Result: ✅
- Notes:
Seed search
- Description: Verify that searching for an existing seed returns the correct results.
- Given I am logged in and have seeds in my inventory
- When I enter the name of an existing seed in the search bar
- Then I see the matching seed(s) listed in the search results
- Actual Result:
- Test Result: ✅
- Notes:
Searching seed that does not exist
- Description: Verify that searching for a non-existent seed returns no results.
- Given I am logged in and have seeds in my inventory
- When I enter a name (eg. ----) that does not match any seed in the search bar
- Then I see a message indicating that no seeds were found, or the search results are empty
- Actual Result:
- Test Result: ✅
- Notes:
Archive seed
- Description: After archiving a seed, it should be removed from the overview or marked as archived
- Given I am logged in and archive a seed
- When I go to my inventory
- Then I don't see the archived seed anymore, or it is marked as archived
- Actual Result: The seed is not removed immediately
- Test Result: ⚠️
- Notes: Issue #2375
Restore an archived seed
- Description: After restoring an archived seed, it should be added to the overview again
- Given I am logged in and visited the inventory page
- When I archive a seed and then restore it
- Then I see the restored seed again.
- Actual Result: Unclear how a seed can be restored without the post-archive pop-up
- Test Result: ⚠️
- Notes: Issue #2164
Additional name on map: plant labels
- Description: Test additional names being displayed properly.
- Given I am on the map page with the plants layer active
- When I create a new plant from the inventory
- Then I can see the additional name on the label when hovering over the plant
- Actual Result:
- Test Result: ✅
- Notes: The additional name must also be visible when a different account views the same map in parallel.
Additional name on map: left toolbar
- Description: Test additional names being displayed properly.
- Given I am on the map page with the plants layer active
- When I create a new plant from the inventory
- When I click on the new plant icon.
- Then I can see the additional name in the left toolbars heading
- Actual Result:
- Test Result: ✅
- Notes: The additional name must also be visible when a different account views the same map in parallel.
Additional name on map: updates
- Description: Test additional names being displayed properly.
- Given I am on the map page with the plants layer active
- When I create a new plant from the inventory
- When I go to the inventory page and change the seeds name
- Then I can see the changes in the plant label and left toolbar
- Actual Result: The new name is shown on hover immediately for all users, but is only shown after a reload in the toolbar.
- Test Result: ⚠️
- Notes: The additional name must also be visible when a different account views the same map.
- Notes: Issue #2427
Grid
Grid is Changed on Zoom
- Description: Display a point grid on the screen.
- Given I am on a map page
- When I Zoom in or out
- Then the grid spacing is changing
- Actual Result:
- Test Result: ✅
- Notes:
Heatmap
Plant layer should be above heatmap
- Description: Verify that the Plant Layer is above the Heatmap Layer
- Given I am on a map page
- When I place some tomatoes on the map
- When I select a potato and try to place it near the tomatoes so that heatmap is shown
- Then I can see that the heatmap is below the plants
- Actual Result:
- Test Result: ✅
- Notes:
Change position of plant layer
- Description: Verify that the heatmap changes its position when the plant layer is moved in priority
- Given I am on a map page where plant layer is above an drawing layer
- When I place some tomatoes on the plant layer
- When I draw a filled rectangle on the drawing layer so that it overlaps with the tomatoes
- When I select a potato and try to place it near the tomatoes so that heatmap is shown
- Then I can see that the heatmap is below the plants and above the rectangle
- When I move the plant layer below the drawing layer
- Then I can see that the heatmap is below the rectangle and below the plants
- Actual Result:
- Test Result: ✅
- Notes:
All Shade types and Allium ursinum
- Description: Verify heatmap colors for all three shade types for the plant named Wild garlic (Allium ursinum)
- Given I am on a map where three shades are drawn with one being a light shade, one being a partial shade and one being a permanent shade
- When I select the plant with the name "Allium ursinum" for planting in the plant layer
- Then I can see that the heatmap shows green areas for all three shades
- Actual Result:
- Test Result: ✅
- Notes:
All Shade types and Allium pendulinum
- Description: Verify heatmap colors for all three shade types for the plant named Allium pendulinum (Allium pendulinum)
- Given I am on a map where three shades are drawn with one being a light shade, one being a partial shade and one being a permanent shade
- When I select the plant with the name "Allium pendulinum" for planting in the plant layer
- Then I can see that the heatmap shows two green areas for light and partial shades and red for the permanent shade
- Actual Result:
- Test Result: ✅
- Notes:
All Shade types and Malus domestica
- Description: Verify heatmap colors for all three shade types for the plant named Apple (Malus domestica)
- Given I am on a map where three shades are drawn with one being a light shade, one being a partial shade and one being a permanent shade
- When I select the plant with the name "Malus domestica" for planting in the plant layer
- Then I can see that the heatmap shows one green area for the light shade, orange for the partial shade and red for the permanent shade
- Actual Result:
- Test Result: ✅
- Notes:
All Shade types and Tomato
- Description: Verify heatmap colors for all three shade types for the plant named Tomato
- Given I am on a map where three shades are drawn with one being a light shade, one being a partial shade and one being a permanent shade
- When I select the plant with the name "Tomato" for planting in the plant layer
- Then I can see that the heatmap shows red areas for all three shades
- Actual Result:
- Test Result: ✅
- Notes:
Positive temporal relation within min duration
- Description: Verify heatmap colors for temporal relation between two plantings of "Allium cepa"
- Given I am on a map where a planting of "Allium cepa" has existed 6 months ago (remove_date = current date - 6 Months)
- When I select the plant with the name "Allium cepa" for planting in the plant layer
- Then I can see that the heatmap shows a green indication on the spot the previous planting of "Allium cepa" has been
- Actual Result:
- Test Result: ✅
- Notes:
Positive temporal relation exactly at min duration
- Description: Verify heatmap colors for temporal relation between two plantings of "Allium cepa"
- Given I am on a map where a planting of "Allium cepa" has existed 1 year ago (remove_date = current date - 1 year)
- When I select the plant with the name "Allium cepa" for planting in the plant layer
- Then I can see that the heatmap shows a green indication on the spot the previous planting of "Allium cepa" has been
- Actual Result:
- Test Result: ✅
- Notes:
Positive temporal relation between min and max duration
- Description: Verify heatmap colors for temporal relation between "Juglans ailanthifolia" and "Acer saccharum"
- Given I am on a map where a planting of "Juglans ailanthifolia" has existed 20 years ago (remove_date = current date - 20 years)
- When I select the plant with the name "Acer saccharum" for planting in the plant layer
- Then I can see that the heatmap shows a green indication on the spot the previous planting of "Juglans ailanthifolia" has been
- Actual Result:
- Test Result: ✅
- Notes:
Negative temporal relation within min duration
- Description: Verify heatmap colors for temporal relation between "Trifolium alexandrium" and "Allium cepa"
- Given I am on a map where a planting of "Trifolium alexandrium" has existed 5 months ago (remove_date = current date - 5 months)
- When I select the plant with the name "Allium cepa" for planting in the plant layer
- Then I can see that the heatmap shows a red indication on the spot the previous planting of "Trifolium alexandrium" has been
- Actual Result:
- Test Result: ✅
- Notes: Issue
Positive temporal relation within min duration
- Description: Verify heatmap colors for temporal relation between plantings of "Allium sativum" and "Lactuca sativa"
- Given I am on a map where a planting of "Allium sativum" has existed 6 months ago (remove_date = current date - 6 months)
- When I select the plant with the name "Lactuca sativa" for planting in the plant layer
- Then I can see that the heatmap shows a green indication on the spot the previous planting of "Allium sativum" has been
- Actual Result:
- Test Result: ✅
- Notes:
Hydrology wet area and Great Water Dock
- Description: Verify heatmap color for hydrology type wet for the plant named Great Water Dock (Rumex hydrolapathum)
- Given I am on a map where a hydrology area is drawn with the type wet
- When I select the plant with the name "Rumex hydrolapathum" for planting in the plant layer
- Then I can see that the heatmap shows a green area for the hydrology area
- Actual Result:
- Test Result: ✅
- Notes:
Hydrology wet area and Tomato
- Description: Verify heatmap color for hydrology type wet for the plant named Tomato (Solanum lycopersicum)
- Given I am on a map where a hydrology area is drawn with the type wet
- When I select the plant with the name "Solanum lycopersicum" for planting in the plant layer
- Then I can see that the heatmap shows a red area for the hydrology area
- Actual Result:
- Test Result: ✅
- Notes: The soil has to contain enough nutrients and be watered properly.
Soil texture sandy area and Tomato
- Description: Verify heatmap color for soil texture type sandy for the plant named Tomato (Solanum lycopersicum)
- Given I am on a map where a soil texture area is drawn with the type sandy
- When I select the plant with the name "Solanum lycopersicum" for planting in the plant layer
- Then I can see that the heatmap shows a green area for the soil texture area
- Actual Result:
- Test Result: ✅
- Notes:
Soil texture clay area and Watermelon
- Description: Verify heatmap color for soil texture type clay for the plant named Watermelon (Citrullus lanatus)
- Given I am on a map where a soil texture area is drawn with the type clay
- When I select the plant with the name "Citrullus lanatus" for planting in the plant layer
- Then I can see that the heatmap shows a red area for the soil texture area
- Actual Result:
- Test Result: ✅
- Notes:
Soil texture clay area and Cauliflower
- Description: Verify heatmap color for soil texture type clay for the plant named Cauliflower (Brassica oleracea botrytis)
- Given I am on a map where a soil texture area is drawn with the type clay
- When I select the plant with the name "Brassica oleracea botrytis" for planting in the plant layer
- Then I can see that the heatmap shows a green area for the soil texture area
- Actual Result:
- Test Result: ✅
- Notes:
Occupied space with plants in the future
- Description: Verify that the heatmap indicates an occupied space with black
- Given I am on a map where any plant and an area of plants is planted
- When I go into the past one day before these exist and select any plant for planting in the plant layer
- Then I can see that the heatmap shows a black area on the spot these plants will be in the future
- Actual Result:
- Test Result: ✅
- Notes:
Spatial relation
- Description: Verify heatmap colors for spatial relations
- Given I am on a map with the plant layer active and a planting of "Allium cepa" exists
- When I select the plant with the name "Cucurbita maxima" for planting
- Then I can see that the heatmap shows a green indication around the existing planting of "Allium cepa"
- When I select the plant with the name "Solanum lycopersicum" for planting
- Then I can see that the heatmap shows an orange indication around the existing planting of "Allium cepa"
- When I select the plant with the name "Vicia faba" for planting
- Then I can see that the heatmap shows a red indication around the existing planting of "Allium cepa"
- Actual Result:
- Test Result: ✅
- Notes:
Hierarchy Test Cases
Antagonist relationships consider hierarchy
- Description: Verify that antagonist relationship entries also includes all plants in ranks below than those specified
- Given I am on a map page with the plant layer active
- When I place Common Bean (Phaseolus vulgaris) and Tendergreen (Phaseolus vulgaris 'Tendergreen') on the map
- When I place Onion (Allium cepa) on the map
- Then I can see a red heatmap below both "Phaseolus vulgaris" plants and red lines between them and Onion (Allium cepa)
- When I place Shallot (Allium cepa ascalonicum) on the map
- Then I can see a red heatmap below both "Phaseolus vulgaris" plants and red lines between them and Shallot (Allium cepa ascalonicum)
- Actual Result:
- Test Result: ✅
- Notes:
Companion relationships consider hierarchy
- Description: Verify that companion relationship entries also includes all plants in ranks below than those specified
- Given I am on a map page with the plant layer active
- When I place Chili (Capsicum annuum) and Capsicum annuum 'Leon' on the map
- When I place Onion (Allium cepa) on the map
- Then I can see a green heatmap below both "Capsicum annuum" plants and green lines between them and Onion (Allium cepa)
- When I place Shallot (Allium cepa ascalonicum) on the map
- Then I can see a green heatmap below both "Capsicum annuum" plants and green lines between them and Shallot (Allium cepa ascalonicum)
- Actual Result:
- Test Result: ✅
- Notes:
Temporal relationships consider hierarchy
- Description: Verify that temporal relationship entries also includes all plants in ranks below than those specified
- Given I am on a map where Onion (Allium cepa) and Shallot (Allium cepa ascalonicum) have existed 4 months ago (remove_date = current date - 4 Months)
- When I place Solanum lycopersicum on the map
- Then I see a green heatmap where both "Allium cepa" plants used to be
- When I place Solanum lycopersicum 'Rosa' on the map
- Then I see a green heatmap where both "Allium cepa" plants used to be
- Actual Result:
- Test Result: ✅
- Notes:
Attribute inheritance
- Description: Verify that attributes are inherited to lower ranks
- Given that an icon has been set for Allium cepa via an override file and I am on a map with the plant layer active
- When I place Allium cepa, Allium cepa aggregatum and Allium cepa 'Shakespeare'
- Then I see that all three plants have an onion icon
- Actual Result:
- Test Result: ✅
- Notes:
Inventory
Change Language While Creating a Seed
- Description: Change language while creating a seed
- Given I have selected the English language
- Given I am on the seed entry page
- When I select a plant
- When I change the language to German
- Then the plant name is translated to German
- Actual Result:
- Test Result: ✅
- Notes: Should also work when switching from German to English
Layer Management
Initial Order of Layers
- Description: Test initial order of layers.
- When I create a new map
- Then Base Layer is at bottom of layer list and Plant Layer is on top of layer list
- Actual Result:
- Test Result: ✅
- Notes:
Correct konva rendering of layer order on new map
- Description: Test correct rendering order of konva layers.
- Given I am on a new map
- When I add a background image in Base Layer
- When I add an overlapping rectangle in Drawing Layer
- When I add an overlapping plant in plant layer
- Then Plant in is front of rectangle and rectangle is in front of background image
- Actual Result:
- Test Result: ✅
- Notes:
Renaming of layer
- Description: Test if Drawing Layer can be renamed.
- Given I am on a new map
- When I rename the Drawing Layer
- Then The new name is visible in the layer list
- Actual Result:
- Test Result: ✅
- Notes:
Creation of new layer
- Description: Test if new layer can be created.
- Given I am on a new map
- When I select a layer and create a new one
- Then The new layer is visible above currently selected layer
- Actual Result:
- Test Result: ✅
- Notes:
Change order of layers
- Description: Test if the order of layers can be updated correctly.
- Given I am on a map with 2 drawing layers with overlapping rectangles
- When I select the upper Drawing Layer and move it below the other one
- Then The order in the layer list is updated and the rectangle of the new upper drawing layer is shown in front of the lower one on the map
- Actual Result:
- Test Result: ✅
- Notes:
Delete Drawing Layer
- Description: Test if Drawing Layer can be deleted.
- Given I am on a map with some drawing on a Drawing Layer
- When I delete the Drawing Layer
- Then The layer disappears from layer list and drawings are deleted from map
- Actual Result:
- Test Result: ✅
- Notes:
Deletion of Plant Layer not possible
- Description: Test if deletion of Plant layer is disabled.
- Given I am on a new map
- When I select the Plant Layer
- Then Button to delete layer is disabled
- Actual Result:
- Test Result: ✅
- Notes:
Deletion of Base Layer not possible
- Description: Test if Deletion of Base layer is disabled.
- Given I am on a new map
- When I select the Base Layer
- Then Button to delete layer is disabled
- Actual Result:
- Test Result: ✅
- Notes:
Top layer cannot be moved up
- Description: Test if the top layer cannot be moved up.
- Given I am on a new map
- When I select the top layer
- Then Button to to move layer up is disabled
- Actual Result:
- Test Result: ✅
- Notes:
Bottom layer cannot be moved down
- Description: Test if the bottom layer cannot be moved down.
- Given I am on a new map
- When I select the bottom layer
- Then Button to to move layer down is disabled
- Actual Result:
- Test Result: ✅
- Notes:
Renaming of Plant Layer not possible
- Description: Test if Renaming of Plant layer is not possible.
- Given I am on a new map
- When I select the Plant Layer
- Then Button to rename layer is disabled
- Actual Result:
- Test Result: ✅
- Notes:
Renaming of Base Layer not possible
- Description: Test if Renaming of Base layer is not possible.
- Given I am on a new map
- When I select the Base Layer
- Then Button to rename layer is disabled
- Actual Result:
- Test Result: ✅
- Notes:
Layer Visibility
Layer Opacity
- Description: Check whether the opacity of a layer changes.
- Given I am on a map page with a base layer image configured
- When dragging the slider for the base layer in the layer section of the toolbar to 50%
- Then I can see the change in opacity of the base layer image
- When I change the size of the toolbar
- Then I can see the slider and the filling change in size proportionally. Therefore 50% of the slider should be filled
- Actual Result: Bar is not always updated when dragging
- Test Result: ⚠️
- Notes: Issue #2427
Login
Successful Login
- Description: Verify that a user can log in with valid credentials.
- Given I am on the PermaplanT landing page
- When I click on the "Log In" Button
- And I enter valid username and password
- Then I am redirected to the landing page
- And there is "logout" Button now
- Actual Result:
- Test Result: ✅
- Notes:
Successful Logout
- Description: Verify that a logged-in user can log out successfully.
- Given I am logged in and on the landing page
- When I click the logout button
- Then I am redirected to the landing page
- Actual Result:
- Test Result: ✅
- Notes:
Incorrect Login Credentials
- Description: Verify that login fails with incorrect credentials.
- Given I am on the landing page
- When I click on the "Log In" Button
- And I enter an invalid username or password
- Then I see an error message indicating login failed
- Actual Result:
- Test Result: ✅
- Notes:
Map Creation
Successful map creation
- Description: Verify that a new map can be created successfully.
- Given I am logged in and on the map creation page
- When I enter valid information for a new map and submit the form
- Then the new map is created and appears in my map overview
- Actual Result: Could not create map at first.
Sorry, I couldn't store the map on my server, a map with this name already exists. Please change the name and try again. There were no seeds in the inventory prior and I used my own name for the name. Could only create seed after clicking the "Create seed" button multiple times. After doing that process 3 times, the issue seemed to have disappeared and reappeared again after a few minutes. - Test Result: ⚠️
- Notes: Issue #2538
Edit existing Map
- Description: Verify that an existing map can be edited.
- Given I am logged in and have at least one map
- When I select a map and edit its details
- Then the changes are saved and reflected in the map overview
- Actual Result:
- Test Result: ✅
- Notes:
Map already exists
- Description: Verify that creating a map with a name that already exists is not allowed.
- Given I am logged in and have already created a map with a specific name
- When I try to create another map with the same name
- Then I see an error message indicating that the map already exists, and the map is not created
- Actual Result:
- Test Result: ✅
- Notes:
Map Overview: More than 30 Maps should be visible
- Description: Test that pagination works on the map overview screen.
- Given I am on the map overview screen
- When I create more than 30 maps
- Then I can see all maps after scrolling to the bottom of the page
- Actual Result:
- Test Result: ✅
- Notes:
Map Deletion
Map Deletion
- Description: A map should no longer be available after it has been deleted.
- Given I am on a map overview page
- When I delete a map
- Then the map is no longer available in the overview
- Actual Result:
- Test Result: ✅
- Notes:
Map Search
Map Search
- Description: Appropriate maps should be displayed for each search term.
- Given I am on a map overview page
- When I search for a map using the search field
- Then the maps are filtered appropriately
- Actual Result:
- Test Result: ✅
- Notes:
Map Timeline
Hide Timeline
- Description: Timeline can be hidden through a toggle.
- Given I am on a map page
- When I click on the timeline toggle
- Then I see that timeline is not visible anymore
- Actual Result:
- Test Result: ✅
- Notes:
Remembering Timeline settings
- Description: Last settings of a map timeline (visibility) get persisted between page visits.
- Given I am on a map page
- When I select specific visibility for the map timeline
- When I refresh the page
- Then I see the timeline settings I previously set
- Actual Result:
- Test Result: ✅
- Notes:
Timeline after resizing toolbar
- Description: Selected day remains in the middle of the timeline after resizing the left toolbar
- Given I am on a map page
- When I select an element (e.g. planting)
- And I drag and resize the left toolbar
- Then I see the currently selected day still in the middle of the timeline
- Actual Result:
- Test Result: ✅
- Notes:
Map Toolbar
Adjust Toolbar Height
- Description: Toolbar height can be adjusted by dragging.
- Given I am on a map page
- When I drag the horizontal handle of the toolbar
- Then I see that the height of the toolbar has changed
- Actual Result:
- Test Result: ✅
- Notes:
Adjust Toolbar Width
- Description: Toolbar width can be adjusted by dragging.
- Given I am on a map page
- When I drag the vertical handle of the toolbar
- Then I see that the width of the toolbar has changed
- Actual Result:
- Test Result: ✅
- Notes:
Hide Toolbar
- Description: Toolbar can be hidden through a toggle.
- Given I am on a map page
- When I click on the toolbar toggle
- Then I see that toolbar is not visible anymore
- Actual Result:
- Test Result: ✅
- Notes:
Remembering Toolbar settings
- Description: Last settings of a map toolbar (height, width, visibility) get persisted between page visits.
- Given I am on a map page
- When I select specific height, width, visibility for a map toolbar
- When I refresh the page
- Then I see the same toolbar settings I previously set
- Actual Result:
- Test Result: ✅
- Notes:
Attributes changing upon selection of different planting
- Description: After selecting a different planting, the Toolbar should update to display the attributes (width, length, height, add date, remove date, notes, plant name) of the newly selected planting
- Given I am on a map page
- When I select a planting
- And I select another planting afterwards
- Then I see the latter planting's attributes
- Actual Result:
- Test Result: ✅
- Notes:
Attributes changing upon selection of different drawing
- Description: After selecting a different drawing, the Toolbar should update to display the attributes (add date, remove date, notes, color, stroke width) of the newly selected drawing
- Given I am on a map page
- When I select a drawing
- And I select another drawing afterwards
- Then I see the latter drawing's attributes
- Actual Result:
- Test Result: ✅
- Notes:
Able to keep writing in Notes after autosave
- Description: After writing something in Notes and then waiting for the autosave to finish, the cursor is still in the Notes menu without any additional clicking.
- Given I am on a map page
- When I select an element (e.g. planting, drawing, etc.)
- And I write something in the Notes menu in the Toolbar
- And I wait for the autosave to finish
- Then I can continue typing without having to click on the Notes menu again
- Actual Result:
- Test Result: ✅
- Notes:
Map Undo Redo
Undo Planting
- Description: Undo and Redo a Planting to the map.
- Given I am on the map page with the plant layer active
- When I select a plant and place it onto the map
- When I click Undo in the Left Toolbar
- Then I can no longer see the plant
- When I click Redo in the Left Toolbar
- Then I can see the plant again I planted
- Actual Result:
- Test Result: ✅
- Notes:
Undo Redo Planting
- Description: Undo and Redo a Planting to the map.
- Given I am on the map page with the plant layer active
- When I select a plant and place it onto the map
- When I click Undo in the Left Toolbar
- Then I can no longer see the plant
- When I click Redo in the Left Toolbar
- Then I can see the plant again I planted
- Actual Result:
- Test Result: ✅
- Notes:
Undo Redo Planting with Keybinding
- Description: Undo and Redo a Planting to the map.
- Given I am on the map page with the plant layer active
- When I select a plant and place it onto the map
- When I press STRG+Z
- Then I can no longer see the plant
- When I click STRG+Y
- Then I can see the plant again I planted
- Actual Result:
- Test Result: ✅
- Notes:
Successful undo deletion
- Description: Verify that deleting an item from the map can be undone successfully.
- Given I am on the map page with the plant layer active and there is at least one plant on the map
- When I delete a plant from the map
- Then the plant is removed from the map
- When I click Undo in the Left Toolbar
- Then the deleted plant reappears on the map
- Actual Result:
- Test Result: ✅
- Notes:
Measuring Distances
Measure a distance
- Description: Test whether distance can be measured successfully.
- Given I am on a map page
- When I click on the measurement button
- When I measure a distance
- Then I see a measurement line
- Then I see the measured distance
- Actual Result:
- Test Result: ✅
- Notes:
Measurement: Cancel measurement without deleting measurements
- Description: Verify that measured distances don't disappear when the measurement mode is canceled using the button in the status panel.
- Given I am on a map page
- When I click on the measurement button
- When I measure a distance
- When I cancel the measurement mode using the status panel
- Then the measurement layer is no longer active
- Then I can still see the measured distance
- Actual Result:
- Test Result: ✅
- Notes:
Measurement: Cancel measurement and delete all measurement lines
- Description: Verify that measured distances disappear when the measurement mode is canceled using the measurement button.
- Given I am on a map page
- When I click on the measurement button
- When I measure a distance
- When I cancel the measurement mode using the measurement button in the toolbar
- Then I can no longer see the measured distance
- Actual Result:
- Test Result: ✅
- Notes:
Measurement: Delete measurements after measurement mode is deactivated
- Description: Verify that measured distances don't disappear when the measurement mode is canceled using the button in the status panel.
- Given I am on a map page
- When I click on the measurement button
- When I measure a distance
- When I cancel the measurement mode using the status panel
- When I click on the measurement button
- Then I can no longer see the measured distance
- Actual Result:
- Test Result: ✅
- Notes:
Measurement: Cancel measurement by selecting other layer
- Description: Verify that measured distances don't disappear when measurement gets cancelled by selecting a different layer.
- Given I am on a map page
- When I click on the measurement button
- When I measure a distance
- When I select a different Layer from the layer list
- Then the measurement layer is no longer active
- Then I can still see the measured distance
- Actual Result:
- Test Result: ✅
- Notes:
Multi Select
Successfully selecting plants - Shift Click
- Description: Verify that multiple plants can be selected at once.
- Given I am on the map page with the plant layer active and there are multiple plants on the map
- When I hold the Shift key and click on several plants
- Then all selected plants are highlighted or indicated as selected
- Actual Result:
- Test Result: ✅
- Notes:
Successfully selecting plants - Drag&Drop
- Description: Verify that multiple plants can be selected at once using drag and drop.
- Given I am on the map page with the plant layer active and there are multiple plants on the map
- When I click and hold the mouse button, then drag to draw a selection box around several plants
- Then all plants within the selection box are highlighted or indicated as selected
- Actual Result:
- Test Result: ✅
- Notes:
Plant Layer
Add Planting
- Description: Add a new Planting to the map.
- Given I am on the map page with the plant layer active
- When I select a plant to add to the map
- Then I can see how many of the same plants are already present on the map, at the current date, in the status panel
- Then the same plants already present on the map, at the current date, are highlighted with an equality marker
- When I click on the map
- Then I can see that a new Planting was added
- When I select the new Planting
- Then I can see in the plant attributes that created at, created by, modified at and modified by are correctly set
- Actual Result:
- Test Result: ✅
- Notes: Can be repeated with different plants. Can be repeated in another tab/by another user.
Move Planting
- Description: Move a Planting around the map.
- Given I am on the map page with the plant layer active
- When I drag a planting
- When I drop the planting
- Then I can see that the planting was moved
- When I select the new Planting
- Then I can see in the plant attributes that modified at and modified by are correctly set
- Actual Result:
- Test Result: ✅
- Notes: Can be repeated with different plants. Can be repeated in another tab/by another user.
Edit Planting
- Description: Edit an existing Planting on the map.
- Given I am on the map page with the plant layer active
- When I select a plant that is already planted
- Then I can see detailed Information about this plant in the left toolbox
- When I edit the Notes (or any other field)
- Then I can see in the plant attributes that I changed are correctly changed
- Actual Result:
- Test Result: ✅
- Notes: Also after reloading the site
Remove Planting
- Description: Remove a existing Planting on the map.
- Given I am on the map page with the plant layer active
- When I select a plant that is already planted
- Then I can see detailed Information about this plant in the left toolbox
- When I edit the "Removed on" date to a date in the past
- Then I can no longer see the plant
- Actual Result:
- Test Result: ✅
- Notes:
Clear "Removed on"/"Added on" date
- Description: Clear the "Removed on"/"Added on" of an existing planting on the map.
- Given I am on the map page with the plant layer active
- When I select a plant that is already planted and has a valid "Removed on"/"Added on" date
- Then I clear the "Removed on"/"Added on" date
- Then I have a valid Planting without the previous date
- Actual Result:
- Test Result: ✅
- Notes: Changes should still persist/be cleared after
- Reloading the site
- Switching from and to the selected planting
Delete Planting
- Description: Deleting a existing Planting on the map.
- Given I am on the map page with the plant layer active
- When I select a plant that is already planted
- Then I can see detailed Information about this plant in the left toolbox
- When I click the "Delete planting" Button
- Then I can no longer see the plant
- Actual Result:
- Test Result: ✅
- Notes:
Diagonally resize single planting
- Description: Diagonally resize single planting.
- Given I am on the map page with the plant layer active and a single planting selected
- When I drag a corner
- Then I can see that the new plant size has the same ratio of length to width as before
- Actual Result:
- Test Result: ✅
Change Size Plant - Change Values
- Description: Plants are not allowed to have a width of 0 or negative.
- Given I am on the map page with the plant layer active
- When I select a plant that is already planted
- Then I can see detailed Information about this plant in the left toolbox
- When I edit the Width
- Then I can see the plant size has changed
- Then I can see in the plant attributes that the modified at and modified by are correctly set
- When I set the Width to a non-positive value
- Then I can see that the input is marked in red and the value was not applied
- Actual Result:
- Test Result: ✅
- Notes:
Planting relations
- Description: Plants relations show up correctly.
- Given I am on the map page with the plant layer active
- When I select a planting that has a companion relation
- Then I can see green dotted line between selected planting and its companion
- When I select a planting that has an antagonist relation
- Then I can see red dashes line between selected planting and its antagonist
- When I select a planting that has an ambivalent relation
- Then I can see an orange line with dashes and dots between selected plantings and its ambivalent partner
- Actual Result:
- Test Result: ✅
- Notes: Suggested plant relations for test
- companion: Allium cepa, Cucurbita maxima
- ambivalent: Allium cepa, Solanum lycopersicum
- antagonist: Allium cepa, Vicia faba
Read Only
Go Offline
- Description: Put Browser Offline
- Given I am on a map
- When I put the browser to the offline mode (Firefox: Alt, Datei -> Offline Arbeiten)
- Then I see the message "You are offline. The read-only mode was activated." and everything but measurement is read-only (see other test cases)
- Actual Result:
- Test Result: ✅
- Notes:
Remembering View State of the map
Remembering View State
- Description: Last View of the map (position of map and zoom) get persisted between map visits.
- Given I am on a map page
- When I change what part of the map I am viewing (panning, zooming)
- When I refresh the page, or navigate away from the map and back to it
- Then I see the same map view I previously set
- Actual Result:
- Test Result: ✅
- Notes:
Remembering Layers
- Description: Last settings of the layers in a map (which layers are visible, layer opacity) get persisted between map visits.
- Given I am on a map page
- When I change what layers are visible, change the layer opacity
- When I refresh the page, or navigate away from the map and back to it
- Then I see the same layer settings I previously set
- Actual Result:
- Test Result: ✅
- Notes:
Remembering Drawing Layer settings
- Description: Last settings in a drawing layer in a map (selected tab, color, stroke width, fill pattern) get persisted between map visits.
- Given I am on a map page
- When I select specific tab, color, stroke width, fill pattern on a drawing layer
- When I refresh the page, or navigate away from the map and back to it
- Then I see the same drawing layer settings I previously set
- Actual Result:
- Test Result: ✅
- Notes:
Search Plants
Plant Search
- Description: Show a selection of plants if the search input is empty.
- Given I am on a map page with the plant layer active
- When I click on the magnifying glass icon next to the plant's title
- When I have an empty search box
- Then I can see various plants as results
- Actual Result:
- Test Result: ✅
- Notes:
No match was found
- Description: Verify that searching for a plant that does not exist returns no results.
- Given I am on a map page with the plant layer active
- When I enter a search term that does not match any plant (eg. ----) in the database
- Then I see a message indicating that no plants were found, or the search results are empty
- Actual Result:
- Test Result: ✅
- Notes:
Shade Layer
Add Shading
- Description: Add a new Shading to the map.
- Given I am on the map page with the shade layer active
- When I click on the 'Light' button
- When I draw on the map
- Then I can see that a new shading was added
- Actual Result:
- Test Result: ✅
- Notes: Repeat this test for all Shading types
Remove Shading
- Description: Remove a Shading from the map.
- Given I am on the map page with the shade layer active and a Shading is selected
- When I click on 'Delete shading' in the left toolbar
- Then I can see that a new shading was deleted
- Actual Result:
- Test Result: ✅
Edit Shade Type
- Description: Change the shade of a shading.
- Given I am on the map page with the shade layer active and a Shading is selected
- When I select different shade from the drop-down menu in the left toolbar
- Then I can see that the shade is changed successfully
- Actual Result:
- Test Result: ✅
- Notes: select each shading type at least once
Set Creation Date in the Future
- Description: Update the date from which the shading should be active
- Given I am on the map page with the shade layer active and a Shading is selected
- When I select the current date in the timeline
- When I select a creation date in the future
- Then I can see that the shading is no longer shown on the map
- Actual Result:
- Test Result: ✅
Set Removal Date in the Future
- Description: Update the date from which the shading should be active
- Given I am on the map page with the shade layer active and a Shading is selected
- When I select the current date in the timeline
- When I select a creation date in the past
- When I select a removal date in the future
- Then I can see that the shading is shown on the map
- Actual Result:
- Test Result: ✅
Set Removal date in the Past
- Description: Update the date until which the shading should be active
- Given I am on the map page with the shade layer active and a Shading is selected
- When I select the current date in the timeline
- When I select a creation date in the past
- When I select a removal date in the past after the creation date
- Then I can see that the shading is no longer shown on the map
- Actual Result:
- Test Result: ✅
Translation
Default Translations English
- Description: Verify default translation strings.
- Given I am in a map and the current language is English
- When I activate the plant labels and add a plant
- Then all strings are in English
- Actual Result:
- Test Result: ✅
- Notes: Use a plant with a common name eg. Tomato
Default Translations German
- Description: Verify default translation strings.
- Given I am in a map and the current language is German
- When I activate the plant labels and add a plant
- Then all strings are in German
- Actual Result:
- Test Result: ✅
- Notes: Use a plant with a common name eg. Tomato
Change Translation in Maps
- Description: Verify that a user can switch language in a map and stays in the map.
- Given I am in a map and the current language is English
- When I click on the "en" Drop Down
- When I click "Deutsch"
- Then I am still on the same map
- And all the text is in German now
- Actual Result:
- Test Result: ✅
- Notes:
Change Translation on Landingpage
- Description: Verify that a user can switch language on the landing page.
- Given I am on the landing page and the current language is English
- When I click on the "en" Drop Down
- When I click "Deutsch"
- Then I am still on the Landing Page
- And all the text is in German now
- Actual Result:
- Test Result: ✅
- Notes:
General
- Tester: Justus, Mo and Markus
- Date/Time: 23.04.2026
- Duration Justus: 1h
- Duration Mo: 1h
- Duration Markus: 1h
- Commit/Tag: v1.0.2
- Setup: master.permaplant.net
- Planned tests: 73
- Executed tests: 73
- ✅ Passed tests: 65
- ⚠️ Problematic tests: 3
- ❌ Failed tests: 5
- ⏭️ Skipped tests: 80
Test Status Legend
- ✅ Passed: Test executed successfully, no issues found
- ⚠️ Problematic: Test has blocking dependencies or minor issues
- ❌ Failed: Test failed due to software defects
- ⏭️ Skipped: Tests were not executed.
See Manual Testing Guidelines for detailed definitions and usage rules.
Error Analysis
Link each failed/problematic test to its GitLab issue number in the test case Notes field.
Closing Remarks
- How is the current state of the software?
- Have the quality objectives been achieved?
- What are the consequences drawn from the current state, including: how can future errors be avoided, how can the development process be improved?
Guided Tour
⚠️ IMPORTANT: This test must always be executed first and requires a local build (cannot be tested on dev.permaplant.net). If you exit the tour during testing, you must reset your local database to take it again.
Map Editor Guided Tour
- Description: Check whether the Guided Tour leaves the Map Editor in its original state.
- Given I am on a map page
- When I do the Guided Tour
- Then after I have done the Guided Tour the map is the same as before
- Actual Result:
- Test Result: ✅
- Notes: Check if all actions can be done as described.
Area of Plantings
Add Planting Area
- Description: Add a new area of Planting to the map.
- Given I am on the map page with the plant layer active
- When I select a plant to add to the map
- When I click and drag an area on the map
- Then I can see information about the sizes in a tooltip hovering next to the area of plantings
- Then I can see that a new planting area has been added
- When I select the new area of plantings
- Then I can see in the plant attributes that there is an area of plantings
- Then I can see that the values for Individual Plant Size, Plants per Row, Number of Rows, Total Plants, Length, and Width in "Area of Plantings" are equal to the information shown in the tooltip
- Actual Result:
- Test Result: ✅
- Notes:
Add Planting Area - Tooltip Positioning
- Description: Add a new area of Planting to the map.
- Given I am on the map page with the plant layer active
- When I select a plant to add to the map
- When I click and drag an area on the map
- Then I can see information about the sizes in a tooltip hovering next to the area of plantings
- When I select a plant to add to the map
- When I click and drag an area on the map, and at the same time I hover with the cursor over an existing plant or area of planting
- Then I can see both the tooltip about the sizes and the label of the plant hovered over without overlap.
- Actual Result: ✅
- Test Result:
- Notes: The tooltip showing the size of the planting area is clearly visible.
Move Planting Area
- Description: Move a Planting area around the map.
- Given I am on the map page with the plant layer active
- When I drag a planting area
- When I drop the planting area
- Then I can see that the planting area was moved
- When I select the Planting area
- Then I can see in the plant area attributes that modified at and modified by are correctly set
- Actual Result: ⚠️ Time could not be tested, only modified by is verifiable
- Test Result:
- Notes:
Change Size Planting Area - Drag & Drop
- Description: Edit an existing Planting Area on the map.
- Given I am on the map page with the plant layer active
- When I select a plant area that is already planted
- When I select a corner/edge and drag it around
- Then I can see information about the new sizes as a tooltip hovering next to the area of plantings
- When I stop holding the mousebutton down
- Then I can see that the planting area size has changed
- Then I can see in the plant area attributes that modified at and modified by are correctly set
- Actual Result: ⚠️ Time could not be tested, only modified by is verifiable
- Test Result:
- Notes:
Change Size Planting Area - Change Values
- Description: Edit an existing Planting Area on the map.
- Given I am on the map page with the plant layer active
- When I select a plant area that is already planted
- Then I can see detailed Information about this plant area in the left toolbox
- When I edit the Length or Width
- Then I can see that the planting area size has changed
- Then I can see in the plant area attributes that modified at and modified by are correctly set
- When I set the Length or Width to a non-positive value
- Then I can see that the input is marked in red and the value was not applied
- Actual Result: ⚠️ Time could not be tested, only modified by is verifiable
- Test Result:
- Notes:
Base Layer
Move map border point
- Description: Move map border point.
- Given I am on the map page with the base layer active
- When I click on the 'Edit Map Bounds' button
- Then I can see that the 'Edit Map Bounds' button is shown as active
- Then I can see that a hint is shown at the bottom center of the map
- When I drag a map border point
- Then I can see that the map border point was moved
- When I click on the 'Edit Map Bounds' button again
- Then I can see that the 'Edit Map Bounds' button is shown as inactive
- Then I can see that the hint at the bottom center of the map is not shown anymore
- When I drag a map border point
- Then I can see that the map border point was not moved
- Actual Result:
- Test Result: ✅
- Notes: Shift + M can be used instead of clicking the 'Edit Map Bounds' button Escape can be used instead of clicking the 'Edit Map Bounds' button again
Add map border point
- Description: Add map border point.
- Given I am on the map page with the base layer active
- When I click on the 'Pencil Plus' button
- Then I can see that the 'Pencil Plus' button is shown as active
- Then I can see that a hint is shown at the bottom center of the map
- When I click on the map border
- Then I can see that a new map border point was added
- When I click on the 'Pencil Plus' button again
- Then I can see that the 'Pencil Plus' button is shown as inactive
- Then I can see that the hint at the bottom center of the map is not shown anymore
- When I click on the map border
- Then I can see that no new map border point was added
- Actual Result:
- Test Result: ✅
- Notes: Shift + A can be used instead of clicking the 'Pencil Plus' button Escape can be used instead of clicking the 'Pencil Plus' button again
Remove map border point
- Description: Remove map border point.
- Given I am on the map page with the base layer active
- When I click on the 'Eraser' button
- Then I can see that the 'Eraser' button is shown as active
- Then I can see that a hint is shown at the bottom center of the map
- When I click on a map border point
- Then I can see that the map border point was removed
- When I click on the 'Eraser' button again
- Then I can see that the 'Eraser' button is shown as inactive
- Then I can see that the hint at the bottom center of the map is not shown anymore
- When I click on a map border point
- Then I can see that the map border point was not removed
- Actual Result:
- Test Result: ✅
- Notes: Shift + D can be used instead of clicking the 'Eraser' button Escape can be used instead of clicking the 'Eraser' button again
Select Background Image
- Description: Check whether the maps background image is displayed.
- Given I am on a map page with the base layer active
- When I select a base layer image
- Then I can see the base layer image on the canvas
- Actual Result:
- Test Result: ✅
- Notes:
Background Image default placing
- Description: Check whether the maps background image is placed correctly by default.
- Given I am on a map page with the base layer active
- When I select a base layer image
- When I can see the base layer image on the canvas
- Then the image is in the center of the map
- Actual Result:
- Test Result: ✅
- Notes:
Move Background Image
- Description: Check whether the maps background image is displayed correctly after moving.
- Given I am on a map page with the base layer active
- When I select a base layer image
- When I increase the base layers horizontal offset in steps of
- Then I can see the base layer image is moved to the right
- When I decrease the base layers horizontal offset in steps of negative (-)
- Then I can see the base layer image is moved to the left
- When I increase the base layers vertical offset in steps of
- Then I can see the base layer image is moved down
- When I decrease the base layers vertical offset in steps of negative (-)
- Then I can see the base layer image is moved up
- Actual Result:
- Test Result: ✅
- Notes:
Examples: | step | | 1 | | 1.1 | | 1.11 | | 2.5 | | 5 | | 5.55 |
Autoscaling Background Image
- Description: Check whether the maps background image is scaled according to distance entered.
- Given I am on a map page with the base layer active
- When I click on the autoscaling button
- Then I am prompted to select two points with a known distance
- When I click anywhere on the map inside the map bounds
- Then a red dot indicating the selected position appears
- When I select the end of the known distance
- Then a second red dot indicating the second selected position appears and additionally a line connecting the dots appears
- Then a window asking me to enter the selected real-life distance in meters and centimeters appears
- When I enter the value(s) for the distance and click the ok button
- Then the background image is correctly re-scaled to the distance shown in the grid
- Actual Result: ❌ IMO this is broken. Select the 10x10 baselayer then use 2m as as the scale for 1m. Observe that the base layer is now scaled down not up.
- Test Result:
- Notes: Use /Photos/Birdie.jpg for testing. All test users should have access to it.
- Scaling can be observed, but it's unclear what correct means in this context.
Rotate Background Image
- Description: Check whether the map's background image can be rotated correctly.
- Given I am on a map page with the base layer active
- When I select a base layer image
- When I change the rotation to following degree:
- Then the background image is rotated to match the entered orientation.
- Actual Result:
- Test Result: ✅
- Notes:
Examples: | step | | 15 | | 45 | | 90 | | 180 | | -90 |
Copy & Paste
Copying plantings
- Description: Copying plantings on the map.
- Given I am on the map page with the plant layer active
- When I select a planting
- When I copy that planting using the keybinding CTRL + C
- Then I can see that the planting can now be placed on the map using the keybinding CTRL + V
- Actual Result:
- Test Result: ✅
- Notes: Repeat this test using only the corresponding toolbox buttons.
Cutting plantings
- Description: Cutting plantings on the map.
- Given I am on the map page with the plant layer active
- When I select a planting
- When I cut that planting using the keybinding CTRL + X
- Then I can see that the planting was removed from the map and the planting can now be placed on the map using the keybinding CTRL + V
- Actual Result:
- Test Result: ✅
- Notes: Repeat this test using only the corresponding toolbox buttons.
Placing copied plantings
- Description: Placing copied plantings on the map.
- Given I am on the map page with the plant layer active
- When I select a planting with a spatial relation with another planting on the same map
- When I copy that planting using the keybinding CTRL + C
- When I enter placing mode using the keybinding CTRL + V
- Then I can see a preview of the copied planting as well as relation lines linking it to all related plantings on the map
- Actual Result:
- Test Result: ✅
- Notes: Repeat this test using only the corresponding toolbox buttons.
Placing copied plantings on different map
- Description: Placing copied plantings on different map.
- Given I am on the map page with the plant layer active
- When I select a planting with a spatial relation with another planting on two maps A and B
- When I copy that planting using the keybinding CTRL + C
- When I navigate to the map overview
- When I navigate to a different map page
- When I enter placing mode using the keybinding CTRL + V
- Then I can see a preview of the copied planting as well as relation lines linking it to all related plantings on the map
- Actual Result:
- Test Result: ✅
- Notes: Repeat this test using only the corresponding toolbox buttons.
Copying shades
- Description: Copying shades on the map.
- Given I am on the map page with the shade layer active
- When I select a shade
- When I copy that shade using the keybinding CTRL + C
- Then I can see that the shade can now be placed on the map using the keybinding CTRL + V
- Actual Result:
- Test Result: ✅
- Notes: Repeat this test using only the corresponding toolbox buttons.
Cutting shades
- Description: Cutting shades on the map.
- Given I am on the map page with the shade layer active
- When I select a shade
- When I cut that shade using the keybinding CTRL + X
- Then I can see that the shade was removed from the map and the shade can now be placed on the map using the keybinding CTRL + V
- Actual Result:
- Test Result: ✅
- Notes: Repeat this test using only the corresponding toolbox buttons.
Placing copied shades
- Description: Placing copied shades on the map.
- Given I am on the map page with the plant layer active
- When I select a shade with a spatial relation with another shade on the same map
- When I copy that shade using the keybinding CTRL + C
- When I enter placing mode using the keybinding CTRL + V
- Then I can see a preview of the copied shade
- Actual Result:
- Test Result: ✅
- Notes: Repeat this test using only the corresponding toolbox buttons.
Placing copied shades on different map
- Description: Placing copied shades on different map.
- Given I am on the map page with the plant layer active
- When I select a shade with a spatial relation with another shade on two maps A and B
- When I copy that shade using the keybinding CTRL + C
- When I navigate to the map overview
- When I navigate to a different map page
- When I enter placing mode using the keybinding CTRL + V
- Then I can see a preview of the copied shade
- Actual Result:
- Test Result: ✅
- Notes: Repeat this test using only the corresponding toolbox buttons.
Copying hydrologies
- Description: Copying hydrologies on the map.
- Given I am on the map page with the hydrology layer active
- When I select a hydrology
- When I copy that hydrology using the keybinding CTRL + C
- Then I can see that the hydrology can now be placed on the map using the keybinding CTRL + V
- Actual Result:
- Test Result: ✅
- Notes: Repeat this test using only the corresponding toolbox buttons.
Cutting hydrologies
- Description: Cutting hydrologies on the map.
- Given I am on the map page with the hydrology layer active
- When I select a hydrology
- When I cut that hydrology using the keybinding CTRL + X
- Then I can see that the hydrology was removed from the map and the hydrology can now be placed on the map using the keybinding CTRL + V
- Actual Result:
- Test Result: ✅
- Notes: Repeat this test using only the corresponding toolbox buttons.
Placing copied hydrologies
- Description: Placing copied hydrologies on the map.
- Given I am on the map page with the plant layer active
- When I select a hydrology with a spatial relation with another hydrology on the same map
- When I copy that hydrology using the keybinding CTRL + C
- When I enter placing mode using the keybinding CTRL + V
- Then I can see a preview of the copied hydrology
- Actual Result:
- Test Result: ✅
- Notes: Repeat this test using only the corresponding toolbox buttons.
Placing copied hydrologies on different map
- Description: Placing copied hydrologies on different map.
- Given I am on the map page with the plant layer active
- When I select a hydrology with a spatial relation with another hydrology on two maps A and B
- When I copy that hydrology using the keybinding CTRL + C
- When I navigate to the map overview
- When I navigate to a different map page
- When I enter placing mode using the keybinding CTRL + V
- Then I can see a preview of the copied hydrology
- Actual Result:
- Test Result: ✅
- Notes: Repeat this test using only the corresponding toolbox buttons.
Copying soil textures
- Description: Copying soil textures on the map.
- Given I am on the map page with the soil texture layer active
- When I select a soil texture
- When I copy that soil texture using the keybinding CTRL + C
- Then I can see that the soil texture can now be placed on the map using the keybinding CTRL + V
- Actual Result:
- Test Result: ✅
- Notes: Repeat this test using only the corresponding toolbox buttons.
Cutting soil textures
- Description: Cutting soil textures on the map.
- Given I am on the map page with the soil texture layer active
- When I select a soil texture
- When I cut that soil texture using the keybinding CTRL + X
- Then I can see that the soil texture was removed from the map and the soil texture can now be placed on the map using the keybinding CTRL + V
- Actual Result:
- Test Result: ✅
- Notes: Repeat this test using only the corresponding toolbox buttons.
Placing copied soil textures
- Description: Placing copied soil textures on the map.
- Given I am on the map page with the plant layer active
- When I select a soil texture with a spatial relation with another soil texture on the same map
- When I copy that soil texture using the keybinding CTRL + C
- When I enter placing mode using the keybinding CTRL + V
- Then I can see a preview of the copied soil texture
- Actual Result:
- Test Result: ✅
- Notes: Repeat this test using only the corresponding toolbox buttons.
Placing copied soil textures on different map
- Description: Placing copied soil textures on different map.
- Given I am on the map page with the plant layer active
- When I select a soil texture with a spatial relation with another soil texture on two maps A and B
- When I copy that soil texture using the keybinding CTRL + C
- When I navigate to the map overview
- When I navigate to a different map page
- When I enter placing mode using the keybinding CTRL + V
- Then I can see a preview of the copied soil texture
- Actual Result:
- Test Result: ✅
- Notes: Repeat this test using only the corresponding toolbox buttons.
Copying drawings
- Description: Copying drawings on the map.
- Given I am on the map page with the drawing layer active
- When I select a drawing
- When I copy that drawing using the keybinding CTRL + C
- Then I can see that the drawing can now be placed on the map using the keybinding CTRL + V
- Actual Result:
- Test Result: ✅
- Notes: Repeat this test using only the corresponding toolbox buttons.
Cutting drawings
- Description: Cutting drawings on the map.
- Given I am on the map page with the drawing layer active
- When I select a drawing
- When I cut that drawing using the keybinding CTRL + X
- Then I can see that the drawing was removed from the map and the drawing can now be placed on the map using the keybinding CTRL + V
- Actual Result:
- Test Result: ✅
- Notes: Repeat this test using only the corresponding toolbox buttons.
Placing copied drawings
- Description: Placing copied drawings on the map.
- Given I am on the map page with the plant layer active
- When I select a drawing with a spatial relation with another drawing on the same map
- When I copy that drawing using the keybinding CTRL + C
- When I enter placing mode using the keybinding CTRL + V
- Then I can see a preview of the copied drawing
- Actual Result:
- Test Result: ✅
- Notes: Repeat this test using only the corresponding toolbox buttons.
Placing copied drawings on different map
- Description: Placing copied drawings on different map.
- Given I am on the map page with the plant layer active
- When I select a drawing with a spatial relation with another drawing on two maps A and B
- When I copy that drawing using the keybinding CTRL + C
- When I navigate to the map overview
- When I navigate to a different map page
- When I enter placing mode using the keybinding CTRL + V
- Then I can see a preview of the copied drawing
- Actual Result:
- Test Result: ✅
- Notes: Repeat this test using only the corresponding toolbox buttons.
Drawing Layer
Switch between drawing layers
- Description: Switch between drawing layers
- Given I am on the map page with a drawing layer active
- Given I can select another drawing layer
- When I click on a rectangle of the current layer
- Then I can see that the rectangle is selected
- When I switch to another drawing layer
- When I click on a rectangle of the previous layer
- Then I can see that the rectangle is not selected
- When I click on a rectangle of the current layer
- Then I can see that the rectangle is selected
- Actual Result:
- Test Result: ✅
- Notes: Can be repeated for all types of drawings
Diagonally resize shape
- Description: Diagonally resize shape.
- Given I am on the map page with the drawing layer active and a shape selected
- When I drag a corner
- Then I can see that the new shape size has a different ratio of length to width as before
- Actual Result:
- Test Result: ✅
- Notes: Repeat this test for all Shape types
Entry and List Seeds
Seed creation
- Description: Adding more entries to the inventory overview.
- Given I am logged in and have already added entries
- When I submit the form for seed creation
- Then I see my newly added entry in the overview
- Actual Result:
- Test Result: ⏭️
- Notes:
Seed creation with more than 30 objects
- Description: After creating 30 seeds, everything should be shown correctly on the overview page.
- Given I am logged in and add 30 valid seeds
- When I go to my inventory
- Then I see all my newly added seeds in the overview
- Actual Result:
- Test Result: ⏭️
- Notes:
Seed editing - Name
- Description: After renaming a seed, the new name should be visible in the seed overview.
- Given I am logged in and edit a seed name
- When I go to my inventory
- Then I see the new name of the edited seed
- Actual Result:
- Test Result: ⏭️
- Notes:
Seed search
- Description: Verify that searching for an existing seed returns the correct results.
- Given I am logged in and have seeds in my inventory
- When I enter the name of an existing seed in the search bar
- Then I see the matching seed(s) listed in the search results
- Actual Result:
- Test Result: ⏭️
- Notes:
Searching seed that does not exist
- Description: Verify that searching for a non-existent seed returns no results.
- Given I am logged in and have seeds in my inventory
- When I enter a name (e.g. ----) that does not match any seed in the search bar
- Then I see a message indicating that no seeds were found, or the search results are empty
- Actual Result:
- Test Result: ⏭️
- Notes:
Archive seed
- Description: After archiving a seed, it should be removed from the overview or marked as archived
- Given I am logged in and archive a seed
- When I go to my inventory
- Then I don't see the archived seed anymore, or it is marked as archived
- Actual Result:
- Test Result: ⏭️
- Notes: ⚠️ known to be problematic. Issue #2375
Restore an archived seed
- Description: After restoring an archived seed, it should be added to the overview again
- Given I am logged in and visited the inventory page
- When I archive a seed and then restore it
- Then I see the restored seed again.
- Actual Result:
- Test Result: ⏭️
- Notes: ⚠️ known to be problematic. Issue #2164
Additional name on map: plant labels
- Description: Test additional names being displayed properly.
- Given I am on the map page with the plants layer active
- When I create a new plant from the inventory
- Then I can see the additional name on the label when hovering over the plant
- Actual Result:
- Test Result: ⏭️
- Notes: The additional name must also be visible when a different account views the same map in parallel.
Additional name on map: left toolbar
- Description: Test additional names being displayed properly.
- Given I am on the map page with the plants layer active
- When I create a new plant from the inventory
- When I click on the new plant icon.
- Then I can see the additional name in the left toolbars heading
- Actual Result:
- Test Result: ⏭️
- Notes: The additional name must also be visible when a different account views the same map in parallel.
Additional name on map: updates
- Description: Test additional names being displayed properly.
- Given I am on the map page with the plants layer active
- When I create a new plant from the inventory
- When I go to the inventory page and change the seeds name
- Then I can see the changes in the plant label and left toolbar
- Actual Result:
- Test Result: ⏭️
- Notes: The additional name must also be visible when a different account views the same map.
- Notes: ⚠️ known to be problematic. Issue #2427
Grid
Grid is Changed on Zoom
- Description: Display a point grid on the screen.
- Given I am on a map page
- When I Zoom in or out
- Then the grid spacing is changing
- Actual Result:
- Test Result: ⏭️
- Notes:
Heatmap
Plant layer should be above heatmap
- Description: Verify that the Plant Layer is above the Heatmap Layer
- Given I am on a map page
- When I place some tomatoes on the map
- When I select a potato and try to place it near the tomatoes so that heatmap is shown
- Then I can see that the heatmap is below the plants
- Actual Result:
- Test Result: ✅
- Notes:
Change position of plant layer
- Description: Verify that the heatmap changes its position when the plant layer is moved in priority
- Given I am on a map page where plant layer is above a drawing layer
- When I place some tomatoes on the plant layer
- When I draw a filled rectangle on the drawing layer so that it overlaps with the tomatoes
- When I select a potato and try to place it near the tomatoes so that heatmap is shown
- Then I can see that the heatmap is below the plants and above the rectangle
- When I move the plant layer below the drawing layer
- Then I can see that the heatmap is below the rectangle and below the plants
- Actual Result:
- Test Result: ✅
- Notes:
All Shade types and Allium ursinum
- Description: Verify heatmap colors for all three shade types for the plant named Wild garlic (Allium ursinum)
- Given I am on a map where three shades are drawn with one being a light shade, one being a partial shade and one being a sun shade
- When I select the plant with the name "Allium ursinum" for planting in the plant layer
- Then I can see that the heatmap shows green areas for all three shades
- Actual Result:
- Test Result: ✅
- Notes: Can be broken on scraper data change
All Shade types and Allium pendulinum
- Description: Verify heatmap colors for all three shade types for the plant named Allium pendulinum (Allium pendulinum)
- Given I am on a map where three shades are drawn with one being a light shade, one being a partial shade and one being a sun shade
- When I select the plant with the name "Allium pendulinum" for planting in the plant layer
- Then I can see that the heatmap shows two green areas for light and partial shades and red for the sun shade
- Actual Result:
- Test Result:✅
- Notes: Can be broken on scraper data change
All Shade types and Malus domestica
- Description: Verify heatmap colors for all three shade types for the plant named Apple (Malus domestica)
- Given I am on a map where three shades are drawn with one being a light shade, one being a partial shade and one being a permanent shade
- When I select the plant with the name "Malus domestica" for planting in the plant layer
- Then I can see that the heatmap shows green area for the light shade, orange for the partial shade and green for the sun shade
- Actual Result:
- Test Result: ✅
- Notes: Can be broken on scraper data change
All Shade types and Tomato
- Description: Verify heatmap colors for all three shade types for the plant named Tomato
- Given I am on a map where three shades are drawn with one being a light shade, one being a partial shade and one being a sun shade
- When I select the plant with the name "Tomato" for planting in the plant layer
- Then I can see that the heatmap shows red areas for the partial shade and the light shade, and a green area for the sun shade
- Actual Result:
- Test Result: ✅
- Notes: Can be broken on scraper data change
Positive temporal relation within min duration
- Description: Verify heatmap colors for temporal relation between two plantings of "Allium cepa"
- Given I am on a map where a planting of "Allium cepa" has existed 6 months ago (remove_date = current date - 6 Months)
- When I select the plant with the name "Allium cepa" for planting in the plant layer
- Then I can see that the heatmap shows a green indication on the spot the previous planting of "Allium cepa" has been
- Actual Result:
- Test Result: ✅
- Notes: Can be broken on scraper data change
Negative temporal relation exactly at min duration
- Description: Verify heatmap colors for temporal relation between two plantings of "Allium cepa"
- Given I am on a map where a planting of "Allium cepa" has existed 1 year ago (remove_date = current date - 1 year)
- When I select the plant with the name "Allium cepa" for planting in the plant layer
- Then I can see that the heatmap shows an orange indication on the spot the previous planting of "Allium cepa" has been
- Actual Result: Shows nothing.
- Test Result:❌
- Notes: Can be broken on scraper data change
Negative temporal relation between min and max duration
- Description: Verify heatmap colors for temporal relation between two plantings of "Allium cepa"
- Given I am on a map where a planting of "Allium cepa" has existed 2 years ago (remove_date = current date - 2 years)
- When I select the plant with the name "Allium cepa" for planting in the plant layer
- Then I can see that the heatmap shows an orange indication on the spot the previous planting of "Allium cepa" has been
- Actual Result: Shows nothing.
- Test Result:❌
- Notes: Can be broken on scraper data change
Negative temporal relation within min duration
- Description: Verify heatmap colors for temporal relation between "Allium fistulosum" and "Allium cepa"
- Given I am on a map where a planting of "Allium fistulosum" has existed 5 months ago (remove_date = current date - 5 months)
- When I select the plant with the name "Allium cepa" for planting in the plant layer
- Then I can see that the heatmap shows a red indication on the spot the previous planting of "Allium fistulosum" has been
- Actual Result: Shows nothing.
- Test Result:❌
- Notes: Can be broken on scraper data change
Positive temporal relation within min duration
- Description: Verify heatmap colors for temporal relation between plantings of "Allium sativum" and "Lactuca sativa"
- Given I am on a map where a planting of "Allium sativum" has existed 6 months ago (remove_date = current date - 6 months)
- When I select the plant with the name "Lactuca sativa" for planting in the plant layer
- Then I can see that the heatmap shows a green indication on the spot the previous planting of "Allium sativum" has been
- Actual Result:
- Test Result: ✅
- Notes: Can be broken on scraper data change
Hydrology moist area and Great Water Dock
- Description: Verify heatmap color for hydrology type moist for the plant named Great Water Dock (Rumex hydrolapathum)
- Given I am on a map where a hydrology area is drawn with the type moist
- When I select the plant with the name "Rumex hydrolapathum" for planting in the plant layer
- Then I can see that the heatmap shows a green area for the hydrology area
- Actual Result:
- Test Result: ✅
- Notes: Can be broken on scraper data change
Hydrology moist area and Tomato
- Description: Verify heatmap color for hydrology type moist for the plant named Tomato (Solanum lycopersicum)
- Given I am on a map where a hydrology area is drawn with the type moist
- When I select the plant with the name "Solanum lycopersicum" for planting in the plant layer
- Then I can see that the heatmap shows a red area for the hydrology area
- Actual Result: Green instead.
- Test Result:❌
- Notes: The soil has to contain enough nutrients and be watered properly. Can be broken on scraper data change
Soil texture sandy area and Tomato
- Description: Verify heatmap color for soil texture type sandy for the plant named Tomato (Solanum lycopersicum)
- Given I am on a map where a soil texture area is drawn with the type sandy
- When I select the plant with the name "Solanum lycopersicum" for planting in the plant layer
- Then I can see that the heatmap shows a green area for the soil texture area
- Actual Result:
- Test Result: ✅
- Notes: Can be broken on scraper data change
Soil texture clay area and Watermelon
- Description: Verify heatmap color for soil texture type clay for the plant named Watermelon (Citrullus lanatus)
- Given I am on a map where a soil texture area is drawn with the type clay
- When I select the plant with the name "Citrullus lanatus" for planting in the plant layer
- Then I can see that the heatmap shows a red area for the soil texture area
- Actual Result:
- Test Result: ✅
- Notes: Can be broken on scraper data change
Soil texture clay area and Cauliflower
- Description: Verify heatmap color for soil texture type clay for the plant named Cauliflower (Brassica oleracea botrytis)
- Given I am on a map where a soil texture area is drawn with the type clay
- When I select the plant with the name "Brassica oleracea botrytis" for planting in the plant layer
- Then I can see that the heatmap shows a green area for the soil texture area
- Actual Result:
- Test Result: ✅
- Notes: Can be broken on scraper data change
Occupied space with plants in the future
- Description: Verify that the heatmap indicates an occupied space with black
- Given I am on a map where any plant and an area of plants is planted
- When I go into the past one day before these exist and select any plant for planting in the plant layer
- Then I can see that the heatmap shows a black area on the spot these plants will be in the future
- Actual Result:
- Test Result: ✅
- Notes:
Spatial relation
- Description: Verify heatmap colors for spatial relations
- Given I am on a map with the plant layer active and a planting of "Allium cepa" exists
- When I select the plant with the name "Cucurbita maxima" for planting
- Then I can see that the heatmap shows a green indication around the existing planting of "Allium cepa"
- When I select the plant with the name "Solanum lycopersicum" for planting
- Then I can see that the heatmap shows an orange indication around the existing planting of "Allium cepa"
- When I select the plant with the name "Vicia faba" for planting
- Then I can see that the heatmap shows a red indication around the existing planting of "Allium cepa"
- Actual Result:
- Test Result:✅
- Notes:
Hierarchy Test Cases
Antagonist relationships consider hierarchy
- Description: Verify that antagonist relationship entries also includes all plants in ranks below than those specified
- Given I am on a map page with the plant layer active
- When I place Common Bean (Phaseolus vulgaris) and Tendergreen (Phaseolus vulgaris 'Tendergreen') on the map
- When I place Onion (Allium cepa) on the map
- Then I can see a red heatmap below both "Phaseolus vulgaris" plants and red lines between them and Onion (Allium cepa)
- When I place Shallot (Allium cepa ascalonicum) on the map
- Then I can see a red heatmap below both "Phaseolus vulgaris" plants and red lines between them and Shallot (Allium cepa ascalonicum)
- Actual Result:
- Test Result: ⏭️
- Notes: Can be broken on scraper data change
Companion relationships consider hierarchy
- Description: Verify that companion relationship entries also includes all plants in ranks below than those specified
- Given I am on a map page with the plant layer active
- When I place Chili (Capsicum annuum) and Capsicum annuum 'Leon' on the map
- When I place Onion (Allium cepa) on the map
- Then I can see a green heatmap below both "Capsicum annuum" plants and green lines between them and Onion (Allium cepa)
- When I place Shallot (Allium cepa ascalonicum) on the map
- Then I can see a green heatmap below both "Capsicum annuum" plants and green lines between them and Shallot (Allium cepa ascalonicum)
- Actual Result:
- Test Result: ⏭️
- Notes: Can be broken on scraper data change
Temporal relationships consider hierarchy
- Description: Verify that temporal relationship entries also includes all plants in ranks below than those specified
- Given I am on a map where Onion (Allium cepa) and Shallot (Allium cepa ascalonicum) have existed 4 months ago (remove_date = current date - 4 Months)
- When I place Solanum lycopersicum on the map
- Then I see a green heatmap where both "Allium cepa" plants used to be
- When I place Solanum lycopersicum 'Rosa' on the map
- Then I see a green heatmap where both "Allium cepa" plants used to be
- Actual Result:
- Test Result: ⏭️
- Notes: Can be broken on scraper data change
Attribute inheritance
- Description: Verify that attributes are inherited to lower ranks
- Given that an icon has been set for Allium cepa via an override file and I am on a map with the plant layer active
- When I place Allium cepa, Allium cepa aggregatum and Allium cepa 'Shakespeare'
- Then I see that all three plants have an onion icon
- Actual Result:
- Test Result: ⏭️
- Notes: Can be broken on scraper data change
Inventory
Change Language While Creating a Seed
- Description: Change language while creating a seed
- Given I have selected the English language
- Given I am on the seed entry page
- When I select a plant
- When I change the language to German
- Then the plant name is translated to German
- Actual Result:
- Test Result: ⏭️
- Notes: Should also work when switching from German to English
Layer Management
Initial Order of Layers
- Description: Test initial order of layers.
- When I create a new map
- Then Base Layer is at bottom of layer list and Plant Layer is on top of layer list
- Actual Result:
- Test Result: ⏭️
- Notes:
Correct konva rendering of layer order on new map
- Description: Test correct rendering order of konva layers.
- Given I am on a new map
- When I add a background image in Base Layer
- When I add an overlapping rectangle in Drawing Layer
- When I add an overlapping plant in plant layer
- Then Plant in is front of rectangle and rectangle is in front of background image
- Actual Result:
- Test Result: ⏭️
- Notes:
Renaming of layer
- Description: Test if Drawing Layer can be renamed.
- Given I am on a new map
- When I rename the Drawing Layer
- Then The new name is visible in the layer list
- Actual Result:
- Test Result: ⏭️
- Notes:
Creation of new layer
- Description: Test if new layer can be created.
- Given I am on a new map
- When I select a layer and create a new one
- Then The new layer is visible above currently selected layer
- Actual Result:
- Test Result: ⏭️
- Notes:
Change order of layers
- Description: Test if the order of layers can be updated correctly.
- Given I am on a map with 2 drawing layers with overlapping rectangles
- When I select the upper Drawing Layer and move it below the other one
- Then The order in the layer list is updated and the rectangle of the new upper drawing layer is shown in front of the lower one on the map
- Actual Result:
- Test Result: ⏭️
- Notes:
Delete Drawing Layer
- Description: Test if Drawing Layer can be deleted.
- Given I am on a map with some drawing on a Drawing Layer
- When I delete the Drawing Layer
- Then The layer disappears from layer list and drawings are deleted from map
- Actual Result:
- Test Result: ⏭️
- Notes:
Deletion of Plant Layer not possible
- Description: Test if deletion of Plant layer is disabled.
- Given I am on a new map
- When I select the Plant Layer
- Then Button to delete layer is disabled
- Actual Result:
- Test Result: ⏭️
- Notes:
Deletion of Base Layer not possible
- Description: Test if Deletion of Base layer is disabled.
- Given I am on a new map
- When I select the Base Layer
- Then Button to delete layer is disabled
- Actual Result:
- Test Result: ⏭️
- Notes:
Top layer cannot be moved up
- Description: Test if the top layer cannot be moved up.
- Given I am on a new map
- When I select the top layer
- Then Button to to move layer up is disabled
- Actual Result:
- Test Result: ⏭️
- Notes:
Bottom layer cannot be moved down
- Description: Test if the bottom layer cannot be moved down.
- Given I am on a new map
- When I select the bottom layer
- Then Button to to move layer down is disabled
- Actual Result:
- Test Result: ⏭️
- Notes:
Renaming of Plant Layer not possible
- Description: Test if Renaming of Plant layer is not possible.
- Given I am on a new map
- When I select the Plant Layer
- Then Button to rename layer is disabled
- Actual Result:
- Test Result: ⏭️
- Notes:
Renaming of Base Layer not possible
- Description: Test if Renaming of Base layer is not possible.
- Given I am on a new map
- When I select the Base Layer
- Then Button to rename layer is disabled
- Actual Result:
- Test Result: ⏭️
- Notes:
Layer Visibility
Layer Opacity
- Description: Check whether the opacity of a layer changes.
- Given I am on a map page with a base layer image configured
- When dragging the slider for the base layer in the layer section of the toolbar to 50%
- Then I can see the change in opacity of the base layer image
- When I change the size of the toolbar
- Then I can see the slider and the filling change in size proportionally. Therefore 50% of the slider should be filled
- Actual Result:
- Test Result: ⏭️
- Notes: ⚠️ known to be problematic. Issue #2427
Login
Successful Login
- Description: Verify that a user can log in with valid credentials.
- Given I am on the PermaplanT landing page
- When I click on the "Log In" Button
- And I enter valid username and password
- Then I am redirected to the landing page
- And there is "logout" Button now
- Actual Result:
- Test Result: ⏭️
- Notes:
Successful Logout
- Description: Verify that a logged-in user can log out successfully.
- Given I am logged in and on the landing page
- When I click the logout button
- Then I am redirected to the landing page
- Actual Result:
- Test Result: ⏭️
- Notes:
Incorrect Login Credentials
- Description: Verify that login fails with incorrect credentials.
- Given I am on the landing page
- When I click on the "Log In" Button
- And I enter an invalid username or password
- Then I see an error message indicating login failed
- Actual Result:
- Test Result: ⏭️
- Notes:
Map Creation
Successful map creation
- Description: Verify that a new map can be created successfully.
- Given I am logged in and on the map creation page
- When I enter valid information for a new map and submit the form
- Then the new map is created and appears in my map overview
- Execution Time: 1
- E2E Implementation Complexity: 1
- E2E Implementation Status: Implemented
- Regression Likelihood: Low
- Level of Criticality: High
- Actual Result:
- Test Result: ⏭️
- Notes:
Edit existing Map
- Description: Verify that an existing map can be edited.
- Given I am logged in and have at least one map
- When I select a map and edit its details
- Then the changes are saved and reflected in the map overview
- Execution Time: 1
- E2E Implementation Complexity: 0.5
- E2E Implementation Status: Implemented
- Regression Likelihood: Low
- Level of Criticality: Medium
- Actual Result:
- Test Result: ⏭️
- Notes:
Map already exists
- Description: Verify that creating a map with a name that already exists is not allowed.
- Given I am logged in and have already created a map with a specific name
- When I try to create another map with the same name
- Then I see an error message indicating that the map already exists, and the map is not created
- Execution Time: 1
- E2E Implementation Complexity: 0.5
- E2E Implementation Status: Implemented
- Regression Likelihood: Low
- Level of Criticality: Medium
- Actual Result:
- Test Result: ⏭️
- Notes:
Map Overview: More than 30 Maps should be visible
- Description: Test that pagination works on the map overview screen.
- Given I am on the map overview screen
- When I create more than 30 maps
- Then I can see all maps after scrolling to the bottom of the page
- Execution Time: 5
- E2E Implementation Complexity: 2
- E2E Implementation Status: Implemented
- Regression Likelihood: Medium
- Level of Criticality: Medium
- Actual Result:
- Test Result: ⏭️
- Notes:
Map Deletion
Map Deletion
- Description: A map should no longer be available after it has been deleted.
- Given I am on a map overview page
- When I delete a map
- Then the map is no longer available in the overview
- Actual Result:
- Test Result: ⏭️
- Notes:
Map Search
Map Search
- Description: Appropriate maps should be displayed for each search term.
- Given I am on a map overview page
- When I search for a map using the search field
- Then the maps are filtered appropriately
- Actual Result:
- Test Result: ⏭️
- Notes:
Map Timeline
Hide Timeline
- Description: Timeline can be hidden through a toggle.
- Given I am on a map page
- When I click on the timeline toggle
- Then I see that timeline is not visible anymore
- Actual Result:
- Test Result: ⏭️
- Notes:
Timeline on current day after loading
- Description: Timeline always sets to current date when loading
- Given I am on the map overview page
- When I click on a map
- Then I see that the date on the timeline is today
- Actual Result:
- Test Result: ⏭️
- Notes:
Timeline on current day after refreshing
- Description: Timeline always resets to current date when refreshing page
- Given I am on a map page
- When I set the timeline to some day that is not today
- Then I refresh the page
- Then I see the date on the timeline is today's date again
- Actual Result:
- Test Result: ⏭️
- Notes:
Timeline after resizing toolbar
- Description: Selected day remains in the middle of the timeline after resizing the left toolbar
- Given I am on a map page
- When I select an element (e.g. planting)
- And I drag and resize the left toolbar
- Then I see the currently selected day still in the middle of the timeline
- Actual Result:
- Test Result: ⏭️
- Notes:
Map Toolbar
Adjust Toolbar Height
- Description: Toolbar height can be adjusted by dragging.
- Given I am on a map page
- When I drag the horizontal handle of the toolbar
- Then I see that the height of the toolbar has changed
- Actual Result:
- Test Result: ⏭️
- Notes:
Adjust Toolbar Width
- Description: Toolbar width can be adjusted by dragging.
- Given I am on a map page
- When I drag the vertical handle of the toolbar
- Then I see that the width of the toolbar has changed
- Actual Result:
- Test Result: ⏭️
- Notes:
Hide Toolbar
- Description: Toolbar can be hidden through a toggle.
- Given I am on a map page
- When I click on the toolbar toggle
- Then I see that toolbar is not visible anymore
- Actual Result:
- Test Result: ⏭️
- Notes:
Remembering Toolbar settings
- Description: Last settings of a map toolbar (height, width, visibility) get persisted between page visits.
- Given I am on a map page
- When I select specific height, width, visibility for a map toolbar
- When I refresh the page
- Then I see the same toolbar settings I previously set
- Actual Result:
- Test Result: ⏭️
- Notes:
Attributes changing upon selection of different planting
- Description: After selecting a different planting, the Toolbar should update to display the attributes (plant attributes, width, length, height, add date, remove date, notes, plant name) of the newly selected planting
- Given I am on a map page
- When I select a planting
- And I select another planting afterwards
- Then I see the latter planting's attributes
- Actual Result:
- Test Result: ⏭️
- Notes:
Attributes changing upon selection of different drawing
- Description: After selecting a different drawing, the Toolbar should update to display the attributes (add date, remove date, notes, color, stroke width) of the newly selected drawing
- Given I am on a map page
- When I select a drawing
- And I select another drawing afterwards
- Then I see the latter drawing's attributes
- Actual Result:
- Test Result: ⏭️
- Notes:
Able to keep writing in Notes after autosave
- Description: After writing something in Notes and then waiting for the autosave to finish, the cursor is still in the Notes menu without any additional clicking.
- Given I am on a map page
- When I select an element (e.g. planting, drawing, etc.)
- And I write something in the Notes menu in the Toolbar
- And I wait for the autosave to finish
- Then I can continue typing without having to click on the Notes menu again
- Actual Result:
- Test Result: ⏭️
- Notes:
No automatic list continuation
- Description: Markdown editor does not automatically continue lists in the Notes menu
- Given I am on a map page
- When I select an element (e.g. planting, drawing, etc.)
- And I write
1.in the Notes menu in the Toolbar - And I press Enter
- And I write
1xin the Notes menu in the Toolbar - And I press Enter
- And I write
1.in the Notes menu in the Toolbar - And I press Enter
- And I write
1xin the Notes menu in the Toolbar - And I press Enter
- Then each time I am on the new line without any automatic list continuation at the start
- Actual Result:
- Test Result: ⏭️
- Notes:
Map Undo Redo
Undo Planting
- Description: Undo and Redo a Planting to the map.
- Given I am on the map page with the plant layer active
- When I select a plant and place it onto the map
- When I click Undo in the Left Toolbar
- Then I can no longer see the plant
- When I click Redo in the Left Toolbar
- Then I can see the plant again I planted
- Actual Result:
- Test Result: ⏭️
- Notes:
Undo Redo Planting
- Description: Undo and Redo a Planting to the map.
- Given I am on the map page with the plant layer active
- When I select a plant and place it onto the map
- When I click Undo in the Left Toolbar
- Then I can no longer see the plant
- When I click Redo in the Left Toolbar
- Then I can see the plant again I planted
- Actual Result:
- Test Result: ⏭️
- Notes:
Undo Redo Planting with Keybinding
- Description: Undo and Redo a Planting to the map.
- Given I am on the map page with the plant layer active
- When I select a plant and place it onto the map
- When I press STRG+Z
- Then I can no longer see the plant
- When I click STRG+Y
- Then I can see the plant again I planted
- Actual Result:
- Test Result: ⏭️
- Notes:
Successful undo deletion
- Description: Verify that deleting an item from the map can be undone successfully.
- Given I am on the map page with the plant layer active and there is at least one plant on the map
- When I delete a plant from the map
- Then the plant is removed from the map
- When I click Undo in the Left Toolbar
- Then the deleted plant reappears on the map
- Actual Result:
- Test Result: ⏭️
- Notes:
Measuring Distances
Measure a distance
- Description: Test whether distance can be measured successfully.
- Given I am on a map page
- When I click on the measurement button
- When I measure a distance
- Then I see a measurement line
- Then I see the measured distance
- Actual Result:
- Test Result: ⏭️
- Notes:
Measurement: Cancel measurement without deleting measurements
- Description: Verify that measured distances don't disappear when the measurement mode is canceled using the button in the status panel.
- Given I am on a map page
- When I click on the measurement button
- When I measure a distance
- When I cancel the measurement mode using the status panel
- Then the measurement layer is no longer active
- Then I can still see the measured distance
- Actual Result:
- Test Result: ⏭️
- Notes:
Measurement: Cancel measurement and delete all measurement lines
- Description: Verify that measured distances disappear when the measurement mode is canceled using the measurement button.
- Given I am on a map page
- When I click on the measurement button
- When I measure a distance
- When I cancel the measurement mode using the measurement button in the toolbar
- Then I can no longer see the measured distance
- Actual Result:
- Test Result: ⏭️
- Notes:
Measurement: Delete measurements after measurement mode is deactivated
- Description: Verify that measured distances don't disappear when the measurement mode is canceled using the button in the status panel.
- Given I am on a map page
- When I click on the measurement button
- When I measure a distance
- When I cancel the measurement mode using the status panel
- When I click on the measurement button
- Then I can no longer see the measured distance
- Actual Result:
- Test Result: ⏭️
- Notes:
Measurement: Cancel measurement by selecting other layer
- Description: Verify that measured distances don't disappear when measurement gets cancelled by selecting a different layer.
- Given I am on a map page
- When I click on the measurement button
- When I measure a distance
- When I select a different Layer from the layer list
- Then the measurement layer is no longer active
- Then I can still see the measured distance
- Actual Result:
- Test Result: ⏭️
- Notes:
Multi Select
Successfully selecting plants - Shift Click
- Description: Verify that multiple plants can be selected at once.
- Given I am on the map page with the plant layer active and there are multiple plants on the map
- When I hold the Shift key and click on several plants
- Then all selected plants are highlighted or indicated as selected
- Actual Result:
- Test Result: ⏭️
- Notes:
Successfully selecting plants - Drag&Drop
- Description: Verify that multiple plants can be selected at once using drag and drop.
- Given I am on the map page with the plant layer active and there are multiple plants on the map
- When I click and hold the mouse button, then drag to draw a selection box around several plants
- Then all plants within the selection box are highlighted or indicated as selected
- Actual Result:
- Test Result: ⏭️
- Notes:
Plant Layer
Add Planting
- Description: Add a new Planting to the map.
- Given I am on the map page with the plant layer active
- When I select a plant to add to the map
- Then I can see how many of the same plants are already present on the map, at the current date, in the status panel
- Then the same plants already present on the map, at the current date, are highlighted with an equality marker
- When I click on the map
- Then I can see that a new Planting was added
- When I select the new Planting
- Then I can see in the toolbar that created at, created by, modified at and modified by are correctly set
- Actual Result:
- Test Result: ⏭️
- Notes: Can be repeated with different plants. Can be repeated in another tab/by another user.
Plant Attributes on single planting
- Description: Plant attributes shown on planting
- Given I am on the map page with the plant layer active
- When I select a planting
- Then I can see the following Plant Attributes in the toolbar: Functions, Edible (Yes, No or None found), Edible parts, Life cycle (annual, biennial, perennial or None found), Warnings
- Actual Result:
- Test Result: ⏭️
- Notes:
Plant Attributes on multiple plantings
- Description: Plant attributes shown (with calculated common values) on multiple plantings
- Given I am on the map page with the plant layer active
- When I select multiple plantings of different plant species with differing attributes
- Then I can see the following Plant Attributes in the toolbar: Functions, Edible (Yes, No or None found), Edible parts, Life cycle (annual, biennial, perennial or None found), Warnings
- And only attributes shared by all selected plantings are displayed
- And if attributes differ, a warning indicator is shown
- Actual Result:
- Test Result: ⏭️
- Notes:
Move Planting
- Description: Move a Planting around the map.
- Given I am on the map page with the plant layer active
- When I drag a planting
- When I drop the planting
- Then I can see that the planting was moved
- When I select the new Planting
- Then I can see in the toolbar that modified at and modified by are correctly set
- Actual Result:
- Test Result: ⏭️
- Notes: Can be repeated with different plants. Can be repeated in another tab/by another user.
Edit Planting
- Description: Edit an existing Planting on the map.
- Given I am on the map page with the plant layer active
- When I select a plant that is already planted
- Then I can see detailed Information about this plant in the left toolbox
- When I edit the Notes (or any other field)
- Then I can see in the toolbar that I changed are correctly changed
- Actual Result:
- Test Result: ⏭️
- Notes: Also after reloading the site
Remove Planting
- Description: Remove a existing Planting on the map.
- Given I am on the map page with the plant layer active
- When I select a plant that is already planted
- Then I can see detailed Information about this plant in the left toolbox
- When I edit the "Removed on" date to a date in the past
- Then I can no longer see the plant
- Actual Result:
- Test Result: ⏭️
- Notes:
Clear "Removed on"/"Added on" date
- Description: Clear the "Removed on"/"Added on" of an existing planting on the map.
- Given I am on the map page with the plant layer active
- When I select a plant that is already planted and has a valid "Removed on"/"Added on" date
- Then I clear the "Removed on"/"Added on" date
- Then I have a valid Planting without the previous date
- Actual Result:
- Test Result: ⏭️
- Notes: Changes should still persist/be cleared after
- Reloading the site
- Switching from and to the selected planting
Delete Planting
- Description: Deleting a existing Planting on the map.
- Given I am on the map page with the plant layer active
- When I select a plant that is already planted
- Then I can see detailed Information about this plant in the left toolbox
- When I click the "Delete planting" Button
- Then I can no longer see the plant
- Actual Result:
- Test Result: ⏭️
- Notes:
Diagonally resize single planting
- Description: Diagonally resize single planting.
- Given I am on the map page with the plant layer active and a single planting selected
- When I drag a corner
- Then I can see that the new plant size has the same ratio of length to width as before
- Actual Result:
- Test Result: ✅
Change Size Plant - Change Values
- Description: Plants are not allowed to have a width of 0 or negative.
- Given I am on the map page with the plant layer active
- When I select a plant that is already planted
- Then I can see detailed Information about this plant in the left toolbox
- When I edit the Width
- Then I can see the plant size has changed
- Then I can see in the plant attributes that the modified at and modified by are correctly set
- When I set the Width to a non-positive value
- Then I can see that the input is marked in red and the value was not applied
- Actual Result:
- Test Result: ⏭️
- Notes:
Planting relations
- Description: Plants relations show up correctly.
- Given I am on the map page with the plant layer active
- When I select a planting that has a companion relation
- Then I can see green dotted line between selected planting and its companion
- When I select a planting that has an antagonist relation
- Then I can see red dashes line between selected planting and its antagonist
- When I select a planting that has an ambivalent relation
- Then I can see an orange line with dashes and dots between selected plantings and its ambivalent partner
- Actual Result:
- Test Result: ✅
- Notes: Suggested plant relations for test
- companion: Allium cepa, Cucurbita maxima
- ambivalent: Allium cepa, Solanum lycopersicum
- antagonist: Allium cepa, Vicia faba
- Can be broken on scraper data change
Plant Markers
Toggle Plant Markers
- Description: Turning off plant markers hides all markers while plant labels remain visible. Turning them back on restores markers.
- Given I am on the map page with the plant layer active and plant markers and plant labels are turned on
- When I turn off plant markers
- Then all plant markers are hidden
- Then plant labels are still visible
- When I turn on plant markers
- Then plant markers are displayed again on plantings that meet the marker criteria
- Actual Result:
- Test Result: ⏭️
- Notes:
Markers Visibility State Persists
- Description: The plant markers visibility setting is remembered per map and per user.
- Given I am on the map page with the plant layer active
- When I turn off plant markers
- When I reload the page
- Then plant markers are still turned off
- When I turn on plant markers
- When I reload the page
- Then plant markers are still turned on
- When I navigate to a different map
- When I turn off plant markers on that map
- When I navigate back to the original map
- Then the plant markers visibility setting of the original map is unchanged
- Actual Result:
- Test Result: ⏭️
- Notes:
Marker for Planting Created on Selected Date
- Description: A marker is shown on a planting that was created on the currently selected timeline date.
- Given I am on the map page with the plant layer active and plant markers are turned on
- When I select a timeline date on which a planting was created
- Then I can see a marker on that planting indicating it was created on the selected date
- When I select a timeline date on which no planting was created
- Then no created marker is displayed
- Actual Result:
- Test Result: ⏭️
- Notes:
Created Marker Reacts to Changes of Planting's Added On Date
- Description: The created marker disappears when the planting's "Added on" date is changed so that it no longer matches the selected timeline date, and reappears when reverted.
- Given I am on the map page with the plant layer active and plant markers are turned on
- When I select a timeline date on which a planting was created
- Then I can see a marker on that planting indicating it was created on the selected date
- When I select that planting and change its "Added on" date to a different date
- Then the created marker disappears from that planting
- When I revert the "Added on" date back to the initial value
- Then the created marker appears again on that planting
- Actual Result:
- Test Result: ⏭️
- Notes:
Marker for Planting Removed Day After Selected Date
- Description: A marker is shown on a planting that will be removed one day after the currently selected timeline date.
- Given I am on the map page with the plant layer active and plant markers are turned on
- When I select a timeline date that is one day before a planting's removal date
- Then I can see a marker on that planting indicating it will be removed the next day
- When I select a timeline date that is not one day before any planting's removal date
- Then no such removal marker is displayed
- Actual Result:
- Test Result: ⏭️
- Notes:
Removal Marker Reacts to Changes of Planting's Removed On Date
- Description: The removal marker disappears when the planting's "Removed on" date is changed so it no longer matches the day after the selected timeline date, and reappears when reverted.
- Given I am on the map page with the plant layer active and plant markers are turned on
- When I select a timeline date that is one day before a planting's removal date
- Then I can see a marker on that planting indicating it will be removed the next day
- When I select that planting and change its "Removed on" date to a different date
- Then the removal marker disappears from that planting
- When I revert the "Removed on" date back to the initial value
- Then the removal marker appears again on that planting
- Actual Result:
- Test Result: ⏭️
- Notes:
Highlight Same Plant Type When Planting
- Description: When selecting a plant type to place, all existing plantings of the same type are highlighted with an equality marker and the status panel shows the count.
- Given I am on the map page with the plant layer active and plant markers are turned on
- When I select a plant type from the plant database that is already present on the map at the current date
- Then all existing plantings of that plant type are highlighted with an equality marker
- Then the status panel displays the number of plantings and total area of the highlighted plantings
- When I click on a different plant type
- Then the previous markers are removed
- Then plantings of the newly selected plant type are highlighted instead
- When I exit planting mode
- Then all same-type markers are removed
- Actual Result:
- Test Result: ⏭️
- Notes:
No Highlight When Plant Type Not on Map
- Description: When selecting a plant type with no plantings on the map, no markers are shown and the status panel shows an appropriate message.
- Given I am on the map page with the plant layer active and plant markers are turned on
- When I select a plant type from the plant database that has no plantings on the map at the current date
- Then no plantings are highlighted
- Then the status panel displays the message "No plantings of this type at this date on the map."
- Actual Result:
- Test Result: ⏭️
- Notes:
Click Plant Marker Selects Plant
- Description: Clicking on a plant marker selects the corresponding planting.
- Given I am on the map page with the plant layer active and plant markers are turned on
- When I click on a plant marker displayed on a planting or a corresponding plant label
- Then the planting is selected
- Then I can see detailed information about this plant in the left toolbox
- Actual Result:
- Test Result: ⏭️
- Notes:
Drag Plant Covered by Plant Marker
- Description: Dragging a planting whose area is covered by a plant marker moves the planting correctly.
- Given I am on the map page with the plant layer active and plant markers are turned on
- When I drag a planting whose area is covered by a plant marker
- Then the planting moves as expected to the dropped position
- Then the plant marker moves to an updated location after the dragging has ended
- Actual Result:
- Test Result: ⏭️
- Notes:
Markers Readable on Zoomed Out Map
- Description: Plant markers remain clearly readable when the map is zoomed out.
- Given I am on the map page with the plant layer active and plant markers are turned on
- When I zoom out the map to the maximum level
- Then I can still clearly see all plant markers
- Actual Result:
- Test Result: ✅
- Notes:
Read Only
Go Offline
- Description: Put Browser Offline
- Given I am on a map
- When I put the browser to the offline mode (Firefox: Alt, Datei -> Offline Arbeiten)
- Then I see the message "You are offline. The read-only mode was activated." and everything but measurement is read-only (see other test cases)
- Actual Result:
- Test Result: ✅
- Notes: Tested with Firefox
Remembering View State of the map
Remembering View State
- Description: Last View of the map (position of map and zoom) get persisted between map visits.
- Given I am on a map page
- When I change what part of the map I am viewing (panning, zooming)
- When I refresh the page, or navigate away from the map and back to it
- Then I see the same map view I previously set
- Actual Result:
- Test Result: ✅
- Notes:
Remembering Layers
- Description: Last settings of the layers in a map (which layers are visible, layer opacity) get persisted between map visits.
- Given I am on a map page
- When I change what layers are visible, change the layer opacity
- When I refresh the page, or navigate away from the map and back to it
- Then I see the same layer settings I previously set
- Actual Result:
- Test Result: ✅
- Notes:
Remembering Drawing Layer settings
- Description: Last settings in a drawing layer in a map (selected tab, color, stroke width, fill pattern) get persisted between map visits.
- Given I am on a map page
- When I select specific tab, color, stroke width, fill pattern on a drawing layer
- When I refresh the page, or navigate away from the map and back to it
- Then I see the same drawing layer settings I previously set
- Actual Result:
- Test Result: ✅
- Notes:
Search Plants
Plant Search
-
Description: Show a selection of plants if the search input is empty.
-
Given I am on a map page with the plant layer active
-
When I click on the magnifying glass icon next to the plant's title
-
When I have an empty search box
-
Then I can see various plants as results
-
Actual Result:
-
Test Result: ✅
-
Notes:
No match was found
- Description: Verify that searching for a plant that does not exist returns no results.
- Given I am on a map page with the plant layer active
- When I enter a search term that does not match any plant (e.g. ----) in the database
- Then I see a message indicating that no plants were found
- Actual Result: Text: "There are no plants matching your search query..."
- Test Result: ✅
- Notes:
Shade Layer
Add Shading
- Description: Add a new Shading to the map.
- Given I am on the map page with the shade layer active
- When I click on the 'Light' button
- When I draw on the map
- Then I can see that a new shading was added
- Actual Result: ✅
- Test Result:
- Notes: Repeat this test for all Shading types
Remove Shading
- Description: Remove a Shading from the map.
- Given I am on the map page with the shade layer active and a Shading is selected
- When I click on 'Delete shading' in the left toolbar
- Then I can see that a new shading was deleted
- Actual Result: ✅
- Test Result:
Edit Shade Type
- Description: Change the shade of a shading.
- Given I am on the map page with the shade layer active and a Shading is selected
- When I select different shade from the drop-down menu in the left toolbar
- Then I can see that the shade is changed successfully
- Actual Result: ✅
- Test Result:
- Notes: select each shading type at least once
Set Creation Date in the Future
- Description: Update the date from which the shading should be active
- Given I am on the map page with the shade layer active and a Shading is selected
- When I select the current date in the timeline
- When I select a creation date in the future
- Then I can see that the shading is no longer shown on the map
- Actual Result: ✅
- Test Result:
Set Removal Date in the Future
- Description: Update the date from which the shading should be active
- Given I am on the map page with the shade layer active and a Shading is selected
- When I select the current date in the timeline
- When I select a creation date in the past
- When I select a removal date in the future
- Then I can see that the shading is shown on the map
- Actual Result: ✅
- Test Result:
Set Removal date in the Past
- Description: Update the date until which the shading should be active
- Given I am on the map page with the shade layer active and a Shading is selected
- When I select the current date in the timeline
- When I select a creation date in the past
- When I select a removal date in the past after the creation date
- Then I can see that the shading is no longer shown on the map
- Actual Result: ✅
- Test Result:
Translation
Default Translations English
- Description: Verify default translation strings.
- Given I am in a map and the current language is English
- When I activate the plant labels and add a plant
- Then all strings are in English
- Actual Result: Tomato
- Test Result: ✅
- Notes: Use a plant with a common name e.g. Tomato
Default Translations German
- Description: Verify default translation strings.
- Given I am in a map and the current language is German
- When I activate the plant labels and add a plant
- Then all strings are in German
- Actual Result: Tomate
- Test Result: ✅
- Notes: Use a plant with a common name e.g. Tomato
Change Translation in Maps
- Description: Verify that a user can switch language in a map and stays in the map.
- Given I am in a map and the current language is English
- When I click on the "en" Drop Down
- When I click "Deutsch"
- Then I am still on the same map
- And all the text is in German now
- Actual Result: all translated
- Test Result: ✅
- Notes:
Change Translation on Landingpage
- Description: Verify that a user can switch language on the landing page.
- Given I am on the landing page and the current language is English
- When I click on the "en" Drop Down
- When I click "Deutsch"
- Then I am still on the Landing Page
- And all the text is in German now
- Actual Result: all translated
- Test Result: ✅
- Notes:
General
- Tester:
- Date/Time:
- Duration:
- Commit/Tag:
- Setup: local build or dev.permaplant.net or master.permaplant.net or www.staging.permaplant.net
- Testuser:
- Planned tests: -1
- Executed tests: -1
- ✅ Passed tests: -1
- ⚠️ Problematic tests: -1
- ❌ Failed tests: -1
- ⏭️ Skipped tests: -1
Test Status Legend
- ✅ Passed: Test executed successfully, no issues found.
- ⚠️ Problematic: Test has blocking dependencies or minor issues.
- ❌ Failed: Test failed due to software defects.
- ⏭️ Skipped: Tests were not executed.
See Manual Testing Guidelines for detailed definitions and usage rules.
Error Analysis
Link each failed/problematic test to its GitLab issue number in the test case Notes field.
Closing Remarks
- How is the current state of the software?
- Have the quality objectives been achieved?
- What are the consequences drawn from the current state, including: how can future errors be avoided, how can the development process be improved?
Test Cases
Test cases are the blueprint of manual tests, written in GIVEN-WHEN-THEN Gherkin syntax.
For detailed guidelines on writing test cases, see: Manual Testing Guidelines
Test Case Template
Use the template below to create a new test case:
##
- Description:
- Given
- When I
- Then I
- Execution Time:
- E2E Implementation Complexity:
- E2E Implementation Status:
- Regression Likelihood:
- Level of Criticality:
- Actual Result:
- Test Result:
- Notes:
Important:
Note: Don't estimate individual tests, but a whole group of tests. - E2E Implementation Complexity: Estimated effort to automate the test - E2E Implementation Status: Status of automation (e.g., Not started, In progress, Implemented) - Regression Likelihood: <Low|Medium|High|Critical> based on historical data and code stability - Level of Criticality: <Low|Medium|High|Critical> based on user impact and business value
Automation Candidate & Effort Analysis Guidance:
- Consider execution time of manual tests – longer manual tests are good candidates for automation.
- Balance test value vs. automation effort.
- Don't estimate individual tests, but a whole group of tests.
- For each manual test, estimate automation effort analysis:
- E2E Implementation Complexity: Estimated effort to automate the test
- E2E Implementation Status: Status of automation (e.g., Not started, In progress, Implemented)
- Regression Likelihood: <Low|Medium|High|Critical> based on historical data and code stability
- Level of Criticality: <Low|Medium|High|Critical> based on user impact and project value
Guided Tour
⚠️ IMPORTANT: This test must always be executed first and requires a local build (cannot be tested on dev.permaplant.net). If you exit the tour during testing, you must reset your local database to take it again.
Map Editor Guided Tour
- Description: Check whether the Guided Tour leaves the Map Editor in its original state.
- Given I am on a map page
- When I do the Guided Tour
- Then after I have done the Guided Tour the map is the same as before
- Actual Result:
- Test Result:
- Notes: Check if all actions can be done as described.
Area of Plantings
Add Planting Area
- Description: Add a new area of Planting to the map.
- Given I am on the map page with the plant layer active
- When I select a plant to add to the map
- When I click and drag an area on the map
- Then I can see information about the sizes in a tooltip hovering next to the area of plantings
- Then I can see that a new planting area has been added
- When I select the new area of plantings
- Then I can see in the plant attributes that there is an area of plantings
- Then I can see that the values for Individual Plant Size, Plants per Row, Number of Rows, Total Plants, Length, and Width in "Area of Plantings" are equal to the information shown in the tooltip
- Actual Result:
- Test Result:
- Notes: Also test using a touchscreen device
Add Planting Area - Tooltip Positioning
- Description: Add a new area of Planting to the map.
- Given I am on the map page with the plant layer active
- When I select a plant to add to the map
- When I click and drag an area on the map
- Then I can see information about the sizes in a tooltip hovering next to the area of plantings
- When I select a plant to add to the map
- When I click and drag an area on the map, and at the same time I hover with the cursor over an existing plant or area of planting
- Then I can see both the tooltip about the sizes and the label of the plant hovered over without overlap.
- Actual Result:
- Test Result:
- Notes: The tooltip showing the size of the planting area is clearly visible.
- Notes: Also test using a touchscreen device
Move Planting Area
- Description: Move a Planting area around the map.
- Given I am on the map page with the plant layer active
- When I drag a planting area
- When I drop the planting area
- Then I can see that the planting area was moved
- When I select the Planting area
- Then I can see in the plant area attributes that modified at and modified by are correctly set
- Actual Result:
- Test Result:
- Notes: Also test using a touchscreen device
Change Size Planting Area - Drag & Drop
- Description: Edit an existing Planting Area on the map.
- Given I am on the map page with the plant layer active
- When I select a plant area that is already planted
- When I select a corner/edge and drag it around
- Then I can see information about the new sizes as a tooltip hovering next to the area of plantings
- When I stop holding the mousebutton down
- Then I can see that the planting area size has changed
- Then I can see in the plant area attributes that modified at and modified by are correctly set
- Actual Result:
- Test Result:
- Notes: Also test using a touchscreen device
Change Size Planting Area - Change Values
- Description: Edit an existing Planting Area on the map.
- Given I am on the map page with the plant layer active
- When I select a plant area that is already planted
- Then I can see detailed Information about this plant area in the left toolbox
- When I edit the Length or Width
- Then I can see that the planting area size has changed
- Then I can see in the plant area attributes that modified at and modified by are correctly set
- When I set the Length or Width to a non-positive value
- Then I can see that the input is marked in red and the value was not applied
- Actual Result:
- Test Result:
- Notes:
Base Layer
Move map border point
- Description: Move map border point.
- Given I am on the map page with the base layer active
- When I click on the 'Edit Map Bounds' button
- Then I can see that the 'Edit Map Bounds' button is shown as active
- Then I can see that a hint is shown at the bottom center of the map
- When I drag a map border point
- Then I can see that the map border point was moved
- When I click on the 'Edit Map Bounds' button again
- Then I can see that the 'Edit Map Bounds' button is shown as inactive
- Then I can see that the hint at the bottom center of the map is not shown anymore
- When I drag a map border point
- Then I can see that the map border point was not moved
- Actual Result:
- Test Result:
- Notes: Shift + M can be used instead of clicking the 'Edit Map Bounds' button Escape can be used instead of clicking the 'Edit Map Bounds' button again
- Notes: Also test using a touchscreen device
Add map border point
- Description: Add map border point.
- Given I am on the map page with the base layer active
- When I click on the 'Pencil Plus' button
- Then I can see that the 'Pencil Plus' button is shown as active
- Then I can see that a hint is shown at the bottom center of the map
- When I click on the map border
- Then I can see that a new map border point was added
- When I click on the 'Pencil Plus' button again
- Then I can see that the 'Pencil Plus' button is shown as inactive
- Then I can see that the hint at the bottom center of the map is not shown anymore
- When I click on the map border
- Then I can see that no new map border point was added
- Actual Result:
- Test Result:
- Notes: Shift + A can be used instead of clicking the 'Pencil Plus' button Escape can be used instead of clicking the 'Pencil Plus' button again
- Notes: Also test using a touchscreen device
Remove map border point
- Description: Remove map border point.
- Given I am on the map page with the base layer active
- When I click on the 'Eraser' button
- Then I can see that the 'Eraser' button is shown as active
- Then I can see that a hint is shown at the bottom center of the map
- When I click on a map border point
- Then I can see that the map border point was removed
- When I click on the 'Eraser' button again
- Then I can see that the 'Eraser' button is shown as inactive
- Then I can see that the hint at the bottom center of the map is not shown anymore
- When I click on a map border point
- Then I can see that the map border point was not removed
- Actual Result:
- Test Result:
- Notes: Shift + D can be used instead of clicking the 'Eraser' button Escape can be used instead of clicking the 'Eraser' button again
- Notes: Also test using a touchscreen device
Select Background Image
- Description: Check whether the maps background image is displayed.
- Given I am on a map page with the base layer active
- When I select a base layer image
- Then I can see the base layer image on the canvas
- Actual Result:
- Test Result:
- Notes:
Background Image default placing
- Description: Check whether the maps background image is placed correctly by default.
- Given I am on a map page with the base layer active
- When I select a base layer image
- When I can see the base layer image on the canvas
- Then the image is in the center of the map
- Actual Result:
- Test Result:
- Notes:
Move Background Image
- Description: Check whether the maps background image is displayed correctly after moving.
- Given I am on a map page with the base layer active
- When I select a base layer image
- When I increase the base layers horizontal offset in steps of
- Then I can see the base layer image is moved to the right
- When I decrease the base layers horizontal offset in steps of negative (-)
- Then I can see the base layer image is moved to the left
- When I increase the base layers vertical offset in steps of
- Then I can see the base layer image is moved down
- When I decrease the base layers vertical offset in steps of negative (-)
- Then I can see the base layer image is moved up
- Actual Result:
- Test Result:
- Notes:
Examples: | step | | 1 | | 1.1 | | 1.11 | | 2.5 | | 5 | | 5.55 |
Autoscaling Background Image
- Description: Check whether the maps background image is scaled according to distance entered.
- Given I am on a map page with the base layer active
- When I click on the autoscaling button
- Then I am prompted to select two points with a known distance
- When I click anywhere on the map inside the map bounds
- Then a red dot indicating the selected position appears
- When I select the end of the known distance
- Then a second red dot indicating the second selected position appears and additionally a line connecting the dots appears
- Then a window asking me to enter the selected real-life distance in meters and centimeters appears
- When I enter the value(s) for the distance and click the ok button
- Then the background image is correctly re-scaled to the distance shown in the grid
- Actual Result:
- Test Result:
- Notes: Use /Photos/Birdie.jpg for testing. All test users should have access to it.
- Scaling can be observed, but it's unclear what correct means in this context.
Rotate Background Image
- Description: Check whether the map's background image can be rotated correctly.
- Given I am on a map page with the base layer active
- When I select a base layer image
- When I change the rotation to following degree:
- Then the background image is rotated to match the entered orientation.
- Actual Result:
- Test Result:
- Notes:
Examples: | step | | 15 | | 45 | | 90 | | 180 | | -90 |
Copy & Paste
Copying plantings
- Description: Copying plantings on the map.
- Given I am on the map page with the plant layer active
- When I select a planting
- When I copy that planting using the keybinding CTRL + C
- Then I can see that the planting can now be placed on the map using the keybinding CTRL + V
- Actual Result:
- Test Result:
- Notes: Repeat this test using only the corresponding toolbox buttons.
- Notes: Also test using a touchscreen device
Cutting plantings
- Description: Cutting plantings on the map.
- Given I am on the map page with the plant layer active
- When I select a planting
- When I cut that planting using the keybinding CTRL + X
- Then I can see that the planting was removed from the map and the planting can now be placed on the map using the keybinding CTRL + V
- Actual Result:
- Test Result:
- Notes: Repeat this test using only the corresponding toolbox buttons.
- Notes: Also test using a touchscreen device
Placing copied plantings
- Description: Placing copied plantings on the map.
- Given I am on the map page with the plant layer active
- When I select a planting with a spatial relation with another planting on the same map
- When I copy that planting using the keybinding CTRL + C
- When I enter placing mode using the keybinding CTRL + V
- Then I can see a preview of the copied planting as well as relation lines linking it to all related plantings on the map
- Actual Result:
- Test Result:
- Notes: Repeat this test using only the corresponding toolbox buttons.
- Notes: Also test using a touchscreen device
Placing copied plantings on different map
- Description: Placing copied plantings on different map.
- Given I am on the map page with the plant layer active
- When I select a planting with a spatial relation with another planting on two maps A and B
- When I copy that planting using the keybinding CTRL + C
- When I navigate to the map overview
- When I navigate to a different map page
- When I enter placing mode using the keybinding CTRL + V
- Then I can see a preview of the copied planting as well as relation lines linking it to all related plantings on the map
- Actual Result:
- Test Result:
- Notes: Repeat this test using only the corresponding toolbox buttons.
- Notes: Also test using a touchscreen device
Copying shades
- Description: Copying shades on the map.
- Given I am on the map page with the shade layer active
- When I select a shade
- When I copy that shade using the keybinding CTRL + C
- Then I can see that the shade can now be placed on the map using the keybinding CTRL + V
- Actual Result:
- Test Result:
- Notes: Repeat this test using only the corresponding toolbox buttons.
- Notes: Also test using a touchscreen device
Cutting shades
- Description: Cutting shades on the map.
- Given I am on the map page with the shade layer active
- When I select a shade
- When I cut that shade using the keybinding CTRL + X
- Then I can see that the shade was removed from the map and the shade can now be placed on the map using the keybinding CTRL + V
- Actual Result:
- Test Result:
- Notes: Repeat this test using only the corresponding toolbox buttons.
- Notes: Also test using a touchscreen device
Placing copied shades
- Description: Placing copied shades on the map.
- Given I am on the map page with the plant layer active
- When I select a shade with a spatial relation with another shade on the same map
- When I copy that shade using the keybinding CTRL + C
- When I enter placing mode using the keybinding CTRL + V
- Then I can see a preview of the copied shade
- Actual Result:
- Test Result:
- Notes: Repeat this test using only the corresponding toolbox buttons.
- Notes: Also test using a touchscreen device
Placing copied shades on different map
- Description: Placing copied shades on different map.
- Given I am on the map page with the plant layer active
- When I select a shade with a spatial relation with another shade on two maps A and B
- When I copy that shade using the keybinding CTRL + C
- When I navigate to the map overview
- When I navigate to a different map page
- When I enter placing mode using the keybinding CTRL + V
- Then I can see a preview of the copied shade
- Actual Result:
- Test Result:
- Notes: Repeat this test using only the corresponding toolbox buttons.
- Notes: Also test using a touchscreen device
Copying hydrologies
- Description: Copying hydrologies on the map.
- Given I am on the map page with the hydrology layer active
- When I select a hydrology
- When I copy that hydrology using the keybinding CTRL + C
- Then I can see that the hydrology can now be placed on the map using the keybinding CTRL + V
- Actual Result:
- Test Result:
- Notes: Repeat this test using only the corresponding toolbox buttons.
- Notes: Also test using a touchscreen device
Cutting hydrologies
- Description: Cutting hydrologies on the map.
- Given I am on the map page with the hydrology layer active
- When I select a hydrology
- When I cut that hydrology using the keybinding CTRL + X
- Then I can see that the hydrology was removed from the map and the hydrology can now be placed on the map using the keybinding CTRL + V
- Actual Result:
- Test Result:
- Notes: Repeat this test using only the corresponding toolbox buttons.
- Notes: Also test using a touchscreen device
Placing copied hydrologies
- Description: Placing copied hydrologies on the map.
- Given I am on the map page with the plant layer active
- When I select a hydrology with a spatial relation with another hydrology on the same map
- When I copy that hydrology using the keybinding CTRL + C
- When I enter placing mode using the keybinding CTRL + V
- Then I can see a preview of the copied hydrology
- Actual Result:
- Test Result:
- Notes: Repeat this test using only the corresponding toolbox buttons.
- Notes: Also test using a touchscreen device
Placing copied hydrologies on different map
- Description: Placing copied hydrologies on different map.
- Given I am on the map page with the plant layer active
- When I select a hydrology with a spatial relation with another hydrology on two maps A and B
- When I copy that hydrology using the keybinding CTRL + C
- When I navigate to the map overview
- When I navigate to a different map page
- When I enter placing mode using the keybinding CTRL + V
- Then I can see a preview of the copied hydrology
- Actual Result:
- Test Result:
- Notes: Repeat this test using only the corresponding toolbox buttons.
- Notes: Also test using a touchscreen device
Copying soil textures
- Description: Copying soil textures on the map.
- Given I am on the map page with the soil texture layer active
- When I select a soil texture
- When I copy that soil texture using the keybinding CTRL + C
- Then I can see that the soil texture can now be placed on the map using the keybinding CTRL + V
- Actual Result:
- Test Result:
- Notes: Repeat this test using only the corresponding toolbox buttons.
- Notes: Also test using a touchscreen device
Cutting soil textures
- Description: Cutting soil textures on the map.
- Given I am on the map page with the soil texture layer active
- When I select a soil texture
- When I cut that soil texture using the keybinding CTRL + X
- Then I can see that the soil texture was removed from the map and the soil texture can now be placed on the map using the keybinding CTRL + V
- Actual Result:
- Test Result:
- Notes: Repeat this test using only the corresponding toolbox buttons.
- Notes: Also test using a touchscreen device
Placing copied soil textures
- Description: Placing copied soil textures on the map.
- Given I am on the map page with the plant layer active
- When I select a soil texture with a spatial relation with another soil texture on the same map
- When I copy that soil texture using the keybinding CTRL + C
- When I enter placing mode using the keybinding CTRL + V
- Then I can see a preview of the copied soil texture
- Actual Result:
- Test Result:
- Notes: Repeat this test using only the corresponding toolbox buttons.
- Notes: Also test using a touchscreen device
Placing copied soil textures on different map
- Description: Placing copied soil textures on different map.
- Given I am on the map page with the plant layer active
- When I select a soil texture with a spatial relation with another soil texture on two maps A and B
- When I copy that soil texture using the keybinding CTRL + C
- When I navigate to the map overview
- When I navigate to a different map page
- When I enter placing mode using the keybinding CTRL + V
- Then I can see a preview of the copied soil texture
- Actual Result:
- Test Result:
- Notes: Repeat this test using only the corresponding toolbox buttons.
- Notes: Also test using a touchscreen device
Copying drawings
- Description: Copying drawings on the map.
- Given I am on the map page with the drawing layer active
- When I select a drawing
- When I copy that drawing using the keybinding CTRL + C
- Then I can see that the drawing can now be placed on the map using the keybinding CTRL + V
- Actual Result:
- Test Result:
- Notes: Repeat this test using only the corresponding toolbox buttons.
- Notes: Also test using a touchscreen device
Cutting drawings
- Description: Cutting drawings on the map.
- Given I am on the map page with the drawing layer active
- When I select a drawing
- When I cut that drawing using the keybinding CTRL + X
- Then I can see that the drawing was removed from the map and the drawing can now be placed on the map using the keybinding CTRL + V
- Actual Result:
- Test Result:
- Notes: Repeat this test using only the corresponding toolbox buttons.
- Notes: Also test using a touchscreen device
Placing copied drawings
- Description: Placing copied drawings on the map.
- Given I am on the map page with the plant layer active
- When I select a drawing with a spatial relation with another drawing on the same map
- When I copy that drawing using the keybinding CTRL + C
- When I enter placing mode using the keybinding CTRL + V
- Then I can see a preview of the copied drawing
- Actual Result:
- Test Result:
- Notes: Repeat this test using only the corresponding toolbox buttons.
- Notes: Also test using a touchscreen device
Placing copied drawings on different map
- Description: Placing copied drawings on different map.
- Given I am on the map page with the plant layer active
- When I select a drawing with a spatial relation with another drawing on two maps A and B
- When I copy that drawing using the keybinding CTRL + C
- When I navigate to the map overview
- When I navigate to a different map page
- When I enter placing mode using the keybinding CTRL + V
- Then I can see a preview of the copied drawing
- Actual Result:
- Test Result:
- Notes: Repeat this test using only the corresponding toolbox buttons.
- Notes: Also test using a touchscreen device
Drawing Layer
Switch between drawing layers
- Description: Switch between drawing layers
- Given I am on the map page with a drawing layer active
- Given I can select another drawing layer
- When I click on a rectangle of the current layer
- Then I can see that the rectangle is selected
- When I switch to another drawing layer
- When I click on a rectangle of the previous layer
- Then I can see that the rectangle is not selected
- When I click on a rectangle of the current layer
- Then I can see that the rectangle is selected
- Actual Result:
- Test Result:
- Notes: Can be repeated for all types of drawings
- Notes: Also test using a touchscreen device
Diagonally resize shape
- Description: Diagonally resize shape.
- Given I am on the map page with the drawing layer active and a shape selected
- When I drag a corner
- Then I can see that the new shape size has a different ratio of length to width as before
- Actual Result:
- Test Result:
- Notes: Repeat this test for all Shape types
- Notes: Also test using a touchscreen device
Entry and List Seeds
Seed creation
- Description: Adding more entries to the inventory overview.
- Given I am logged in and have already added entries
- When I submit the form for seed creation
- Then I see my newly added entry in the overview
- Actual Result:
- Test Result:
- Notes:
Seed creation with more than 30 objects
- Description: After creating 30 seeds, everything should be shown correctly on the overview page.
- Given I am logged in and add 30 valid seeds
- When I go to my inventory
- Then I see all my newly added seeds in the overview
- Actual Result:
- Test Result:
- Notes:
Seed editing - Name
- Description: After renaming a seed, the new name should be visible in the seed overview.
- Given I am logged in and edit a seed name
- When I go to my inventory
- Then I see the new name of the edited seed
- Actual Result:
- Test Result:
- Notes:
Seed search
- Description: Verify that searching for an existing seed returns the correct results.
- Given I am logged in and have seeds in my inventory
- When I enter the name of an existing seed in the search bar
- Then I see the matching seed(s) listed in the search results
- Actual Result:
- Test Result:
- Notes:
Searching seed that does not exist
- Description: Verify that searching for a non-existent seed returns no results.
- Given I am logged in and have seeds in my inventory
- When I enter a name (eg. ----) that does not match any seed in the search bar
- Then I see a message indicating that no seeds were found, or the search results are empty
- Actual Result:
- Test Result:
- Notes:
Archive seed
- Description: After archiving a seed, it should be removed from the overview or marked as archived
- Given I am logged in and archive a seed
- When I go to my inventory
- Then I don't see the archived seed anymore, or it is marked as archived
- Actual Result:
- Test Result:
- Notes: ⚠️ known to be problematic. Issue #2375
Restore an archived seed
- Description: After restoring an archived seed, it should be added to the overview again
- Given I am logged in and visited the inventory page
- When I archive a seed and then restore it
- Then I see the restored seed again.
- Actual Result:
- Test Result:
- Notes: ⚠️ known to be problematic. Issue #2164
Additional name on map: plant labels
- Description: Test additional names being displayed properly.
- Given I am on the map page with the plants layer active
- When I create a new plant from the inventory
- Then I can see the additional name on the label when hovering over the plant
- Actual Result:
- Test Result:
- Notes: The additional name must also be visible when a different account views the same map in parallel.
Additional name on map: left toolbar
- Description: Test additional names being displayed properly.
- Given I am on the map page with the plants layer active
- When I create a new plant from the inventory
- When I click on the new plant icon.
- Then I can see the additional name in the left toolbars heading
- Actual Result:
- Test Result:
- Notes: The additional name must also be visible when a different account views the same map in parallel.
Additional name on map: updates
- Description: Test additional names being displayed properly.
- Given I am on the map page with the plants layer active
- When I create a new plant from the inventory
- When I go to the inventory page and change the seeds name
- Then I can see the changes in the plant label and left toolbar
- Actual Result:
- Test Result:
- Notes: The additional name must also be visible when a different account views the same map.
- Notes: ⚠️ known to be problematic. Issue #2427
Grid
Grid is Changed on Zoom
- Description: Display a point grid on the screen.
- Given I am on a map page
- When I Zoom in or out
- Then the grid spacing is changing
- Actual Result:
- Test Result:
- Notes: Also test using a touchscreen device
Heatmap
Plant layer should be above heatmap
- Description: Verify that the Plant Layer is above the Heatmap Layer
- Given I am on a map page
- When I place some tomatoes on the map
- When I select a potato and try to place it near the tomatoes so that heatmap is shown
- Then I can see that the heatmap is below the plants
- Actual Result:
- Test Result:
- Notes:
Change position of plant layer
- Description: Verify that the heatmap changes its position when the plant layer is moved in priority
- Given I am on a map page where plant layer is above an drawing layer
- When I place some tomatoes on the plant layer
- When I draw a filled rectangle on the drawing layer so that it overlaps with the tomatoes
- When I select a potato and try to place it near the tomatoes so that heatmap is shown
- Then I can see that the heatmap is below the plants and above the rectangle
- When I move the plant layer below the drawing layer
- Then I can see that the heatmap is below the rectangle and below the plants
- Actual Result:
- Test Result:
- Notes:
All Shade types and Allium ursinum
- Description: Verify heatmap colors for all three shade types for the plant named Wild garlic (Allium ursinum)
- Given I am on a map where three shades are drawn with one being a light shade, one being a partial shade and one being a sun shade
- When I select the plant with the name "Allium ursinum" for planting in the plant layer
- Then I can see that the heatmap shows green areas for all three shades
- Actual Result:
- Test Result:
- Notes: Can be broken on scraper data change
All Shade types and Allium pendulinum
- Description: Verify heatmap colors for all three shade types for the plant named Allium pendulinum (Allium pendulinum)
- Given I am on a map where three shades are drawn with one being a light shade, one being a partial shade and one being a sun shade
- When I select the plant with the name "Allium pendulinum" for planting in the plant layer
- Then I can see that the heatmap shows two green areas for light and partial shades and red for the sun shade
- Actual Result:
- Test Result:
- Notes: Can be broken on scraper data change
All Shade types and Malus domestica
- Description: Verify heatmap colors for all three shade types for the plant named Apple (Malus domestica)
- Given I am on a map where three shades are drawn with one being a light shade, one being a partial shade and one being a permanent shade
- When I select the plant with the name "Malus domestica" for planting in the plant layer
- Then I can see that the heatmap shows green area for the light shade, orange for the partial shade and green for the sun shade
- Actual Result:
- Test Result:
- Notes: Can be broken on scraper data change
All Shade types and Tomato
- Description: Verify heatmap colors for all three shade types for the plant named Tomato
- Given I am on a map where three shades are drawn with one being a light shade, one being a partial shade and one being a sun shade
- When I select the plant with the name "Tomato" for planting in the plant layer
- Then I can see that the heatmap shows red areas for the partial shade and the light shade, and a green area for the sun shade
- Actual Result:
- Test Result:
- Notes: Can be broken on scraper data change
Positive temporal relation within min duration
- Description: Verify heatmap colors for temporal relation between two plantings of "Allium cepa"
- Given I am on a map where a planting of "Allium cepa" has existed 6 months ago (remove_date = current date - 6 Months)
- When I select the plant with the name "Allium cepa" for planting in the plant layer
- Then I can see that the heatmap shows a green indication on the spot the previous planting of "Allium cepa" has been
- Actual Result:
- Test Result:
- Notes: Can be broken on scraper data change
Negative temporal relation exactly at min duration
- Description: Verify heatmap colors for temporal relation between two plantings of "Allium cepa"
- Given I am on a map where a planting of "Allium cepa" has existed 1 year ago (remove_date = current date - 1 year)
- When I select the plant with the name "Allium cepa" for planting in the plant layer
- Then I can see that the heatmap shows an orange indication on the spot the previous planting of "Allium cepa" has been
- Actual Result:
- Test Result:
- Notes: Can be broken on scraper data change
Negative temporal relation between min and max duration
- Description: Verify heatmap colors for temporal relation between two plantings of "Allium cepa"
- Given I am on a map where a planting of "Allium cepa" has existed 2 years ago (remove_date = current date - 2 years)
- When I select the plant with the name "Allium cepa" for planting in the plant layer
- Then I can see that the heatmap shows an orange indication on the spot the previous planting of "Allium cepa" has been
- Actual Result:
- Test Result:
- Notes: Can be broken on scraper data change
Negative temporal relation within min duration
- Description: Verify heatmap colors for temporal relation between "Allium fistulosum" and "Allium cepa"
- Given I am on a map where a planting of "Allium fistulosum" has existed 5 months ago (remove_date = current date - 5 months)
- When I select the plant with the name "Allium cepa" for planting in the plant layer
- Then I can see that the heatmap shows a red indication on the spot the previous planting of "Allium fistulosum" has been
- Actual Result:
- Test Result:
- Notes: Can be broken on scraper data change
Positive temporal relation within min duration
- Description: Verify heatmap colors for temporal relation between plantings of "Allium sativum" and "Lactuca sativa"
- Given I am on a map where a planting of "Allium sativum" has existed 6 months ago (remove_date = current date - 6 months)
- When I select the plant with the name "Lactuca sativa" for planting in the plant layer
- Then I can see that the heatmap shows a green indication on the spot the previous planting of "Allium sativum" has been
- Actual Result:
- Test Result:
- Notes: Can be broken on scraper data change
Hydrology moist area and Great Water Dock
- Description: Verify heatmap color for hydrology type moist for the plant named Great Water Dock (Rumex hydrolapathum)
- Given I am on a map where a hydrology area is drawn with the type moist
- When I select the plant with the name "Rumex hydrolapathum" for planting in the plant layer
- Then I can see that the heatmap shows a green area for the hydrology area
- Actual Result:
- Test Result:
- Notes: Can be broken on scraper data change
Hydrology moist area and Tomato
- Description: Verify heatmap color for hydrology type moist for the plant named Tomato (Solanum lycopersicum)
- Given I am on a map where a hydrology area is drawn with the type moist
- When I select the plant with the name "Solanum lycopersicum" for planting in the plant layer
- Then I can see that the heatmap shows a red area for the hydrology area
- Actual Result:
- Test Result:
- Notes: The soil has to contain enough nutrients and be watered properly. Can be broken on scraper data change
Soil texture sandy area and Tomato
- Description: Verify heatmap color for soil texture type sandy for the plant named Tomato (Solanum lycopersicum)
- Given I am on a map where a soil texture area is drawn with the type sandy
- When I select the plant with the name "Solanum lycopersicum" for planting in the plant layer
- Then I can see that the heatmap shows a green area for the soil texture area
- Actual Result:
- Test Result:
- Notes: Can be broken on scraper data change
Soil texture clay area and Watermelon
- Description: Verify heatmap color for soil texture type clay for the plant named Watermelon (Citrullus lanatus)
- Given I am on a map where a soil texture area is drawn with the type clay
- When I select the plant with the name "Citrullus lanatus" for planting in the plant layer
- Then I can see that the heatmap shows a red area for the soil texture area
- Actual Result:
- Test Result:
- Notes: Can be broken on scraper data change
Soil texture clay area and Cauliflower
- Description: Verify heatmap color for soil texture type clay for the plant named Cauliflower (Brassica oleracea botrytis)
- Given I am on a map where a soil texture area is drawn with the type clay
- When I select the plant with the name "Brassica oleracea botrytis" for planting in the plant layer
- Then I can see that the heatmap shows a green area for the soil texture area
- Actual Result:
- Test Result:
- Notes: Can be broken on scraper data change
Occupied space with plants in the future
- Description: Verify that the heatmap indicates an occupied space with black
- Given I am on a map where any plant and an area of plants is planted
- When I go into the past one day before these exist and select any plant for planting in the plant layer
- Then I can see that the heatmap shows a black area on the spot these plants will be in the future
- Actual Result:
- Test Result:
- Notes:
Spatial relation
- Description: Verify heatmap colors for spatial relations
- Given I am on a map with the plant layer active and a planting of "Allium cepa" exists
- When I select the plant with the name "Cucurbita maxima" for planting
- Then I can see that the heatmap shows a green indication around the existing planting of "Allium cepa"
- When I select the plant with the name "Solanum lycopersicum" for planting
- Then I can see that the heatmap shows an orange indication around the existing planting of "Allium cepa"
- When I select the plant with the name "Vicia faba" for planting
- Then I can see that the heatmap shows a red indication around the existing planting of "Allium cepa"
- Actual Result:
- Test Result:
- Notes:
Hierarchy Test Cases
Antagonist relationships consider hierarchy
- Description: Verify that antagonist relationship entries also includes all plants in ranks below than those specified
- Given I am on a map page with the plant layer active
- When I place Common Bean (Phaseolus vulgaris) and Tendergreen (Phaseolus vulgaris 'Tendergreen') on the map
- When I place Onion (Allium cepa) on the map
- Then I can see a red heatmap below both "Phaseolus vulgaris" plants and red lines between them and Onion (Allium cepa)
- When I place Shallot (Allium cepa ascalonicum) on the map
- Then I can see a red heatmap below both "Phaseolus vulgaris" plants and red lines between them and Shallot (Allium cepa ascalonicum)
- Actual Result:
- Test Result:
- Notes: Can be broken on scraper data change
Companion relationships consider hierarchy
- Description: Verify that companion relationship entries also includes all plants in ranks below than those specified
- Given I am on a map page with the plant layer active
- When I place Chili (Capsicum annuum) and Capsicum annuum 'Leon' on the map
- When I place Onion (Allium cepa) on the map
- Then I can see a green heatmap below both "Capsicum annuum" plants and green lines between them and Onion (Allium cepa)
- When I place Shallot (Allium cepa ascalonicum) on the map
- Then I can see a green heatmap below both "Capsicum annuum" plants and green lines between them and Shallot (Allium cepa ascalonicum)
- Actual Result:
- Test Result:
- Notes: Can be broken on scraper data change
Temporal relationships consider hierarchy
- Description: Verify that temporal relationship entries also includes all plants in ranks below than those specified
- Given I am on a map where Onion (Allium cepa) and Shallot (Allium cepa ascalonicum) have existed 4 months ago (remove_date = current date - 4 Months)
- When I place Solanum lycopersicum on the map
- Then I see a green heatmap where both "Allium cepa" plants used to be
- When I place Solanum lycopersicum 'Rosa' on the map
- Then I see a green heatmap where both "Allium cepa" plants used to be
- Actual Result:
- Test Result:
- Notes: Can be broken on scraper data change
Attribute inheritance
- Description: Verify that attributes are inherited to lower ranks
- Given that an icon has been set for Allium cepa via an override file and I am on a map with the plant layer active
- When I place Allium cepa, Allium cepa aggregatum and Allium cepa 'Shakespeare'
- Then I see that all three plants have an onion icon
- Actual Result:
- Test Result:
- Notes: Can be broken on scraper data change
Inventory
Change Language While Creating a Seed
- Description: Change language while creating a seed
- Given I have selected the English language
- Given I am on the seed entry page
- When I select a plant
- When I change the language to German
- Then the plant name is translated to German
- Actual Result:
- Test Result:
- Notes: Should also work when switching from German to English
Layer Management
Initial Order of Layers
- Description: Test initial order of layers.
- When I create a new map
- Then Base Layer is at bottom of layer list and Plant Layer is on top of layer list
- Actual Result:
- Test Result:
- Notes:
Correct konva rendering of layer order on new map
- Description: Test correct rendering order of konva layers.
- Given I am on a new map
- When I add a background image in Base Layer
- When I add an overlapping rectangle in Drawing Layer
- When I add an overlapping plant in plant layer
- Then Plant in is front of rectangle and rectangle is in front of background image
- Actual Result:
- Test Result:
- Notes:
Renaming of layer
- Description: Test if Drawing Layer can be renamed.
- Given I am on a new map
- When I rename the Drawing Layer
- Then The new name is visible in the layer list
- Actual Result:
- Test Result:
- Notes:
Creation of new layer
- Description: Test if new layer can be created.
- Given I am on a new map
- When I select a layer and create a new one
- Then The new layer is visible above currently selected layer
- Actual Result:
- Test Result:
- Notes:
Change order of layers
- Description: Test if the order of layers can be updated correctly.
- Given I am on a map with 2 drawing layers with overlapping rectangles
- When I select the upper Drawing Layer and move it below the other one
- Then The order in the layer list is updated and the rectangle of the new upper drawing layer is shown in front of the lower one on the map
- Actual Result:
- Test Result:
- Notes:
Delete Drawing Layer
- Description: Test if Drawing Layer can be deleted.
- Given I am on a map with some drawing on a Drawing Layer
- When I delete the Drawing Layer
- Then The layer disappears from layer list and drawings are deleted from map
- Actual Result:
- Test Result:
- Notes:
Deletion of Plant Layer not possible
- Description: Test if deletion of Plant layer is disabled.
- Given I am on a new map
- When I select the Plant Layer
- Then Button to delete layer is disabled
- Actual Result:
- Test Result:
- Notes:
Deletion of Base Layer not possible
- Description: Test if Deletion of Base layer is disabled.
- Given I am on a new map
- When I select the Base Layer
- Then Button to delete layer is disabled
- Actual Result:
- Test Result:
- Notes:
Top layer cannot be moved up
- Description: Test if the top layer cannot be moved up.
- Given I am on a new map
- When I select the top layer
- Then Button to to move layer up is disabled
- Actual Result:
- Test Result:
- Notes:
Bottom layer cannot be moved down
- Description: Test if the bottom layer cannot be moved down.
- Given I am on a new map
- When I select the bottom layer
- Then Button to to move layer down is disabled
- Actual Result:
- Test Result:
- Notes:
Renaming of Plant Layer not possible
- Description: Test if Renaming of Plant layer is not possible.
- Given I am on a new map
- When I select the Plant Layer
- Then Button to rename layer is disabled
- Actual Result:
- Test Result:
- Notes:
Renaming of Base Layer not possible
- Description: Test if Renaming of Base layer is not possible.
- Given I am on a new map
- When I select the Base Layer
- Then Button to rename layer is disabled
- Actual Result:
- Test Result:
- Notes:
Layer Visibility
Layer Opacity
- Description: Check whether the opacity of a layer changes.
- Given I am on a map page with a base layer image configured
- When dragging the slider for the base layer in the layer section of the toolbar to 50%
- Then I can see the change in opacity of the base layer image
- When I change the size of the toolbar
- Then I can see the slider and the filling change in size proportionally. Therefore 50% of the slider should be filled
- Actual Result:
- Test Result:
- Notes: ⚠️ known to be problematic. Issue #2427
- Notes: Also test using a touchscreen device
Login
Successful Login
- Description: Verify that a user can log in with valid credentials.
- Given I am on the PermaplanT landing page
- When I click on the "Log In" Button
- And I enter valid username and password
- Then I am redirected to the landing page
- And there is "logout" Button now
- Actual Result:
- Test Result:
- Notes:
Successful Logout
- Description: Verify that a logged-in user can log out successfully.
- Given I am logged in and on the landing page
- When I click the logout button
- Then I am redirected to the landing page
- Actual Result:
- Test Result:
- Notes:
Incorrect Login Credentials
- Description: Verify that login fails with incorrect credentials.
- Given I am on the landing page
- When I click on the "Log In" Button
- And I enter an invalid username or password
- Then I see an error message indicating login failed
- Actual Result:
- Test Result:
- Notes:
Map Creation
Successful map creation
- Description: Verify that a new map can be created successfully.
- Given I am logged in and on the map creation page
- When I enter valid information for a new map and submit the form
- Then the new map is created and appears in my map overview
- Execution Time: 1
- E2E Implementation Complexity: 1
- E2E Implementation Status: Implemented
- Regression Likelihood: Low
- Level of Criticality: High
- Actual Result:
- Test Result:
- Notes:
Edit existing Map
- Description: Verify that an existing map can be edited.
- Given I am logged in and have at least one map
- When I select a map and edit its details
- Then the changes are saved and reflected in the map overview
- Execution Time: 1
- E2E Implementation Complexity: 0.5
- E2E Implementation Status: Implemented
- Regression Likelihood: Low
- Level of Criticality: Medium
- Actual Result:
- Test Result:
- Notes:
Map already exists
- Description: Verify that creating a map with a name that already exists is not allowed.
- Given I am logged in and have already created a map with a specific name
- When I try to create another map with the same name
- Then I see an error message indicating that the map already exists, and the map is not created
- Execution Time: 1
- E2E Implementation Complexity: 0.5
- E2E Implementation Status: Implemented
- Regression Likelihood: Low
- Level of Criticality: Medium
- Actual Result:
- Test Result:
- Notes:
Map Overview: More than 30 Maps should be visible
- Description: Test that pagination works on the map overview screen.
- Given I am on the map overview screen
- When I create more than 30 maps
- Then I can see all maps after scrolling to the bottom of the page
- Execution Time: 5
- E2E Implementation Complexity: 2
- E2E Implementation Status: Implemented
- Regression Likelihood: Medium
- Level of Criticality: Medium
- Actual Result:
- Test Result:
- Notes:
Map Deletion
Map Deletion
- Description: A map should no longer be available after it has been deleted.
- Given I am on a map overview page
- When I delete a map
- Then the map is no longer available in the overview
- Actual Result:
- Test Result:
- Notes:
Map Gestures
Map Gesture - Panning
- Description: The map should be moved left/right/up/down when using the pan gesture.
- Given I am on a map page
- When I use the pan gesture (2 fingers moving in the same direction)
- Then the map is moved in the direction of the pan gesture
- Actual Result:
- Test Result:
- Notes: Can only be tested on touchscreen devices
Map Gesture - Pinching
- Description: The map should be zoomed in/out when using the pinch gesture.
- Given I am on a map page
- When I use the pinch gesture (2 fingers moving towards or away from each other)
- Then the map is zoomed in/out
- Actual Result:
- Test Result:
- Notes: Can only be tested on touchscreen devices
- Notes: Upper and lower limits of zoom level should be similar to zooming with the mouse wheel
Map Search
Map Search
- Description: Appropriate maps should be displayed for each search term.
- Given I am on a map overview page
- When I search for a map using the search field
- Then the maps are filtered appropriately
- Actual Result:
- Test Result:
- Notes:
Map Timeline
Hide Timeline
- Description: Timeline can be hidden through a toggle.
- Given I am on a map page
- When I click on the timeline toggle
- Then I see that timeline is not visible anymore
- Actual Result:
- Test Result:
- Notes:
Timeline on current day after loading
- Description: Timeline always sets to current date when loading
- Given I am on the map overview page
- When I click on a map
- Then I see that the date on the timeline is today
- Actual Result:
- Test Result:
- Notes:
Timeline on current day after refreshing
- Description: Timeline always resets to current date when refreshing page
- Given I am on a map page
- When I set the timeline to some day that is not today
- Then I refresh the page
- Then I see the date on the timeline is today's date again
- Actual Result:
- Test Result:
- Notes:
Timeline after resizing toolbar
- Description: Selected day remains in the middle of the timeline after resizing the left toolbar
- Given I am on a map page
- When I select an element (e.g. planting)
- And I drag and resize the left toolbar
- Then I see the currently selected day still in the middle of the timeline
- Actual Result:
- Test Result:
- Notes:
Map Toolbar
Adjust Toolbar Height
- Description: Toolbar height can be adjusted by dragging.
- Given I am on a map page
- When I drag the horizontal handle of the toolbar
- Then I see that the height of the toolbar has changed
- Actual Result:
- Test Result:
- Notes: Also test using a touchscreen device
Adjust Toolbar Width
- Description: Toolbar width can be adjusted by dragging.
- Given I am on a map page
- When I drag the vertical handle of the toolbar
- Then I see that the width of the toolbar has changed
- Actual Result:
- Test Result:
- Notes: Also test using a touchscreen device
Hide Toolbar
- Description: Toolbar can be hidden through a toggle.
- Given I am on a map page
- When I click on the toolbar toggle
- Then I see that toolbar is not visible anymore
- Actual Result:
- Test Result:
- Notes:
Remembering Toolbar settings
- Description: Last settings of a map toolbar (height, width, visibility) get persisted between page visits.
- Given I am on a map page
- When I select specific height, width, visibility for a map toolbar
- When I refresh the page
- Then I see the same toolbar settings I previously set
- Actual Result:
- Test Result:
- Notes:
Attributes changing upon selection of different planting
- Description: After selecting a different planting, the Toolbar should update to display the attributes (plant attributes, width, length, height, add date, remove date, notes, plant name) of the newly selected planting
- Given I am on a map page
- When I select a planting
- And I select another planting afterwards
- Then I see the latter planting's attributes
- Actual Result:
- Test Result:
- Notes:
Attributes changing upon selection of different drawing
- Description: After selecting a different drawing, the Toolbar should update to display the attributes (add date, remove date, notes, color, stroke width) of the newly selected drawing
- Given I am on a map page
- When I select a drawing
- And I select another drawing afterwards
- Then I see the latter drawing's attributes
- Actual Result:
- Test Result:
- Notes:
Able to keep writing in Notes after autosave
- Description: After writing something in Notes and then waiting for the autosave to finish, the cursor is still in the Notes menu without any additional clicking.
- Given I am on a map page
- When I select an element (e.g. planting, drawing, etc.)
- And I write something in the Notes menu in the Toolbar
- And I wait for the autosave to finish
- Then I can continue typing without having to click on the Notes menu again
- Actual Result:
- Test Result:
- Notes:
No automatic list continuation
- Description: Markdown editor does not automatically continue lists in the Notes menu
- Given I am on a map page
- When I select an element (e.g. planting, drawing, etc.)
- And I write
1.in the Notes menu in the Toolbar - And I press Enter
- And I write
1xin the Notes menu in the Toolbar - And I press Enter
- And I write
1.in the Notes menu in the Toolbar - And I press Enter
- And I write
1xin the Notes menu in the Toolbar - And I press Enter
- Then each time I am on the new line without any automatic list continuation at the start
- Actual Result:
- Test Result:
- Notes:
Map Undo Redo
Undo Planting
- Description: Undo and Redo a Planting to the map.
- Given I am on the map page with the plant layer active
- When I select a plant and place it onto the map
- When I click Undo in the Left Toolbar
- Then I can no longer see the plant
- When I click Redo in the Left Toolbar
- Then I can see the plant again I planted
- Actual Result:
- Test Result:
- Notes:
Undo Redo Planting
- Description: Undo and Redo a Planting to the map.
- Given I am on the map page with the plant layer active
- When I select a plant and place it onto the map
- When I click Undo in the Left Toolbar
- Then I can no longer see the plant
- When I click Redo in the Left Toolbar
- Then I can see the plant again I planted
- Actual Result:
- Test Result:
- Notes:
Undo Redo Planting with Keybinding
- Description: Undo and Redo a Planting to the map.
- Given I am on the map page with the plant layer active
- When I select a plant and place it onto the map
- When I press STRG+Z
- Then I can no longer see the plant
- When I click STRG+Y
- Then I can see the plant again I planted
- Actual Result:
- Test Result:
- Notes:
Successful undo deletion
- Description: Verify that deleting an item from the map can be undone successfully.
- Given I am on the map page with the plant layer active and there is at least one plant on the map
- When I delete a plant from the map
- Then the plant is removed from the map
- When I click Undo in the Left Toolbar
- Then the deleted plant reappears on the map
- Actual Result:
- Test Result:
- Notes:
Measuring Distances
Measure a distance
- Description: Test whether distance can be measured successfully.
- Given I am on a map page
- When I click on the measurement button
- When I measure a distance
- Then I see a measurement line
- Then I see the measured distance
- Actual Result:
- Test Result:
- Notes: Also test using a touchscreen device
Measurement: Cancel measurement without deleting measurements
- Description: Verify that measured distances don't disappear when the measurement mode is canceled using the button in the status panel.
- Given I am on a map page
- When I click on the measurement button
- When I measure a distance
- When I cancel the measurement mode using the status panel
- Then the measurement layer is no longer active
- Then I can still see the measured distance
- Actual Result:
- Test Result:
- Notes:
Measurement: Cancel measurement and delete all measurement lines
- Description: Verify that measured distances disappear when the measurement mode is canceled using the measurement button.
- Given I am on a map page
- When I click on the measurement button
- When I measure a distance
- When I cancel the measurement mode using the measurement button in the toolbar
- Then I can no longer see the measured distance
- Actual Result:
- Test Result:
- Notes:
Measurement: Delete measurements after measurement mode is deactivated
- Description: Verify that measured distances don't disappear when the measurement mode is canceled using the button in the status panel.
- Given I am on a map page
- When I click on the measurement button
- When I measure a distance
- When I cancel the measurement mode using the status panel
- When I click on the measurement button
- Then I can no longer see the measured distance
- Actual Result:
- Test Result:
- Notes:
Measurement: Cancel measurement by selecting other layer
- Description: Verify that measured distances don't disappear when measurement gets cancelled by selecting a different layer.
- Given I am on a map page
- When I click on the measurement button
- When I measure a distance
- When I select a different Layer from the layer list
- Then the measurement layer is no longer active
- Then I can still see the measured distance
- Actual Result:
- Test Result:
- Notes:
Multi Select
Successfully selecting plants - Shift Click
- Description: Verify that multiple plants can be selected at once.
- Given I am on the map page with the plant layer active and there are multiple plants on the map
- When I hold the Shift key and click on several plants
- Then all selected plants are highlighted or indicated as selected
- Actual Result:
- Test Result:
- Notes:
Successfully selecting plants - Drag&Drop
- Description: Verify that multiple plants can be selected at once using drag and drop.
- Given I am on the map page with the plant layer active and there are multiple plants on the map
- When I click and hold the mouse button, then drag to draw a selection box around several plants
- Then all plants within the selection box are highlighted or indicated as selected
- Actual Result:
- Test Result:
- Notes: Also test using a touchscreen device
Plant Layer
Add Planting
- Description: Add a new Planting to the map.
- Given I am on the map page with the plant layer active
- When I select a plant to add to the map
- Then I can see how many of the same plants are already present on the map, at the current date, in the status panel
- Then the same plants already present on the map, at the current date, are highlighted with an equality marker
- When I click on the map
- Then I can see that a new Planting was added
- When I select the new Planting
- Then I can see in the toolbar that created at, created by, modified at and modified by are correctly set
- Actual Result:
- Test Result:
- Notes: Can be repeated with different plants. Can be repeated in another tab/by another user.
- Notes: Also test using a touchscreen device
Plant Attributes on single planting
- Description: Plant attributes shown on planting
- Given I am on the map page with the plant layer active
- When I select a planting
- Then I can see the following Plant Attributes in the toolbar: Functions, Edible (Yes, No or None found), Edible parts, Life cycle (annual, biennial, perennial or None found), Warnings
- Actual Result:
- Test Result:
- Notes:
Plant Attributes on multiple plantings
- Description: Plant attributes shown (with calculated common values) on multiple plantings
- Given I am on the map page with the plant layer active
- When I select multiple plantings of different plant species with differing attributes
- Then I can see the following Plant Attributes in the toolbar: Functions, Edible (Yes, No or None found), Edible parts, Life cycle (annual, biennial, perennial or None found), Warnings
- And only attributes shared by all selected plantings are displayed
- And if attributes differ, a warning indicator is shown
- Actual Result:
- Test Result:
- Notes:
Move Planting
- Description: Move a Planting around the map.
- Given I am on the map page with the plant layer active
- When I drag a planting
- When I drop the planting
- Then I can see that the planting was moved
- When I select the new Planting
- Then I can see in the toolbar that modified at and modified by are correctly set
- Actual Result:
- Test Result:
- Notes: Can be repeated with different plants. Can be repeated in another tab/by another user.
- Notes: Also test using a touchscreen device
Edit Planting
- Description: Edit an existing Planting on the map.
- Given I am on the map page with the plant layer active
- When I select a plant that is already planted
- Then I can see detailed Information about this plant in the left toolbox
- When I edit the Notes (or any other field)
- Then I can see in the toolbar that I changed are correctly changed
- Actual Result:
- Test Result:
- Notes: Also after reloading the site
Remove Planting
- Description: Remove a existing Planting on the map.
- Given I am on the map page with the plant layer active
- When I select a plant that is already planted
- Then I can see detailed Information about this plant in the left toolbox
- When I edit the "Removed on" date to a date in the past
- Then I can no longer see the plant
- Actual Result:
- Test Result:
- Notes:
Clear "Removed on"/"Added on" date
- Description: Clear the "Removed on"/"Added on" of an existing planting on the map.
- Given I am on the map page with the plant layer active
- When I select a plant that is already planted and has a valid "Removed on"/"Added on" date
- Then I clear the "Removed on"/"Added on" date
- Then I have a valid Planting without the previous date
- Actual Result:
- Test Result:
- Notes: Changes should still persist/be cleared after
- Reloading the site
- Switching from and to the selected planting
Delete Planting
- Description: Deleting a existing Planting on the map.
- Given I am on the map page with the plant layer active
- When I select a plant that is already planted
- Then I can see detailed Information about this plant in the left toolbox
- When I click the "Delete planting" Button
- Then I can no longer see the plant
- Actual Result:
- Test Result:
- Notes:
Diagonally resize single planting
- Description: Diagonally resize single planting.
- Given I am on the map page with the plant layer active and a single planting selected
- When I drag a corner
- Then I can see that the new plant size has the same ratio of length to width as before
- Actual Result:
- Test Result:
- Notes: Also test using a touchscreen device
Change Size Plant - Change Values
- Description: Plants are not allowed to have a width of 0 or negative.
- Given I am on the map page with the plant layer active
- When I select a plant that is already planted
- Then I can see detailed Information about this plant in the left toolbox
- When I edit the Width
- Then I can see the plant size has changed
- Then I can see in the plant attributes that the modified at and modified by are correctly set
- When I set the Width to a non-positive value
- Then I can see that the input is marked in red and the value was not applied
- Actual Result:
- Test Result:
- Notes:
Planting relations
- Description: Plants relations show up correctly.
- Given I am on the map page with the plant layer active
- When I select a planting that has a companion relation
- Then I can see green dotted line between selected planting and its companion
- When I select a planting that has an antagonist relation
- Then I can see red dashes line between selected planting and its antagonist
- When I select a planting that has an ambivalent relation
- Then I can see an orange line with dashes and dots between selected plantings and its ambivalent partner
- Actual Result:
- Test Result:
- Notes: Suggested plant relations for test
- companion: Allium cepa, Cucurbita maxima
- ambivalent: Allium cepa, Solanum lycopersicum
- antagonist: Allium cepa, Vicia faba
- Can be broken on scraper data change
Plant Markers
Toggle Plant Markers
- Description: Turning off plant markers hides all markers while plant labels remain visible. Turning them back on restores markers.
- Given I am on the map page with the plant layer active and plant markers and plant labels are turned on
- When I turn off plant markers
- Then all plant markers are hidden
- Then plant labels are still visible
- When I turn on plant markers
- Then plant markers are displayed again on plantings that meet the marker criteria
- Actual Result:
- Test Result:
- Notes:
Markers Visibility State Persists
- Description: The plant markers visibility setting is remembered per map and per user.
- Given I am on the map page with the plant layer active
- When I turn off plant markers
- When I reload the page
- Then plant markers are still turned off
- When I turn on plant markers
- When I reload the page
- Then plant markers are still turned on
- When I navigate to a different map
- When I turn off plant markers on that map
- When I navigate back to the original map
- Then the plant markers visibility setting of the original map is unchanged
- Actual Result:
- Test Result:
- Notes:
Marker for Planting Created on Selected Date
- Description: A marker is shown on a planting that was created on the currently selected timeline date.
- Given I am on the map page with the plant layer active and plant markers are turned on
- When I select a timeline date on which a planting was created
- Then I can see a marker on that planting indicating it was created on the selected date
- When I select a timeline date on which no planting was created
- Then no created marker is displayed
- Actual Result:
- Test Result:
- Notes:
Created Marker Reacts to Changes of Planting's Added On Date
- Description: The created marker disappears when the planting's "Added on" date is changed so that it no longer matches the selected timeline date, and reappears when reverted.
- Given I am on the map page with the plant layer active and plant markers are turned on
- When I select a timeline date on which a planting was created
- Then I can see a marker on that planting indicating it was created on the selected date
- When I select that planting and change its "Added on" date to a different date
- Then the created marker disappears from that planting
- When I revert the "Added on" date back to the initial value
- Then the created marker appears again on that planting
- Actual Result:
- Test Result:
- Notes:
Marker for Planting Removed Day After Selected Date
- Description: A marker is shown on a planting that will be removed one day after the currently selected timeline date.
- Given I am on the map page with the plant layer active and plant markers are turned on
- When I select a timeline date that is one day before a planting's removal date
- Then I can see a marker on that planting indicating it will be removed the next day
- When I select a timeline date that is not one day before any planting's removal date
- Then no such removal marker is displayed
- Actual Result:
- Test Result:
- Notes:
Removal Marker Reacts to Changes of Planting's Removed On Date
- Description: The removal marker disappears when the planting's "Removed on" date is changed so it no longer matches the day after the selected timeline date, and reappears when reverted.
- Given I am on the map page with the plant layer active and plant markers are turned on
- When I select a timeline date that is one day before a planting's removal date
- Then I can see a marker on that planting indicating it will be removed the next day
- When I select that planting and change its "Removed on" date to a different date
- Then the removal marker disappears from that planting
- When I revert the "Removed on" date back to the initial value
- Then the removal marker appears again on that planting
- Actual Result:
- Test Result:
- Notes:
Highlight Same Plant Type When Planting
- Description: When selecting a plant type to place, all existing plantings of the same type are highlighted with an equality marker and the status panel shows the count.
- Given I am on the map page with the plant layer active and plant markers are turned on
- When I select a plant type from the plant database that is already present on the map at the current date
- Then all existing plantings of that plant type are highlighted with an equality marker
- Then the status panel displays the number of plantings and total area of the highlighted plantings
- When I click on a different plant type
- Then the previous markers are removed
- Then plantings of the newly selected plant type are highlighted instead
- When I exit planting mode
- Then all same-type markers are removed
- Actual Result:
- Test Result:
- Notes:
No Highlight When Plant Type Not on Map
- Description: When selecting a plant type with no plantings on the map, no markers are shown and the status panel shows an appropriate message.
- Given I am on the map page with the plant layer active and plant markers are turned on
- When I select a plant type from the plant database that has no plantings on the map at the current date
- Then no plantings are highlighted
- Then the status panel displays the message "No plantings of this type at this date on the map."
- Actual Result:
- Test Result:
- Notes:
Click Plant Marker Selects Plant
- Description: Clicking on a plant marker selects the corresponding planting.
- Given I am on the map page with the plant layer active and plant markers are turned on
- When I click on a plant marker displayed on a planting or a corresponding plant label
- Then the planting is selected
- Then I can see detailed information about this plant in the left toolbox
- Actual Result:
- Test Result:
- Notes:
Drag Plant Covered by Plant Marker
- Description: Dragging a planting whose area is covered by a plant marker moves the planting correctly.
- Given I am on the map page with the plant layer active and plant markers are turned on
- When I drag a planting whose area is covered by a plant marker
- Then the planting moves as expected to the dropped position
- Then the plant marker moves to an updated location after the dragging has ended
- Actual Result:
- Test Result:
- Notes:
Markers Readable on Zoomed Out Map
- Description: Plant markers remain clearly readable when the map is zoomed out.
- Given I am on the map page with the plant layer active and plant markers are turned on
- When I zoom out the map to the maximum level
- Then I can still clearly see all plant markers
- Actual Result:
- Test Result:
- Notes:
Read Only
Go Offline
- Description: Put Browser Offline
- Given I am on a map
- When I put the browser to the offline mode (Firefox: Alt, Datei -> Offline Arbeiten)
- Then I see the message "You are offline. The read-only mode was activated." and everything but measurement is read-only (see other test cases)
- Actual Result:
- Test Result:
- Notes:
Remembering View State of the map
Remembering View State
- Description: Last View of the map (position of map and zoom) get persisted between map visits.
- Given I am on a map page
- When I change what part of the map I am viewing (panning, zooming)
- When I refresh the page, or navigate away from the map and back to it
- Then I see the same map view I previously set
- Actual Result:
- Test Result:
- Notes:
Remembering Layers
- Description: Last settings of the layers in a map (which layers are visible, layer opacity) get persisted between map visits.
- Given I am on a map page
- When I change what layers are visible, change the layer opacity
- When I refresh the page, or navigate away from the map and back to it
- Then I see the same layer settings I previously set
- Actual Result:
- Test Result:
- Notes:
Remembering Drawing Layer settings
- Description: Last settings in a drawing layer in a map (selected tab, color, stroke width, fill pattern) get persisted between map visits.
- Given I am on a map page
- When I select specific tab, color, stroke width, fill pattern on a drawing layer
- When I refresh the page, or navigate away from the map and back to it
- Then I see the same drawing layer settings I previously set
- Actual Result:
- Test Result:
- Notes:
Search Plants
Plant Search
- Description: Show a selection of plants if the search input is empty.
- Given I am on a map page with the plant layer active
- When I click on the magnifying glass icon next to the plant's title
- When I have an empty search box
- Then I can see various plants as results
- Actual Result:
- Test Result:
- Notes:
No match was found
- Description: Verify that searching for a plant that does not exist returns no results.
- Given I am on a map page with the plant layer active
- When I enter a search term that does not match any plant (e.g. ----) in the database
- Then I see a message indicating that no plants were found
- Actual Result:
- Test Result:
- Notes:
Shade Layer
Add Shading
- Description: Add a new Shading to the map.
- Given I am on the map page with the shade layer active
- When I click on the 'Light' button
- When I draw on the map
- Then I can see that a new shading was added
- Actual Result:
- Test Result:
- Notes: Repeat this test for all Shading types
- Notes: Also test using a touchscreen device
Remove Shading
- Description: Remove a Shading from the map.
- Given I am on the map page with the shade layer active and a Shading is selected
- When I click on 'Delete shading' in the left toolbar
- Then I can see that a new shading was deleted
- Actual Result:
- Test Result:
Edit Shade Type
- Description: Change the shade of a shading.
- Given I am on the map page with the shade layer active and a Shading is selected
- When I select different shade from the drop-down menu in the left toolbar
- Then I can see that the shade is changed successfully
- Actual Result:
- Test Result:
- Notes: select each shading type at least once
Set Creation Date in the Future
- Description: Update the date from which the shading should be active
- Given I am on the map page with the shade layer active and a Shading is selected
- When I select the current date in the timeline
- When I select a creation date in the future
- Then I can see that the shading is no longer shown on the map
- Actual Result:
- Test Result:
Set Removal Date in the Future
- Description: Update the date from which the shading should be active
- Given I am on the map page with the shade layer active and a Shading is selected
- When I select the current date in the timeline
- When I select a creation date in the past
- When I select a removal date in the future
- Then I can see that the shading is shown on the map
- Actual Result:
- Test Result:
Set Removal date in the Past
- Description: Update the date until which the shading should be active
- Given I am on the map page with the shade layer active and a Shading is selected
- When I select the current date in the timeline
- When I select a creation date in the past
- When I select a removal date in the past after the creation date
- Then I can see that the shading is no longer shown on the map
- Actual Result:
- Test Result:
Translation
Default Translations English
- Description: Verify default translation strings.
- Given I am in a map and the current language is English
- When I activate the plant labels and add a plant
- Then all strings are in English
- Actual Result:
- Test Result:
- Notes: Use a plant with a common name e.g. Tomato
Default Translations German
- Description: Verify default translation strings.
- Given I am in a map and the current language is German
- When I activate the plant labels and add a plant
- Then all strings are in German
- Actual Result:
- Test Result:
- Notes: Use a plant with a common name e.g. Tomato
Change Translation in Maps
- Description: Verify that a user can switch language in a map and stays in the map.
- Given I am in a map and the current language is English
- When I click on the "en" Drop Down
- When I click "Deutsch"
- Then I am still on the same map
- And all the text is in German now
- Actual Result:
- Test Result:
- Notes:
Change Translation on Landingpage
- Description: Verify that a user can switch language on the landing page.
- Given I am on the landing page and the current language is English
- When I click on the "en" Drop Down
- When I click "Deutsch"
- Then I am still on the Landing Page
- And all the text is in German now
- Actual Result:
- Test Result:
- Notes:
MODE
For Testing in /backend/.env.
There are two modes to choose from for testing the backend.
MODE can be set to:
production:
In this mode, onlyAdminhas full privileges. It is used by our CI onwww.permaplant.net.testing:
In this mode, everyone in the groupTestinghasAdminprivileges, additional to everyAdmin. It is used by our CI everywhere else, e.g.mr.permaplant.net.
Smoke Tests
This folder contains the test cases and reports of manual smoke testing.
Smoke Test Reports
This folder contains the actual finished smoke test reports.
Smoke Test Report
- Tester: Christoph Kraus
- Date/Time: 5.9.2025
- Duration: 15min
- Commit/Tag:
- Setup: www.permaplant.net
- Planned tests: 9
- Executed tests: 9
- ✅Passed tests: 8
- ⚠️Problematic tests: 0
- ❌Failed tests: 1
Use "testuser_t@permaplant.net" for these tests.
This user already has a map called "Smoke Testing Map" available for testing purposes.
Please avoid creating unnecessary new maps, as each new map increases the database ID's.
While testing on the map page, always place elements within the boundaries of the rectangle you draw on the map at the beginning of the test.
Login
- Description: Verify that a user can log in with valid credentials.
- Given I am on the landing page
- When I click on the "Log In" Button
- When I enter valid username and password
- Then I am redirected to the landing page
- And there is "logout" Button now
- Actual Result: ✅
- Test Result: ✅
- Notes:
Logout
- Description: Verify that a logged-in user can log out successfully.
- Given I am logged in and on the landing page
- When I click the logout button
- Then I am redirected to the landing page
- Actual Result: ✅
- Test Result: ✅
- Notes:
Add Planting
- Description: Add a new Planting to the map.
- Given I am on the "Smoke Testing Map" map page with the plant layer active
- When I select a plant to add to the map
- Then I can see how many of the same plants are already present on the map, at the current date, in the status panel
- Then the same plants already present on the map, at the current date, are highlighted with an equality marker
- When I click on the map
- Then I can see that a new Planting was added
- When I select the new Planting
- Then I can see in the plant attributes that created at, created by, modified at and modified by are correctly set
- Actual Result: ✅
- Test Result: ✅
- Notes: Can be repeated with different plants. Can be repeated in another tab/by another user.
Move Planting
- Description: Move a Planting around the map.
- Given I am on the "Smoke Testing Map" map page with the plant layer active
- When I drag a planting
- When I drop the planting
- Then I can see that the planting was moved
- When I select the new Planting
- Then I can see in the plant attributes that modified at and modified by are correctly set
- Actual Result: ✅
- Test Result: ✅
- Notes: Can be repeated with different plants. Can be repeated in another tab/by another user.
Edit Planting
- Description: Edit an existing Planting on the map.
- Given I am on the "Smoke Testing Map" map page with the plant layer active
- When I select a plant that is already planted
- Then I can see detailed Information about this plant in the left toolbox
- When I edit the Notes (or any other field)
- Then I can see in the plant attributes that I changed are correctly changed
- Actual Result: ✅
- Test Result: ✅
- Notes: Also after reloading the site
Remove Planting
- Description: Remove a existing Planting on the map.
- Given I am on the "Smoke Testing Map" map page with the plant layer active
- When I select a plant that is already planted
- Then I can see detailed Information about this plant in the left toolbox
- When I edit the "Removed on" date to a date in the past
- Then I can no longer see the plant
- Actual Result: ✅
- Test Result: ✅
- Notes:
Add Background Image
- Description: Check whether the maps background image is displayed.
- Given I am on the "Smoke Testing Map" map page with the base layer active
- When I select a base layer image
- Then I can see the base layer image on the canvas
- Actual Result: Images did not load, so i could not set a background image.
- Test Result: ❌
- Notes: See issue #2149, keycloak does not assign images to the testusers.
Map Overview: More than 30 Maps should be visible
- Description: Test that pagination works on the map overview screen.
- Given I am on the map overview screen
- Then I can see all maps after scrolling to the bottom of the page
- Actual Result:
- Test Result:
- Notes:
Data integrity - Loase
- Description: Verify Loase still standing
- Given I am on the map "Loase".
- Then I can see the loase map (certain markes we can compare it to?)
- Actual Result: ✅
- Test Result: ✅
- Notes:
Smoke Test Testcases
In this folder you will find a template for smoke tests. Reports are named according to the date they were executed (YYMMDD). You can copy the template to create new reports. Add all new reports to the 'doc/tests/smoke/reports' directory. Make sure to follow the order of the test cases in the template. While testing on the map page, please use the map called "Smoke Testing Map". "testuser_t@permaplant.net" already has a map called "Smoke Testing Map" available for testing purposes. Please avoid creating unnecessary new maps, as each new map increases the database ID's. While testing on the map page, always place elements within the boundaries of the rectangle you draw on the map at the beginning of the test.
Smoke Test Report
- Tester:
- Date/Time:
- Duration:
- Commit/Tag:
- Setup: www.permaplant.net
- Planned tests: -1
- Executed tests: -1
- ✅Passed tests: -1
- ⚠️Problematic tests: -1
- ❌Failed tests: -1
Use "testuser_t@permaplant.net" for these tests.
This user already has a map called "Smoke Testing Map" available for testing purposes.
Please avoid creating unnecessary new maps, as each new map increases the database ID's.
While testing on the map page, always place elements within the boundaries of the rectangle you draw on the map at the beginning of the test.
Login
- Description: Verify that a user can log in with valid credentials.
- Given I am on the landing page
- When I click on the "Log In" Button
- When I enter "testuser_t@permaplant.net" and the correct password
- Then I am redirected to the landing page
- And there is "logout" Button now
- Actual Result:
- Test Result:
- Notes:
Draw Rectangle on Map
- Description: Draw a rectangle on the map.
- Given I am on the "Smoke Testing Map" map page with the draw layer active
- When I select the rectangle drawing tool
- And I draw a rectangle on the map
- When I release the mouse button
- Then I can see the rectangle on the map
- Actual Result:
- Test Result:
- Notes:
Add Planting
- Description: Add a new Planting to the map.
- Given I am on the "Smoke Testing Map" map page with the plant layer active
- When I select a plant to add to the map
- Then I can see how many of the same plants are already present on the map, at the current date, in the status panel
- Then the same plants already present on the map, at the current date, are highlighted with an equality marker
- When I click on the map within the rectangle
- Then I can see that a new Planting was added
- When I select the new Planting
- Then I can see in the plant attributes that created at, created by, modified at and modified by are correctly set
- Actual Result:
- Test Result:
- Notes: Can be repeated with different plants. Can be repeated in another tab/by another user.
Move Planting
- Description: Move a Planting around the map.
- Given I am on the "Smoke Testing Map" map page with the plant layer active
- When I drag a planting
- When I drop the planting within the rectangle
- Then I can see that the planting was moved
- When I select the new Planting
- Then I can see in the plant attributes that modified at and modified by are correctly set
- Actual Result:
- Test Result:
- Notes: Can be repeated with different plants. Can be repeated in another tab/by another user.
Edit Planting
- Description: Edit an existing Planting on the map.
- Given I am on the "Smoke Testing Map" map page with the plant layer active
- When I select a plant that is already planted
- Then I can see detailed Information about this plant in the left toolbox
- When I edit the Notes (or additionally any other field)
- Then I can see in the plant attributes that I changed are correctly changed
- Actual Result:
- Test Result:
- Notes: Also after reloading the site
Remove Planting
- Description: Remove a existing Planting on the map.
- Given I am on the "Smoke Testing Map" map page with the plant layer active
- When I select a plant that is already planted
- Then I can see detailed Information about this plant in the left toolbox
- When I edit the "Removed on" date to a date in the past
- Then I can no longer see the plant
- Actual Result:
- Test Result:
- Notes:
Add Background Image
- Description: Check whether the maps background image is displayed.
- Given I am on the "Smoke Testing Map" map page with the base layer active
- When I select a base layer image
- Then I can see the base layer image on the canvas
- Actual Result:
- Test Result:
- Notes:
Map Overview: More than 30 Maps should be visible
- Description: Test that pagination works on the map overview screen.
- Given I am on the map overview screen
- Then I can see all maps after scrolling to the bottom of the page
- Actual Result:
- Test Result:
- Notes:
Data integrity - Loase
- Description: Verify Loase still standing
- Given I am on the map "Loase".
- Then I can see the loase map (certain markers we can compare it to?)
- Actual Result:
- Test Result:
- Notes:
Logout
- Description: Verify that a logged-in user can log out successfully.
- Given I am logged in and on the landing page
- When I click the logout button
- Then I am redirected to the landing page
- Actual Result:
- Test Result:
- Notes:
Testusers
Testusers for different groups exist:
| Username | Password | Group |
|---|---|---|
| testuser_e2e@permaplant.net | iphouHasil4Koos5ighia4hoo6zei7 | Everyone and Testing |
| testuser_e@permaplant.net | account currently deleted | Everyone |
| testuser_m@permaplant.net | aBee9ysdhrood3OdTaiyoh7UyFai1e | Member |
| testuser_t@permaplant.net | account currently deleted | Testing |
| testuser_cm@permaplant.net | account currently deleted | Contributing Member (Direct) |
| testuser_rm@permaplant.net | account currently deleted | Regular Member (Direct) |
| testuser_sm@permaplant.net | account currently deleted | Supporting Member (Direct) |
| testuser_mcm@permaplant.net | account currently deleted | Member and Contributing Member |
| testuser_mrm@permaplant.net | account currently deleted | Member and Regular Member |
| testuser_msm@permaplant.net | account currently deleted | Member and Supporting Member |
Required Test Data
An image called Toucan.jpg has to be added to the Nextcloud account of all new test users in the folder Photos (Photos/Toucan.jpg), to allow selecting it when running E2E tests.
This image is hardcoded to be used as a test fixture for base image selection functionality in the map editor.
If this is not done the E2E tests will fail.
This is just a temporary hack until we will use better test data.
Usecases
This folder contains all use cases of PermaplanT.
They are structured in folders by progress:
done: use case was already successfully implemented (see below for "Definition of Done")current: use case is part of PermaplanT's next releaseassigned: use case could be worked onlater: currently not being worked on due to prioritiesdraft: not yet ready to be worked on
Done
A use case is done iff:
- documented how changes/extensions should be done
- closed all issues or wrote about left-overs in notes of use case
- wrote in changelog about finished UC and added a link to it
- wrote e2e tests or extended the manual test cases
- added links from use case to implementation, documentation, test cases and protocol
- moved use case to folder "done" and set Status: to Done.
Assigned Use Cases
Or usecases ready to be assigned.
Use Case: Map Editor Navigation Mobile Usability
Summary
- Scope: Mobile Usability
- Level: User Goal
- Actors: App User
- Brief: The user can use touch controls to navigate the map editor.
- Mockups: Figma
- Assignee: Moritz
Scenarios
-
Precondition:
- The user is using a mobile device.
- The user is logged in.
- The user has opened the map editor.
-
Main success scenario:
- The user can swipe right/left/up/down for panning the map.
- The user can use gestures to zoom in or out on the map.
- The user can swipe horizontally at the left and right edges to show and hide the toolbars.
- The user can swipe vertically at the top and bottom edges to show and hide the navbar and timeline.
-
Alternative scenario:
-
Error scenario:
-
Postcondition:
-
Non-functional Constraints:
- The usability of the map editor navigation should be on par or at most slightly worse on a mobile device when compared to a computer.
Use Case: Map Editor Timeline Mobile Usability
Summary
- Scope: Mobile Usability
- Level: User Goal
- Actors: App User
- Brief: The user can hide the timeline of the map editor.
- Mockups: Figma
- Assignee: Moritz
Scenarios
-
Precondition:
- The user is using a mobile device.
- The user is logged in.
- The user has opened the map editor.
-
Main success scenario:
- By default, the map editor timeline is in a sensible default state as described by the component responsiveness guidelines unless it was previously modified on the same device.
- The user can now modify the state of the timeline.
- If the timeline is shown, the user can hide it.
- If the timeline is hidden, the user can show it.
-
Alternative scenario:
-
Error scenario:
-
Postcondition:
-
Non-functional Constraints:
- The usability of the map editor timeline should be on par or at most slightly worse on a mobile device when compared to a computer.
Use Case: Map Editor Toolbar Mobile Usability
Summary
- Scope: Mobile Usability
- Level: User Goal
- Actors: App User
- Brief: The user can modify the width of the map editor toolbars or hide them entirely.
- Mockups: Figma
- Assignee: Moritz
Scenarios
-
Precondition:
- The user is using a mobile device.
- The user is logged in.
- The user has opened the map editor.
-
Main success scenario:
- By default, the map editor toolbars are in a sensible default state as described by the component responsiveness guidelines unless they were previously modified on the same device.
- The user can now individually modify the state of the toolbars.
- If a toolbar is shown, the user can modify the width of the toolbar or hide it entirely.
- If a toolbar is hidden, the user can show it.
-
Alternative scenario:
-
Error scenario:
-
Postcondition:
-
Non-functional Constraints:
- The usability of the map editor toolbars should be on par or at most slightly worse on a mobile device when compared to a computer.
Limitations
Mobile Usability for additional context information that might be shown in the toolbars at certain times is out of scope for this use case.
Use Case: Nextcloud Circles
Summary
- Scope: Nextcloud integrations
- Level: User Goal
- Actors: App User
- Brief: The user can communicate with collaborators of shared maps.
- Status: Assigned
- Assignee: Peter
Scenarios
- Precondition: The user has opened the app and navigated to a map where they are a collaborator.
- *Main success scenario: The user can open the chat window and communicate with all the collaborators of the map.
- Alternative scenario:
- The user has opened a map where they are not a collaborator. They are able to interact with the chat only if visitors are allowed (public or protected).
- Error scenario:
- Postcondition: The conversations are persisted in Nextcloud. For each map there is a corresponding circle created in Nextcloud. The chats of the maps are visible under circles in Nextcloud.
- Non-functional Constraints:
Use Case: Plant attributes
Summary:
- Scope: Plants Layer
- Level: User Goal
- Actors: App User
- Brief: Display and change of plant attributes.
- Assignee: Vseslav
Scenarios:
- Precondition:
- The App User has a map with plants and the plant layer is active.
- Main success scenario:
- When selecting a plant, attributes of the plant are shown in the left bottom toolbar with icons and a short description.
- Attributes can also be removed or edited.
- Alternative scenario:
- When the App User selects multiple plants, it shows:**
- the attribute if all selected plants have the same attribute, or
- an empty placeholder, if some plants have different attributes.
- When the App User selects multiple plants, it shows:**
- Error scenario:
- The call to get the attributes fails and no icons, descriptions or input fields are shown.
- A toast with an error message is shown to the App User.
- Postcondition:
- The attributes are shown when a plant is selected and on unselect the panel on the left closes.
- Edited/Deleted attributes are persistent.
- The undo operation also works on attribute changes.
- Non-functional constraints:
- The icons and descriptions should be user-friendly and easy to understand.
- They should not create clutter and should be designed in a way that's space efficient but also visually pleasing.
- The map is in read-only state, then the user cannot add, edit, move or remove anything.
Plant attributes
- functions: ecological and environmental functions of the plant (e.g. nitrogen fixer)
- herbaceous/woody: plant physiology, whether plant grows woody parts or remain soft
- life cycle: life span of the plant
- drought tolerance
- edible
- edible parts
- warning: important information regarding the plant for humans, animals or environmental well-being (e.g. toxicity)
- sowing outdoors: time period for sowing the plant outdoors
- harvest: time period of harvesting the plant
Use Case: Plant search icons
Summary:
- Scope: Plants Layer
- Level: User Goal
- Actors: App User
- Brief: A short overview of the different attributes a plant has are shown to the App User when searching for plants.
- Assignee: Vseslav
Scenarios:**
- Precondition:
- The App User has a map and wants to add a plant with a beneficial attribute.
- Main success scenario:
- When searching for plants, attributes are shown for every result and on hover those show a short description of the attribute.
- Alternative scenario:
- The App User searches for a plant and notices the icons associated with each result.
- They hover over an icon to learn more and discover attributes of plants they weren’t originally searching for.
- Error scenario:
- The call to get the attributes fails and no icons are shown.
- Postcondition:
- The correct icon should persist with the correct plant attributes after a search.
- Any visual elements related to the search, like the tooltips, should be cleared if the App User switches layers.
- Non-functional constraints:
- The icons and descriptions should be user-friendly and easy to understand.
- They should not create clutter and should be designed in a way that's space efficient but also visually pleasing.
- It should not affect load times significantly.
Search attributes
- functions: ecological and environmental functions of the plant (e.g. nitrogen fixer)
- life cycle: life span of the plant
- drought tolerance
- hardiness zone
- edible
- warning: important information regarding the plant for humans, animals or environmental well-being (e.g. toxicity)
Use Case: Zones Layer
Summary
- Scope: Zones Layer
- Level: User Goal
- Actors: App User
- Brief: The user can add, edit, move, remove and delete zones in their map in the zones layer.
- Assignee: Elia
Scenarios
- Precondition: The user has opened the app and has selected the zones layer.
- Main success scenario: The user successfully adds, edits, moves, remove and deletes zones in their map in the zones layer. This includes positioning the zones in the appropriate location. Zones can be added via common shapes, hand drawn polygons or a big brush to draw on the zones layer. The zones exclude each other (different to e.g. animals, where they can overlap).
- Alternative scenario:
- The user accidentally edits, moves or removes an element and uses undo to correct the mistake.
- The user accidentally adds an element and deletes it with the "delete" or "undo" functionality.
- The map is in read-only state, then the user cannot add, edit, move or remove anything.
- Error scenario: The user attempts to add, move or edit a zone but the app is experiencing technical difficulties and is unable to complete the request, displaying an error message.
- Postcondition: The user's map includes the added, edited, moved, remove or deleted zone elements as desired.
- Non-functional Constraints:
- is an additional layer
- Supports alternatives (different perspectives, e.g. guests)
- Performance: Map sizes with more than 1ha in 10000 raster elements (m²) per year should be usable without noticeable delays and acceptable memory overhead
Notes
- This UC is to add brushing with any colors, zone colors predefined, functionality to additional layers.
Current Use Cases
Use Case: General Mobile Usability
Summary
- Scope: Mobile Usability
- Level: User Goal
- Actors: App User
- Brief: The user can view all information and navigate all pages outside the map editor on a mobile device.
- Mockups: Figma
- Assignee: Moritz
Scenarios
-
Precondition:
- The user is using a mobile device.
- The user has opened the app.
-
Main success scenario:
- The user is able to log in.
- The user is able to navigate between the different pages.
- The user is able to view all the information and use all the functionality on those pages.
- By default, the navbar is in a sensible default state as described by the component responsiveness guidelines unless it was previously modified on the same device.
- The user can now modify the state of the navbar.
- If the navbar is shown, the user can hide it.
- If the navbar is hidden, the user can show it.
-
Alternative scenario:
-
Error scenario:
-
Postcondition:
-
Non-functional Constraints:
- The usability of the app should be on par or at most slightly worse on a mobile device when compared to a computer.
Limitations
The map editor is out of scope for this use case and will be implemented in the following use case:
- Map Editor Navigation Mobile Usability
- Map Editor Toolbar Mobile Usability
- Map Editor Timeline Mobile Usability
Use Case: Icons Collaboration
Summary
- Scope: Map Collaboration, Nextcloud
- Level: User Goal
- Actors: Map Owner, Collaborator
- Brief: Enable collaborators to modify icons and base layer images.
- Assignee: Peter
Scenarios
- Precondition:
- At least two collaborators are registered in Keycloak.
- A shared Nextcloud folder A for icons or base layer images exists.
- Main success scenario:
- A map owner creates a map and adds a collaborator (see map_collaboration.md)
- The map owner or the collaborator chooses an icon or base layer image from a shared Nextcloud folder A.
- The map owner or the collaborator modifies the icon or base layer image as needed in Nextcloud.
- The map owner and the collaborator see the modified icon or base layer image on the map.
- Alternative scenario:
- None.
- Error scenario:
- None.
- Postcondition:
- The original icon or base layer image is still present in the shared Nextcloud folder A.
- A teamfolder B exists.
- In a team folder B is the modified icon or base layer image.
- Non-functional Constraints:
- None
Use Case: Map Collaboration
Summary
- Scope: Map Collaboration
- Level: User Goal
- Actors: Map Owner, Collaborator
- Brief: Enable collaborators to modify a map.
- Assignee: Peter
Scenarios
- Precondition:
- A map owner creates a map or has created a map.
- At least one collaborator is registered in Keycloak.
- Main success scenario:
- The map owner chooses if the map is open to be viewed by every registered user or member (public/protected/private).
- The map owner searches for collaborators by their name.
- The map owner adds a collaborator found before (repeated as needed).
- Alternative scenario:
- The map owner removes a previously added collaborator.
- Error scenario: The app can't send an invitation to a requested collaborator through network issues. In this case, the map owner should be informed by an error message and is prompted to try again.
- Postcondition:
- Collaborators can modify the map like it is one of their own.
- Collaborators cannot modify map properties.
- Non-functional Constraints:
- 30 collaborators can be added on one map.
Use Case: Remember Viewing State
Summary
- Scope: Map
- Level: User Goal
- Actors: App User
- Brief: The map's visibility settings are restored from the user's last session.
- Status: In Progress
- Assignee: Unassigned
Scenarios
- Precondition: The user is logged in and has opened a map.
- Main success scenario:
- The user selects layer A.
She hides the navigation bar. She zooms into the map.
She scrolls/drags the map's viewport.
She sets layer B invisible.
She sets layer C with transparency.
She turns off the grid display.
She hides the plant labels.
She resizes the left toolbar.
She hides the right toolbar.
She changes the to the date D in the timeline.
She hides the timeline.
She closes the browser, opens it again and logs in. She opens the same map again which she edited in her previous session.
She finds all the changes and settings from the last session being restored:- layer A selected
- navigation bar hidden
- zoomed-in on the map
- all plants visible on the map's viewport
- layer B invisible
- layer C has the same transparency
- grid display turned off
- plant labels hidden
- left toolbar resized
- right toolbar hidden
- date D of timeline
- timeline hidden
- The user selects layer A.
- Alternative scenario:
- The user does visibility changes on a map.
She navigates to the seeds page.
She uses browser-back to get back to the map.
All the visibility changes the user applied before, are restored. - The user does visibility changes on map A.
She opens another map B and changes some visibility settings there too.
She goes back to map A and finds all the visibility changes she did on map A, still being applied.
She goes back to map B and sees that all the visibility settings she changed on map B, are still being set.
- The user does visibility changes on a map.
- Error scenario: The app is experiencing technical difficulties and unable to restore one or more of the map's visibility settings, displaying an info message that the map's viewing state could not be fully restored.
- Postcondition:
- The map is shown with the same visibility settings it had when the user left it the last time, which includes:
- zoom
- map's (x,y)-offset and zoom-level of the viewport
- selected layer
- all layers' visibility
- grid display
- plant labels display
- toolbar sizes
- The map is shown with the same visibility settings it had when the user left it the last time, which includes:
- Non-functional Constraints:
- Changes to maps while being in offline-mode, are not considered for restoring (for now).
- Zustand's persist middleware should be used to store a map's state in a storage of any kind - not only do we already use Zustand as our global state management library, but it also supports de-/serialization of
MapsandSets.
Persist's partialize option should then be used to only store the 'restore-worthy' data of a map. - Copy & Paste related data should not be restored, to not only reduce complexity of the storing/restoring- as well as the undo/redo-process, but also to prevent out-of-sync scenarios where copied elements are already deprecated/removed/outdated in the system/database. Besides that, applications offering the recovery of Copy & Paste state in a new session are extremely rare and therefore something the user does not necessarily expect to get.
Limitations
Not yet implemented:
- The user does visibility changes on a map in browser A. She logs in in another browser B. She opens the same map in browser B. All the visibility changes the user applied to the map in browser A, are restored in browser B.
Use Case: Visitor chat
Summary
- Scope: Map View
- Level: User Goal
- Actors:
- Owner: App User who owns the map
- Visitor: App User who visits the map
- Brief: The user can interact with a visitor chat.
- Assignee: Peter
Scenarios
- Preconditions:
- The visitor has opened the app and selected a map.
- The visitor is logged in.
- Main success scenario:
- The visitor is automatically greeted by the chat.
- The visitor can interact with the owner and other current visitors via the chat.
- The owner can view the chat and interact with all visitors.
- The visitor leaves the chat.
- Alternative scenario:
- The owner marks a comment as helpful. The author of the comment gets points for the free membership.
- Error scenario:
- Postcondition: The chat is synchronized to Nextcloud
- Non-functional Constraints:
Done Use Cases
Use Case: Access Control
Summary
- Scope: Map Editor
- Level: User Goal
- Actors: User
- Brief: User is restricted to access and modify only maps they are allowed to.
- Status: Done
- Assignee: Justus
- Criticality: System Critical
Scenarios
-
Precondition:
- The user is logged in and wants to open a map.
-
Main success scenario:
-
The user is able to open and modify maps according to the following matrix, showing the access level of the map as well as the user's role. | Access Level | Owner or Admin | Member | Collaborator¹ | Testing² | Other | |--------------|----------------|--------|---------------|----------|------- | Public | Read/Modify | Read Only | Read/Modify | Read/Modify | Read Only | | Protected | Read/Modify | Read Only | Read/Modify | Read/Modify | No Access | | Private | Read/Modify | No Access | Read/Modify | No Access | No Access |
¹ Collaborators of maps need to be of group members.
² Users in groupTestingonly have extra privileges in non-productive environments, i.e., everywhere butwww.permaplant.netandwww.staging.permaplant.net.
-
-
Error scenario:
- The user attempts to open a map he should not have access to by entering map IDs in the URL.
- The user sees a 404, indicating the map does not exist or the user does not have permission to access it.
-
Error scenario:
- The user attempts to forge a request that would modify a map to which he has only read access.
- The user sees a 403, indicating that the user does not have the required permissions for this operation.
-
Postcondition:
- The user is shown the map he clicked on and is able to view and perform interactions according to the access matrix above.
-
Non-functional Constraints:
- The authorization process should be invisible to the users unless an error occurs.
Leftovers
- Collaborators being members is currently not checked.
Links
Use Case: Additional Layer
Summary
- Scope: Additional Layer
- Level: User Goal
- Actors: App User
- Brief: Users add, edit, move, remove and delete custom elements.
- Assignee: Elia
- Criticality: Major
Scenarios
- Precondition: The user has opened the app and has selected the drawing layer.
- Main success scenario:
- The user successfully adds, edits, moves, removes and deletes custom elements in three tabs:
- drawings
- free drawings
- ellipses
- rectangles
- polygons (consisting of lines and bezier helper-points, that can be created by dragging existing lines)
- open without filling
- closed with 3 different fillings
- arrows (e.g. to indicate water flow)
- labels
- images
- brushes (areas with a thick brush like in brushing layers)
- The user successfully adds, edits, moves, removes and deletes custom elements in three tabs:
- Alternative scenario:
- The user accidentally edits, moves or removes an element and uses undo to correct the mistake.
- The user accidentally adds an element and deletes it with the "delete" or "undo" functionality.
- The map is in read-only state, then the user cannot add, edit, move or remove anything.
- Error scenario: The user attempts to add, move or edit a drawing but the app is experiencing technical difficulties and is unable to complete the request, displaying an error message.
- Postcondition: The user's map includes the added, edited, moved, removed or deleted drawings as desired.
- Non-functional Constraints:
- Performance: at least 1000 elements per year per drawing layer should be usable without noticeable delays and acceptable memory overhead
Left-Overs
- brushes not implemented
- arrows (on polygons) not implemented
Use Case: Area of Plantings
Summary
- Scope: Plants Layer
- Level: User Goal
- Actors: App User
- Brief: The user can add, edit, move and delete area of plantings in their map in the plants layer.
- Assignee: Vseslav
- Criticality: Optional
Scenarios
- Precondition: The user has opened the app and has selected the plants layer.
- Main success scenario:
- While adding a plant, while holding the mouse, the user can draw a rectangle.
- The size of the arena and the number of plantings is shown next to the mouse.
- The user can individually change dimensions as needed #1453
- Alternative scenario:
The user accidentally drew a wrong size of the area:
- and uses the app's undo function to correct the mistake, and
- is able to change the size as wanted.
- Error scenario:
- The user attempts to add, move or edit an area of plantings but the app is experiencing technical difficulties and is unable to complete the request, displaying an error message.
- There is an error in the app's plant relationship indication and the lines connecting the plants are not displayed correctly. In this case, the app displays an error message.
- Postcondition:
- The user's map includes the added, edited, moved or deleted area of plantings as desired.
- If constraints are violated for the place where an area of plantings was added or moved, relations get added (or removed) to (from) the relation layer.
- Non-functional Constraints:
- Partial offline availability: editing attributes, especially for planting and harvesting
- Supports alternatives
- Performance: more than 10000 elements per year and per alternative should be usable without noticeable delays and acceptable memory overhead (area of plantings should count as one element)
Use Case: Base Layer
Summary
- Scope: Base Layer
- Level: User Goal
- Actors: App User
- Brief: User imports a picture to use as a background.
- Assignee: Elia
- Criticality: Major
Scenarios
- Precondition:
- User has opened the app and selected the base layer.
- The user has an orthophoto or site plan and knows the real length of a flat part of the orthophoto (e.g. length of house's roof).
- Main success scenario:
- Background Image: User successfully imports an orthophoto or site plan to be used as a background by selecting the option to
- import a picture to Nextcloud or
- by choosing an image from Nextcloud.
- Rotation: The user chooses where north related to the screen is by choosing the angle in degrees it should be rotated by.
- Autoscaling: The user tells real lengths of lines (on flat land) so that we know how big this image in reality is.
- Offset: The user chooses a horizontal or vertical offset of the background image.
- Map Bounds: The user draws a polygon telling the app where the borders of this image are (these boarders are stored in the map and not subjective to "alternatives").
- Background Image: User successfully imports an orthophoto or site plan to be used as a background by selecting the option to
- Alternative scenarios:
- User accidentally replaces the ortophoto with another image or wrongly put a line in the polygon and presses undo to correct the mistake.
- The map is in read-only state, then the user cannot add, edit, move or remove anything.
- Error scenario:
- User attempts to select a file that does not exist. The app displays an error message, asking the user to choose a different file.
- User attempts to import a file that is not a supported image format or is corrupted. The user is prompted to choose a correct image in one of the supported formats instead.
- Postcondition: The user's selected background image and map bounds are used for further planning.
- Non-functional Constraints:
- Support for multiple image formats
Out of Scope
Alternatives are not supported for border polygon/georeferencing.
- User selects an (additional) alternative image.
- The user scales the image, so that it fits to prior georeferencing.
- The user chooses an orientation of the picture, i.e., rotate the image to where north already is to fit prior north orientation
- The user can switch back to the original image.
- The user later (after changes in other layers were already done) finds that the polygon, the orientation or the georeferencing contains a problem:
- The app automatically saves the current version of the map.
- The user corrects the polygon, the orientation or the georeferencing.
- The database gets rewritten with the new geometric data. (No undo available but the user can load the previous version.)
Use Case: Copy & Paste Between Own Maps
Summary
- Scope: All Layers, except Base
- Level: User Goal
- Actors: App User
- Brief: The user can copy and paste a selection of elements, including succeeding crops, between his own maps.
- Status: Done
- Assignee: Moritz
Scenarios
- Precondition: The user has opened the app on a key-controlled device and made a selection of elements on his own map A that he wants to copy and paste into his own map B.
- Main success scenario:
- The user copies the selection on map A.
The user opens map B.
The user pastes the copied selection into map B.
The pasted selection of elements is placed in map B.
- The user copies the selection on map A.
- Alternative scenarios:
- Same as for Copy & Paste of Selection Within the Same Map, just with two different maps of the same user
- The user logs in.
The user fails to paste the elements he copied in his previous session because they are removed from the 'copy-storage'.
- Error scenarios:
- The user attempts to copy and paste a selection but the app is experiencing technical difficulties and is unable to complete the request, displaying an error message.
- Postconditions:
- The user's map contains the copied and pasted selection of elements.
- The user's map A still contains the same elements as before the copying and pasting into map B.
- The user's map B contains the pasted selection of elements which he copied from his map A.
- Non-functional Constraints:
- Same as for Copy & Paste of Selection Within the Same Map
- For performance reasons and to minimize potential sources of error, the copied selection of elements should be persisted locally on the client side, i.e. in the browser's local storage.
- The new storage, i.e. the local storage, should be used for every Copy & Paste scenario to store and retrieve the latest copied elements.
- To avoid inconsistencies of all sorts, the new storage with the copied elements in it, should not be persisted beyond a user's session, i.e. it should be cleared upon the user's next login.
- Linked Use Cases:
- Linked Test Cases:
Use Case: Copy & Paste Between Users
Summary
- Scope: All Layers, except Base
- Level: User Goal
- Actors: App User
- Brief: The user can copy and paste a selection of elements, including succeeding crops, between his own map and a map of another user.
- Status: Done
- Assignee: Moritz
Scenarios
- Precondition: User A has opened the app on a key-controlled device and has made a selection of elements on one of his maps that he wants to copy and paste into the map of another user B.
- Main success scenario:
- User A copies the selection on his map.
User A opens a map of user B.
User A pastes the copied selection into user B's map.
The pasted selection of elements is placed in user B's map.
- User A copies the selection on his map.
- Alternative scenarios:
- Same as for Copy & Paste of Selection Within the Same Map, just with maps of two different users
- The user logs in.
The user fails to paste the elements he copied in his previous session because they are removed from the 'copy-storage'.
- Error scenarios:
- The user attempts to copy and paste a selection but the app is experiencing technical difficulties and is unable to complete the request, displaying an error message.
- Postconditions:
- The user's map contains the copied and pasted selection of elements.
- User A's map still contains the same elements as before the copying and pasting into user B's map.
- User B's map contains the pasted selection of elements which user A copied from one of his own maps.
- Non-functional Constraints:
- Same as for Copy & Paste of Selection Within the Same Map
- For performance reasons and to minimize potential sources of error, the copied selection of elements should be persisted locally on the client side, i.e. in the browser's local storage.
- The new storage, i.e. the local storage, should be used for every Copy & Paste scenario to store and retrieve the latest copied elements.
- To avoid inconsistencies of all sorts, the new storage with the copied elements in it, should not be persisted beyond a user's session, i.e. it should cleared upon the user's next login.
- Linked Use Cases:
- Linked Test Cases:
Use Case: Copy & Paste Via Icons
Summary
- Scope: All Layers, except Base
- Level: User Goal
- Actors: App User
- Brief: The user can copy and paste a selection of elements, including succeeding crops, by using the appropriate icons in the toolbar.
- Status: Done
- Assignee: Moritz
Scenarios
- Precondition: The user has opened the app and has made a selection of elements that he wants to copy and paste.
- Main success scenario:
- The user copies the selection by clicking on the copy icon in the toolbar.
The user goes into insert mode by clicking on the paste icon in the toolbar. The user pastes the selection of elements in the map by clicking.
By closing the status panel or pressing ESC, the user leaves the insert mode.
- The user copies the selection by clicking on the copy icon in the toolbar.
- Alternative scenario:
- Same as for Copy & Paste of Selection Within the Same Map, just with clicking on the icons in the toolbar instead of using the keyboard shortcuts
- The user copies the selection by pressing CTRL-C.
The user clicks on the paste icon to paste the copied selection into the map. - The user copies the selection by clicking on the copy icon.
The user pastes the copied selection into the map by pressing CTRL-V.
- Intercondition:
- The user sees the copy icon as disabled and greyed out because he has no elements selected.
- The user sees the paste icon as disabled and greyed out because he has not copied any element(s) for this layer in his current session yet.
- The user copies a selection of elements for this layer for the first time in his current session.
The user sees the paste icon getting enabled and not being greyed out anymore. - The user makes a selection of elements on the map, not having had anything selected right before.
The user sees the copy icon getting enabled and not being greyed out anymore. - The user copies a selection of elements for this layer.
The user switches to a different layer. The user sees the paste icon getting disabled and being greyed out again.
- Error scenario:
- The user attempts to copy and paste a selection but the app is experiencing technical difficulties and is unable to complete the request, displaying an error message.
- Postcondition:
- The user's map contains the copied and pasted selection of elements.
- The copy icon is disabled and greyed out because after pasting every selection is gone.
- The paste icon is enabled and not greyed out.
- Non-functional Constraints:
- Same as for Copy & Paste of Selection Within the Same Map
- The icons' Look and Feel should always signal their current state, i.e. if they are enabled or disabled.
- Linked Use Cases:
- Linked Test Cases:
Use Case: Copy & Paste Within the Same Map
Summary
- Scope: All Layers, except Base
- Level: User Goal
- Actors: App User
- Brief: The user can copy and paste a selection of elements, including succeeding crops, within one map.
- Status: Done
- Assignee: Moritz
Scenarios
- Precondition: The user has opened the app on a key-controlled device and, on one of his maps, made a selection of elements that he wants to copy and paste into that same map.
- Main success scenario:
- The user copies the selection by pressing CTRL-C.
The user goes into insert mode by pressing CTRL-V.
The user pastes the selection of elements in the map by clicking.
By closing the status panel or pressing ESC, the user leaves the insert mode.
- The user copies the selection by pressing CTRL-C.
- Alternative scenarios:
- The user pastes a copied selection while having other element(s) currently selected.
The element(s) get unselected. - The user pastes a copied selection having the wrong layer selected and a warning that no elements were copied on this layer appears.
The user selects the correct layer and successfully pastes that selection of elements into it. - The user presses CTRL-C without having anything selected and a warning that no elements were selected appears.
The user presses CTRL-V and no pasting happens because no elements have been copied. - In a step #1, the user presses CTRL-C on a selection of elements.
In a step #2, The user unselects that selection by clicking anywhere else on the map.
The user presses CTRL-C without having anything selected.
The user presses CTRL-V.
The, in step #1, copied selection of elements is pasted into the map. - The user pastes a wrongly chosen selection of elements.
The user uses the app's undo function to revert the pasting.
- The user pastes a copied selection while having other element(s) currently selected.
- Error scenarios:
- The user attempts to copy and paste a selection but the app is experiencing technical difficulties and is unable to complete the request, displaying an error message.
- Postconditions:
- The user's map contains the copied and pasted selection of elements.
- Non-functional Constraints:
- Alternatives (selected elements depend on which alternative layer is selected)
- Any copy & pasted element should have its own UUID in the map, i.e. it's a unique Konva node on the current canvas.
- Left-click and right-click should be accepted for placing the copied elements in the map.
- The shortcuts for copying and pasting (CTRL-C and CTRL-V) should be stored in a central place where future keybindings will be added too.
- Linked Use Cases:
- Linked Test Cases:
Development Progress
- (this use case) Copy & Paste of Selection Within the Same Map
This use case should be done before any other Copy & Paste-related use case.
It will contain the core logic of copying and pasting. - Copy & Paste of Selection via Icons
It can reuse everything implemented in the first use case one-to-one.
Additionally it will add the logically-isolated possibility to copy and paste via icons plus the 'visibility-toggling' of the copy- and paste-icons design. - Copy & Paste of Selection Between a User's Own Maps / Copy & Paste of Selection Between Maps of Different Users
Here, the storing of the copied elements will have to be moved from the app's map store to the client side, i.e. the browser's local storage.
Use Case: Crop Rotation
Summary
- Scope: Crop Rotation
- Level: User Goal
- Actors: App User, Plant A, Plant B
- Brief: The user gets information based on earlier or later plants for each location.
- Assignee: Lukas
- Criticality: Major
Scenarios
- Precondition:
- The user has opened the app and sees either
HeatmaporRelation Layer. - A plant A has been on the same spot in the past as plant B is now.
- This plant A has a removal date before the adding date of plant B (
remove_date of A < add_date of B). - There is a positive or negative crop rotation effect between plant A and B, which can last from half a year to a predefined number of years.
- The user has opened the app and sees either
- Heatmap:
- Nothing, i.e., transparent, is shown if no plant has been at that spot before within the time frames
- A positive effect is shown green on this spot before plant B is planted.
- A weak negative effect (within max in the relation table) is shown orange on this spot before plant B is planted.
- A strong negative effect (within min in the relation table) is shown red on this spot before plant B is planted.
- Alternative scenario:
- Without data or relation for A or B, nothing happens for the user and no additional information is provided.
- Error scenario:
- Postcondition:
- Linked Use Cases:
- Notes:
Out of Scope
- Relation Layer
- The relation layer shows an icon with text describing the specific crop rotation effect between plant A and B, e.g.:
- "Strong negative crop rotation effect: Cabbage shouldn't be placed within the same year on the same spot."
- "Nachteilige Fruchtfolge: Kohl braucht ein Jahr Anbaupause bevor wieder Kohl gepflanzt werden soll."
- Pavlo suggests:
It would be even better to group crops based on certain parameters (e.g. nitrogen provisioning, nitrogen demand, strength of a biocidal effect on pests, susceptibility to a certain pests). And to establish temporal relationships between these groups. Of course, the sequence in each crop pair should be checked to see if it either makes sense biologically (e.g. planting nitrogen fixing crop or insecticidal crop both before and after nitrogen demanding or a pest/disease susceptible crop makes sense.)
Use Case: Entry and List of Seeds
Summary
- Scope: Seed Management
- Level: User Goal
- Actors: App User
- Brief: The users manage their seeds by adding, editing, searching, viewing and archiving them.
- Assignee: Moritz
- Criticality: Optional
Scenarios
- Precondition: The user has opened the seed management feature in the app.
- Main success scenario:
- The user is able to add new seeds to their list.
- The user is able to search for seeds using the full plant name.
- The user is able to view a list of seeds where the complete name, amount, quality, harvest year, and origin is visible.
- The user is able to edit or archive seeds of the list.
- The user is able to search for seeds with their complete name.
- Alternative scenario: The user accidentally archives a seed from their list and uses the undo feature to correct it.
- Error scenario: There is an error when the user attempts to add or edit a seed entry with invalid data such as an invalid price. In this case, the app validates when saving the seed and shows a validation error.
- Postcondition: The user's seed list corresponds exactly with the physical seeds in the user's seed box in reality.
Links
Use Case: Grid
Summary
- Scope: Grid
- Level: User Goal
- Actors: App User
- Brief: The app will display a variable scale coordinate grid.
- Status: Done
- Assignee: Elia
- Criticality: Major
Scenarios
- Precondition:
- User has opened the map.
- Main success scenario:
- The user sees a variable scale coordinate grid with 1 meter, 10 meter and 10 centimeter spacings depending on the current map scale.
- A scale bar displays the current scale of the coordinate grid.
- The origin point is marked on the map.
- The grid can be toggled on and off using a button in the top right toolbar.
- Non-functional Constraints:
- Support for changing viewport (zoom, position, etc.)
- The functionality is only available in the frontend.
Use Case: Guided Tour
Summary
- Scope: Learning
- Level: User Goal
- Actors: User
- Brief: The user is presented with an introduction tour upon first encountering the map editor.
- Status: Done
- Assignee: Elia
- Criticality: Major
Scenarios
- Precondition:
- The user is member and logged in.
- The user has created a map.
- The user has opened the map editor.
- The user has not previously completed the guided tour.
- Main success scenario: The user is shown a guided tour, which explains the features of the map editor based on a small scenario. The user will have to place and remove plants, use the timeline, see plant relations and use the undo feature in this scenario. After completing the guided tour, the user is awarded a Blossom.
- Alternative scenario: The user does not want to do the guided tour and can cancel it during any step. Upon cancel, the user decides to see it on their next visit or to cancel it indefinitely.
- Error scenario: A network problem prevents the frontend from checking if the guided tour was already completed and will show an error message.
- Postcondition: The guided tour is completed or canceled and won't be shown again next time.
- Non-functional Constraints:
Development Progress
- Tour steps and display options are defined in their own typescript file.
- CSS classes for the styling of the tour were added as a separate CSS file.
- Guided tour is added to the application as part of the map wrapper.
- The tour is started and event listeners are added in the map component.
- Follow-up Issue(s): #710.
Use Case: Heatmap
Summary
- Scope: Plant Layer
- Level: User Goal
- Actors: App User
- Brief: The user gets a visual indication for good/bad spots on the map.
- Status: Done
- Assignee: Lukas and Christoph
- Criticality: Major
Scenarios
- Precondition: The user has opened the plant layer.
- Main success scenario:
- The user places a new plant or moves a plant.
- She gets a visual indication which places of the map are ideal (green), okay (orange), not suited (red) and occupied space (black) for the plant to be placed.
- After placement is finished or gets aborted, the visual indication disappears.
- Heatmap:
- Transparent: If no data is available.
- Orange: If green overlaps with orange.
- Red: If red overlaps with orange.
- Black: If black overlaps with red.
- Alternative scenarios:
- When the date in the timeline is changed, the heatmap gets recalculated.
- Postcondition: None.
- Relations and Environmental Constraints:
- Temporal Relations
- Spatial Relations
- Hydrology Layer
- Soil Texture Layer
- Shade Layer
- Occupied space: black
Use Case: Highlight Searched Plants
Summary
- Scope: Plants Layer
- Level: User Goal
- Actors: App User
- Brief: When placing a plant, plantings of the same plant type are highlighted on the map.
- Status: Done
- Assignee: Elia
Scenarios
-
Precondition: The user is in the plants layer.
-
Main success scenario:
- The user clicks on a plant type from plant database.
- All plantings of this plant type on the map are visually highlighted.
- The status panel displays the number of plantings and areas of plantings which are currently highlighted.
-
Alternative scenario:
- The user clicks on a plant type not currently present on the map:
- No existing plantings are highlighted.
- The status panel displays the message "No plantings of this type at this date on the map."
- The user clicks on a plant type not currently present on the map:
-
Error scenario:
The user clicks on a plant type but the app is experiencing technical difficulties and is unable to highlight plantings on the map, displaying an error message. -
Postcondition:
- Visual highlighting of plantings persists as long as user is able to plant the respective plant type.
- Upon exit of planting mode or click on a different plant type, previously highlighted plantings become non-highlighted and if needed, plantings of another plant type become highlighted.
-
Non-functional Constraints:
- Visual feedback (e.g. outline, glow, or color overlay) should be non-intrusive and clearly distinguishable even in the presence of protagonist-antagonist relationship lines and areas.
- Visual feedback should be distinguishable both when plantings intersect each other and when they don't.
- Highlight must occur without noticeable delays for up to 10.000 of plantings.
Links
-
Test Protocol: doc/tests/manual/testcases/plant_markers.md
Use Case: Hydrology Layer
Summary
- Scope: Hydrology Layer
- Level: User Goal
- Actors: App User
- Brief: The user can add, edit, move, remove and delete wet or dry areas.
- Status: Done
- Assignee: Lukas
- Criticality: Major
Scenarios
- Precondition: The user has opened the app and has selected the hydrology layer.
- Main success scenario:
- The user successfully adds, edits, moves, removes and deletes dry, wet and watery areas in the hydrology layer. For example: surface water runoff, natural reservoirs, gullies, rills, etc. This includes positioning the areas in the appropriate location.
- Default is to not consider it for heatmap.
- Dry, moist, wet and water areas can be added by a small (rills) or big brush (surface water) to draw on the hydrology layer.
- Heatmap:
- per default: no information
- red: plant does not match with hydrology/moisture information
- green: plant matches with hydrology/moisture information
- Alternative scenario:
- The user accidentally edits, moves or removes an element and uses undo to correct the mistake.
- The user accidentally adds an element and deletes it with the "delete" or "undo" functionality.
- The map is in read-only state, then the user cannot add, edit, move or remove anything.
- Error scenario: The user attempts to add, move or edit a moisture or dry area but the app is experiencing technical difficulties and is unable to complete the request, displaying an error message.
- Postcondition: The user's map includes the added, edited, moved, removed or deleted moisture areas as desired.
- Non-functional Constraints:
- is a brushing layer
- Performance: Map sizes with more than 1ha in 10000 raster elements (m²) per year should be usable without noticeable delays and acceptable memory overhead
- Functional Constraints:
- Moving or transforming areas is currently not supported
Use Case: Landing Page
Summary
- Scope: Landing Page
- Level: User Goal
- Actors: App User
- Brief: The user can view sites/maps on a GeoMap and apply for a membership
- Status: Done
- Assignee: Justus
- Criticality: Major
Scenarios
- Precondition:
- The user has navigated to permaplant.net.
- Main success scenario:
- The user can interact with the displayed GeoMap
- The user can apply for a membership
- The user can contact us
- The user can read imprint (Impressum)
- The user can read about privacy (Datenschutz)
- The user can read about copyright
- The user can login
- Alternative scenario:
- Error scenario:
- Postcondition:
- Non-functional Constraints:
- Linked Use Cases:
Open points:
- privacy/copyright missing
Use Case: Layer Visibility
Summary
- Scope: All Layers
- Level: User Goal
- Actors: App User
- Brief: User changes the visibility of layers in their map
- Status: Done
- Assignee: Ben
- Criticality: Major
Scenarios
-
Precondition: User has opened the app and has multiple layers available to view.
-
Main success scenario: User successfully changes the visibility of layers:
- visibility on/off (elements and colors on layer are fully visible or invisible)
- opacity in % (elements and colors on layer have a chosen opacity)
-
Error scenario: The user attempts to toggle the visibility but the app is experiencing technical difficulties and is unable to complete the request, displaying an error message.
-
Postcondition: The user has changed the visibility of the selected layer.
-
Non-functional Constraints:
-
improvements
-
Alternative scenario:
- On activation of a layer, also the visibility gets turned on.
- On activation of some layers, the visibility of others layer changes; e.g., activation of the hydrology layer also sets the visibility of the infrastructure layer to on.
Notes
The layer opacity is a Konva feature and is implemented in Map.tsx. The control elements for the opacity and visibility can be found in LayerListItem.tsx
Use Case: Login
Summary
- Scope: Authentication
- Level: User Goal
- Actors: App User
- Brief: Login and Logout
- Status: Done
- Assignee: Peter and Lukas (Infrastructure)
- Criticality: System Critical
Scenarios
- Precondition: The user has not yet authenticated against Keycloak.
- Main success scenario:
- The user enters their login credentials and Keycloak successfully authenticates them.
- The user is authenticated and has access to the PermaplanT app and Nextcloud.
- The user logs out.
- Alternative scenario: The user enters incorrect login credentials. In this case, the app displays an error message to the user indicating that the login failed.
- Error scenario: There is an error in the app's authentication process. In this case, the app displays an error message to the user and tells them to try again.
- Postcondition: The user has no access to neither PermaplanT app nor Nextcloud.
- Non-functional Constraints:
- The login process must be secure to protect the user's personal information.
- The app must clearly communicate to the user whether the login was successful or not.
Links
Use Case: Manage Additional Layers
Summary
- Scope: Additional Layers
- Level: User Goal
- Actors: App User
- Brief: User creates, renames, ranks and removes a new additional layer
- Status: Done
- Assignee: Elia
- Criticality: Major
Scenarios
- Precondition:
- User has opened the app.
- Main success scenario:
- The user can create a new additional layer.
- These layers should give hints that they are not semantic for the application.
- Alternative scenario:
- Error scenario:
- The user attempts to create the layer but the app is experiencing technical difficulties, e.g. too many layers were already created, and is unable to complete the request, displaying an error message.
- Postcondition:
- This new layer is created, will get a new subsequent number and is enabled.
- Non-functional Constraints:
Use Case: Map Creation
Summary
- Scope: Map Management
- Level: User Goal
- Actors: App User
- Brief: The user creates or duplicates a map.
- Status: Done
- Assignee: Moritz
- Criticality: Major
Scenarios
- Precondition: The user has opened the app and is on the map management screen.
- Main success scenario:
- The user successfully creates or duplicates a new map by providing:
- a name
- a location (where that map is)
- a text
- a photo from Nextcloud (of that map)
- privacy setting: public, protected (only members), private
- soil (sandy to clay)
- The same information can be later edited in a settings dialog.
- The user successfully creates or duplicates a new map by providing:
- Alternative scenario:
- The user attempts to create a map with a name that is already in use. In this case, the app displays an error message and prompts the user to choose a different name.
- The user attempts to create a private map but doesn't have the permission to do so. In this case, the app displays an error message.
- Error scenario: There is an error in the map creation process and the map is not created as intended. In this case, the app displays an error message and allows the user to try again.
- Postcondition: The map is successfully created.
- Non-functional Constraints:
Left-Overs
- Duplication of map not yet done.
Use Case: Map Deletion
Summary
- Scope: Map Management
- Level: User Goal
- Actors: App User
- Brief: The user deletes a map.
- Status: Done
- Assignee: Moritz
- Criticality: Major
Scenarios
-
Precondition: The user has opened the app and is on the map management screen.
-
Main success scenario:
- The user deletes a map by selecting it from the list of maps.
- The user receives the following information:
- a warning that the whole map including all layers will be deleted, but
- it is possible to contact the PermaplanT service team within one month to restore the map.
- The user confirms their choice to delete the map by entering the maps name into a text field.
- Within one month, the PermaplanT service team can restore the map via provided SQL commands.
-
Error scenario: There is an error in the map deletion process and the map is not deleted as intended. In this case, the app displays an error message and allows the user to try again.
-
Postcondition: The map is deleted.
-
Non-functional Constraints:
-
Linked use cases
Use Case: Map Search
Summary
- Scope: Map Search
- Level: User Goal
- Actors: App User
- Brief: The user can search for maps within the app using keywords, including the ability to search for public maps created by other users.
- Status: Done
- Assignee: Moritz
- Criticality: Major
Scenarios
- Precondition: The user has opened the app and is on the map search page.
- Main success scenario:
- A list of all maps are shown, including both the user's own maps and public/protected maps created by other users.
For each map:
- A small image either of the photo or of its content is shown
- The name is shown
- The user enters a keyword into the search field and the app filters the list of maps that match the keyword.
- The user can then select a map to view it.
- A list of all maps are shown, including both the user's own maps and public/protected maps created by other users.
For each map:
- Alternative scenario: The user enters a keyword that does not match any maps in the app. In this case, the app displays a message to the user indicating that no maps were found.
- Error scenario: There is an error in the app's search functionality and the maps are not correctly retrieved. In this case, the app displays an error message to the user and allows them to try again.
- Postcondition: The user has successfully searched for a map and retrieved correct results within the app.
- Non-functional Constraints:
- The app's search functionality must be fast and efficient in order to provide a seamless user experience.
- The app must clearly communicate to the user whether their search was successful or not.
Use Case: Map Timeline Event View
Summary
- Scope: Map View
- Level: User Goal
- Actors: User, App
- Brief: The user sees addition/removal of elements as events using the timeline feature.
- Status: Done
- Assignee: Moritz
- Criticality: Major
Scenarios
- Precondition: The user has opened the app and selected a map.
- Main success scenario:
- The user sees events represented on the scrollbar of the timeline feature, allowing them to understand how the map changed over time.
Events include:
- addition of an element to the map (colored green)
- removal of an element from the map (colored red)
- the events are represented by a visual indication directly at the day/month/year on the sliders.
- if there is no event at a certain point in time, the graph is empty. That means that 0 events should lead to no visual indication, so that 0 and 1 can be easily distinguished.
- The user sees events represented on the scrollbar of the timeline feature, allowing them to understand how the map changed over time.
Events include:
- Alternative scenario:
- The user has not yet added/removed any elements, therefore no events are visible on the timeline.
- Error scenario: There is an error in the timeline display or event loading functionality. In this case, the app displays an error message and allows the user to try again.
- Postcondition: The user successfully sees the events on the timeline scrollbar.
- Non-functional Constraints:
- Offline availability
Use Case: Map Timeline Single Selection
Summary
- Scope: Map View
- Level: User Goal
- Actors: App User
- Brief: The user can view the map at different points in time by using the timeline feature.
- Status: Done
- Assignee: Moritz
- Criticality: Major
Scenarios
- Precondition:
- The user has opened the app and selected a map.
- The timeline shows the current date.
- Main success scenario:
- A timeline is presented to the user which allows them to select year, month and day.
- Year, month and day can be individually selected by scrolling, moving sliders or clicking on the elements.
- This allows navigation to a different point in the past, present and future.
- The map updates to show the state of the garden at the selected point in time (removing or adding elements accordingly).
- Adding or removing elements is done on the selected date.
- The selected date is highlighted.
- The sliders are synchronized, i.e., if the user scrolls the day slider over the last day of the month, the month slider is updated to the next month.
- Alternative scenario:
- The user corrects the dates in the attributes of elements or presses undo to undo changes in the dates.
- Error scenario:
- Postcondition: The user has successfully changed to the desired date.
- Non-functional Constraints:
- Performance: data in up to 100 years should be fast to use
- Note:
- Single Date Selection must always be an exact date so we have a well-known date (reference point) when elements got added to the map.
Use Case: Map Undo/Redo
Summary
- Scope: All Layers
- Level: User Goal
- Actors: App User
- Brief: The user can undo or redo their own actions to correct mistakes made to the map.
- Status: Done
- Assignee: Elia
- Criticality: Major
Scenarios
- Precondition: The user has made a change in the map that they want to undo.
- Main success scenario:
- The user selects the undo option.
- The app successfully undoes the previous action that modified the map in some way.
- Alternative scenario:
- The user used undo by accident.
- In this case, the user can press redo, to undo the undo.
- Error scenario: There is an error in the app's undo/redo functionality and the action is not correctly undone or redone. In this case, the app displays an error message to the user and allows them to try again.
- Postcondition: The user's action within the map has been undone or redone as desired. It may be an action in a different layer.
- Non-functional Constraints:
- The app must clearly communicate to the user whether an action can be undone or redone.
- The app must clearly communicate which undo/redo action was done.
- Offline availability
- All operations changing the map or elements must support undo/redo, unless specified differently in non-functional constraint.
Left-Overs
- usability improvements#657
Use Case: Measuring Distance
Summary
- Scope: All Layers
- Level: User Goal
- Actors: User, App
- Brief: The user can measure the distance between different elements in their map.
- Status: Done
- Assignee: Elia
- Criticality: Major
Scenarios
- Precondition: The user has opened the app and has selected any layer (e.g. plants).
- Main success scenario:
- The user selects the "Measure Distance" button.
- The user clicks on the first point they want to measure the distance from.
- The user clicks on the multiple elements between which the user wants to create the path of the length measurement.
- The app displays the total sum of elements in one path in both units (meters, feet).
- New measurement paths can be started while keeping the previous measurements on the display.
- When status bar is closed, measurements are still displayed and the work from the previous layer can be continued.
- Once the "Measure Distance" button is pressed again, all measurements are permanently removed.
- Error scenario:
- There is an error in the app's distance measurement function and the displayed distance would not be accurate. In this case, the app displays an error message and allows the user to try again.
- Postcondition: No change on the elements of the map.
- Non-functional Constraints:
- It must be possible to draw 100 measurement lines.
Out of Scope
- The app must accurately measure the distance between elements in the selected unit (based on GIS data).
Use Case: Multi-Select
Summary
- Scope: All Layers, except Base
- Level: User Goal
- Actors: App User
- Brief: The user changes properties or deletes multi-selected plants.
- Status: Done
- Assignee: Elia
- Criticality: Major
Scenarios
- Precondition: The user has made a selection of at least two plants.
- Main success scenario:
- The user sets the Added on date.
Then he sets the Removed on date. - The user clicks on the deletion button and sees all selected plants disappear from the map.
- The user sets the Added on date.
- Alternative scenario:
- The user accidentally deletes the selected plants and uses the app's undo function to correct the mistake.
- The user accidentally sets a wrong date and uses the app's undo function to correct the mistake.
- Error scenario: The app is experiencing technical difficulties and is unable to complete the request, displaying an error message.
- Postcondition:
- The Added on date of all selected plants are changed.
- The Removed on date of all selected plants are changed.
- All deleted plants are gone from the map as if they never existed.
- Non-functional Constraints:
- The user should be able to undo/redo setting the Added on and Removed On date of all selected plants.
- The user should be able to undo/redo the deletion of all selected plants.
Development Progress
fully done
Use Case: Display and Manage Plant Markers
Summary
- Scope: Plant Layer
- Level: User Goal
- Actors: App User
- Brief: Visual markers are displayed on plants to indicate specific conditions or metadata. These markers can be turned off or on.
- Status: Done
- Assignee: Elia
Scenarios
-
Precondition: The user is viewing a map that includes one or more plants.
-
Main success scenario:
-
When plant markers are turned on, plantings that meet certain criteria are automatically displayed with visual markers.
- Supported marker types include:
- The planting was created on currently selected timeline date.
- The planting will be removed one day after currently selected timeline date.
- The planting is of the same plant type that is being currently planted.
- Supported marker types include:
-
Non-Functional Requirements:
- Turning off plant marker hides all markers of all types while plant labels stay unaffected.
- Markers can be interacted with or hidden as needed, improving map usability.
- Markers should be placed independently of plant labels.
- Markers should be small and unobtrusive as to not degrade readability of map.
- Markers should be clearly readable on zoomed out map.
-
-
Alternative scenario:
- The user turns off plant markers to reduce visual clutter.
- Plant markers remain hidden unless turned back on.
- This configuration is remembered per map per user.
- The user turns off plant markers to reduce visual clutter.
-
Error scenario:
- The app is experiencing technical difficulties and is unable to restore markers state from map's visibility settings, displaying an info message that the map's viewing state could not be fully restored.
-
Postcondition: None.
Open Points
- Individual management of plant markers — how to toggle individual markers on or off and whether it is needed.
- Configuration of plant markers — define which plant attributes and their corresponding values should trigger marker display.
- Additional types of markers:
- Some task for this planting is to be done.
- The plant has a warning, e.g. poisonous or invasive, associated with it.
- (Diversity) attributes of the planting, like wild-bee-friendly.
- Making markers repositionable and/or resizable.
Links
- Test Protocol: doc/tests/manual/testcases/plant_markers.md
Use Case: Plants Layer
Summary
- Scope: Plants Layer
- Level: User Goal
- Actors: App User
- Brief: The user can add, edit, move, remove, and delete plant elements in their map in the plants layer.
- Status: Done
- Assignee: Elia
- Criticality: System Critical
Scenarios
- Precondition: The user has opened the app and has selected the plants layer.
- Main success scenario:
- The user can search for plants or seeds.
- While the user adds a plant, constraints are shown:
- All constraints of the currently visible screen via the heatmap.
- The user is able to view the spatial relationships to all plants on the map.
She does so by looking at the lines connecting the mouse cursor to existing plants, which are either companion (green), antagonist (red) or ambivalent (orange).
Also relationships outside of the currently visible screen are indicated, so that she can find companions anywhere on the map.
Relation lines become more opaque or transparent depending on the distance between the plantings.
The more opaque the relation line is, the stronger the mutual effect of the plantings on each other. - Relationship constraints take the plant hierarchy into account, e.g. a constraint declared for two species also applies to varieties / cultivars within those species.
- The user positions the plant element in the appropriate location in the map.
- The user is able to
- move,
- resize (without flipping) and rotating,
- edit (e.g. when planted, when harvested),
- remove (that it was removed from the map to make space on this spot for other plants on this day), and
- delete (that it never existed) selected plants.
- The user adjusts the plant elements and their relationships as needed.
- Alternative scenario:
- The user accidentally edits, moves or removes an element and uses undo to correct the mistake.
- The user accidentally adds an element and deletes it with the "delete" or "undo" functionality.
- The map is in read-only state, then the user cannot add, edit, move or remove anything.
- Annual plants automatically get removed after one year.
- The user enables plant labels. The plant labels are shown in front of the plantings.
- The user selects plantings with relations. The plant relations are shown in front of the plantings.
- The user enables plant labels and selects plantings with relations. The plant relations are shown in front of the plant labels.
- Error scenario:
- The user attempts to add, move or edit a plant element but the app is experiencing technical difficulties and is unable to complete the request, displaying an error message.
- There is an error in the app's plant relationship indication and the lines connecting the plants are not displayed correctly. In this case, the app displays an error message.
- Postcondition:
- The user's map includes the added, edited, moved, removed or deleted plant element as desired.
- If constraints are violated for the place where a plant was added or moved, warnings get added (or removed) to (from) the relation layer.
- Non-functional Constraints:
- map loading time should be less than 1s
- Performance; without noticeable delays (0.1s) and acceptable memory overhead (less than 1GB) it should be possible to:
- have more than 10000 elements per year
- indicate more than 100 visualization of spatial relationships
Development Progress
- Planting relationships are shown.
The backend part is implemented here.
The overlay is displayed from this component
Out of Scope
- Partial offline availability: editing attributes, especially for planting and harvesting
- Supports alternatives
- Seasonal plants:
Currently only seasonal seeds are shown.
The expiration date is NOT considered.
The backend part is implemented here.
The list is then shown in this component
Use Case: Rename Layers
Summary
- Scope: Created or Alternative Layers
- Level: User Goal
- Actors: App User
- Brief: User renames created layers
- Status: Done
- Assignee: Ben
- Criticality: Major
Scenarios
- Precondition:
- User has opened the app and has at least one created layer.
- Main success scenario: User successfully renames created layers by selecting the desired layer and entering a new name.
- Alternative scenario:
- The user accidentally renames a layer to a name that is already in use and uses the app's undo function to correct the mistake.
- Error scenario:
- The user attempts to rename the layer but the app is experiencing technical difficulties and is unable to complete the request, displaying an error message.
- The user attempts to rename the layer to a name that is already in use and the app is unable to complete the request, displaying an error message.
- The user attempts to rename the layer by entering a name that is longer than the maximum allowed length and the app is unable to complete the request, displaying an error message.
- Postcondition: The user has changed the name of the selected layer.
- Non-functional Constraints:
Use Case: Search Plants
Summary
- Scope: Plants Layer
- Level: User Goal
- Actors: App User
- Brief: The user can search for plants.
- Status: Done
- Assignee: Ben
- Criticality: Major
Scenarios
- Precondition:
- The user is logged in to the app.
- The plants layer or seed entry dialog is shown.
- Main success scenario:
- The user types something into the search text box.
This will search for partial matches of actual plants (not higher ranks) in:- Unique name
- German common names
- English common names
- Attributes that describe the plant, especially
edible_uses, so that people can search forpopcorn.
- The results are ranked by how well the type text matches with the plant name, e.g. the user wrote "fir", "fir" should be first hit
- The plant name is rendered as described in hierarchy description
- The user types something into the search text box.
- Alternative scenario:
- No match can be found for what the user was searching for.
A message will be displayed that nothing was found.
- No match can be found for what the user was searching for.
- Error scenario:
- Postcondition:
- The user has found the plant or a similar one to add to her map.
- Non-functional Constraints:
- Performance
- If there is a possible match in the database, it should be included (regardless of language settings etc.)
Out-of-scope
- The matched part of the text should be bold.
- Results then get extended by the whole hierarchy below, e.g., a search for
Tomatoshould include all cultivars. - We don't consider language for ranking so that the backend can be agnostic to language.
Further out-of-scope topics are documented in the closed issue #379.
Links
- Test Protocol: doc/tests/protocols/plant_search.md
Use Case: Shade Layer
Summary
- Scope: Shade Layer
- Level: User Goal
- Actors: App User
- Brief: The user can add, edit, move, remove and delete shade areas in their map in the shade layer and adjust the intensity.
- Status: Done
- Assignee: Lukas
- Criticality: Major
Scenarios
- Precondition: The user has opened the app and has selected the shade layer.
- Main success scenario:
- The user successfully adds, edits, moves, removes and deletes sun or shade areas in their map in the shade layer. This includes positioning the indicators in areas of the landscape that receive more or less sun exposure and adjusting the intensity of the shade area. Sun and shade areas can be added by a big brush to draw on the shade layer.
- Sun, light shade, partial shade and permanent shade areas can be added by a small or big brush to draw on the shade layer.
- Heatmap:
- Nothing, i.e. transparent, is shown for default areas (without a brush, i.e., no data available).
- green if light_requirements and shade matches (e.g. sun is brushed and the plant likes sun)
- orange if light_requirement matches but shade doesn't match
- red otherwise (if there is no match)
- Alternative scenario:
- The user accidentally edits, moves or removes an element and uses undo to correct the mistake.
- The user accidentally adds an element and deletes it with the "delete" or "undo" functionality.
- The map is in read-only state, then the user cannot add, edit, move or remove anything.
- Error scenario: The user attempts to add or edit a shade area but the app is experiencing technical difficulties and is unable to complete the request, displaying an error message.
- Postcondition: The user's map includes the added, edited, moved, removed or deleted shade area as desired.
- Non-functional Constraints:
- is a brushing layer
- Performance: Map sizes with more than 1000 shadings in 1ha in 10000 raster elements (m²) per year should be usable without noticeable delays and acceptable memory overhead
- Extensions:
- For changing shade types
- Change type "Shade" for frontend & backend
- Update column "shade" of table "plants"
- Update table "shadings"
- For changing shade types
- Functional Constraints:
- Moving or transforming areas is currently not supported
Notes
- Links:
- Matching for light_requirement
- Full = "no shade" in shade layer
- Partial = either light or partial shade in shade layer
- FullShade = full shade in shade layer
- Example:
a plant has light_requirement = { full sun } and shade = light shade then:
- if the user has drawn a light shade: we get orange (Explanation: shade doesn't match but light_requirement matches)
- if the user has drawn a partial shade: we get red (Explanation: light_requirement doesn't match and shade is also worse than what the plant tolerates)
- Extensions/Changes:
- For changing shade types
- Change type "Shade" for frontend & backend
- Update column "shade" of table "plants"
- Update table "shadings"
- For changing shade types
- Simplification: we don't distinguish between Winter and Summer shade
Use Case: Soil Layer
Summary
- Scope: Soil Layer
- Level: User Goal
- Actors: App User
- Brief: The user can add, move, remove, delete and edit areas of pH values and soil weight class in their map using the soil layer
- Status: Done
- Assignee: Lukas
- Criticality: Major
Scenarios
- Precondition: The user has opened the app and has selected the soil texture layer.
- Main success scenario:
The user successfully adds, edits, moves, removes and deletes soil texture areas in the soil texture layer.
For example: sandy hills, loamy spot etc.
This includes positioning the areas in the appropriate location.
- Default is to not consider it for heatmap.
- Sandy, loamy, clay and sealed areas can be added by a small or big brush to draw on the soil texture layer.
- Sand (Sand): cannot be rolled to a ribbon even if moist (kann nicht zu einer Wurst gerollt werden, selbst wenn feucht)
- Loam (Lehm): there is sound when rubbing near your ears or sand can also be felt on the tongue
- Clay (Ton): you can form the moist ribbon to a ring (Handtellergroß), without breaking it
- Sealed (Versiegelt): no earth on the surface (keine Erde auf der Oberfläche)
- Heatmap:
- per default: no information
- red: plant does not match with soil texture information
- green: plant matches with soil texture information
- Alternative scenario:
- The user accidentally edits, moves or removes an element and uses undo to correct the mistake.
- The user accidentally adds an element and deletes it with the "delete" or "undo" functionality.
- The map is in read-only state, then the user cannot add, edit, move or remove anything.
- Error scenario: The user attempts to edit a soil weight class or pH value in a area that is not within the acceptable range and the app displays an error message. The previous values stay unmodified.
- Postcondition: The user's map includes the added, moved or edited pH value areas as desired.
- Non-functional Constraints:
- is a brushing layer
- Performance: Map sizes with more than 1ha in 100 raster elements (in 1a=100m²) per year with 4 values per raster element should be usable without noticeable delays and acceptable memory overhead
- Functional Constraints:
- Moving or transforming areas is currently not supported
Out of scope
- To be done in the future:
- ph-values and yield grade
- First the user globally tells a pH topsoil value, soil weight and yield grade.
- Then the user successfully adds, moves, removes, deletes and edits:
- pH value areas for topsoil
- pH value areas for subsoil
- soil weight class
- yield grade in their map using the soil layer, where it differs from the global value. This includes positioning the pH value areas in the appropriate locations and adjusting their values as needed. A big brush is used to draw on the soil layer.
- The user can check the values at individual spots by clicking on it.
- ph-values and yield grade
- Notes:
- pH values have one significant digit, not more (e.g. 4.5, 6.7, 8.4)
- Non-functional Constraints:
- The app must clearly communicate to the user the constraints for editing pH values in the soil layer.
Use Case: Translation
Summary
- Scope: Translation
- Level: User Goal
- Actors: App User
- Brief: The user can choose the app's interface to be in English or German.
- Status: Done
- Assignee: Ben
- Criticality: Major
Scenarios
- Precondition: The user has opened the app and wants to change the language of the interface.
- Main success scenario: The user successfully translates the app's interface and text into English or German by selecting the desired language from the app's menu. By default, the app's interface language will be set to the user's browser language. If the language is neither English or German, the app's interface will default to English.
- Alternative scenario: The user accidentally selects the wrong language and uses the app's translation function to correct the mistake.
- Error scenario: User attempts to translate the app's interface and text but the app is experiencing technical difficulties and is unable to complete the request, displaying an error message.
- Postcondition: The app's interface and text are displayed in the selected language.
- Non-functional Constraints:
Developers
Read doc/guidelines/i18n.md for further information.
Use Case: Zoom
Summary
- Scope: Zoom
- Level: User Goal
- Actors: App User
- Brief: The user can zoom in and out on their landscape map to view details more clearly or get a better overview of their map.
- Status: Done
- Assignee: Ben
- Criticality: Major
Scenarios
- Precondition: The user has opened the app and has selected the desired layer (e.g. plants, paths).
- Main success scenario:
The user is able:
- to set a scaling factor,
- to zoom in on a specific area down to 10x10cm (lowest resolution), and
- to zoom out to view a wider area up to 1000mx1000m.
- Alternative scenario: The user accidentally zooms in or out too far and uses the "Zoom Reset" button to return to the default zoom level.
- Error scenario: There is an error in the app's zoom functionality and the map is not displayed correctly at the selected zoom level. In this case, the app displays an error message and allows the user to try again.
- Postcondition: The user has zoomed in or out on their map as desired.
- Non-functional Constraints:
- The app must accurately measure the distance between elements in the selected unit.
- Offline availability (if zoom is within the range of previously used zoom anywhere on the map)
Draft Use Cases
Use Case: Add Plant Relationships
Summary
- Scope: Plants Layer
- Level: User Goal
- Actors: App User
- Brief: A new plant relationship is added to the system.
Scenarios
- Precondition:
- The user has opened the UI to propose a new relationship.
- Main success scenario:
- Details about the relationship are provided by the user.
- The two sides of the relationship can be
- Specific plants
- Taxonomic ranks which are not specific plants
- The type of the relationship can be
- Companion
- Antagonist
- Neutral
- Notes providing information on the why's and how's.
- The two sides of the relationship can be
- Details about the relationship are provided by the user.
- Alternative scenario:
- The user creates a relationship which is only effective for one or more of her selected maps.
In this case there is no review process. Map-specific relationships take precedence.
- The user creates a relationship which is only effective for one or more of her selected maps.
- Error scenario:
- The user tries to add a global relationship where another global with identical sides already exits.
The user is informed about this and can't create the relationship. - The user tries to add a map-specific relationship where another map-specific with identical sides already exits.
The user is informed about this and can't create the relationship.
- The user tries to add a global relationship where another global with identical sides already exits.
- Postcondition:
- A new relationship between plants is reviewable by other users.
- A new relationship between plants is considered when suggesting alternatives.
- Non-functional Constraints:
Use Case: All Layer
Summary
- Scope: All Layer
- Level: User Goal
- Actors: App User
- Brief: A special layer where everything can be selected/moved.
Scenarios
- Precondition: The user has opened the app and has selected the all layer.
- Main success scenario:
- The user selects any elements of any layer.
- All elements can be moved, start/end dates changed and copy&pasted.
- Alternative scenario:
- The user accidentally clicks on the wrong element and can undo the action of all layers.
- The map is in read-only state, then the user cannot add, edit, move or remove anything.
- Postcondition: Elements are moved, start/end dates changed and copy&pasted.
- Non-functional Constraints:
Use Case: Brushing
Summary
- Scope: Shade, Hydrology, Soil Texture and Additional Layers
- Level: User Goal
- Actors: App User
- Brief: User is able to mark areas easily by means of brushing.
Scenarios
-
Precondition: The user is in one of brushing layers (see Scope).
-
Main success scenario:
The user is able to draw areas on the map via the following steps:
- Pressing left mouse and dragging draws the area
- Releasing left mouse button melts all drawn areas together and makes the combined area concave if needed
- At this point the area is visually highlighted as "unconfirmed"
- Pressing right mouse button confirms the area and adds it to the map
The user is able to draw areas of different sizes via brush thickness configuration.
The user is able to edit and remove any of the confirmed areas.
Undo, Redo actions have respective effects on confirmed areas. -
Alternative scenario:
The user begins drawing an area but does not complete the full confirmation flow:
- Pressing left mouse and dragging starts the drawing as expected.
- Releasing the left mouse button highlights the area as "unconfirmed".
- Instead of confirming with the right mouse button, the user:
- Cancels the drawing using an escape key.
- Exits drawing mode by clicking close button on drawing explanation toast.
- Switches layer, tool or interacts with another element on the map.
- The unconfirmed area is discarded and not added to the map.
-
Error scenario: The user attempts to add, move or edit a drawing but the app is experiencing technical difficulties and is unable to complete the request, displaying an error message.
-
Postcondition:
- Confirmed areas are persisted in the map (i.e. refresh of screen does not discard them) and can be edited or removed later.
- Unconfirmed or incomplete areas are discarded automatically.
-
Non-functional Constraints:
- Non-confirmed areas are visually distinguishable from confirmed areas.
- Drawing should be smooth and responsive, even on large or complex maps.
Use Case: Buy Seeds
Summary
- Scope: Seed Management
- Level: User Goal
- Actors: App User
- Brief: The users buys missing seeds for the planned plants.
Scenarios
- Precondition:
- Already existing seeds are entered
- Plants are planted
- The user has opened the seed buying feature in the app.
- Main success scenario:
- The user gets a suggestion which seeds to buy based on planted seeds minus existing seeds.
- The seeds are grouped by seeds that are not, partially or sufficiently stocked.
- The user adjusts the amount for the already existing seeds if wanted.
- After confirming the purchase, the bought seeds get added to the seed database.
- Alternative scenario:
- Error scenario: There is an error when the user attempts to purchase the seeds. In this case, the seed database stays unmodified and the user gets notified about the error.
- Postcondition: The seed database contains all seeds as visible in the map.
- Non-functional Constraints:
Use Case: Contributing Member
Summary
- Scope: Membership
- Level: User Goal
- Actors: App User
- Brief: The user receives a membership without compensation via money through contributions.
Scenarios
- Precondition:
- The user already has an existing membership OR
- The user has currently no membership.
- Main success scenario:
- The user can receive permacoins through various activities in the app, like:
- gaining Blossoms in the Expert Track.
- getting likes from other users on their reviews.
- getting approvals on their submitted plant relationships.
- getting their comments on a map marked as helpful by the maps owner.
- recruiting new members.
- The user can see their exact count of current and previous permacoins in their profile.
- If the user applied for the contributing membership and when reaching a certain milestone with the amount of gathered permacoins, the user will be given the current calendar year of membership without compensation via money.
- Permacoins can not be transferred from the current into another year nor be exchanged to money in any way.
- The user can receive permacoins through various activities in the app, like:
- Alternative scenario:
- The user does not gather enough permacoins and has to pay the full price for this years membership.
- Error scenario:
- Postcondition:
- The user has the permission to use the app and to be part of the community.
- Non-functional Constraints:
Use Case: Diff
Summary
- Scope: All Layers, except Base
- Level: User Goal
- Actors: User, App
- Brief: The user can visualize differences between two dates.
Scenarios
- Precondition: The user has opened the app and has selected the desired layer (e.g. plants).
- Main success scenario:
- The user clicks on the first date in the timeline.
- The user double clicks on the second date in the timeline.
- Plants that were added or removed between these dates are marked visually.
- Alternative scenario:
- If no differences are available, a message is displayed.
- Error scenario:
- There is an error in the app's difference calculation. In this case, the app displays an error message and allows the user to try again.
- Postcondition:
- Unless the user clicks on the timeline again, the user cannot add or remove plants.
- Non-functional Constraints:
- None.
Use Case: Dimensioning Layer
Summary
- Scope: Dimensioning Layer
- Level: User Goal
- Actors: App User
- Brief: The user can put dimensioning between elements.
Scenarios
- Precondition: The user has opened the app and has selected any additional layer.
- Main success scenario:
- The user selects elements.
- A line with arrows at the end and the distance in the middle gets added.
- Alternative scenario:
- The user accidentally clicks on the wrong element and can remove the dimensioning.
- The map is in read-only state, then the user cannot add, edit, move or remove anything.
- Error scenario:
- There is an error in the app's distance measurement function and the displayed distance would not be accurate. In this case, the app displays an error message and allows the user to try again.
- Postcondition: Dimensions are added.
- Non-functional Constraints:
- Is an additional layer
- Must be printable.
- New Layers can be created.
- Performance: at least 100 elements per year should be usable without noticeable delays and acceptable memory overhead
Use Case: Diversity Score
Summary
- Scope: Diversity Score
- Level: User Goal
- Actors: App User
- Brief: A users map gets a diversity score depending on his usage of diversity and polyculture.
Scenarios
- Precondition:
- The user has opened the app and is editing a map.
- Main success scenario:
- The user drags and drops various plants onto his map.
- The system calculates a diversity score after each plant operation based on how diverse the map is.
- Plants beneficial to the ecosystem (e.g. they are not problematic or provide food and shelter for wild life) or having many different plants increase the score, while overusing a small set of plants (in relation to size of map) negatively affects the scoring.
- The user will be motivated to increase the diversity score and therefore optimizes the diversity and usage of polycultures on the map.
- Alternative scenario:
- Error scenario:
- The app incorrectly calculates the diversity score. In this case the app will re-calculate the score after the next operation the user makes while the score is visible.
- Postcondition:
- The user finds the diversity score in the map overview and the map planner.
- The diversity score affects the order of the results in the map search.
- Non-functional Constraints:-
- Performance
Use Case: Event Notification
Summary
- Scope: Notifications
- Level: User Goal
- Actors:
- Host: App User that hosts the event
- Nearby user: App User that is nearby the host
- User without location: App User that has no location
Scenarios
- Precondition:
- The host has opened the app and is logged in.
- The host and the nearby user are located nearby (requires location settings of both users, nearby is a defined radius).
- Main success scenario:
- The host announces an event (e.g. a "virtual welcome party" because planning of the map was finished)
- Alternative scenario:
- Error scenario: The host does not have a location set: An error message is displayed, which informs them that the location is required for sending invitations.
- Postcondition:
- Nearby user gets a notification which informs them about the event (e.g. invitation to visit the map virtually).
- The user without location gets a notification which informs them about the event (e.g. invitation to visit the map virtually) with the additional text that they get the invitation because they don't have a location set.
- Non-functional Constraints:
Use Case: Experimental Results
Summary
- Scope: Experimental Results
- Level: User Goal
- Actors: App User
- Brief: The user can give a feedback of the actual results for a map in a measuring cycle.
Scenarios
- Precondition:
- The user has opened the app.
- The user has previously fully designed a map and implemented it in real life.
- Main success scenario:
- The user gets a number of simple recommended methods to measure amount and quality of their harvest, including a step-to-step guide to execute them.
- The user performs one or more of these methods or conducts their own advanced analysis.
- The user can input the results of the analysis in a feedback form of the map.
- The data gets saved and is used to adapt the parameters of the used entities in this map.
- Alternative scenario:
- Error scenario: A technical error occurs, preventing the user from submitting the feedback form. In this case the system should display an error message and allow the user to try again.
- Postcondition: The accumulated data from this and previous measuring cycles can be viewed as a report in a separate details screen of the map.
- Non-functional Constraints:
Use Case: Gain Blossoms
Summary
- Scope: Gain Blossoms
- Level: User Goal
- Actors: App User
- Brief: The user is awarded with Blossoms for achieving certain milestones.
Scenarios
- Precondition:
- The user has opened the app and uses it.
- Main success scenario:
- The user can see a list of incomplete milestones and their respective requirements. An user can reach a certain milestone by e.g.:
- change layers (visibility etc.)
- base layer: set base image
- change the date.
- planting their first plant.
- using an element from a new layer for the first time.
- harvesting a plant for the first time.
- opening their first map for collaboration.
- collaborating on a map from another user for the first time.
- Blossoms are grouped in different tracks by what goal they try to incentivize, e.g.:
- Beginners Track: leading new users through the basic features of PermaplanT.
- Seasonal Track: motivate users to completely plan out their map and keep it updated through the seasons.
- Completionist Track: rewarding users for enriching their own data with the results of their harvest.
- Expert Track: incentivize users to support the platform and its other users to gain a free membership.
- Further ideas:
- planting their first full group of companions.
- planting their first recommended diversity plant.
- submitting updated plant data.
- updating their plant relations with data from the harvest for the first time.
- reaching a specific diversity score goal.
- gathering all ingredients for an ingredient list for the first time.
- buying their first batch of seeds.
- creating their first event.
- honoring a map from another user for the first time.
- posting their first comment on a map from another user.
- writing their first review of a map from another user.
- receiving their first honor from another user.
- receiving their first review from another user.
- having their first conversation with another user through matchmaking.
- adding their first new plant in the apps database.
- adding their first new seed in the apps database.
- Progress of the individual milestones is tracked independently and they can be accomplished in any order.
- The user is being kept updated on their progress when pursuing actions to complete a milestone.
- Upon completing a milestone, the user is informed of their achievement and is awarded the corresponding Blossom.
- Some Blossoms reset after a year to engage the user to continue the work in following seasons.
- The user can see a list of incomplete milestones and their respective requirements. An user can reach a certain milestone by e.g.:
- Alternative scenario:
- Error scenario: The user meets the criteria for a certain Blossom, but it will not be awarded due to an error in the app. The Blossom will be awarded the next time its criteria will be checked.
- Postcondition: The awarded Blossoms will be shown in the users profile with a number indicating the amount of times this blossom was earned in previous seasons.
- Non-functional Constraints:
Development Progress
- Backend API call for adding a Blossom to a user is implemented in backend/src/controller/blossoms.rs.
- Current version does not reference pre-defined Blossom entities as there is currently no way to add them.
- Frontend awards Blossoms currently only for completing the Guided Tour.
Use Case: Habitats Layer
Summary
- Scope: Habitats Layer
- Level: User Goal
- Actors: App User
- Brief: The user can add, edit, move, removed and delete habitats of animals to support their plants and ecosystem in their map in the habitats layer.
Scenarios
- Precondition: The user has opened the app and has selected the habitats layer.
- Main success scenario:
- The user successfully adds, edits, moves, removes and deletes aids in their map in the habitats layer. For example: nesting aids, heaps of stones or leaves, perches etc. This includes positioning the aids in the appropriate location.
- Habitats from deers and domesticated animals (like ducks and chicken) can be added by a big brush to draw on the habitats layer.
- Alternative scenario:
- The user accidentally edits, moves or removes an element and uses undo to correct the mistake.
- The user accidentally adds an element and deletes it with the "delete" or "undo" functionality.
- The map is in read-only state, then the user cannot add, edit, move or remove anything.
- Error scenario: The user attempts to add, move or edit an aid but the app is experiencing technical difficulties and is unable to complete the request, displaying an error message.
- Postcondition: The user's map includes the added, edited, moved, removed or deleted habitats as desired.
- Non-functional Constraints:
- Performance: Map sizes with more than 1ha in 10000 raster elements (m²) and more than 500 elements per year should be usable without noticeable delays and acceptable memory overhead
Use Case: Import and Export Maps
Summary
- Scope: Map View
- Level: User Goal
- Actors: App User
- Brief: Users can import and export maps.
Scenarios
- Precondition:
- The user has opened the app.
- The user is viewing the map interface.
- Main success scenario:
- The user exports the current map data in the app to a GIS map file upon which the app generates a GIS map file containing the map data, which can then be shared or used in other mapping applications. The state of the map before the import is still available as a previous version.
- The user imports a GIS map file by providing the required file. Once imported, the map data is displayed in the app's map view, allowing the user to interact with the imported map elements.
- Alternative scenario:
- The user imports a GIS map file that contains additional information that cannot be mapped to the database. The app provides a warning message because it will discard this information.
- Error scenario:
- In the case of errors, the original map stays unmodified:
- The user attempts to import an unsupported file format or a corrupted GIS map file.
- The user imports a large GIS map file that exceeds the app's size limit or takes too long to process.
- The user exports a GIS map file, but the app detects that the map contains incomplete or inconsistent data.
- Postconition:
- The user has successfully imported or exported a GIS map file, enabling him to work with the map data in the app or share it with others.
- Non-functional Constrains:
- The import and export processes should be efficient and have minimal impact on the app's performance.
- The app should support common GIS map file formats for maximum interoperability with other mapping applications.
- The import and export options should be easily accessible and intuitive for users to understand and use.
Use Case: Ingredient Lists
Summary
- Scope: Ingredient Lists
- Level: User Goal
- Actors: App User
- Brief: The user can create lists to keep track of ingredients needed over the year.
Scenarios
- Precondition:
- The user has opened the app and is editing a map.
- Main success scenario:
- The user has a list of fruits and vegetables that are needed continuously over the course of a timespan, e.g. a daily smoothie or salad.
- The user inputs the items into a form in the map editor and can set a name and picture for the ingredient list.
- The user is able to have multiple of those ingredient lists.
- The lists will display what ingredients are available on the map and which still need to be planted by the user.
- While harvesting or after harvesting (if the user has conserved some of it, e.g., stored fresh fruits, dried herbs), (s)he can mark ingredients as available over a specific timespan and unmark it once the harvest is over or storage is exhausted.
- The user is awarded a Blossom for having all necessary ingredients for any list in any month and additional ones for every subsequent month the list requirements are completely met.
- Alternative scenario:
- Error scenario: The app does not mark a list item as (partially) harvested even though the user marked the relevant plant as harvested. In this case, the user should try again to mark the plant as harvested to re-initialize the ingredient list check.
- Postcondition: The user can keep track of needed ingredients and gets an overview of plants to plant on the map.
- Non-functional Constraints:
Use Case: Landing Page News
Summary
- Scope: Landing Page
- Level: User Goal
- Actors: App User
- Brief: The user can read news written in a Nextcloud chat component
Scenarios
- Precondition:
- The user has navigated to permaplant.net.
- Main success scenario:
The chat should look very similar to Nextcloud chat:
- highlight items when hovering
- group by date, show exact time (not 5 min ago) Logged in users can:
- give reactions to posts Chat features (in order of importance)
- show images
- text should be mark/copyable
- emoji
- reactions
- files
- reply
- directly share photo (take photo with phone)
- remove msg/reaction
- Alternative scenario:
- The user can subscribe the same content (chat) as RSS feed
- Error scenario:
- Postcondition:
- Non-functional Constraints:
- Extends Use Case:
Use Case: Layer Alternatives
Summary
- Scope: All Layers
- Level: User Goal
- Actors: App User
- Brief: User selects and modifies alternatives of a layer
Scenarios
-
Precondition: User has opened the app and a map.
-
Main success scenario:
- User chooses a layer to enable
- User duplicates the layer
- User gives the layer a name
- User modifies the layer
- User may select another alternative of the layer. This change doesn't affect layer selections of other users (that work on the same map).
-
Alternative scenario:
- User accidentally duplicates the layer and deletes the duplicate with "delete layer" functionality
- User accidentally selects a wrong alternative as the current layer and undoes the action by selecting the correct layer
-
Error scenario:
- If the user encounters technical issues or errors while using the layer alternatives, the platform should display an error message and allows the user to try again.
-
Postcondition: The user has successfully modified and selected an alternative of a layer.
-
Non-functional Constraints:
- Performance: up to 10 alternatives should be fast to use
- Offline functionality depending on the layer
-
Note:
- Layers that support alternatives, have this specified as non-functional constraint.
Use Case: Map Honors
Summary
- Scope: Map Honors
- Level: User Goal
- Actors: App User
- Brief: The users can give an honor to the whole map of another user they visit.
Scenarios
- Precondition:
- The user has opened the app.
- The user is currently viewing the map of another user.
- Main success scenario:
- The user wants to show appreciation for the entirety of the currently visited map.
- The user uses the honor button to give an honor directly to the entire map.
- The amount of honors for that specific map increases.
- Alternative scenario:
- The user uses the honor button to withdraw a previously given honor on the currently visited map.
- The amount of honors for that specific map decreases.
- Error scenario: A network error occurs, preventing the app from updating the honor count of the given map. In this case, a warning message stating the error should be displayed and the user is prompted to try again.
- Postcondition: Users can find the honor count next to the map in every instance of map selection as well as in the details screen of the map. The amount of honors affects the order of the results in the map search.
- Non-functional Constraints:
Use Case: Map-Specific Favorite Groups
Summary
- Scope: Plants Layer
- Level: User Goal
- Actors: App User
- Brief: The user changes a set of favorite plant groups per map.
Scenarios
- Precondition:
- The user is logged in to the app.
- The plants layer is selected.
- At least one plant is placed.
- Main success scenario:
- The user adds a plant or a plant group to her list of favorites.
- Alternative scenario:
- The user wants to reorder their list of favorite plant groups.
- The user wants to remove favorite plant groups.
- Error scenario:
- The user attempts to add a plant group that is already in their favorites.
- The user attempts to remove a group that is not in the favorites.
- Postcondition:
- The set of map-specific favorites has changed according to the changes the user made.
The state of these favorites can be seen in the plants layer.
- The set of map-specific favorites has changed according to the changes the user made.
- Non-functional Constraints:
- It must be clear that a favorite was added or removed.
Use Case: Map Statistics
Summary
- Scope: Map Statistics
- Level: User Goal
- Actors: App User
- Brief: The user can view statistics about their garden and plants.
Scenarios
- Precondition: The user has opened the app and has opened their map.
- Main success scenario:
The user views statistics about their garden and plants.
Examples of statistics include:
- Total number of plants in the garden
- Number of elements in each layer
- Total number of visits to the garden
- Alternative scenario:
- Error scenario:
- If the user encounters technical issues or errors while using the statistics, the platform should display an error message and allow the user to try again.
- Postcondition: The user has successfully viewed statistics about their garden and plants.
- Non-functional Constraints:
- Alternatives (statistics depend on which alternative layers are selected)
Use Case: Matchmaking
Summary
- Scope: Matchmaking
- Level: User Goal
- Actors: App User
- Brief: The users can find other gardening enthusiasts to establish a gardening partnership.
Scenarios
- Precondition: The user has opened the app and is on the matchmaking page.
- Main success scenario:
- The user creates a profile that includes their gardening preferences and experience.
- The user searches for other gardening enthusiasts.
- The user sends a request to potential gardening partners to discuss their gardening partnership.
- The user and their potential gardening partner successfully establish a gardening partnership.
- Alternative scenario:
- If the user is not satisfied with the results of their search, they can adjust their search parameters and try again.
- Error scenario:
- If the user encounters technical issues or errors while using the matchmaking, the platform should display an error message and allow the user to try again.
- Postcondition: The user has successfully found gardening partners through the app and has established a successful gardening partnership.
- Non-functional Constraints:
- The matchmaking should also protect user privacy and data, including user profiles and messaging history.
Use Case: Membership Application
Summary
- Scope: Membership
- Level: User Goal
- Actors: User (Membership Applicant)
- Brief: The user can apply for a membership (account)
Scenarios
- Precondition: The user has opened the app and is not logged in.
- Main success scenario:
- The user can click an register button which leads them to Keycloak to fill out:
- username
- first+last name
- email address
- birthday
- biography
- The user can look at public maps (read-only and without seeing addresses!)
- The user apply for membership, with several steps:
- Which kind of membership is selected on landing page and "Apply for membership" clicked. Can also be clicked without being registered before, then Step 1. of Main success scenario needs to be done.
- form page 1
- salutation (Anrede)
- title (Title) (optional)
- billing address (Rechnungsadresse)
- country (Land)
- additional emails (E-Mails) (optional)
- telephone number (optional)
- website (optional)
- organisation (optional)
- permaculture experience (optional)
- user photo (uploaded and also used in Nextcloud)
- form page 2
- if billing address or someone else's address should be used
- one or several photos of the site
- description of the site
- location of map(s) (not shown to default-roles-permaplant users)
- form page 3
- owner (KontoinhaberIn)
- IBAN
- BIC
- how did you get to know about PermaplanT (optional text)
- username for who recruited (angeworben) (optional)
- privacy
- An admin:
- removes the bank account data
- assigns the "member" role in Keycloak
- changes quota in Nextcloud
- The user gets a notification via email
- The user can click an register button which leads them to Keycloak to fill out:
- Alternative scenario:
- Error scenario:
- Postcondition:
- The user can enjoy all of PermaplanT's features.
- Non-functional Constraints:
Use Case: New Plant
Summary
- Scope: New Plants
- Level: User Goal
- Actors: App User
- Brief: User adds a new plant to the app's database.
- Status: Needs Clarification (permapeople.org import/sync)
Scenarios
-
Precondition: User has opened the app and selected the "New Plants" mode.
-
Main success scenario: User successfully adds a new plant to the app's database by providing photos and general information about the plant.
-
Alternative scenario:
-
Error scenario:
- Input is invalid: The user is requested to correct the input.
-
Postcondition: Plant was added to database.
-
Non-functional Constraints:
Use Case: Offline
Summary
- Scope: Notifications
- Level: User Goal
- Actors:
- User: A user who wants to work offline. Must have the permissions to lock.
- Other user: Other users who have write access to the same layers in the map
- Owner of the map.
- Brief: The user has some features offline while being in the garden without Internet access.
Scenarios
- Precondition:
- The user has opened the app and is logged in.
- Main success scenario:
- The user presses an "offline" button. (1)
- Then the browser actually can be taken offline. (2)
- The user goes to the garden.
- The map can be edited on the layers that are marked suitable for offline functionality.
- The user comes back from the garden.
- After the work, the browser gets online. (3)
- The user presses the "offline" button again. (4)
- Alternative scenario:
- After a 8h timeout or if the owner of the map decides, the lock can be removed. In this case, all data from the offline work is lost.
- Error scenario: Could not go offline or online: An error message is displayed.
- Postcondition:
- All changes while being online are transferred.
- Non-functional Constraints:
It is clearly visible in which state the browser is:
- before going offline (browser is online)
- offline
- prepared for going online again (browser is online)
- online
Use Case: Paths Layer
Summary
- Scope: Paths Layer
- Level: User Goal
- Actors: App User
- Brief: The user can add, edit, move, remove and delete a connected network of paths and fences in their map in the paths layer.
Scenarios
- Precondition: The user has opened the app and has selected the paths layer.
- Main success scenario:
The user successfully adds, edits, moves, removes and deletes a connected network of paths and fences in their map in the paths layer with:
- the chosen path thickness (small way, ... large road)
- the chosen type (stepping stones, wood chips, gravel, sealed) This includes positioning the connected network of paths and fences in the appropriate location.
- Alternative scenario:
- The user accidentally edits, moves or removes an element and uses undo to correct the mistake.
- The user accidentally adds an element and deletes it with the "delete" or "undo" functionality.
- Error scenario: The user attempts to add, move or edit a connected network of paths and fences but the app is experiencing technical difficulties and is unable to complete the request, displaying an error message.
- Postcondition: The user's map includes the added, edited, moved, removed or deleted connected network of paths and fences as desired.
- Non-functional Constraints:
- Is an additional layer
- Performance: more than 100 elements per year should be usable without noticeable delays and acceptable memory overhead
Use Case: Persistent Multi Selection
Summary
- Scope: Plants Layer
- Level: User Goal
- Actors: App User
- Brief: A selection of plants can be saved and recalled using a shortcut.
Scenarios
-
Precondition:
- The user is in the plants layer.
-
Main success scenario:
- The user selects plants.
- The user saves the selection to a 'preset' using a keyboard shortcut. (e.g: Ctrl+1)
- The user 'recalls' the saved selection by using a shortcut (e.g: 1) and the same plants get selected again.
-
Alternative scenarios:
- The user tries to save a selection without having any selected plants.
- The application shows a warning that no plants were selected.
- If the preset 'slot' had a selection of plants saved, the saved preset gets cleared and the application shows a warning toast that the preset was deleted.
- There should be a way for the user to undo this action.
- The user saves a plant selection on a preset that already had a different selection saved.
(For example, preset '1' has a selection saved, and the user tries to save a new selection on preset '1'.)
- The saved plants selection will be overridden and the application shows a warning toast to inform the user about this.
- There should be a way for the user to undo this action.
- The user tries to 'recall' a saved selection that is empty.
- The app shows an information toast that the selected preset is empty.
- The user 'recalls' a preset for which some or all plants don't exist on the map anymore (or at the point in the timeline currently selected)
- Only present plants from the preset are selected.
- If there are no preset plants, nothing gets selected and the application shows a warning message.
- The user tries to save a selection without having any selected plants.
-
Error scenario:
- The user uses either the save or the recall functionality but the app is experiencing technical difficulties and is unable to perform the action, displaying an error message.
-
Postcondition:
- When saving a preset, the selected plants are saved in the 'preset'.
- When recalling a preset, The 'recalled' plants are selected on the map.
-
Non-functional Constraints:
- We should provide the user with a way to perform those actions without key combinations.
Use Case: Plant Database Update Notification
Summary
- Scope: Notifications & Plant Management
- Level: User Goal
- Actors: App User
- Brief: Notify users about updates of the plant database.
Scenarios
- Precondition:
- The user has opened the app and has successfully logged in.
- The plant database has been updated since the user's last login.
- Main success scenario:
- The user receives a chat message about the updated plant database if affected plants exist on the map or in the favorites and if:
- light, water or soil requirements changed
- edible status changed
- warning was added (in plant database), e.g. "weed potential"
- dates of sowing or raising changed
- companions changed
- The user adjusts their garden layout accordingly.
- The user confirms that the updates were considered and goes back to normal mode.
- Alternative scenario:
- The user dismisses the notification without reviewing the updated plant positioning recommendations. The notification is accessible later from a designated area in the app.
- The user decides to not receive updates of changed plants in the future.
- Error scenario:
- The app is unable to retrieve the updated plant database information due to connectivity issues or server problems.
- Data synchronization issues: In cases where an application needs to synchronize data across multiple devices or platforms, errors or inconsistencies might arise, leading to data loss or conflicts.
- Postconition:
- The user is aware of the updated plant database and can make informed decisions about their garden layout based on the latest recommendations.
- Non-functional Constrains:
- The app should quickly retrieve and display plant database updates, providing a seamless user experience.
- The notification system and plant management interface should be intuitive and easy to use.
- The app should consistently inform users of plant database updates, ensuring that users are always aware of the latest recommendations.
Use Case: Plant Lore
Summary
- Scope: Plant Lore
- Level: User Goal
- Actors: App User
- Brief: The user gets shown information of plants recommended for diversity.
Scenarios
- Precondition:
- The user has opened the app and is editing a map.
- Main success scenario:
- The user hovers over the for diversity recommended plant.
- The user is shown a little box with additional information and interesting facts about that plant.
- The user is interested in the plant and places it on the map.
- Alternative scenario:
- Error scenario: The app incorrectly displays the info box on the recommended plant. In this case, the user should retry hovering over the plant to display the info box.
- Postcondition:
- Non-functional Constraints:
Use Case: Review Plant
Summary
- Scope: Review Plant
- Level: User Goal
- Actors: App User
- Brief: User reviews a plant information and submits form with corrections of the plant's information.
Scenarios
- Precondition:
- User has opened the app and opened the plant's page.
- Main success scenario:
- User reviews the plant's page and submits a form with corrections of the plant's information.
- Alternative scenario:
- Error scenario:
- If the user encounters technical issues or errors while using the plant review, the platform should display an error message and allow the user to try again.
- Postcondition: The user has successfully reviewed the plant's information and submitted additional information.
- Non-functional Constraints:
Use Case: Review Plant Relationships
Summary
- Scope: Plants Layer
- Level: User Goal
- Actors: Reviewing User, Reviewed User, Administrator
- Brief: The quality of a user-created plant relationship is assessed by others.
Scenarios
- Precondition:
- The reviewing user is logged into the app.
- She is looking at a plant relationship created by another user, the reviewed user.
- Main success scenario:
- The reviewing user comments on the relationship to note something that seems relevant to her.
- The reviewing user approves the relationship because she agrees with it.
- Alternative scenario:
- The reviewing user only comments on the relationship but doesn't approve it and might suggest a different relationship (e.g. neutral).
- No changes are made to the relationships confidence score.
- One administrator decides on the outcome.
- Error scenario:
- Postcondition:
- The number of approvals are counted for the administrator to decide on the confidence score. Relationships with higher confidence score will have a higher weight when suggesting plants or suggesting alternatives.
- On changes of the confidence score, the reviewed user gets notified about the updated score.
- Non-functional Constraints:
Use Case: Reward Preview
Summary
- Scope: Reward Preview
- Level: User Goal
- Actors: App User
- Brief: A user can see a preview of future rewards for his efforts.
Scenarios
- Precondition:
- The user has opened the app and is editing a map.
- The user has planted at least one plant on his map.
- Main success scenario:
- When viewing the map on such a date, the plants with an active blooming or harvesting period at that time will be marked on the map.
- Alternative scenario:
- Optionally, this can be disabled in the users' preferences.
- Error scenario: The app incorrectly displays a plant as having an active blooming or harvesting period or does not display it for a plant that should have one. In this case the user should reload the layer to let the system recalculate the conditions for displaying active blooming or harvesting periods.
- Postcondition: The user always sees what personal benefits he gets from the plants on the map.
- Non-functional Constraints:
Use Case: Select all plants of same type
Summary
- Scope: Plants Layer
- Level: User Goal
- Actors: App User
- Brief: A user can quickly select all plants of the same type.
Scenarios
-
Precondition:
- The user is in the plants layer.
-
Main success scenario:
- The user double clicks on a plant.
- All the plants matching the type of the clicked plant are selected
-
Alternative scenario:
- The user double clicks on a plant and there are no other plants matching its type.
- Only the plant clicked on gets selected
- The user has multiple plants selected and double clicks on one of them.
- All the plants of that type get added to the selection
- The user double clicks on a plant and there are no other plants matching its type.
-
Error scenario:
- The user double clicks on a plant but the app is experiencing technical difficulties and is unable to select all plants of that type, displaying an error message.
-
Postcondition:
- All plants of the same type as the clicked plant are selected
-
Note:
- The 'double click' might not be the best suited keybinding for this action as the first click already might cause an unwanted selection done by Konva. A better one is to be defined later.
- It still needs to be clarified what happens with plants that should be selected, that are out of the lazy-loading window.
Use Case: Terrain Layer
Summary
- Scope: Terrain Layer
- Level: User Goal
- Actors: App User
- Brief: The user can add, edit, move and delete terrain levels in the terrain layer.
Scenarios
-
Precondition: The user has opened the app and has selected the terrain layer.
-
Main success scenario:
- The user successfully sets the base level value for the terrain layer.
- The user successfully adds, edits, moves and deletes terrain elements in the terrain layer.
Terrain elements are, e.g.:
- Hill: A hill is a terrain element that is higher than the base level.
- Valley: A valley is a terrain element that is lower than the base level.
- Terrain elements can be drawn using brushes of different sizes.
- The height of the terrain elements should be represented by a color gradient.
-
Alternative scenario: The user accidentally adds or edits an terrain element in the wrong location and uses the app's undo function to correct the mistake.
-
Error scenario: The user attempts to add, move or edit an terrain element but the app is experiencing technical difficulties and is unable to complete the request, displaying an error message.
-
Postcondition: The user's map includes the added, edited, moved or deleted terrain elements as desired.
-
Non-functional Constraints:
- Performance: Map sizes with more than 1ha in 10000 raster elements (m²) per year should be usable without noticeable delays and acceptable memory overhead
Use Case: Trees Layer
Summary
- Scope: Trees Layer
- Level: User Goal
- Actors: App User
- Brief: The user can add, edit, move, remove and delete forests, trees and, hedge bushes in their map.
- Simplification: For first version it is identical to the plants layer (so any plants can be planted)
Scenarios
- Precondition: The user has opened the app and has selected the trees layer.
- Main success scenario:
The user successfully adds, edits, moves, removes and deletes forests, trees and, hedge bushes in their map in the trees layer.
This includes:
- positioning the stems (visible brown circle),
- sketching the shape (transparent green, also allows other stems and plants shine through),
- adjusting the height, and specifying the type of tree or bush.
- Alternative scenario:
- The user accidentally edits, moves or removes an element and uses undo to correct the mistake.
- The user accidentally adds an element and deletes it with the "delete" or "undo" functionality.
- Error scenario: The user attempts to add or edit forests, trees and, hedge bushes but the app is experiencing technical difficulties and is unable to complete the request, displaying an error message.
- Postcondition: The user's map includes the added, edited, moved, removed or deleted forests, trees and, hedge bushes as desired.
- Non-functional Constraints:
- Supports alternatives
- Performance: more than 500 elements per year and alternative should be usable without noticeable delays and acceptable memory overhead
Use Case: Winds Layer
Summary
- Scope: Wind Layer
- Level: User Goal
- Actors: App User
- Brief: The user can add, edit, move, remove and delete wind orientation and areas in their map using the wind layer.
Scenarios
- Precondition: The user has opened the app and has selected the winds layer.
- Main success scenario:
- The user successfully adds, edits, moves, remove and deletes wind areas in their map using the wind layer.
- This includes positioning the areas in areas of the landscape that are more windy and adjusting the strength of the wind.
- Wind areas can be added by a big brush to draw on the wind layer.
- Main wind orientation can be indicated via an arrow.
- Alternative scenario:
- The user accidentally edits, moves or removes an element and uses undo to correct the mistake.
- The user accidentally adds an element and deletes it with the "delete" or "undo" functionality.
- Error scenario: The user attempts to add or edit a wind area but the app is experiencing technical difficulties and is unable to complete the request, displaying an error message.
- Postcondition: The user's map includes the added, edited, moved, removed or deleted wind areas as desired.
- Non-functional Constraints:
- Performance: Map sizes with more than 1ha in 100 raster elements (in 1a=100m²) per year should be usable without noticeable delays and acceptable memory overhead
Later Use Cases
Use Case: Calendar
Summary
- Scope: Calendar
- Level: User Goal
- Actors: App User
- Brief: The user sees which of the planned plants are to be planted next. ("Saisonübersicht")
- Status: Later
- Assignee: Ben
Scenarios
- Precondition: The user has opened the app and is on the calendar page.
- Main success scenario:
- The users can also precisely edit the raising/planting/harvesting date as wanted by clicking on the bar.
- Alternative scenario:
- The bar was moved too early or too late, the users get a warning which they need to confirm. If not confirmed, the bar stays unmodified.
- Error scenario:
- Postcondition:
- Calendar is synchronized to Nextcloud.
- Non-functional Constraints:
- Alternatives (dates depend on which alternative plants layer is selected)
Out of Scope
- Area, covered crops or glass houses are considered.
- The users move the bar according to their wishes to indicate raising or planting earlier/later.
Use Case: Fertilization Layer
Summary
- Scope: Fertilization Layer
- Level: User Goal
- Actors: App User
- Brief: The user can add, edit, move, remove and delete fertilizers in their map in the layer.
- Status: Later
- Assignee: Ben
Scenarios
- Precondition: The user has opened the app and has selected the fertilization layer.
- Main success scenario:
- The user successfully adds, edits, moves and removes fertilizers in their map in the fertilization layer.
- Fertilizers can be drawn using brushes of different sizes.
- The user can write a note which fertilization was used.
- Alternative scenario:
- The user accidentally edits, moves or removes an element and uses undo to correct the mistake.
- The user accidentally adds an element and deletes it with the "delete" or "undo" functionality.
- The map is in read-only state, then the user cannot add, edit, move or remove anything.
- Error scenario:
- If the user encounters technical issues or errors while using the fertilization layer, the platform should display an error message and allow the user to try again.
- Postcondition: The user has successfully added, edited, moved, removed and deleted fertilizers in the fertilization layer.
- Non-functional Constraints:
- Is a brushing layer
- Offline availability
- Performance: Map sizes with more than 1ha in 10000 raster elements (m²) per year should be usable without noticeable delays and acceptable memory overhead
Use Case: GeoMap
Summary
- Scope: GeoMap
- Level: User Goal
- Actors: App User
- Brief: The user can view sites/maps on a GeoMap
Scenarios
- Precondition:
- The user has navigated to the landing page.
- Main success scenario:
- The user can see public maps of other users indicated by markers
- The user can view a picture of the map by clicking on a marker
- The user can view the link to a map by clicking on the marker
- The user can navigate to the map after clicking the corresponding link (if logged in)
- Alternative scenario:
- Error scenario:
- Postcondition:
- Non-functional Constraints:
- It should be not possible to precisely find out where the garden is for non-members, unless someone wants to
Use Case: Incomplete Groups
Summary
- Scope: Plants Layer
- Level: User Goal
- Actors: App User
- Brief: The user is informed about what plant groups need more planning.
Scenarios
- Precondition:
- The user has opened the app
- The plants layer is visible
- At least one plant is placed
- At least to one of the placed plants a companion plant can be added.
- Main success scenario:
- Groups, where further companions are available, are visually highlighted.
- Alternative scenario:
- No groups have further companions available. This is visually indicated.
- Error scenario:
- Postcondition:
- The user knows which groups need more attention.
- Non-functional Constraints:
Notes
- Needs complicated backend query
Use Case: Infrastructure Layer
Summary
- Scope: Infrastructure Layer
- Level: User Goal
- Actors: App User
- Brief: The user can add, edit, move and delete infrastructure elements in their plan.
Scenarios
- Precondition: The user has opened the app and has selected the infrastructure layer.
- Main success scenario:
The user successfully adds, edits, moves and deletes infrastructure elements in the infrastructure layer.
Infrastructure elements are, e.g.:
- taps
- wifi spots
- water storage tanks
- irrigation systems For placement:
- positioning the elements in the appropriate locations
- adjusting their properties as needed.
- Alternative scenario:
- The user accidentally edits, moves or removes an element and uses undo to correct the mistake.
- The user accidentally adds an element and deletes it with the "delete" or "undo" functionality.
- The map is in read-only state, then the user cannot add, edit, move or remove anything.
- Error scenario: The user attempts to add, move or edit an infrastructure element but the app is experiencing technical difficulties and is unable to complete the request, displaying an error message.
- Postcondition: The user's map includes the added, edited, moved or deleted infrastructure elements as desired.
- Non-functional Constraints:
- Is an additional layer
- Performance: more than 500 elements per year should be usable without noticeable delays and acceptable memory overhead
Note
- This UC is only about drawings
Use Case: Landscape Layer
Summary
- Scope: Landscape Layer
- Level: User Goal
- Actors: App User
- Brief: User adds elements to their map using hand-drawn shapes or common shapes.
Scenarios
- Precondition: User has opened the app and selected the landscape layer.
- Main success scenario:
User successfully adds elements to their map using hand-drawn shapes or common shapes such as circles, ellipses, squares, and rectangles.
Element types include (icons from Nextcloud):
- wall
- plain
- pond
- (glas)houses
- barns
- plant beds
- circles
- doors
- Alternative scenario:
- User accidentally adds a shape in the wrong location and uses the app's undo function to correct the mistake.
- The map is in read-only state, then the user cannot add, edit, move or remove anything.
- Error scenario: User attempts to add a shape but the app is experiencing technical difficulties and is unable to process the request, displaying an error message.
- Postcondition: The user's map includes elements added using hand-drawn or common shapes.
- Non-functional Constraints:
- Is an additional layer
- Performance: more than 200 elements per year should be usable without noticeable delays and acceptable memory overhead
Note
- This UC is only about drawings
Use Case: Map Timeline Range Selection
Summary
- Scope: Map View
- Level: User Goal
- Actors: App User
- Brief: The user can view the map over a range of consecutive points in time by using the timeline feature.
Scenarios
- Precondition: The user has opened the app and selected a map.
- Main success scenario:
- The user selects the timeline view and uses the scroll bar with a day/month/year granularity, or a date input that allows date range selection.
- Using the scroll bar, the user clicks and drags the mouse to span a range of dates.
- The user can only drag the selection up to the furthest event that happened in the past or the future.
- Dragging over the scroll bar hints which day/month/year represents the start and which the end of the selected date range.
- Finalizing the date selection updates the map to show the state of the garden over a range of points in time.
- Elements on the map that do not exist over the whole range of dates, appear grey.
- Elements on the map can be edited/moved/deleted, but not be added or removed.
- Alternative scenario:
- Error scenario:
- There is an error in the timeline display or navigation functionality. In this case, the app displays an error message and allows the user to try again.
- The user tries to add/remove elements while being in the active date range. In this case, the app displays an error message that adding/removing elements is not allowed.
- Postcondition: The user successfully sees the map containing the elements in the desired range of dates.
- Non-functional Constraints:
- Offline availability only within the current year
- Memory usage (other years get unloaded after some time if they are not used)
- Performance
Use Case: Map to PDF
Summary
- Scope: Map View
- Level: User Goal
- Actors: App User
- Brief: Users can generate a PDF file of the map.
Scenarios
- Precondition:
- The user has opened the app and navigated to the desired map view.
- Main success scenario:
- The app captures a screenshot of the current map view and generates a PDF file.
- The app adds a header/footer to the PDF containing the current time, map timestamp, GPS coordinates, and scale.
- The user receives the generated PDF file for printing or saving.
- Alternative scenario:
- Error scenario:
- The app encounters an issue while generating the PDF file, such as insufficient storage space or an unexpected error.
- Postcondition:
- The user has successfully generated a printable PDF file containing the current map view and relevant metadata in the header/footer.
- Non-functional Constrains:
- The generated PDF should be compatible with common PDF readers and printers.
- The option to generate a printable map should be easily accessible and understandable.
Use Case: New Member Notification
Summary
- Scope: Notifications
- Level: User Goal
- Actors:
- App User which is newly registered: "new user"
- App User which existed beforehand: "existing user"
- Brief: The user gets a notification when a new user joined.
Scenarios
- Precondition:
- The new user is registered.
- The new user is located nearby (requires location settings of both users, nearby is a defined radius).
- Main success scenario: The existing user gets a chat message which informs them about the new user.
- Alternative scenario: One or both of the users have no location information: The user doesn't receive a notification.
- Error scenario:
- Postcondition:
- Non-functional Constraints:
Use Case: Plant List
Summary
- Scope: Plant List
- Level: User Goal
- Actors: App User
- Brief: List of plants in range is given
- Status: Later
- Assignee: Ben
Scenarios
- Precondition: The user has opened a map.
- Main success scenario:
- The user selects a range in the timeline
- The user selects the plant list feature
- The user gets an overview when planned plants are to be planted; and later to be harvested.
- It is sorted by date, ordered by next steps to be done first.
- All amounts are given.
- Alternative scenario:
- If no range is selected, plants planted in the current year are used.
- The user doesn't have any planned plants in the range, the page stays empty. The users are informed that they need to plan plants first.
- The list can also printed to pdf.
- Error scenario:
- Postcondition: A list of all these plants are shown.
- Non-functional Constraints:
Use Case: Relation Layer
Summary
- Scope: Relation Layer
- Level: User Goal
- Actors: App User
- Brief: The user can add, edit, move and hide relations.
Scenarios
- Precondition: The user has opened the app and has selected the relations layer.
- Main success scenario:
- Relations are individual elements or connect two elements, that are removed or added when adding, moving, removing, deleting or modifying elements on the map:
- Crop rotation
- another plant is at the same spot in future (+-)
- nearby companion or antagonist (+-)
- temporal beneficial or destructive relation (+-)
- shade mismatch (-)
- hydrology mismatch (-)
- plant is on unsuitable or beneficial zone (+-)
- The user successfully adds, edits, moves and hides relations.
- Relations are individual elements or connect two elements, that are removed or added when adding, moving, removing, deleting or modifying elements on the map:
- Alternative scenario:
- The user accidentally adds, edits, moves or hides the wrong relations and uses the app's undo function to correct the mistake.
- The map is in read-only state, then the user cannot add, edit, move or remove anything.
- Error scenario:
- Postcondition: The user's map shows the relations as desired, or hides all of them if the layer has visibility off.
- Non-functional Constraints:
- Performance: more than 10000 elements per year and per alternative should be usable without noticeable delays and acceptable memory overhead
- Note:
- it gets dynamically generated based on alternatives
- while doing drag and drop of plants, relations are shown anyway.
- Environmental Constraints:
Development
- relations are generated and stored in backend
Use Case: Suggest Plants
Summary
- Scope: Plants Layer
- Level: User Goal
- Actors: App User
- Brief: The user gets plant suggestions that she would not have thought of herself.
Scenarios
-
Precondition:
- The user has opened the app.
- The plants layer is enabled.
- Plant(s) or a position on the map are selected.
-
Main success scenario:
-
A choice of plants that
- work well with already placed plants and
- fit the environmental conditions
- have a high ecological value
are presented to the user. Further more, the plants should be grouped by:
- available inventory with early expiration days first
- favourites of users
- and lastly which were recently planted
-
Within those suggestions the user can see what plants go well with each other.
-
The user can see why these plants have a high ecological value. e.g.:
- Attracts wildlife
- Attracts pollinating insects
- Is a nitrogen fixer
- Is a cover crop
- Are less commonly planted
- etc.
-
-
Alternative scenario:
- No plant(s) or position are selected.
- Polyculture groups that fit the environmental conditions are suggested.
-
Error scenario:
- In case of any technical errors the users is notified about these.
- When there are no matches due to too many constraints the user is informed that she has to remove a plant and try again.
-
Postcondition:
- The user can consider plants she would have never though of herself.
-
Non-functional Constraints:
- Performance
Use Case: Todo Layer
Summary
- Scope: Todo Layer
- Level: User Goal
- Actors: App User
- Brief: The user adds todos to their map to remember what to do at certain locations
Scenarios
- Precondition: The user has opened the app and selected the todo layer.
- Main success scenario:
The users successfully adds a task to their map with following content:
- location on the map
- title of card
- description
- end date
- assigned person The task is displayed on the map and can be moved, edited, archived or removed at any time.
- Alternative scenario:
- The user accidentally adds a task in the wrong location and uses the app's undo function to correct the mistake.
- The user has no Board or List configured where cards should be added.
- Error scenario: The user tries to add a task with a title of than 255 characters and the app prevents it by stopping any further insertions into the task input field.
- Postcondition: The user's map includes tasks as desired. The tasks are synchronized to the Nextcloud Deck named after the PermaplanT map.
- Non-functional Constraints:
- Offline availability
- Performance: more than 1000 elements per year and per layer should be usable without noticeable delays and acceptable memory overhead
Use Case: Watering Layer
Summary
- Scope: Watering Layer
- Level: User Goal
- Actors: App User
- Brief: The user can log watering events for parts of or the entire garden to track watering history and improve plant care.
- Status: Later
- Assignee: Ben
Scenarios
- Precondition:
- The user has opened the app and has selected the watering layer.
- Main success scenario:
- The user brushes permanent infrastructure:
- roofs etc. (watering needed despite of rain)
- automatic irrigation (no watering needed there)
- The user logs a watering event:
- by selecting individual plants
- by brushing over the map
- for all parts of the map which are defined (for e.g. rain, automatic watering, regular watering routine)
- The app saves the watering event with the current date.
- The watering history is visible to the user, providing an overview of past watering events.
- The user brushes permanent infrastructure:
- Alternative scenario:
- The user accidentally adds, edits or moves an element and uses "undo" or "delete" functionality to correct the mistake.
- The map is in read-only state, then the user cannot add, edit, move or remove anything.
- Error scenario:
- The user attempts to log a watering event with invalid data (e.g., negative water amount).
- Postconition:
- The watering history is updated, and the user can review the information to make informed decisions about watering plants in the future.
- Non-functional Constrains:
- is a brushing layer
- The watering management feature should be easy to use and understand.
- The feature should work offline, allowing users to log watering events without an internet connection and synchronize the data when the connection is reestablished.
Use Case: <Title (except of spaces and Title capitalization same as file name)>
<change/remove everything in angle brackets>
Summary
- Scope: <e.g. Authentication>
- Level: <Cloud | Kite | Sea | Underwater | Clam>
- Actors: <e.g. User, Administrator>
- Brief: <Short explanation, e.g. User authenticates>
- Status: <Draft | Later | (Decided) | Assigned | Current | (Implemented) | Done (usually same as folder)>
- Assignee:
- Criticality: <System Critical | Optional>
Scenarios
- Precondition:
- <What has to be satisfied before the use case can work?, e.g. Not authenticated>
- Main success scenario:
- <What is the main scenario, i.e. success scenario?, e.g. Is authenticated>
- Alternative scenario:
- <What is the alternative scenario, i.e. simple error handling?, e.g. Wrong credentials>
- Error scenario:
- <What is the other alternative scenario, i.e. fatal error handling?, e.g. Authentication block because of too many failed attempts>
- Postcondition:
- <What has to be valid after the scenario was run?, e.g. Access to more functions>
- Non-functional Constraints:
- <Some non-functional constraint, e.g. Security mechanism, Encryption, Performance, Privacy>
Development Progress
- <Write here what was done, link to open issues etc.>
Leftovers
- Open Issues:
[#<nr>](https://issues.permaplant.net/<nr>)
Links
- Manual Tests:
doc/tests/manual/<name>.md - E2E Tests:
tools/e2e/<name>.md - Implementation Issues:
[#<nr>](https://issues.permaplant.net/<nr>)
Notes
Workflows
This folder contains all workflows used and needed for this initiative.
- workflows: describes how to create and update workflows
- .gitlab/merge_request_templates/Meeting.md: is the short form of the workflow for meetings.
Available Workflows
Workflows are organized by their current status and should be reviewed every 3 months to ensure they remain relevant and accurate.
Implemented Workflows
These workflows are actively being used and have been validated in practice.
| Workflow | Description | Last Checked | Next Check |
|---|---|---|---|
| meetings.md | Weekly team meeting process from attendance to documentation | 14.11.2025 | 14.02.2026 |
| tools.md | Contributing and documenting project tools and scripts | 14.11.2025 | 14.02.2026 |
Draft Workflows
These workflows are documented but not yet fully implemented or validated in practice.
| Workflow | Description | Last Checked | Next Check |
|---|---|---|---|
| 01issue_creation.md | Guide for creating well-formed issues with proper templates and labels | 14.11.2025 | 14.02.2026 |
| 02issue_triage.md | Evaluate, categorize, and route new issues to backlog or refinement queue | 14.11.2025 | 14.02.2026 |
| 03issue_refinement.md | Transform unclear issues into well-defined, ready-to-work tasks | 14.11.2025 | 14.02.2026 |
| decisions.md | Structured, bias-aware process for architecture decisions | 14.11.2025 | 14.02.2026 |
| iteration.md | Iteration planning workflow for project managers | 14.11.2025 | 14.02.2026 |
| manual_testing.md | Execute and document manual tests for releases to ensure quality | 22.11.2025 | 22.02.2026 |
| release.md | Special cases and procedures for the release workflow | 22.11.2025 | 22.02.2026 |
| review.md | Creating and reviewing merge requests to maintain code quality | 14.11.2025 | 14.02.2026 |
| workflows.md | How to create and update workflows (meta-workflow) | 14.11.2025 | 14.02.2026 |
Reference Documents
- roles.md - Team role definitions and current assignments
Creating New Workflows
Use TEMPLATE.md as the standard template for all new workflow documents. The template ensures consistent structure, formatting, and completeness across all workflows.
Related Resources
- GitLab MR Templates (
.gitlab/merge_request_templates/) - Quick templates for common workflows - GitLab Issue Templates (
.gitlab/issue_templates/) - Structured issue creation forms - Documentation Guidelines - General documentation standards
Issue Creation Workflow
Purpose: Guide anyone to create well-formed issues with proper templates and initial labels for efficient triage.
Audience: All team members, contributors, and users who report issues or request features.
Status: Implemented
Rationale
For properly created issues we need to ensure that:
- Triage tooling can process issues correctly (requires templates)
- Essential information is captured upfront
- Triagers can quickly evaluate and categorize issues
- No premature labeling decisions are made (scope, priority, status are added later)
Well-formed issues reduce back-and-forth communication and speed up the path from report to resolution.
Quick Reference
Required for Every New Issue:
- ✅ Use a GitLab issue template
- ✅ Add
triage-neededlabel - ✅ Add
type::label (bug/enhancement/refactor/question)- Not sure which template? Use
question
- Not sure which template? Use
Do NOT Add:
- ❌ Scope labels (added during triage)
- ❌ Priority labels (added by PM during sprint planning)
- ❌ Status labels (added during triage/refinement)
- ❌ Time estimation (added during triage or refinement)
- ❌ Assignees (set during sprint planning)
Workflow Steps
1. Determine When to Create an Issue
Who: Contributor
When: Before creating the issue
Actions:
- Bug discovered: When you encounter unexpected behavior or defects
- Feature/enhancement idea: When you want to specify a new feature or enhancement that was previously agreed upon
- Meeting discussion: When a new issue is mentioned in a meeting
- The person who raised the issue during the meeting should create it
- See Meeting Workflow for more details
- Refactoring needed: When code restructuring is required
- Question/clarification: When discussion is needed, or when unsure if observed behavior is a bug or feature
Result: Understand when and why to create an issue
2. Determine Issue Type
Who: Issue creator (team member, contributor, user)
When: Before creating the issue
Actions:
- Bug: Something broken or not working as expected
- Enhancement: New feature or improvement to existing functionality
- Refactor: Code restructuring without changing functionality
- Question:
- Decisions, workflow, or documentation clarifications needed
- Unsure if observed behavior is a bug or feature (triage will determine)
- General uncertainty about which template to use
Result: Know which template to use
2. Create Issue with Template
Who: Issue creator
When: When reporting a bug, requesting a feature, or asking a question
Actions:
- Go to GitLab Issues
- Search issues first, if an issue already exists
- Click "New issue"
- Select appropriate template (located in
.gitlab/issue_templates/): - Important: Do NOT skip template - triage tooling requires it
- Fill out all template sections completely
Result: Issue created with proper template structure
3. Add Required Labels
Who: Issue creator
When: During issue creation
Actions:
- Always add:
triage-neededlabel (required) - Add type label: Add the appropriate
type::label (bug/enhancement/refactor/question) - Do NOT add:
- Any
scope::labels (backend, frontend, etc.) - triager will add these - Any
priority::labels - PM adds during sprint planning - Any
status::labels - added during triage or refinement
- Any
Result: Issue has minimal required labels for triage
4. Provide Complete Information
Who: Issue creator
When: While filling out the template
Actions:
Follow Issue Reporting Guidelines for complete standards on bug reports and feature requests.
Result: Issue contains all information needed for triage
5. Submit Issue
Who: Issue creator
When: After completing template and adding labels
Actions:
- Review issue for completeness
- Verify
triage-neededlabel is set - Click "Create issue"
- Issue automatically enters triage queue
Result: Issue is ready for triage process
Special Cases
Urgent/Critical Issues
If you discover a critical bug affecting production or blocking work:
- Still create the issue with template and
triage-neededlabel - Add
type::buglabel - Mention urgency in the issue description
- Notify PM team or triager directly (via GitLab/Nextcloud)
- Do NOT add priority labels yourself - PM will handle this
Duplicate Issues
If you discover your issue already exists:
- Add a comment on the existing issue with any new information
- Close your new issue
- Reference the original issue number when closing
Issues Spanning Multiple Components
If unsure which component (backend/frontend/etc.) is affected:
- Create the issue anyway with
triage-needed - Describe what you observe
- Let the triager determine the affected components
Examples
Example 1: Bug Report
Step 1: User discovers map editor crashes when adding certain plants
Step 2: User selects bug template, fills out:
- Title: "Map editor crashes when adding Tomato plant"
- Expected: Plant should be added to map
- Actual: Browser tab crashes
- Steps to reproduce: 1) Open map, 2) Click "Add plant", 3) Select "Tomato", 4) Click on map
- Environment: Chrome 120, macOS 14, main branch SHA abc123
Step 3: User adds labels: triage-needed, type::bug
Step 4: User submits issue
Result: Issue #1234 created and enters triage queue
Example 2: Feature Request
Step 1: Product manager wants dark mode for the application
Step 2: Team member selects enhancement template, fills out:
- Title: "Add dark mode toggle to application settings"
- Use case: Reduce eye strain for users working at night
- Audience: All users
- Description: Toggle switch in settings to enable dark theme
- Acceptance criteria: Dark theme applied to all pages when enabled
Step 3: Team member adds labels: triage-needed, type::enhancement
Step 4: Team member submits issue
Result: Issue #1235 created and enters triage queue
Example 3: Unclear Scope
Step 1: User notices slow performance when loading large maps
Step 2: User selects bug template (performance issue), fills out:
- Title: "Map loading takes 30+ seconds for large gardens"
- Expected: Map loads within 5 seconds
- Actual: Takes 30-45 seconds
- Steps: Open any map with 500+ plants
- Note: "Not sure if this is frontend rendering or backend query issue"
Step 3: User adds labels: triage-needed, type::bug
Step 4: User submits issue
Result: Issue created, triager will investigate and add appropriate scope labels
Related Resources
- Creating an Issue - Additional guidelines
- Reporting a Bug - Bug-specific requirements
- GitLab Issue Templates:
.gitlab/issue_templates/ - Triage Workflow - What happens after issue creation
- Issue Refinement Workflow - What happens if issue needs more detail
Troubleshooting
Common Issues
Problem: Not sure which template to use
Solution: When in doubt, use question.md template, add triage-needed label and comment on created issue that you were not sure which template to use - triager will correct the type
Problem: Don't know what labels to add
Solution: At minimum, just add triage-needed - triager will add all other necessary labels
Problem: Issue is complex and affects multiple areas
Solution: Create the issue anyway with triage-needed and describe what you observe - triager will determine appropriate labels and may split into multiple issues if needed
Problem: Not sure if this is a bug or expected behavior
Solution: Use the question template with triage-needed label and describe the behavior - triager or PM will determine if it's a bug or feature during triage
Open Points
None - workflow is fully implemented.
Notes
Issue Triage Workflow
Purpose: Evaluate, categorize, and route new issues to either the backlog or refinement queue.
Audience: Triagers, Project Management team, and contributors.
Status: Implemented
Rationale
Triage is the critical decision point that determines whether an issue is ready for development or needs additional refinement. The triage process ensures that:
- All issues have proper type and scope labels
- Issues with sufficient detail go directly to the backlog with
status::backlog - Issues needing more information are routed to refinement with
status::refine - Special labels (help-wanted, estimation-needed) are applied appropriately
- Priority labels are not prematurely assigned (project manager handles them during sprint planning)
Effective triage keeps the backlog clean and ensures developers can pick up issues without confusion.
Quick Reference
Triage Decision: Is this issue clear enough to implement?
YES - Clear:
- Has enough detail for a developer to start work
- Technical requirements are understood
- No additional investigation needed
- Action: Add type/scope labels +
status::backlog, send to backlog
NO - Unclear:
- Missing critical details
- Requirements are vague or ambiguous
- Needs investigation or research
- Action: Add type/scope labels +
status::refine, tag author and Product Manager
Labels Triagers Add:
- ✅
type::(if missing) - ✅
scope::(all applicable scopes) - ✅
status::backlog(if clear) ORstatus::refine(if unclear) - ✅
estimation-needed(optional) - ✅
help-wanted(optional) - ✅
affects_guided-tour(optional)
Labels Triagers Do NOT Add:
- ❌
priority::labels (PM adds during sprint planning)
Triage Philosophy:
Follow Issue Triage Guidelines for the medical triage analogy and clarity assessment principles.
Workflow Steps
1. Identify Issues Needing Triage
Who: Triager, PM team, maintainers When: Regularly, multiple times per week Actions:
- Check for issues with
triage-neededlabel - Filter by: triage-needed label
- Select oldest issues first (FIFO)
Result: List of issues ready for triage
2. Review Issue Content and Check for Duplicates
Who: Triager When: For each issue in triage queue Actions:
- Verify template was used
- Read the entire issue description
- Check if all template sections are filled out
- Understand what is being reported/requested
- Search for potential duplicates:
- Use key terms from the issue to search existing issues
- Check both open and recently closed issues
- Look for similar symptoms (for bugs) or requirements (for features)
- If duplicate found, follow "Duplicate Issues" special case process and STOP triage
Result: Understanding of the issue's intent and completeness, confirmed not a duplicate
3. Add/Verify Type Label
Who: Triager When: During triage evaluation Actions:
- If
type::label missing, add the appropriate one (see Type Labels for definitions) - If
type::label present, verify it's correct - Change if creator selected wrong type
Result: Issue has correct type label
4. Add Scope Labels
Who: Triager When: After confirming type Actions:
- Add one applicable
scope::label based on what parts of the system are affected (see Scope Labels for definitions) - Prefer single scopes: Issues should ideally focus on one area
- If issue is too broad and affects multiple scopes: Consider splitting it into separate issues, each with a single scope. Add a comment explaining the split and link the related issues together.
- If scope is completely unclear: Do not add a scope label. Follow the "Cannot Determine Scope" special case process
Result: Issue has all relevant scope labels
5. Evaluate Issue Clarity
Who: Triager When: After adding type and scope Actions:
Follow Issue Triage Guidelines for clarity assessment criteria.
Ask: "Can a developer implement this without asking questions?"
Result: Decision made on clarity
6. Route Issue
Who: Triager When: After clarity evaluation Actions:
If CLEAR:
- Remove
triage-neededlabel - Add
status::backloglabel - Issue goes to backlog (ready for sprint planning)
If UNCLEAR:
- Remove
triage-neededlabel - Add
status::refinelabel - Issue goes to refinement queue
- Add comment explaining what needs clarification
- Start comment with "⚠️ Triage in Progress - Clarification Needed"
- Tag the issue author and Product Manager at the end of the comment (e.g.,
@author @product_manager)
Result: Issue routed to backlog OR refinement queue
7. Add Optional Process Labels
Who: Triager When: During triage, as applicable Actions:
-
Add
estimation-neededif:- Issue is clear but needs time estimation
- Work sizing is required before sprint planning
-
Add
help-wantedif:- Issue is suitable for community contributions
- Good first issue for new contributors
- Team needs assistance with this work
-
Add
1.0::must_haveor1.0::should_haveif:- ONLY if you are Markus Raab
- Never add these yourself without asking Markus first
-
Add
affects_guided-tourif:- The issue affects the guided tour
-
Add other labels like:
documentationif it affects docsusabilityif it's a UX concern
Result: Issue has all appropriate labels for its lifecycle
8. Remove Triage Label
Who: Triager When: After all triage steps complete Actions:
- Verify all necessary labels are applied
- Add comment if clarification or context would help
Result: Issue fully triaged and no longer in triage queue
Special Cases
Bug with Missing Reproduction Steps
If a bug report lacks clear reproduction steps:
- Add
type::bugand appropriatescope::labels - Add
status::refinelabel - Add comment requesting specific reproduction steps and tag author and Product Manager
- Route to refinement queue
Feature Request with Vague Requirements
If a feature request is too broad or unclear:
- Add
type::enhancementand appropriatescope::labels - Add
status::refinelabel - Add comment asking for specific use case and acceptance criteria, tag author and Product Manager
- Route to refinement queue
Cannot Determine Scope
If you truly cannot determine which part of the system is affected:
- Do NOT add a scope label
- Add
status::refinelabel - Add comment explaining why scope is unclear and what information is needed
- Tag the Product Manager
Duplicate Issues
If issue duplicates an existing issue:
- Add comment: "Duplicate of #XXXX" and tag the Product Manager
- Add
duplicatelabel - Notify Product Manager to close the issue
- Do NOT close the issue yourself (Product Manager handles closing)
- Do NOT complete rest of triage
Won't Fix / Invalid Issues
If issue is invalid, out of scope, or won't be fixed:
- Add comment explaining why and tag the Product Manager
- Add
wontfixlabel - Notify Product Manager to close the issue
- Do NOT close the issue yourself (Product Manager handles closing)
- Do NOT complete rest of triage
Examples
Example 1: Clear Bug - Goes to Backlog
Issue #1234: "Map editor crashes when adding Tomato plant"
- Complete reproduction steps provided
- Environment details included
- Expected vs actual behavior clear
Triage Actions:
1. Verify type::bug is set ✓
2. Add scope::frontend (crash in browser)
3. Evaluate: Can developer fix this? YES - steps are clear
4. Remove triage-needed and add status::backlog
5. Do NOT add status::refine
6. Issue → Backlog
Result: Ready for sprint planning
Example 2: Unclear Feature - Goes to Refinement
Issue #1235: "Add better plant recommendations"
- Vague: what makes recommendations "better"?
- No acceptance criteria
- Multiple possible interpretations
Triage Actions:
1. Verify type::enhancement is set ✓
2. Add scope::backend
3. Evaluate: Can developer implement? NO - requirements unclear
4. Add status::refine
5. Remove triage-needed
6. Add comment: "@creator @product_manager Please clarify: What criteria should recommendations be based on? What defines a 'better' recommendation?"
7. Issue → Refinement queue
Result: Routed to refinement workflow
Example 3: Good First Issue
Issue #1237: "Add tooltip to explain map zoom controls"
- Clear requirements
- Small, focused change
- Good for new contributors
Triage Actions:
1. Verify type::enhancement ✓
2. Add scope::frontend
3. Evaluate: Clear? YES
4. Add help-wanted (good for community)
5. Remove triage-needed and add status::backlog
6. Issue → Backlog
Result: Ready for sprint planning, flagged for new contributors
Example 4: Triager Identifies Guided Tour Impact
Issue #1284: "Rename 'Create Garden' button to 'Start Garden'"
- Small UI text change
- User-facing change
- Affects wording referenced in the guided tour
Triage Actions:
1. Verify type::enhancement ✓
2. Add scope::frontend
3. Evaluate user impact: UI text referenced in onboarding → YES
4. Add affects_guided-tour
5. Add short note explaining guided tour impact
6. Remove triage-needed and add status::ready
7. Issue → Backlog
Result: Issue is ready for planning and flagged as affecting the guided tour
Related Resources
- Issue Creation Workflow issue_creation.md - How issues are created before triage
- Issue Refinement Workflow issue_refinement.md - What happens to issues with
status::refine - Labels Documentation - Comprehensive label reference
- GitLab Triage Board: Filter by
triage-neededlabel
Troubleshooting
Common Issues
Problem: Unsure if issue is clear enough for backlog with status::backlog
Solution: When in doubt, add status::refine — better to over-refine than to send unclear issues to developers
Problem: Can't determine which scope labels to apply
Solution: Route to refinement with status::refine without adding a scope label.
Add a comment explaining what information is needed to determine the scope and tag the Product Manager
Problem: Issue is both a bug and feature request
Solution: Split into two separate issues: one for the bug (type::bug) and one for the feature (type::enhancement).
Link the issues together in the comments.
People can still solve both in one MR if they choose, but having clear and minimal issues is preferred.
Problem: Issue needs immediate attention but no priority labels Solution: Do NOT add priority labels yourself. Notify PM team directly (GitLab/Nextcloud/Discord) and they will handle priority assignment during sprint planning
Problem: Template was not used Solution: Add comment requesting creator to use template. Explain triage tooling requires it
Open Points
- Need to clarify how to handle performance issues that need investigation (e.g., issues lacking profiling data where it's unclear if the problem is backend or frontend).
Notes
- Do NOT add priority labels during triage — PM team adds these during sprint planning
- Always tag author and Product Manager when adding
status::refineto ensure they're notified and can provide clarification - Clear issues get
status::readyand go to backlog; unclear issues getstatus::refineand go to refinement - For detailed triage principles and labeling best practices, see Issue Triage Guidelines
Issue Refinement Workflow
Purpose: Transform unclear or incomplete issues into well-defined, ready-to-work tasks with proper scope, labels, and estimates.
Audience: Refiners responsible for refining issues before implementation.
Status: Draft
Rationale
Issues go through triage first (see Triage workflow).
Some issues are clear enough after triage to go directly to the backlog as status::backlog.
Others need refinement when they have incomplete information or unclear requirements.
The refinement process ensures that:
- All necessary context and technical details are present
- Time estimates are plausible
- Labels and metadata are correctly assigned
- Issues are actionable and ready for development
- Issues are self-contained and solvable from the issue description alone
For detailed refinement best practices, see Issue Refinement Guidelines.
Quick Reference
Issue Selection Priority:
- Issues tagged during triage or by Project Manager (status::refine)
- Issues in current iteration that lack clarity
- Version upgrade issues
- Cleanup tasks
- Very old issues
Refinement Checklist:
- ✅ Issue description is complete and clear
- ✅ Labels include
status::backlog - ✅ Time estimation is set
- ✅ Blocking issues are linked (if any)
- ✅ Acceptance criteria are defined
Workflow Steps
1. Tag Issues for Refinement
Who: Triager, Project Manager, or Product Manager
When: During triage OR during iteration planning when issues need more detail/clarity
Actions:
- During triage: If issue has incomplete information or unclear requirements, add
status::refinelabel - During iteration planning: If issue review reveals missing details or lack of clarity, add
status::refinelabel - Issues that are clear enough after triage can go directly to backlog without refinement
Result: Issues tagged with status::refine are ready for refiners to pick up
2. Assign Refinement Work
Who: Refiner
When: At the beginning of each iteration (Friday)
Actions:
- Go to the refinement boards (PermaplanT and infrastructure repository)
- Review all issues with
status::refinelabel - Assign issues individually to Refiner Helpers and Refiner
- Distribute workload evenly across the team
Result: Each issue with status::refine has an assignee responsible for refining it
3. Select Issue to Refine
Who: Refiner or Refiner Helper
When: During designated refinement time
Actions:
- Check refinement board (PermaplanT and infrastructure repository) for issues assigned to you with
status::refinelabel - Prioritize issues with
1.0::must_havelabel - Select issues based on priority order (see Quick Reference)
- If unclear issues are in current iteration and cannot be refined in time, inform Project Manager in the issue
Result: Issue selected for refinement
4. Prepare for AI-Assisted Refinement
Who: Refiner or Refiner Helper
When: After selecting issue
Actions:
- Open new browser window to access issue templates
- Copy the existing issue description
- Open the Issue Creation Assistant tool (./tools/pm/issue_creation_assistant.md)
- Copy the appropriate GitLab issue template
Result: Ready to use AI assistant for refinement
5. Refine Issue with AI Assistant
Who: Refiner or Refiner Helper with AI Assistant
When: During refinement process
Actions:
- Provide issue description and template to AI assistant (Claude works well)
- Answer clarifying questions asked by the assistant
- Review generated issue description
- Verify technical accuracy and completeness
Result: AI-generated refined issue description ready for review
6. Update Issue in GitLab
Who: Refiner or Refiner Helper
When: After AI refinement complete
Actions:
- Copy refined issue description to GitLab issue
- Proofread and correct any mistakes
- Check if correct scope is set
- Verify labels are correct
- Add
status::backlogONLY if refinement is complete without critical uncertainties- If uncertainties exist that need PM review: do NOT add
status::backlog, wait for PM confirmation
- If uncertainties exist that need PM review: do NOT add
- Confirm time estimation is set
- Link any blocking issues if applicable
Result: Issue updated with refined description (old version visible via "Compare with previous version")
7. Notify Product Manager
Who: Refiner or Refiner Helper
When: After updating issue
Actions:
- Write a comment in the refined issue
- Use one of these headers to indicate the refinement status (comment should start with this text):
- "✅ Refinement Complete - No Action Needed": Everything was clear, refinement went smoothly
- "⚠️ Refinement Complete - Review Required": Uncertainties exist, PM review needed
- Provide a short summary including:
- What was changed during refinement
- What was added (details, acceptance criteria, etc.)
- Any assumptions or interpretations made
- Especially: Ask questions or highlight any areas where you were not 100% sure of the correct interpretation
- Tag the issue author and Product Manager at the end of the comment (e.g.,
@author @product_manager)
- Use one of these headers to indicate the refinement status (comment should start with this text):
Result: Product Manager is notified about the refinement with clear summary of changes and any uncertainties
Special Cases
Unclear Issues in Current Iteration
If an issue in the current iteration creates any questions for refining:
- Inform Project Manager in the issue, providing:
- what information is missing in an issue comment
- what is unclear
- options how it could be solved
- if there are any issues with (partly) overlap
- if existing documentation (use cases etc.) say something about it
- don't set status::current-sprint but wait for reply
- When enough information is collected continue with refinement.
Examples
Example 1: Standard Issue Refinement
Step 1: Project Manager tags issue #123 with status::refine during iteration planning
Step 2: Refiner assigns issue #123 to Refiner Helper at beginning of iteration (Friday)
Step 3: Refiner Helper selects issue #123 from their assigned issues on refinement board
Step 4: Refiner Helper opens Issue Creation Assistant and gathers issue template
Step 5: AI assistant asks clarifying questions about scope and environment
Step 6: Refiner Helper reviews and copies refined description to GitLab
Step 7: Refiner Helper adds status::backlog and scope::backend label, sets 8h estimate, notifies Product Manager with "✅ Refinement Complete - No Action Needed" comment
Result: Issue #123 is ready for development with clear requirements
Example 2: Current Iteration Issue Needs Clarification
Step 1: Triager tags issue #456 with status::refine during triage
Step 2: Refiner assigns issue #456 to Refiner Helper at beginning of iteration (Friday)
Step 3: Refiner Helper reviews issue #456 but lacks critical information about database schema changes
Step 4: Refiner Helper informs Product Manager in issue comment:
- Missing: which tables are affected
- Options: modify existing schema OR create new tables
- Existing use cases mention table "plants" but unclear if other tables needed
Step 5: Product Manager provides schema details in comment
Step 6: Refiner Helper continues with refinement using new information and marks ready
Step 7: Refiner Helper notifies Product Manager with "✅ Refinement Complete - No Action Needed" comment
Result: Issue clarified and refined for immediate work
Example 3: Refinement with Uncertainties
Step 1: Triager tags issue #789 with status::refine during triage
Step 2: Refiner assigns issue #789 to Refiner at beginning of iteration (Friday)
Step 3: Refiner selects issue #789 from their assigned issues on refinement board
Step 4: Refiner uses Issue Creation Assistant to refine the issue
Step 5: AI assistant helps structure the issue, but Refiner identifies ambiguity in user interaction flow
Step 6: Refiner completes refinement with two possible interpretation options documented
Step 7: Refiner sets 12h estimate, does NOT add status::backlog, notifies Product Manager with "⚠️ Refinement Complete - Review Required" comment highlighting:
- Assumption: User can edit settings from both profile page AND settings menu
- Uncertainty: Whether these should be kept in sync or independent
- Needs PM decision before implementation starts
Step 8: Product Manager reviews and confirms interpretation, adds status::backlog
Result: Issue refined and verified, ready for implementation after PM clarification
Related Resources
- Issue Creation Assistant Tool (./tools/pm/issue_creation_assistant.md)
- GitLab Issue Templates (
.gitlab/issue_templates/) - Labels documentation
Troubleshooting
Common Issues
Problem: Issue template doesn't match the issue type Solution: Select the correct template from GitLab's issue templates directory before using AI assistant
Problem: AI assistant generates technically incorrect information Solution: Thoroughly proofread and correct the generated description - you are the pilot, AI is the co-pilot
Problem: Unable to determine appropriate time estimate Solution: Consult with more experienced team members or break issue into smaller, estimable subtasks
Open Points
Notes
Workflow Name
Purpose: One-sentence description of what this workflow achieves for the team/project
Audience: Specific target group - developers, maintainers, contributors, etc.
Status: Draft
Rationale
Explain why this workflow exists and what problems it solves.
Quick Reference
Optional section for frequently-needed information, checklists, or shortcuts
Workflow Steps
1. Step Name
Who: Role responsible for this step
When: Timing or trigger for this step
Actions:
- Specific action item
- Another action item
Result: Expected outcome of this step
2. Next Step Name
Who: Role responsible
Actions:
- Action items following the same pattern
Special Cases
Exception Case 1
Description of special workflow or edge case handling
Exception Case 2
Another special case if needed
Examples
Example 1: Scenario Name
Step 1: What happens
Step 2: Next action
Result: Final outcome
Example 2: Different Scenario
Another concrete example showing the workflow in action
Related Resources
- Related GitLab templates in
.gitlab/issue_templates/or.gitlab/merge_request_templates/ - Link to related documentation
- Link to tools or external resources
Troubleshooting
Common Issues
Problem: Common issue description Solution: How to resolve it
Problem: Another issue Solution: Resolution steps
Open Points
Notes
Decisions
Purpose: How to decide on architecture decisions with a structured, bias-aware process.
Audience: Developers and Architects
Status: Draft
Rationale
Decisions are easily influenced by group thinking, confirmation bias, and premature convergence on solutions. This workflow helps to avoid common pitfalls and to get technically sound decisions by:
- Separating problem definition from solution exploration
- Ensuring all stakeholders understand the problem before proposing solutions
- Exploring multiple alternatives before committing to one
- Making the decision-making process transparent and reviewable
Quick Reference
Decision Lifecycle Overview
This document describes all steps a decision can run through:
flowchart LR
s((Start)) --> Drafts --> prob(Problem Clear) --> alt(Solutions Clear) --> review(In Review) -- merge --> Decided
-- merge --> part(Partially Implemented) --> Implemented
%% Shortcuts:
s --> Decided
Drafts -- merge --> Decided
prob -- merge --> Decided
alt -- merge --> Decided
Decided -- merge --> Implemented
Key Points:
- The label
mergeon edges means a decision MR must be merged before targeting the next step - Decisions not yet "Decided" may become "Drafts", "Rejected" or "Postponed" at any point
- The first MR for a decision usually creates it in "Drafts" state, but can advance further during review
Quick Rules
- First MR: Create decision as "Drafts" (recommended), "Problem Clear", "Solutions Clear" or "Decided"
- To merge as "Decided", the MR must:
- Only contain changes to one decision
- Already start with the decision as "Decided"
- Have clearly stated problem and all solutions fully explored
- Only contain discussions about choosing between solutions or details
- If direction changes, move back to at least "In Review"
- After "Decided": Can be moved to "Partially Implemented" or "Implemented" by any MR
Workflow Steps
1. Drafts
This step is highly recommended and required if the problem is not yet clear to all core developers.
Who: Decider (person proposing the decision)
When: When there is a problem that needs a decision and the solution cannot easily be changed afterwards, such as:
- Which library to use
- Which architectural patterns to use
- Whether frontend or backend is responsible for a feature
- Which programming language to use
Actions:
- Create a new MR which copies the decision template
doc/decisions/TEMPLATE.md - Use the MR template for decisions
- Fill out at least the "Problem" section
- Add optional backlinks from related decisions
Result: A merged MR where the problem is documented and solutions are explored, but no decision is made yet.
Details:
This step is brainstorming for completely new ideas. The MR should contain:
- One decision with at least "Problem" filled out
- "Decision", "Rationale" and "Implications" are not yet filled out
- Optional backlinks from related decisions
No agreement about anything is needed to merge decisions in this stage.
2. Problem Clear
Who: Decider and core developers
When: After the problem has been documented in Drafts
Actions:
- Clarify the importance of the problem: Why should we spend time and energy on this instead of another problem?
- Clarify the scope of the decision
- Clarify relation to other problems
- Ensure everyone can describe an experiment or test case that shows if a solution fixes the problem
Result: Everyone agrees that the problem exists and is worth solving.
Details:
This step is very important for smooth progress in later stages. Key points:
- Don't have a fixed mindset about a preferred solution from the beginning
- Focus on understanding the problem deeply without prejudice
- Establish clear criteria for what would constitute a solution
Everyone must agree that the problem exists and is worth solving before a "Problem Clear" MR can be merged. A problem is clear if everyone can describe an experiment or test case that shows if a solution fixes the problem.
3. Solutions Clear
This step is recommended if it is not yet clear to core developers which solution is the best.
Who: Decider with input from core developers and reviewers
When: After the problem is clear
Actions:
- Ensure problem, constraints and assumptions are well-explained and sound
- Create links from/to related decisions
- Describe several alternative solutions, each with:
- Proposal
- Rationale
- Implications (optional at this stage)
- Explore trade-offs, combinations and pros/cons of solutions
- Keep "Decision", "Rationale" and "Implications" sections not filled out
Result: All reviewers understand the given solutions and cannot come up with better alternatives. The solution space is clear.
Details:
The decision should describe multiple solutions, not just one. For each solution provide:
- A proposal for the solution
- Rationale for why it could work
- Optionally, implications of choosing it
The solutions are clear if all reviewers understand them and no reviewer can come up with better solutions. The solution space is clear when trade-offs, combinations and pros/cons are explored. Decision author and reviewers are satisfied that every useful solution is present.
4. In Review
Who: Decider and reviewers
When: After solutions are clear and one has been chosen
Actions:
- Add the chosen decision to the "Decision" section
- Polish the last details of the chosen decision
- Verify consistency with other decisions
- Check links from/to related decisions
- Fully fill out "Decision", "Rationale" and "Implications" sections
Result: A decision ready to be marked as "Decided" after one more review cycle.
Details:
Without merges in between, this is the last step reachable for a decision MR that started in "Drafts".
5. Decided
This step is mandatory. There must be a dedicated decision MR that puts the decision into "Decided".
Who: Decider and reviewers
When: After "In Review" and all concerns are addressed
Actions:
- Finalize "Decision", "Rationale" and "Implications" according to reviews
- Ensure only a single decision is modified in the MR (except backlinks)
- Create or reference implementation MR(s)
Result: An approved architectural decision that is ready to implement.
Details:
- Decisions that need an update (e.g., because assumptions changed) sometimes directly start with "Decided"
- Usually, decisions at this step already have an implementation MR
In this step, decision MRs only modify a single decision. Only exceptions like backlinks from other decisions are allowed.
6. Partially Implemented
Who: Implementer
When: During incremental implementation
Actions:
- Implement part of the decision
- Update the "Implications" section to clearly state how much is implemented
- Create issues for remaining pieces
Result: Partial implementation with clear tracking of what remains.
Details:
We want to avoid this step; ideally MRs fully implement decisions. Nevertheless, this can be useful for decisions that need to be done for every module, plugin, or library where only a few not-so-important modules are missing.
7. Implemented
This step is mandatory. There must be a decision MR that puts the decision into "Implemented".
Who: Implementer and documenter
When: After the decision is fully implemented
Actions:
- Strip details from the decision and move them to the documentation
- Add link from documentation to the decision
- Add link from decision to the new documentation
- Update decision status to "Implemented"
Result: Decision is fully implemented and documented.
Details:
In this step, decision MRs only modify a single decision. More exceptions are allowed here; in particular, documentation updates are okay.
Special Cases
Postponed Decisions
When: Used for decisions that:
- Would be useful contributions but nobody currently has time to focus on the problem
- Have been neglected because decision authors focused on something more important
Purpose: Keep the "Drafts" folder clean by moving decisions that won't progress immediately.
Actions:
- Update status to "Postponed"
- Add explanation for why it's being postponed
- Can be revisited when circumstances change
Rejected Decisions
When: Used for decisions where:
- Status quo wins
- Consensus exists that the decision should not be taken right now
- No decision is actually needed
Purpose: Keep the "Drafts" folder clean and document what was considered but not pursued.
Actions:
- Update status to "Rejected"
- Document why it was rejected
- Note: Can be revisited if circumstances change
Examples
Example 1: New Library Selection
Step 1 (Drafts): Create MR with problem "Need date formatting library"
Step 2 (Problem Clear): Team agrees date formatting is important and current solution is inadequate
Step 3 (Solutions Clear): Explore date-fns, dayjs, and moment.js with pros/cons
Step 4 (In Review): Choose date-fns, document rationale and implications
Step 5 (Decided): Merge decision to use date-fns
Step 6 (Implemented): Replace all date formatting code, update documentation
Result: Consistent date formatting across codebase
Example 2: Fast-Track Decision
Step 1 (Decided): Create MR directly as "Decided" for updating an existing decision due to changed assumptions
Step 2 (Implemented): Implement changes and update documentation
Result: Updated decision reflects new reality
Related Resources
- Decision template:
doc/decisions/TEMPLATE.md - MR template for decisions:
.gitlab/merge_request_templates/ - Architecture documentation
- Documentation on how to write good decisions
Troubleshooting
Common Issues
Problem: MR contains multiple decisions and cannot be merged as "Decided" Solution: Split into separate MRs, one per decision. Only the final "Decided" MR requires single-decision constraint.
Problem: Reviewers keep suggesting new solutions during "In Review" Solution: Move back to "Solutions Clear" to properly explore the solution space before continuing.
Problem: Problem definition keeps changing during solution exploration Solution: Move back to "Problem Clear" to establish consensus on what problem is being solved.
Problem: Decision has been in "Drafts" for months with no progress Solution: Move to "Postponed" to keep drafts clean, or to "Rejected" if no longer relevant.
Open Points
- Define specific criteria for what constitutes "core developer agreement"
- Create examples of good vs. poor problem statements
- Establish guidelines for when to skip steps (fast-track decisions)
Notes
Guided Tour Updates Workflow
Purpose: Establish a structured process for managing guided tour updates across the PermaplanT initiative.
It ensures that all changes affecting the guided tour are consistently reviewed, implemented, and documented, reducing ad-hoc handling and maintaining a coherent user onboarding experience.Audience: Contributors who work on features relevant to guided tours, guided tour owner, product owner
Status: Draft
Rationale
A consistent system is needed to track which changes to the application impact the guided tour.
Without such a system, maintaining an up-to-date and coherent guided tour becomes difficult.
The aim of this workflow is to establish that system and ensure guided tour updates are managed reliably going forward.
This covers:
- The mechanism for collecting changes that impact the guided tour
- The roles and responsibilities of the involved parties
- The prioritization process for guided tour updates
- The integration of these activities into existing workflows
Workflow Steps
1. Identify and Tag Changes Affecting the Guided Tour
1.1 Issue Author Identifies Guided Tour Impact
Who: Issue author
When: When creating the issue
Actions:
- If the issue is expected to affect the guided tour:
- Add the
affects_guided-tourlabel to the issue (if not already present). - Optionally describe how the issue may impact the guided tour.
- Add the
Result:
Guided tour relevance is documented early and can be considered during implementation.
1.2 Triager Identifies Guided Tour Impact
Who: Issue triager
When: During issue triage or refinement
Actions:
- If guided tour relevance is identified during triage:
- Add the
affects_guided-tourlabel to the issue (if not already present). - Optionally add a short clarification note.
- Add the
Result:
Guided tour relevance is captured even if it was missed at issue creation.
1.3 Issue Implementer Identifies Guided Tour Impact
Who: Developer implementing the issue
When: During or after implementation
Actions:
- If the merge request implements an issue that is already tagged with
affects_guided-tour, or if it becomes apparent during implementation that the change affects the guided tour:- Ensure the guided-tour checkbox in the MR template is checked.
- Add the
affects_guided-tourlabel to the merge request (if not already present). - Document in the changelog (
dev.md) under Changes Affecting Guided Tour how the guided tour is affected by this MR.
Note: In case you are unsure if the merge request affects the guided tour it's best to tag it with affects_guided-tour to be reviewed by the tour owner.
Result:
Guided tour impact is consistently consolidated at the merge request level and properly documented, regardless of when it was identified.
2. Tour Owner Reviews Merge Requests
Who: Tour Owner
When: On releases, when reviewing changes relevant for guided tour updates
Actions:
- Review merge requests that:
- are tagged with
affects_guided-tour, and - are either:
- tagged with
MR::please_review, or - already merged
- tagged with
- are tagged with
- Review the changelog entries (
dev.md) describing how the guided tour is affected. - Select merge requests based on priority:
-
Read the documentation (especially the changelog entries in
dev.md) explaining how the change impacts the guided tour. -
Based on this information, prioritize merge requests including:
- Merge requests with user-facing changes
- Merge requests that introduce features with low discoverability
- Choose groups of related merge requests if sensible
-
Create an issue documenting the selected merge requests and planned guided tour changes.
-
Request review from the product owner and await approval to ensure quality of tour updates.
-
Result:
Merge request(s) selected for guided tour updates.
3. Update Tour According to Chosen Merge Request(s)
Who: Tour Owner
When: After selecting merge request(s)
Actions:
- Implement the needed changes to the guided tour based on the selected merge request(s).
- Changes to the tour can be done in one MR if the addressed changes are related or separate MRs for independent changes.
- Remove
affects_guided-tourlabel from the covered the merge requests.
Result:
Selected merge request changes are reflected in the guided tour.
Special Cases
Unclear Guided Tour Impact
If the impact of a merge request on the guided tour is unclear:
- Contact the merge request author by:
- leaving a comment on the merge request asking for clarification.
Examples
Example 1: Standard Guided Tour Update
Step 1: Issue or MR is tagged with affects_guided-tour.
Step 2: Developer documents guided tour impact in dev.md.
Step 3: MR is marked MR::please_review or merged.
Step 4: Tour owner filters MRs by affects_guided-tour.
Step 5: Tour owner reviews changelog entries and MR content.
Step 6: Tour owner determines merge request(s) with highest priority.
Step 7: Tour owner presents selection to Product Owner in a separate issue.
Step 8: Selection is approved.
Step 9: Tour owner implements guided tour changes.
Result: Changes introduced by the MR are covered in the guided tour.
Example 2: MR Selection Not Approved
Step 1: MR is tagged with affects_guided-tour.
Step 2: Guided tour impact is documented in dev.md.
Step 3: Tour owner selects MR(s) for guided tour update.
Step 4: Selection is presented to Product Owner.
Step 5: Selection is not approved.
Step 6: Selection is adjusted according to feedback.
Step 7: Tour owner implements guided tour changes.
Result: Guided tour is updated according to the approved selection.
Related Resources
- Decision on how issues affecting guided tour are collected
- How to add steps to the guided tour
- Labels documentation
Troubleshooting
Common Issues
Iteration Planning Workflow
Purpose: Ensure that the right amount of clear and important issues are assigned to each contributor for the next iteration and to decrease time spent on iteration planning in meetings
Audience: Project managers, product managers, issue refiners
Status: Draft
Rationale
Iteration planning is a critical process that ensures team members have appropriate workloads and clear tasks for each iteration. Without a structured workflow, iteration planning can become time-consuming in meetings or we would have contradicting assignments with unbalanced workload distribution. This workflow establishes a systematic approach to prepare iteration assignments before meetings, allowing meeting time to focus on bringing everyone up-to-date rather than administrative chore.
Quick Reference
Weekly Timeline:
- Ongoing: Project Manager triages issues, Issue Refiner refines issues
- Friday Morning: Project Manager completes iteration planning
- Before Monday Meeting: Product Manager reviews board
- Start of Week: Iteration Reflection during meeting
Key Principles:
- We plan 2 iterations ahead
- Balance workload based on capacity and calendar
- Ensure all assigned issues have clear descriptions
- Follow up early on issues without progress
Workflow Steps
1. Issue Triage
Who: Project Manager
When: during current iteration (ongoing)
Actions:
- Review and triage issues for the next iteration using the triage workflow
- Ensure issues are properly labeled
- Add
status::refinelabel if they need additional work - Identify which issues are ready for assignment in the upcoming iteration
Result: Issues are triaged and routed appropriately for refinement or assignment
2. Issue Refinement
Who: Issue Refiner
When: during current iteration (ongoing)
Actions:
- Review the refinement board and go through all issues with
status::refinelabel using the refinement workflow - Ensure issues are properly described with clear acceptance criteria
- Clarify requirements and implementation details with stakeholders if needed
- Mark issues as
status::backlogwhen they are fully refined and ready for assignment
Result: A pool of well-defined, ready-to-assign issues for the next iteration
3. Iteration Planning
Who: Project Manager
When: Friday morning (before the weekly meeting)
Actions:
review meeting statistics:
- Review the meeting MR with iteration statistics to understand the progress of the current iteration
- Analyze velocity and completion rates from previous iterations
- Identify patterns in task completion and blockers
handle incomplete issues:
- Move incomplete issues from the previous iteration back to
Openstatus - For each incomplete issue, assess whether it should remain assigned or be re-evaluated
- Document reasons for incompletion if patterns emerge
follow up on progress:
- Send reminders to assignees who haven't provided progress updates by Friday
- For issues in issue-review:
- Check with assignees if they have looked into the current issue
- For issues with progress:
- Verify that the assignee has given a short update on the current status as a comment
- If not done by Friday, reach out to the respective contributors and remind them to do so
- For issues without progress:
- Read through and ensure that the description is clear and sufficient to start working on it
- Ping the assignee to make sure they are aware of the issue and ask if they have any questions or need help
- For issues in review:
- Look over the MR and remind the reviewers to review it
- Check if reviews are blocking progress
document required actions:
- Document required actions per team member in the iteration planning issue
- Add detailed notes in comments for any specific follow-ups needed
- Track any blockers or concerns that need discussion
execute iteration workflow for each team member:
- Look through each contributor and assess if they currently have too many/too few assigned issues for the next 2 iterations
- Follow Iteration Planning Guidelines for workload assessment and capacity planning principles
- Review and confirm issue assignments with each team member if needed
- Add confirmed issues to the appropriate iterations
verify distribution:
- Sort issues by assignee name to get a clear overview
- Verify that workload distribution is balanced across the team
- Check that no team member is over or under-allocated
- Ensure dependencies between team members are identified
trigger next steps:
- @mention Product Manager in the iteration planning issue to trigger board review
- @mention Refiner if any assigned issues need additional refinement or clarification
Result: Each team member has an appropriate number of clear, well-defined issues assigned for the next iteration
4. Development Board Review
Who: Product Manager
When: before meeting on Monday
Actions:
- Review development board status to understand the current state of all issues
- Review newly assigned or triaged issues from the iteration planning
- Check for any blockers, dependencies, or risks that need attention
- Assess whether the planned work for the iteration supports milestone objectives
- Identify any issues that may need re-prioritization or additional clarification
trigger next step:
- @mention Project Manager in the iteration planning issue if feedback or adjustments are needed
- Provide specific comments on any issues that need re-prioritization, clarification, or discussion
- Highlight any concerns about resource allocation or timeline
Result: Confirmation that the iteration plan aligns with product goals, or specific feedback for adjustments
5. Iteration Reflection
Who: Project Manager & Issue Refiner
When: start of week (during the weekly meeting)
Actions:
- reflect on process improvements:
- What went well in the last iteration?
- What challenges did we face?
- What can we do differently next time?
- Are there patterns in incomplete issues or blockers?
- document action items:
- Create follow-up issues for process improvements if needed
- Update workflows or templates based on learnings
- Assign owners and deadlines for improvement actions
- brief discussion to address concerns:
- Allow team members to raise concerns or suggestions
- Ensure all voices are heard
- Make decisions on process changes if needed
- For additional meeting details, see the meeting workflow
Result: Documented learnings and action items to continuously improve the iteration reflection process
6. Label Management
The status labels follow the typical workflow of an issue from creation to completion:
flowchart TD refine["status::refine"] -- Issue has been refined --> backlog["status::backlog"] backlog --ready for review--> issue_review["status::issue-review"] issue_review --assignee approved--> issue_confirmed["status::issue-confirmed"] issue_confirmed --ready to be worked on (in iteration)--> ready["status::current-sprint"] ready -- issue blocked--> blocked["status::blocked"] blocked -- issue unblocked--> ready ready -- issue started--> in_progress["status::in-progress"] in_progress -- iteration completed --> ready["status::current-sprint"] in_progress -- issue under review --> in_review["status::in-review"]
Special Cases
Team Member on Vacation
When a team member will be on vacation during the next iteration:
- Consider their vacation days when assessing capacity
- Reassign time-critical issues to other team members
- Plan ahead for the iteration after their return
Urgent Issues During Iteration
When urgent issues don't have progress during an iteration:
- Assess impact on current assignments
- Document the change in the iteration planning issue
Examples
Example 1: Balanced Iteration Planning
Step 1: Review shows Developer A completed 3/4 issues last iteration
Step 2: Developer A has 1 incomplete issue (moved back to Open)
Step 3: Developer A has 2 issues assigned `status::issue-confirmed`
Step 4: Based on 20h/week capacity and no vacation, assign the 2 issues
Step 5: Add 2 issues to `status::issue-review` pool to be reviewed in this iteration and worked on in 2 iterations
Step 4: Total: 3 issues assigned for next iteration, 3 issues for in 2 iterations
Result: Balanced workload based on historical velocity for next 2 iterations
Example 2: Overloaded Developer
Step 1: Developer B has 6 issues assigned across next 2 iterations but only works 10h/week
Step 2: Review past iterations - Developer B typically completes 2 issues/iteration
Step 3: Remove 2 lower-priority issues, move back to `status::issue-confirmed`
Step 4: Keep 4 issues total (2 for next iteration, 2 for in 2 iterations) aligned with milestone goals
Result: Developer B has realistic workload for their capacity across next 2 iterations
Example 3: Underutilized Developer
Step 1: Developer C has 1 issue assigned, works 30h/week
Step 2: Review shows Developer C typically completes 4-5 issues/iteration
Step 3: Assign 3 additional issues from `status::issue-confirmed` pool
Step 4: Prioritize issues on critical path for milestone (4 for next iteration, 5 for in 2 iterations)
Result: Developer C has sufficient work across next 2 iterations to maintain productivity
Related Resources
- Iteration Planning Issue Template (../../.gitlab/issue_templates/Iteration_Planning.md) - Use this template to create weekly iteration planning issues
- Meeting Workflow - Details about weekly meeting structure
- Triage Workflow - How issues are triaged and prepared for assignment
Troubleshooting
Common Issues
Problem: Team members frequently don't complete assigned issues Solution:
- Review capacity estimates - they may be too optimistic.
- Consider reducing the number of issues per iteration and accounting for meetings, reviews, and unexpected tasks.
- Track actual time spent vs. estimated to improve future planning.
Problem: Issues assigned but descriptions are unclear
Solution: Work with Issue Refiner to improve triage process.
Don't assign issues that aren't marked as status::backlog.
Consider adding refinement step before assignment.
Problem: Iteration planning takes too long Solution: Ensure Issue Refiner has completed triage before Friday. Review each contributor's workload throughout the week, not just on Friday. Use the 2-iteration ahead strategy to smooth out planning.
Problem: Product Manager feedback comes too late Solution: Send the @mention to Product Manager on Friday so they have the weekend if needed. Set clear expectations for review timing. Consider moving the review deadline earlier.
Problem: Team members don't provide progress updates Solution: Send reminders earlier in the week (Wednesday/Thursday). Make progress updates a standard expectation. Consider adding progress updates as agenda item in stand-ups or check-ins.
Open Points
- Consider automating velocity tracking and capacity calculations
- Explore integration with time tracking tools for more accurate capacity assessment
Notes
- This workflow assumes a weekly iteration cycle; adjust timing if using different iteration lengths
- For detailed capacity assessment and workload balancing principles, see Iteration Planning Guidelines
Manual Testing
Purpose: Execute and document manual tests for Perma initiative releases to ensure quality and track issues
Audience: Testers
Status: Draft
Rationale
Manual testing is essential for:
- validating features that are difficult or impractical to automate
- testing user experience and visual elements across browsers and devices
- ensuring critical functionality works before releases
- discovering edge cases and integration issues that automated tests might miss
- providing systematic documentation of test results for quality tracking
Quick Reference
Before starting, review the Manual Testing Guidelines for:
- test case format and structure
- Test status definitions (✅ ⚠️ ❌)
- Issue linking requirements
- Report structure and naming
Key Reminders
- Always execute
00_guided_tour.mdfirst - Requires local build (cannot use dev.permaplant.net) - Link all issues - Add GitLab issue number in Notes for failed/problematic tests
- Check for duplicates - Search existing issues before creating new ones
- Fix test case errors immediately - Update test case files when you find errors
- Use test user -
testuser_t@permaplant.netfromtestusers.md
Workflow Steps
1. Preparation
Who: Tester
When: Before starting manual testing cycle
Actions:
- Ensure you have access to the test environment (local build required for guided tour; otherwise local build or dev.permaplant.net).
- Locate test user credentials in
doc/tests/testusers.md. - Verify test user
testuser_t@permaplant.netis set up with necessary materials. - Access test images in Nextcloud (login via "Anmelden mit Keycloak" → "Photos" directory).
- For mobile testing, prepare required devices as documented in
doc/tests/devices.md.
Result: test environment ready with all necessary credentials and materials
2. Generate Test Report Template
Who: Tester
When: At the start of testing
Actions:
- Run the test report generation tool:
tools/release/generate-test-report.sh - This creates a new report file in
doc/tests/manual/reports/named with current date (format: YYMMDD). - Open the generated report file and fill in the General section:
- tester name
- date/time
- commit/tag being tested
- setup (local build required for guided tour; otherwise local build or dev.permaplant.net)
Result: new test report file created with all test cases and ready to fill out
3. Execute Test Cases
Who: Tester
When: During testing session
Actions:
- IMPORTANT: Always execute
00_guided_tour.mdfirst.- If you exit the tour mid-test, you must reset your local database to take it again.
- Work through test cases in alphabetical order (they're numbered to maintain sequence).
- For each test case:
- Read the Description, Given, When, Then sections.
- Record the E2E Execution Time (in minutes, rounded up) in the test case "Execution Time" field.
- Execute the test following the steps.
- Record the actual result.
- Record the estimated execution time in the report.
- Assign test status using exactly one emoji: ✅ ⚠️ ❌ (see Test Status Classification).
- For collaboration tests: Follow collaboration instructions in the Notes.
- If test case has errors: Fix the test case file immediately (see Test Case Maintenance).
- Try to reproduce issues in another browser to check for browser-specific problems (see Browser Testing).
Result: all test cases executed with results documented
4. Issue Tracking
Who: Tester
When: Immediately when a test fails or is problematic
Actions:
- Search for existing issues before creating new ones (see Avoiding Duplicate Issues):
- Check previous test reports in
doc/tests/manual/reports/. - Search GitLab issues.
- Check previous test reports in
- If issue already exists: Link to it in Notes field using
#issue_number. - If creating new issue:
- Create GitLab issue with appropriate labels and priority.
- Add issue number to test case
Issues:field. - Link issue to the test in the report.
- Document blocking dependencies for problematic tests.
- Follow Test Status Classification for issue linking requirements.
Result: all failed and problematic tests linked to GitLab issues
5. Complete Test Report
Who: Tester
When: After all tests are executed
Actions:
- Calculate test result counters using the automation tool:
tools/release/count-test-results.sh path/to/your/report.md - Update the test counters in the General section with the calculated values.
- Fill out the Error Analysis section:
- Confirm all failed/problematic tests have GitLab issue links.
- Write Closing Remarks section:
- Assess current state of software.
- Evaluate if quality objectives were achieved.
- Identify lessons learned and process improvements.
- Calculate test duration and add to General section.
Result: complete test report ready for review
6. Review and Submit
Who: Tester
When: After completing test report
Actions:
- Review the report for completeness.
- Ensure all required fields are filled.
- Verify issue links are correct.
- Commit the test report to the repository.
- Share findings with the team.
- Update relevant issues based on test results.
Result: test report committed and findings communicated
Related Resources
Documentation
- Manual Testing Guidelines - Rules, standards, and best practices
- Test Case Template:
doc/tests/manual/testcases/README.md- GIVEN-WHEN-THEN format - Test Users:
doc/tests/testusers.md- Test account credentials
Test Files
- Test Cases:
doc/tests/manual/testcases/- Individual test case files - Test Reports:
doc/tests/manual/reports/- Historical test reports - Report Template:
doc/tests/manual/reports/template.md- Report header template
Tools
tools/release/generate-test-report.sh- Generate new test reporttools/release/count-test-results.sh- Calculate test result statistics
Troubleshooting
Cannot Access Nextcloud Test Images
Actions:
- Navigate to Nextcloud login page
- Click "Anmelden mit Keycloak"
- Log in with test user credentials from
doc/tests/testusers.md - Navigate to "Dateien" → "Photos"
Guided Tour Won't Start Again After Exiting
Actions:
- Stop current testing session
- Run
make reset-databasefrom project root - Restart testing from
00_guided_tour.md
Not Sure Which Test Status to Use
Action:
- Review Test Status Classification in guidelines
- ❌ = feature under test has a defect
- ⚠️ = cannot test due to blocking dependency
Cannot Find If Issue Already Exists
Actions:
- Search previous test reports:
grep "error description" doc/tests/manual/reports/*.md - Search GitLab issues for similar problems
- Check recent reports first (most likely to have related issues)
- See Avoiding Duplicate Issues in guidelines
Test Case Instructions Unclear or Outdated
Actions:
- Fix the test case file immediately in
doc/tests/manual/testcases/ - Document the change in your test report Notes field
- Continue testing with the corrected version
- See Test Case Maintenance in guidelines
Open Points
Notes
Meetings Workflow
Purpose: Ensure efficient communication and collaboration during and after weekly team meetings.
Audience: All developers and contributors who participate in meetings.
Status: Implemented
Rationale
Regular team meetings maintain project coordination and ensure all contributors stay informed about progress, decisions, and upcoming work. This workflow standardizes the meeting process from attendance to documentation approval.
Quick Reference
- Meeting Time: Monday 9:00
- Absence Notice: Email meetings@perma.health by Sunday
- MR Approval Deadline: Thursday 23:59
- Meeting Notes Template:
.gitlab/merge_request_templates/Meeting.md
Workflow Steps
1. Meeting Preps
Who: All contributors
When: At least one day before the meeting
Actions:
- Read through the issues assigned to you in issues.permaplant.net
- If unable to attend, email meetings@perma.health
a week before or within the week as early as possible please at least one day before
in case of doubt, please write even if you can come after all
with following information:
- when you will be active/healthy again, or
- when you will inform us about updates
- If you have questions you want to address in the meetings, write to meetings@perma.health
Result: We know who will attend, what should be in the agenda and everyone is prepared
2. Meeting Attendance
Who: All contributors
When: Monday 9:00
Actions:
- Attend the weekly meeting
Result: All team members are up-to-date about next week's task
2.1 Issue Creation During Meeting
Who: Refiner
When: During the meeting
Actions:
- When a discussed topic requires an issue, the Refiner creates an issue immediately
- In case of uncertainty, the Refiner clarifies the issue details while still in the meeting
Result: Issues are created in real-time, ensuring clarity and relevance
2.1 Issue Creation During Meeting
Who: Refiner
When: During the meeting
Actions:
- When a discussed topic requires an issue, the Refiner creates an issue immediately
- In case of uncertainty, the Refiner clarifies the issue details while still in the meeting
Result: Issues are created in real-time, ensuring clarity and relevance
3. Note Taking During Meeting
Who: Designated note taker (rotating responsibility)
When: During the meeting
Actions:
- Take comprehensive meeting notes
- Present notes in BigBlueButton at least during break and at meeting end (or directly write there)
- Read through notes for clarity and understanding
- Add extra context or explanations where needed
Result: Clear, understandable meeting notes ready for documentation
3.1 Note Taker Backup
Who: Project Manager
When: During the meeting
Actions:
- If the designated note taker is unable to take notes, the backup written in the Agenda takes over
- In case both are unavailable, the Project Manager searches for a meeting participant to take notes. This should be done before the meeting officially starts.
Result: Meeting notes are always taken, ensuring no information is lost
4. Meeting Notes Processing
Who: Product Manager
When: Monday after meeting
Actions:
- Use checklist in MR
- Add meeting notes to MR if forgotten by note taker
- Initial review and organization of notes
Result: Meeting notes are properly documented in MR
5. Meeting Notes Review
Who: Project Manager
When: Monday after meeting
Actions:
- Read through meeting notes and correct mistakes
- Request review from Product Manager
- After Product Manager approval, invite all participants to review
Result: Accurate meeting notes ready for team review
6. Team Approval
Who: All contributors
When: Latest by Thursday 23:59
Actions:
- Review the meeting notes MR
- Approve the MR if notes are accurate and complete
Result: Meeting notes are approved by all team members
7. Review Reminder
Who: Project Manager
When: Wednesday afternoon
Actions:
- Remind team members who haven't approved meeting notes yet
Result: All participants are aware of review deadline
8. Meeting Notes Finalization
Who: Project Manager
When: Friday afternoon
Actions:
- Merge approved meeting notes (branch
meetings) into dev branch - Create MR for next Monday's meeting (branch
meetings) - Assign next meeting's note taker and backup (cycle through everyone) and make them co-author of the MR
- Mark people who emailed meetings@perma.health as excused in the new MR
- Remark everyone who hasn't approved the meeting notes in the previous MR
- Change due dates for tasks
- Sort people alphabetically
- Add known topics to upcoming agenda
- Add contribution statistics from last week:
- How many reviews were done
- How many issues were closed
- How many issues had (no) progress
- Tick checklist "Before Meeting"
Result: Current meeting documented, next meeting prepared
Examples
Example 1: Standard Weekly Meeting
Monday 9:00: Team meeting with notes taken by contributor A
Monday afternoon: Product Manager adds notes to MR, Project Manager reviews
Tuesday-Wednesday: Team members review and approve MR
Thursday: All approvals received
Friday: Project Manager merges notes and creates next week's agenda
Example 2: Meeting with Absence
Sunday: Contributor B emails [meetings@perma.health](mailto:meetings@perma.health) about Monday absence
Monday 9:00: Meeting proceeds without contributor B
Monday afternoon: Notes processing continues normally
Wednesday: Reminder sent to contributor B for review
Thursday: All reviews completed including absent member
Related Resources
- Meeting MR Template (
.gitlab/merge_request_templates/Meeting.md) - Project Manager role responsibilities
- Product Manager role responsibilities
Troubleshooting
Common Issues
Problem: Note taker forgets to add notes to MR Solution: Product Manager adds notes as backup responsibility
Problem: Team members miss review deadline Solution: Project Manager sends Wednesday reminder, extends deadline if needed
Problem: Meeting notes are unclear or incomplete Solution: Project Manager reviews and requests clarification before team review phase
Open Points
Notes
Release Workflow
Purpose: To provide a clear and consistent process for releasing new versions of PermaplanT.
Audience: Maintainers, Release Managers
Status: Draft
Rationale
This workflow documents the release process, including special cases, to ensure that releases are handled consistently and to reduce the size of the release issue template.
Quick Reference
- Release Issue Template: Refer to the
.gitlab/issue_templates/Release.mdfile.
Workflow Steps
This workflow will be filled out in the future.
Special Cases
Diagnostic Testing
If specific tests fail on staging, use https://master.permaplant.net to diagnose if the issue is infrastructure-related or code-related. This environment runs on production infrastructure and should only be used for diagnosing issues, not for general testing.
Release Fixes
If critical issues are found during the testing phase, they should be fixed directly on the master branch.
- Apply any critical fixes directly to
masterbranch via MRs. - Re-run affected tests on staging after fixes are applied.
Hot-Fix Protocol
If critical production issues are discovered after a release, an immediate hot-fix procedure should be followed.
- Create a hot-fix branch directly from
master:git checkout -b hotfix/vX.X.X+1 master. - Apply a minimal fix to the hot-fix branch.
- Create an emergency MR:
hotfix/vX.X.X+1→master. - Merge the emergency MR to master.
- Deploy the hot-fix to production via Jenkins.
- Create a new tag:
git tag -s vX.X.X+1 <hotfix-commit> -m "vX.X.X+1 - Emergency hot-fix". - Communicate the hot-fix to the team.
- Document the hot-fix in the release notes.
Examples
Related Resources
- Release Issue Template:
.gitlab/issue_templates/Release.md
Troubleshooting
Open Points
Notes
Review Workflow
Purpose: Guide contributors through creating and reviewing merge requests to maintain code quality and foster collaborative development
Audience: Developers and contributors participating in code writing and reviewing
Status: Draft
Rationale
This workflow establishes a consistent process for code review that ensures:
- Code quality is maintained through peer review
- Knowledge is shared among team members
- Changes are properly documented and communicated
- Multiple perspectives are considered before merging
- Authors receive timely feedback to maintain productive workflow
Quick Reference
For Authors:
- Mark as draft until ready for review
- Request 2-5 reviewers (buddy, success partner, not product manager)
- Respond to feedback within a day
- Need 2+ approvals before requesting product manager review (own approval (author) doesn't count)
For Reviewers:
- Review within one week of assignment
- Use template with review checklist
- Provide constructive feedback
Workflow Steps
1. Prepare Draft Merge Request
Who: Merge Request Author
When: While work is in progress and not ready for review
Actions:
- Mark MR as draft (e.g., "Draft: Meeting notes")
- Continue developing until ready for review
Result: MR exists but reviewers know not to review yet
2. Make Merge Request Ready for Review
Who: Merge Request Author
When: Code is complete and ready for peer review
Actions:
- Follow the Merge Request template
- Write review guidelines specific to this MR
- Perform a thorough self-review of the MR
- Remove draft status
Result: MR is clearly documented and ready for reviewers
3. Request and Manage Reviews
Who: Merge Request Author
When: After MR is ready for review
Actions:
- Request 2-5 reviewers (e.g., buddy and success partner, but not the product manager)
- Once you receive a review, immediately improve MR according to the feedback
- Resolve all open threads
- If no feedback within a week, ping the reviewers
- Assign additional reviewers if needed for faster/more feedback
Result: MR receives timely reviews and continuous improvements
4. Handle Review Feedback
Who: Merge Request Author
When: After receiving change requests from reviewers
Actions:
- If you agree with requested changes, apply them
- If you disagree with requested changes, escalate to product manager
- If changes would be substantial, create a follow-up issue or re-request review from the original reviewer
Result: Review feedback is addressed and reviewer concerns are resolved
5. Finalize for Merge
Who: Merge Request Author
When: After receiving 2+ approvals (excluding own approval (author))
Actions:
- Add the label "MRs::please merge"
- Request review from product manager
Result: MR is approved and queued for final merge
6. Conduct Review
Who: Assigned Reviewer
When: Within one week of being assigned
Actions:
- Check if the MR uses the proper template and includes a review guide; if either is missing, request them
- Copy the review template with checkboxes about what you reviewed
- Follow Review Guidelines for review conduct and quality standards
- Request changes if necessary, or approve if satisfied
Result: Author receives actionable feedback to improve the MR
Special Cases
Disagreement on Requested Changes
If the author disagrees with requested changes:
- Author escalates to product manager
- Product manager makes final decision
- Author implements decision or creates follow-up issue
Substantial Changes Required
When reviewer feedback would require substantial work:
- Author creates a follow-up issue for the substantial changes
- Current MR can proceed without those changes, OR
- Author re-requests review from original reviewer after substantial changes
No Reviews Received
If author hasn't received feedback within a week:
- Author pings assigned reviewers
- Author can assign additional reviewers
- Author can escalate to product manager if needed
Examples
Example 1: Standard MR Flow
Day 1: Author completes feature, follows template, requests 3 reviewers
Day 2: Reviewer 1 provides feedback requesting minor changes
Day 2: Author makes changes, resolves threads
Day 3: Reviewer 2 approves
Day 4: Reviewer 3 approves
Day 4: Author adds "MRs::please merge" label, requests PM review
Day 5: PM approves and merges
Example 2: MR with Disagreement
Day 1: Author requests review
Day 2: Reviewer requests architectural change
Day 2: Author disagrees, escalates to PM
Day 3: PM decides to proceed with current approach
Day 3: Author documents decision in MR
Day 4: Reviewer approves based on PM decision
Day 5: Second approval received, PM merges
Related Resources
.gitlab/merge_request_templates/- MR templates to follow- Review guidelines (should be filled out in each MR by author)
Troubleshooting
Common Issues
Problem: No reviews received within a week Solution:
- Ping assigned reviewers in MR comments
- Assign additional reviewers
- Escalate to product manager if still no response
Problem: Review template or review guide missing from MR Solution: Reviewer should immediately request these in the MR before conducting review
Problem: Reviewers keep finding new issues on each review round Solution:
- Ensure reviewers complete full review before submitting
- Use the review checklist template
- Consider scheduling a synchronous review session for complex MRs
Problem: Author and reviewer stuck in disagreement Solution: Escalate to product manager for decision
Open Points
Notes
Roles
Purpose: Define team roles and responsibilities for PermaplanT workflows.
Audience: All team members and contributors who need to understand organizational structure.
Role Assignment Guidelines
- Each role must have a clearly identified primary assignee
- Backup assignees should be listed when available
- Role changes require approval from the Product Manager
- Cross-training between primary and backup assignees is encouraged
Role Definitions
Product Manager
Responsibilities:
- Set product priorities and roadmap direction
- Make final decisions on feature requirements
- Approve release labels
- Coordinate with contributors
Current Assignment: Markus
Architect
Responsibilities:
- Define technical architecture and design decisions
- Review complex technical proposals
- Ensure system coherence and scalability
- Guide technology choices and patterns
Current Assignment: Markus
Workflow and Decision Manager
Responsibilities:
- Create and update decisions and workflows as needed.
- Monitor and optimize workflows.
- Check code base for correct implementation of decisions.
Current Assignment: Peter
Project Manager
Responsibilities:
- Coordinate development activities and timelines
- Facilitate meetings and communication
- Track project progress and milestones
- Manage sprint planning and execution
Current Assignment: Liza Backup: Eszter
Triager
Responsibilities:
- Perform initial triage on newly created issues
- Evaluate issue quality and completeness
- Decide if issue is ready for backlog or needs refinement
- Route well-formulated issues directly to backlog
- Assign issues requiring enhancement to Refiner
Current Assignment: Liza
Refiner
Responsibilities:
- Enhance issues flagged by Triager as needing refinement
- Add detailed descriptions and context to issues
- Assign appropriate labels and priorities
- Add estimates assessments
- Ensure issues have sufficient information for development
- Maintain issue queue quality
- Coordinate refinement work distribution
Current Assignment: everyone, refinement is to be done during issue::issue-review
Review Manager
- remind others to review and assign for review
- look if there are gaps in review, e.g., MR not yet tested or not code-reviewed
- put attention to issues that are important or urgent to be reviewed
- check quality of reviews for "please merge" MRs and give okay
- improve reviewer checklists, e.g. verify if e2e tests test what they should
- (un)tick what was done in checklists
Current Assignment: Mo
Tour Owner
Responsibilities:
- Reviewing MRs that affect the guided tour (i.e. tagged with
affects_guided-tourlabel) - Updating and adapting the guided tour to align with the changes introduced by these MRs, or by any scraper data changes
- Ensuring the MRs affecting the guided tour include sufficient information on how the guided tour is affected
Current Assignment: Elia
Performance Assurance
- makes sure performance is according requirements (written in use cases)
- finds gaps between user expectations and requirements (written in use cases)
- responsible that OpenTelemetry setup works correctly and everyone can use it
- checks for any regressions in frontend and backend performance
- updates research document and creates issues for the most important performance topics to investigate
- gives update of performance data before releases
Current Assignment: Lukas
Quality Assurance
Responsibilities:
- Responsible that e2e tests work correctly
- Ensure code quality standards
- Verify functionality meets requirements as defined in use cases
- Manual tests, except of data related
Current Assignment: Chris
Tester
Responsibilities:
- Execute manual test cases before releases
- Generate and complete test reports
- Document test results and link issues for failures
- Identify and report bugs and regressions
- Verify fixes and retest problematic areas
- Maintain and improve test case documentation
Current Assignment: Cycled among team members
- 1.0.0: Vseslav
- 1.0.2: Elia Backup: Release Manager
Release Manager
Responsibilities:
- Manage release cycles and deployments
- Update affected issues/MRs after merges
- Coordinate hotfixes and emergency releases
- Maintain release documentation
Current Assignment: Lukas Backup: Hannes
Developer
Responsibilities:
- Implement features and bug fixes according to issue specifications
- Write tests for code changes to ensure quality
- Follow coding guidelines and best practices
- Update documentation for code changes
- Communicate progress and blockers in assigned issues
Assignment: This role represents active code contributors.
They are tagged with /Developer in Keycloak and listed in doc/authors.md in the top section.
Contributor
Responsibilities:
- Contribute to the project in any capacity (code, documentation, testing, issue reporting)
- Follow project guidelines and workflows
- Be respectful to each other
- Participate in reviews and provide constructive feedback
- Help improve project quality and sustainability
Note: This is the most general role encompassing anyone who contributes to Perma. All other roles are specialized forms of contribution.
Infrastructure
The roles of infrastructure are described in its own repository, but here the most important people to assign for issues:
- anything related CI/pipeline: Patrick
- anything related to infrastructure being down: Hannes and Mo
- anything related to auth: Lukas
Tools Workflow
Purpose: Standardize the process for contributing and documenting tools in the
/toolsdirectory.Audience: Developers and contributors who create or maintain project tools and scripts.
Status: Implemented
Rationale
Consistent tool organization and self-documentation ensures maintainable, discoverable and usable project utilities. This workflow enforces standards that make tools immediately useful to other team members without external documentation.
Quick Reference
- Tool Location:
/toolsdirectory with functional subdirectories - Required:
--helpflag implementation for all tools - Documentation: Self-documenting via
--help, categorized in README.md files - Guidelines: Follow tools guidelines
Workflow Steps
1. Tool Planning
Who: Contributor creating the tool
When: Before implementing a new tool
Actions:
- Identify the appropriate functional subdirectory in
/tools - If unclear, ask for guidance in the related issue
- Review existing tools for similar functionality
Result: Clear placement strategy for the new tool
2. Tool Implementation
Who: Contributor
When: During tool development
Actions:
- Implement the tool following project coding standards
- Required: Add
--helpflag with comprehensive usage information - Follow naming conventions from tools guidelines
- Ensure tool is executable and properly permissioned
Result: Functional tool with self-documentation
3. Documentation Update
Who: Contributor
When: After tool implementation
Actions:
- Update the subdirectory's README.md file
- Categorize the tool type and purpose
- Ensure README.md explains what types of tools belong in the directory
Result: Tool is properly documented and categorized
4. Testing and Validation
Who: Contributor
When: Before submitting for review
Actions:
- Test the
--helpflag displays complete usage information - Verify tool works as intended
- Confirm tool follows the self-documentation philosophy
Result: Tool is ready for team use and review
Tool Documentation Philosophy
Self-Documenting Scripts
- Every tool must implement a
--helpflag - Help output should be comprehensive and immediately useful
- No external documentation required for basic tool usage
- Users can get immediate help with
./tool.sh --help
Directory Organization
- README.md files categorize tool types per directory
- Functional subdirectories group related tools
- Clear directory structure aids tool discovery
Examples
Example 1: Adding a New Deployment Tool
1. Identify placement: /tools/deployment/ directory
2. Implement tool with --help flag showing usage, options, examples
3. Update /tools/deployment/README.md to include new tool category
4. Test ./deploy-tool.sh --help shows complete information
Example 2: Database Utility Script
1. Place in: /tools/database/ directory
2. Implement comprehensive --help with connection examples
3. Update README.md to categorize as database management tool
4. Verify self-documentation meets philosophy requirements
Related Resources
Troubleshooting
Common Issues
Problem: Unclear which subdirectory to use for a tool Solution: Ask in the related issue or check existing similar tools for guidance
Problem: Tool lacks comprehensive --help documentation Solution: Review existing tools' --help output for examples of complete documentation
Problem: README.md categorization is unclear Solution: Follow existing README.md patterns in other tool subdirectories
Open Points
Notes
Workflow Name
Purpose: Guide contributors through a standardized process for transforming use case requirements into manual and e2e tests, ensuring comprehensive, reliable, and consistent test coverage across the project.
Audience: All contributors involved in defining use cases, writing manual or e2e tests, and improving test coverage (developers, testers, maintainers).
Status: Draft
Rationale
This workflow ensures:
- Contributors can easily identify which tests to create from each use case
- All scenarios (main, alternative, error) are covered and tests are reliable
- Tests are grouped and classified consistently (e.g., smoke tests, feature types)
- Clear guidance on which tests to prioritize and create first
- Contributors know when to improve or expand use cases before writing tests
- Use cases are systematically linked to their manual and e2e tests, with coverage status documented inside the use case itself
Quick Reference
- Use cases:
doc/usecases/(by status: done, current, assigned, later, draft) - Manual tests:
doc/tests/manual/testcases/(Gherkin syntax) - E2E tests:
e2e/features/(pytest-bdd, Playwright, Python) - Testing strategy:
doc/tests/README.md - E2E guidelines:
doc/guidelines/e2e.md - Manual testing guidelines:
doc/guidelines/manual-testing.md
Test-related issues in GitLab:
- Issues with titles containing "test" or "testing"
- Issues labeled with
scope::e2e(for e2e tests)
Quick checklist:
- Find the relevant use case to cover
- Check for existing manual and e2e tests
- Map each use case scenario to a test (manual and/or e2e)
- Ensure all main, alternative, and error scenarios are tested
- Group and name tests consistently (e.g., smoke, feature type)
- Prioritize critical and release-blocking tests
- Link use cases to their tests and document coverage
- Create follow-up issues for missing or unclear tests/use cases
Workflow Steps
1. Identify use case to cover or improve
Who: Developer, Tester, Quality Assurance
When:
- During new feature implementation (manual tests should be included in the implementation issue)
- Before moving a use case from "current" to "done" status
- When improving or expanding existing test coverage for features that lack tests
- When fixing bugs that currently lack tests
Actions:
- read use case in
doc/usecases/<usecase>.mdto identify those needing tests- use cases that don't have Manual Tests: and E2E Tests: set to done yet
- use cases that have unclear or missing scenarios
- For all new features: ensure manual tests are included as part of the implementation issue
- For existing features: Check issue tracker for existing test-related issues (titles containing "test" or "testing", or labeled with
scope::e2e) - Check existing manual tests in
doc/tests/manual/testcases/<usecase>.md - Check existing e2e tests in
e2e/features/<usecase>.feature - Identify gaps in test coverage or unclear scenarios
- Create follow-up issues for missing or unclear tests/use cases
- Include names of all the tests to be created or improved
Result: Issue(s) created for writing or improving tests based on use case
2. Analyze and Propose Test Requirements
Who: Developer, Domain Expert, Tester, Quality Assurance
Actions:
- In the issue, analyze and propose:
- Which scenarios (main, alternative, error) need tests
- Which scenarios should be covered by manual tests (always written first)
- Which manual test scenarios should later be automated as e2e tests
- Whether scenarios are relevant as smoke tests
- Dependencies between tests
- Initial assessment of test complexity and implementation approach
Result: Issue has detailed test proposal ready for prioritization
3. Prioritize Test Requirements
Who: Product Manager
Actions:
- Together with Product Manager finalize:
- Prioritization of tests (level of criticality, release-blocking)
- Critical vs. optional functionality (based on use case criticality)
- Test groups that need immediate attention
- Release-critical scenarios
- Which manual tests should be prioritized for e2e automation
- For guidance on prioritization, automation candidates, and effort analysis, see doc/tests/manual/testcases/README.md
- Final decision on test approach and scope
- Prioritization of tests (level of criticality, release-blocking)
Result: Issue has clear test requirements and priorities and is ready for implementation
4. Implement manual tests based on issue
Who: Tester/Contributor
When:
- During feature implementation (manual tests are part of the implementation issue)
- After issue is created and manual tests are not yet implemented (for existing features)
Actions:
- Create or improve Gherkin test cases in
doc/tests/manual/testcases/<usecase>.md - Follow manual testing guidelines in
doc/guidelines/manual-testing.md - For guidance on including automation effort analysis fields for each test case, see doc/tests/manual/testcases/README.md
- Test manual test cases on dev.permaplant.net or a local build to ensure they work as intended
- After testing, measure and add:
- Execution Time (minutes): Actual measured time for manual execution
Result: New or improved manual tests are ready for MR
5. Create MR for manual tests
Who: Tester/Contributor
Actions:
- Create MR with the new or improved tests, invite contributors for review
- Ensure tests cover all specified scenarios from the issue
- If any scenarios are unclear or missing, ask for clarification in the issue
Result: MR is created and ready for review
6. Review manual test MR
Who: Reviewers
Actions:
- Ensure tests cover all specified scenarios from the issue
- If any scenarios are unclear or missing, ask for clarification in the MR/issue
- Verify they are correctly formatted and follow gherkin guidelines
- Test the manual test cases on dev.permaplant.net or a local build to ensure they work as intended
- Confirm e2e automation selection: Review and finalize which manual test scenarios should be automated as e2e tests (based on complexity, execution time, and automation feasibility)
- Provide feedback and approve MR if all is good
Result: MR is ready to be merged and e2e automation candidates are confirmed
7. Implement e2e tests based on manual tests
Who: Developer
When: After manual tests are merged
Actions:
- Create e2e test scenarios in
e2e/features/<usecase>.feature - Follow e2e testing guidelines in
doc/guidelines/e2e.md - If needed, tag tests appropriately (e.g., @smoke_tests)
- Remove e2e test scenarios from manual test cases once they have been implemented
Result: New or improved e2e tests are ready for MR
8. Create MR for e2e tests
Who: Developer
Actions:
- Create MR with the new or improved e2e tests, invite contributors for review
- Ensure e2e tests cover all manual test scenarios
- Ensure the pipeline passes and tests run successfully
Result: MR is created and ready for review
9. Review MR
Who: Reviewer
Actions:
- Ensure tests cover all specified scenarios from the manual tests
- If any scenarios are unclear or missing, ask for clarification in the MR/issue
- verify if they follow our Gherkin guidelines
- Verify e2e tests run successfully in the CI pipeline
- check trace files if they actually click through as expected
Result: MR is ready to be merged
10. Update use case with coverage status
Who: Developer/Tester
When: After all MRs related to a use case are merged.
Actions:
- A use case is only fully done when all its scenarios are covered with tests
- If not done yet, move the use case to "done" status
- Update the use case doc in
doc/usecases/<usecase>.mdwith:-
Test Coverage Status
- Manual Tests: <status/details>
- E2E Tests: <status/details>
- Test Statistics:
manual test cases, e2e test cases - Coverage Verification: Manually verify and document what percentage of use case scenarios/branches are covered by tests and note any gaps
- Notes: Any limitations or scenarios not covered and why
-
Result: Use case is fully covered with tests and marked as done
Special Cases
Use case is already done but tests are missing
Follow the regular workflow steps 1-10, with these modifications:
- Step 1: When creating the issue for missing tests, link the use case and document which tests are missing and which scenarios are already covered in manual and e2e tests.
- Step 10: Skip moving the use case to "done" status since it's already done. Only update the test coverage documentation.
Feature has to be merged into master before tests are ready
The created issue for missing tests has high priority and should be completed as soon as possible after the feature is merged to production.
Examples
Example 1: Adding tests to existing feature (multi-select use case)
Step 1: Identify that multi-select use case doc/usecases/multi_select.md is done but lacks tests
Step 2: Create issue [#841](https://issues.permaplant.net/841) and analyze test requirements - document which scenarios need manual tests and which should be automated
Step 3: Discuss with Product Manager to prioritize which manual test scenarios are critical and should be automated as e2e tests first
Step 4: Implement all missing manual tests in doc/tests/manual/testcases/multi_select.md
Step 5: Create MR for manual tests
Step 6: Review MR for manual tests
Step 7: Implement e2e tests for HIGH PRIORITY scenarios first in e2e/features/multi_select.feature
Step 8: Create MR for e2e tests
Step 9: Review MR for e2e tests
Step 10: Update use case doc/usecases/multi_select.md with test coverage status (skip moving to "done" since already done)
Result: Multi select use case is fully covered with manual and e2e tests
Example 2: Implementing new feature with MR open
Step 1: While implementing new feature, ensure manual tests are included in the implementation issue and MR
Step 2: Analyze test requirements in the issue - identify which manual scenarios should later be automated
Step 3: Discuss with Product Manager to prioritize which manual tests need e2e automation
Step 4: Include manual tests in doc/tests/manual/testcases/<feature>.md as part of the feature MR
Step 5: Review and merge feature MR (including manual tests)
Step 6: Create follow-up issue/MR for e2e automation of prioritized manual test scenarios
Step 7: Implement e2e tests in e2e/features/<feature>.feature
Step 8: Review and merge e2e tests MR
Step 9: Update use case doc with final test coverage status
Result: New feature is delivered with comprehensive manual tests, and critical scenarios are automated
Related Resources
- Use cases:
doc/usecases/(by status: done, current, assigned, later, draft) - Manual tests:
doc/tests/manual/testcases/(Gherkin syntax) - E2E tests:
e2e/features/(pytest-bdd, Playwright, Python) - Testing strategy:
doc/tests/README.md - E2E guidelines:
doc/guidelines/e2e.md
Troubleshooting
Common Issues
Problem: Certain test scenarios are difficult to implement in e2e tests. Solution: This should be addressed during prioritization (Step 3). Prioritize easy and high-value e2e tests first. Difficult scenarios that can be easily tested manually should be automated last, or may remain manual forever. Document the prioritization rationale in the issue and use case, explaining why they were not automated.
Problem: Certain test scenarios are difficult to test manually. Solution: Most scenarios should be easy to test manually if the application has good UX. They may be time-consuming but not difficult. However, some scenarios are genuinely hard to test manually (e.g., race conditions, precise timing-dependent behavior). For time-consuming scenarios (performance with large datasets, browser compatibility testing, network failure simulations), consider prioritizing e2e automation for efficiency. For genuinely difficult scenarios, discuss alternatives in the issue or MR and prioritize e2e automation. Document in the use case why manual testing was not feasible for specific scenarios.
Open Points
Notes
Workflows
Purpose: Creation and updating of workflows
Audience: Everyone
Status: Implemented
Rationale
We need workflows when:
-
to not forget important points to be done
-
for collaboration (more than one person is involved in some activity, e.g. approvals are needed)
-
to document how we work that onboarding works better
-
when you need a defined process for systematically collecting, reviewing, and prioritizing multiple related items, rather than handling each one ad-hoc.
Example: Create a workflow for test case management instead of having developers create test cases individually for every bug they find.
-
for continuous optimizations of how we work
-
we plan to automate a workflow
Workflow Steps
Step 1. Suggest a new Workflow
Who: Person who sees suboptimal workflow being used When: Some informal or suboptimal workflow already exist Actions:
- create issue that suggests adding or improving a workflow
- use the
enhancementtemplate for issue description - in the issue, describe:
- Use Case: Which problem should be solved / why we need this workflow
- Description: Which improvement is essential to solve this problem
Step 2. Document Workflow
Who: Person assigned to the issue When: During an iteration Actions:
- create MR
- describing the workflow based on
doc/workflows/TEMPLATE.mdwithDraftstate - add it in the README.md of this folder
- add line(s) to changelog in Documentation -> Workflows
- and nothing else in the MR (implementation of the workflow happens in the next step)
- describing the workflow based on
- describe it closely to how we currently do it
- keep it short and minimal, focus on the main improvement (documentation just as-is is fine, too)
- If you discover new extensions or improvements, create new issues for each of them
- create a follow-up issue for Step 4 (workflow implementation):
- use the
enhancementtemplate - in Implementation steps, list the tasks needed to implement the workflow (templates, labels, documentation changes, etc.)
- use the
Step 3. Approve Workflow
Who: Product and Project Managers When: Review is requested Actions:
- check if the workflow and follow-up issue is fine and approve MR
Note: Merging will be done via the normal MR workflow.
Step 4. Implement Workflow
Who: Person assigned to the issue When: After Workflow documentation is being merged Actions:
- In a new MR, change the description of the workflow's State from "Draft" to "Implemented"
- possibly other fine-tuning or clarifications of the workflow
- create and update issue and/or MR templates as needed
- create and change label definitions as needed for the workflow
- in the next iteration meeting we communicate the changes that the workflow implies for everyone
Step 5. Review Workflow
Who: Project Managers When: After Workflow is being merged Actions:
- check the workflow by executing it
- check if all labels etc. were created correctly as documented
Examples
Example 1: Self-Referential (Workflows Workflow)
The process which created this workflow is an example:
- Step 1: problem issue #2222 - Suggested creating a workflow for workflows
- Step 2: MR proposing workflow !1896 - Documented the workflows workflow in Draft state
- Step 3: Approved and merged
- Step 4: implementation issue #2231 - Created templates, labels, and moved to Implemented state
Example 2: Issue Creation Workflow
A workflow for creating issues with proper templates and labels:
- Step 1: problem issue #2251 - Suggested documenting the issue creation workflow
- Step 2: MR proposing workflow !1883 - Documented the issue creation workflow
- Step 3: Approved and merged
- Step 4: implementation issue #2321 - Verified templates, labels, and moved to Implemented state
Tips for Creating Your Own Workflow
When creating a new workflow:
- Start by identifying a pain point or inefficiency in your current process
- Use the
enhancementtemplate to describe the problem and essential improvement - Keep the initial documentation simple - describe how things currently work, plus minimal improvements
- Save additional enhancements for follow-up issues
- Involve relevant stakeholders early for feedback
Extensions
- further fine-tuning or clarifications of the workflow is also possible in meeting MRs or other MRs